8573 P70
rfp70a.exe  Reference disk for PS/2 P70 386 luggable 
190-053   PS/2 MODEL P70 386 (8573-031)
189-074  PS/2 MODEL P70 386 (8573-061 / 121)
SHS15F2198     IBM PS/2 Model P70 386 HMS
SHS64F3994     IBM PS/2 P70 386 HMR 

P70 Old System Board
   Old Video Card
P70 New System Board
   New Video Card
Disaple ESDI Controller
   Derive MCA Bus from ESDI Ports?
Plasma Connector Pinout
Remove P70 Floppy (H2)
Remove Battery
Pointing Device Port (Not for KB!)
   305 Error at Power-Up
P70 Drive Carrier Mounting Hole Spacing
Auto 16/4 Token Ring Card Fits Lower Slot
113 Error
Modify 160MB SCSI HD with ESDI PCB?
Early P70s Loose Configuration After Quick On-Off-On



For the original document, go to Dr Jim's P70 Project 
      The P70 came in two planar versions: the older 38F4688/65X1564, used primarily in the 20 MHz -061 machines (but also seen in some -121 20 MHz boxes), and the 38F6973/56F9085 used in 16 MHz and 20 MHz -121 models. 
   38F4688/65X1564 planars have the 386DX socket immediately to the right of the 387DX  socket, and two BIOS ROMs near the upper left edge of the board.  The 38F6973/56F9085 has the 386DX socket above and to the left of the 387DX socket.  Another distinguishing feature of the newer models is the inclusion of video output filtering on the video card instead of on a 'daughter card' fitted in series with the video output cable.  The newer planar seems slightly  faster on some benchmarks, but the difference is hardly noteworthy. 

P70 Floppy
  It's an ALPS DFP723D15B

Memory
Just like their big brother, the P70 prefers the Panasonic SIMM in SIMM2.

SIMM1: 65X6249
SIMM2: 65X1309/FRU 90X8625/iGH0258DA
SIMM3: 65X6249
SIMM4: 65X1309/FRU 90X8625/iGH0258DA

  But with the first system, the second 65X1309 had gone bad (dunno, don't ask) so I scrounged about and came up with a Kingston KTM-2000/M70. Wa-la, boots, passes adv diags, I'm satisfied. The P70 has an endearing habit- if it REALLY hates a SIMM, it won't display any codes, nor will it ever hit the floppy. PSU fan runs, power LED is on, but the screen never flickers.

Peter said:
    I cannot recall right from out of my head if the P70 reads all 4 bits of the PD signal or if it masks it down to the two important bits only. In this case certain 4MB modules might be detected as 2MB ... but end up in an error later during memory count.



P70 Old System Board FRU 65X1564
146818A MC146818A RTC
4464 NEC D4464G-15L
65 PN 65X1565
66 PN 65X1566
72065 NEC D72065L
8259A NEC D71059L
8042 IBM MPD80C42C-146
BAT 6v Battery
Bus 32 bit riser
Display 16 bit video
DMA 90X8134
Ext FDD Hosiden connector
Fan Solder pads
F1 KB fuse
Floppy 34 pin header
GA1 38F7800
GA2 65X1279
HDA Top 34 pin header
HDA Bottom 40 pin header
IND Indicator header
J1 Power On Password
J2 solder pads
J3 solder pads
J4 solder pads
KBD Keyboard header
Mouse Mouse header
PIO 72X8299
POS1-4 72 pin SIMMs
Printer DB25 port
PRT 94X1265
PSU Power header
RS-232C DB25 serial
SPK Speaker
UART NS16550AFV
Y1 32 KHz xtal
Y2 1.843 MHz osc
Y3 14.31 MHz osc
Y4 40.0000 MHz osc
Y5 32.0000 MHz osc
1



Old System Display Card FRU 38F4686
4146 Vidmem
CN4 26 pin header
CRT HDD port
INMOS IMG171P-35
OSC1 Unk
OSC2 Unk
JP1 Unk
JP2 Unk
JP3 Unk
JP4 Unk
JP5 Unk
PDPC 
VGA 



P70 New System Board FRU 56F9085

 

Thanks to Jay P. Thorne who went through the tedious process of pulling his P70 apart for the scans I used for the New System Board and New System Video Card.

New System Display Card FRU 38F4686

Arne Falch wrote:
By the way..: I have the new type of display card and plasma panel. Since the old display card will not work with new plasma panel (or vice versa), I guess that the old panel connections are different. The panel is a Matsushita electric type MD480T640PG4, P/N 38F4744. made in week 06,1990.

The machine is originally a model 8573-031 (16Mhz processor, 30MB disk), but someone has put in a 60Mb disk.



Disable ESDI Controller
>I will be suprised if it can be disabled. 

Peter said:
   Just remove the harddisk .... the ESDI controller is underside :-) These drives are drive and controller in one physical unit. The strange 2-connector port they are attached on the P70 is in fact a "sort of" MCA connector. The card-ID is DF9F and it will show up at slot 3 in the setup.

MCA Bus from ESDI Port?
> Can you hack an MCA bus out of the pseudo-one in the ESDI-DBA connector?

Ed Avis replies:
   I'm told that this is not possible because the connector carries only those signals needed for the disk, and not enough for a general MCA card.



GRAPHICS 
Peter said:
   The VGA port supports all VGA graphics and text modes including 640 x 480 graphics, 320 x 200 graphics in 256 colors, and 720 x 400 text using any optional PS/2 VGA color display, and maintains compatibility with CGA and EGA modes. Unlike to the P75 the P70 cannot drive Plasma and external VGA at one time - except in DIAGS mode.

   As I said in a previous posting: the VGA chipset on the plasma-video adapter is the same 256K-IBM / INMOS stuff as used in the Mod. 50 / 60 / 70 / 80 - and therefore has the same limits: 640 x 480 at 16 colours ... ending of sending. So the answer is "No - you cannot get more colours at 640x480".

I'd really tried a lot to get more out of that thing (back in the good old days) but it simply doesn't work. The available memory on the bit-planes is too low. You need at least 512K VRAM (and a better Video DAC) but the Inmos-DAC *should* be able to get it - probably. It is specified for a video bandwidth of 18.44 Mhz only (which is 640 x 480 with 60 Hz vertical refresh) - but the main problem is the missing Video-BIOS mode for 256 colours at 640 x 480 and the missing V-RAM.

   Simple calculation: 640 x 480 pixels = 307.200 pixels total. Each one occupies 4 bit for 16 colours  = 153.600 bytes V-RAM (Video Mode 12h). The 320 x 200 / 256-colour mode (Mode 13h) occupies 8 bit per pixel and therefore a 256-colors mode would need double the space.
   The Video-DAC controls 4 x 64K for each "Map", where the maps are the bit-planes for red, green, blue and intensity on the 640 x 480 mode. The Video-DAC adress buffer resides at A000h - AFFFh (whereas the locations from A95FF - AFFF are "reserved").

   I really tried to write a video driver for this thing ... but it is hard to replace hardware with software - especially if you have the hardware missing to support that. :-D

>is possible to use the display card of a P/2 Modell P70 in another PS/2 system with onboard VGA. I  don't want to use both screens in the same time. I do not want to use any CRT. I want to use the plasma screen on my PS/2 Model 55.

   As far as I can tell - you can't. The plasma board is basically a plain vanilla VGA card with a different output stage for the row/column adressing of a plasma display. But internally it uses the same chips, adresses and ports like the generic onboard VGA of the 55SX - apart from the odd form-factor of this card.
   The card-ID should be EDAF - but there is no ADF for this card. There is an @EDAF.DGS on the P70 reference and that means the ADF function is substituted by the board logic setup internally, so you cannot take it over anyway.

   The P70  / P75 have built-in informations on this EDAF card and need no ADF then - the 55SX (and none of the "normal" PS/2 machines) hasn't. In addition you need the P70 power supply for the high voltages to run the plasma display.



P70 Plasma Pinout

Arne Falch wrote:
   I used a scope on the connections, and I was able to identify pins for 4 databits, pixel clock, vertical and horizontal sync. There are still 2 or 3 unknown signal pins, one is probably a blanking or data enable pin.

Ok, here is my first try at the pinout.:

Pin:
1    Vertical sync, active high. 15ms period, 62uS high pulse.
3    Horizontal sync, active low. 32 uS period, 3,8uS low pulse.
5    Pixel Data 
7    Pixel Data
9    Pixel Data
11  Pixel Data
13  Data Enable? Blanking? One long 8mS high pulse, then many  32uS period pulses, with  high time =  6.3uS. - then pattern repeats.
15 Display Data clock. approx  40nS period, my guess is frequency is the same as one of the Oscillators. (Ed. 4x10(8) inverse is 25MHz)
17  Display On/Off . Low signal = on. Goes high after 10 min display 
blanking timeout.
19  1,1mS low, 2,7mS high, 1,1mS low,  11 (eleven) ms high, then pattern repeats. (Blanking???.)
        Maybe the 1.1 mS periods is longer when the display is blanked at the top/bottom in CGA/EGA mode? I will look into this when I get software that enables CGA/EGA mode.
21  Unknown signal. No visible activity.
23   GND
25   GND

All even-numbered pins are GND.

Signal connections:
Pin
1    Pin 16 on 74LS241 via 330 ohm.
3    Pin 18 on 74LS241 via 330 ohm
5    38F461 (large IC)
7    38F461 (large IC)
9    38F461 (large IC)
11  38F461 (large IC)
13  38F461 (large IC)
15  38F461 (large IC) Goes to a pin with GND pins on both adjacent pins 
- this corresponds well with a clock signal.
17  38F461 (large IC) 
19  38F461 (large IC)
21   Unknown. No visible activity.
23  GND
25  GND

The connector corresponds CN1 on the drawng of the syour page. The machine is located elsewhere at the moment (at work), so the drawing is from memory. I will correct it if I'm wrong.

The display card, left edge, where the cable to the panel enters:
 

                            Top of machine.
   _______________________________________________________
  |
  |        _____Pin 26 of display panel cable
  |      /     ____Pin 25 of display panel cable 
  |    o  o
  |    o  o           Three-pin capacitor??
  |    o  o             ( )    ( ) 
  |    o  o             ( )    ( )
  |    o  o             ( )    ( )
  |    o  o             ( )    ( )
  |    o  o             ( )    ( )
     Some 74LS logic over here
  |    o  o             ( )    ( )
  |    o  o             ( )    ( )
  |    o  o
  |    o  o
  |    o  o
  |    o  o___Pin 1 of display panel cable
  |     \________Pin 2 of display panel cable. 
  |_______________________________________

                     |
                     |___________________

                          MC edge connector



Remove Floppy (H1)  I have two -121s, one has the H1, the other has an H2.

Remove P70 Floppy (H2)


 
 
 
 
 
 

Open the plasma screen so you can get your hand behind it.Grasp the lower edge of the drive cover, pull out and forward. Once it snaps off (you will feel it, pull the cover up and out. If you grap onto the floppy slot, it should give you enough of a grip to do it.
 
 
 
 


   Unscrew the black screw at the bottom center of the drive carrier. If you look between the floppy cable and the grounding strap, you will see it. Thank God it's a captive screw. It's a combo standard/phillips screw.
  With the retaining screw loose, push the drive carrier up until it comes free of the case clips. Now you have full access to the floppy drive mounting screws.You must remove the floppy from the carrier before you can take the floppy cable out.

Install Drive Carrier
  Reverse action of removal.  Hook on case clips and ull down. When seated, screw in the black retaining screw in the bottom center. Now look at the sides of the drive carrier. Notice the slots about half way up the carrier- they go straight in, then go down. Look at the cover- it has two posts... slide the cover onto the carrier, make sure the eject button is lined up with the hole. Now push the cover down until it snaps into place. Congratulations, break out the Jolt!



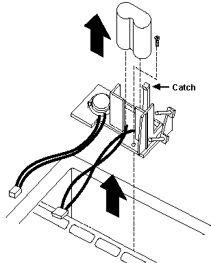
Remove Battery

   This shows how to remove the carrier and battery. To replace just the battery, pull the catch away from the battery, and pull the battery up. Battery is FRU 72X8498, and the common replacerments are HERE Usually in the camera section of your local supermarket.
 
 
 
 
 
 
 
 
 
 
 
 
 



Pointing Device Port (or Mouse Port)
Peter says:
   The rear port is designed 'pointing device port' in users manual as well as HMM. No keyboard will work on this port ! Don't use a serial mouse to PS/2 port adapter! You may just end up frying something!

305 error at power up
   That is a sure indication that the keyboard/mouse port fuse is blown. If you open the unit and look at the lower side of the board down from the rear mouse port you will find a little black square fuse. "SOC 1A" printed in white on it. Maybe you need to bend the EMC (grounding) shield a bit up to see it. It is  marked F1 on the planar and surrounded with a box printed in white. (Left of the board fixing screw).

Check continuity with a multimeter. If it reads infinite resistance it is blown.

   To change it: no need to remove the entire board (and too complicated anyways). Just cut the fuse with a sharp plier directly at the fuses' case and remove it. Bend the remaining contacts up and straighten them a bit. Get a new microfuse (resistor style fuses) and solder it to these contacts. Cut off the rest of the "legs" and that was it.

   If the fuse was *not* blown and the machine still has a working keyboard - suspect the mouse / mouse driver to be non-functional at all. Get a "real PS/2" mouse and use the MOUSE.COM from PC/MS DOS or the  MOUSE.EXE from Win95 (which is a Logitech-driver V 6.50)

  If you end up in a non-functional keyboard and no blown fuse ... well ... you'd damaged the keyboard / mouse controller, which cannot be replaced (that easy). In this case you should try getting a replacement systemboard.



P70 Drive Carrier Mounting Hole Spacing

   All dimensions are from the rear of the drive. They are to the center of the hole. Be careful when drilling! These placements DO NOT line up with the reinforced segments of the drive case. Be careful when tapping! Use a plug tap, a normal tap would bottom out on the PCB.
  The mounting holes do NOT line up with ANY holes on modern drives, even the 0661 drive holes WILL NOT FIT. The drive will mount upside down, there is no other way to do it.



       Additional features of the system unit include: 
o   One general purpose 32-bit full-length Micro Channel slot* 
o   Half-length Micro Channel slot
o   85-watt automatic voltage-sensing power supply 
o   Time and date clock with battery backup 
o   Integrated 16-grayscale plasma display, integrated version of IBM Enhanced PC Keyboard. 
*  Some half-length cards that fit in a half-length slot may not fit in a full-length slot. 

Auto 16/4 Token Ring Fits Lower Slot
> the Auto 16/4 Token Ring fits into the bottom 16 bit slot, almost like it was built for it.

Peter has a flashback and says:
   The short 4Mbit on which the later 16/4 short design is based on *was* in fact particularly designed for the P70 ... some time back in the late 80s when the P70 (and the P75) appeared in IBMs list there was a "short Token Ring card" offered along with it, while the "normal PS/2" still got the "toilet-seat 4 Mbit TR card".

       The Token-Ring Network Model P70 386 Adapter/A (#1598) permits attachment of the Model P70 386 (8573-061 and 8573-121) to the IBM Token-Ring Network.  This adapter is half-length and designed to fit in the short slot.  It transmits and receives at four million bits per second.  To facilitate attachment to the IBM Personal System/2 P70 386, a unique L angle connector with a permanently attached short cable is provided. 

8573-031 30 MB Hard Disk, 16 MHz planar 
8573-061 60 MB Hard Disk, 20 MHz planar 
8573-121 120 MB Hard Disk, 20 MHz 



113 Error is a DMA timeout caused by a MCA card ... if there is nothing installed except the harddisk - replace that. It doesn't look like one, but the 72-pin card-edge connector is in fact a MCA connector (Slot 4 in the setup).

> As noted in a different thread: some series of 120 and 160MB HDs did not run properly when installed "upside down" in the P70. Either they come up with a 10482 error right after start -or- fail to LLFormat / run at all later but operate fine otherwise when turned "upside up" again. (WD-3158, WD-3160).

>> The -031 models used the infamous "energy conserving" harddisk, which reduced spindle speed when in idle and spins up again when accessed. A nerve killer !

> Like the Mod. 50Z and 70 the P70 had fairly lot of problems with defunctional HDs. In the P70 *only* the black IBM WD-series drives had been used for the 60 and 120MB models - like the WD-3158 120MB drive from the Mod. 70-121 / -A21.

Modifying 160MB SCSI Drive With ESDI PCB
   Modifying a 160 MB SCSI Disk was only half way successful (took of the SCSI PCB and hooked up the ESDI PCB from my bad 120 MB Drive). I can see the HD when booting with the Refdisk, but I get all kinds of errors when trying to format it.

   The 160 operates with a different number of sectors IIRC. Only have the data for the 80 and 160MB: 984 cylinders, 10 heads, 17 (80) and 34 (160) sectors. So the 120 must have 26 sectors (25.5 arithmetically - but there are no half cylinders ...). I think the 120MB controller cannot "fetch" a valid sector start ... and therefore jumps out. The LLFORMAT routine does not go *that* deep that it can write raw sectors on the media. That's usually the purpose of some factory tools.

Early P70s Fail to Retain Configuration after Quick "On-Off-On"
>> DASDDRVR.SYS under DOS. Early P70 (16MHz version) tend to "spit out" the configuration when you quickly power them off and back on. 

>Not only the 16 MHz ones. I had this phenomenon on my 20 MHz Rev.1 (which is up and running again) also. Seems a common phenomenia for the first PS/2 - which lacked a delay in the power supply. But the early 16MHz and all Mod. 60 were pretty critical. If you didn't wait at least 20 seconds after a power down you could have wrecked the config already.

9595 Main Page