8551 Power
Power Management Functions
AC Adapter Specs
Testing the AC Adapter
Battery Pack Specs (External, NiCd, MiH)
Testing the Battery Pack
New IBM N51
Laptop Battery FRU#: 07G1242 $ 6.95
Backup Battery Specs
Testing the Backup Battery
Standby Battery Specs
Testing the Standby Battery
Testing the Quick Charger
Testing the Car Battery Adapter
Testing the Voltage Convertor
Power Management:
Suspend/Resume function
An application is suspended by closing the clamshell leaving the power
switch on. When the clamshell is opened, the application resumes
at the point it was suspended. During suspension system components
are automatically powered off except for the real time clock and application
memory.
Internal Backup Battery
- Change the rechargeable battery pack without disrupting the
application.
Sleep Mode
- Conserves battery power during idle times between clock cycles
and key strokes by putting system components in an idle state resulting
in low power usage. Application, operational, operating system, and
environmental characteristics will affect actual battery duration between
recharges.
Quick Charge
- One and one-half hour internal quick charge during suspend
or power-off with AC adapter, with or without communications cartridge
attached.
AC Adapter
Specs
IBM PS/2 AC Adapter (20W) P/N 07G1964
o AC Adapter 100-240VAC, 50/60Hz
Testing AC Adapter
If the Power-On indicator is not on, check the power cord of
the AC adapter for proper installation and continuity.
1. Plug AC adapter into line voltage
If any noise can be heard from the AC adapter, replace
it.
If no noise can be heard from the adapter, go to Step
3.
2. If the noise still comes from the new AC adapter, suspect the computer.
Replace AC adapter with the original one, then go to the next step. If
no noise comes from the new adapter, the original adapter has the problem.
3. Unplug the AC adapter cable from the computer and measure the output
voltage at the plug of the AC adapter cable.
Pin Voltage (V dc)
1 +19.0 to +21.0
2 Ground
Voltage is not correct:
1. Unplug AC adapter from ac power outlet and leave it a few minutes.
2. Plug the AC adapter into the ac outlet.
3. Measure the output voltage of the AC adapter.
4. If the voltage is still not correct, replace the AC adapter.
Voltage is OK
Plug the cable into computer and try the failing operation again.
Problem remains, replace voltage converter.
Problem disappears, suspect install and continuity of
AC adapter cable.
Battery Pack Specs
External Rechargeable Power Pack
P/N 06G9600 / FRU 07G1540
NiCd Battery Pack
P/N 07G1753 / FRU 07G1242
o 10.8V, 1200mAH (NiCd)/cell, 9 cell/pack
NiMH Battery Pack P/N 07G1754
/ FRU 07G1244
o 10.8V, 1400mAH (NiMH)/cell, 9 cell/pack
Testing the Battery
Pack
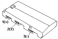
1. Place the computer bottom-side up.
2. Remove battery pack and measure voltage between 1 (+) and 3 (N).
Pin
Voltage (V dc)
1 +8.5 to +18.0
2 Thermal Detection
3 Ground
Voltage under +8.5 V dc, battery pack is
discharged or defective.
Voltage over +8.5 V dc, continue.
3. Using a low-power ohm meter, measure the resistance between 2 (T)
and 3 (N). The resistance must be 4 kohms to 30 kohms. If resistance is
out of range, replace battery pack.
4. Remove the bottom cover and set the battery pack in place without
connecting any external power devices.
5. Measure voltage at the connector between terminals 1 (+) and 3 (N)
on the voltage converter and note the voltage.
6. Using the AC adapter, apply external power to the computer.
Warning: Be careful not to
cause a short circuit while doing the following steps. The charging circuit
is active even if the computer power switch is set to off.
7. Measure the voltage again between terminals 1 (+) and 3 (N).
Voltage is not greater than that measured in Step 5, replace
the AC
adapter, then go to the next step.
Voltage is greater than that measured in Step 5, the battery
pack is good.
8. Repeat Steps 6 and 7 using a new AC adapter. If the voltage is still
not greater than that measured in Step 5, replace the voltage converter.
Backup Battery
Specs
Litium FRU 07G1225
Testing the
Backup Battery
1. Place computer bottom-side up.
2. Remove the bottom cover.
3. Disconnect battery connector from voltage converter.
4. Measure the voltage of the backup battery.
Wire Voltage (V dc)
Red +2.5 to +3.7
Black Ground
If the voltage is correct, replace the system board. If
it is not, the backup battery is discharged by a short circuit or is defective.
Standby
Battery Specs
FRU 07G1240
Testing
the Standby Battery
1. Place the computer bottom-side up.
2. Remove battery pack from computer and remove bottom cover.
3. Disconnect battery connector from voltage converter.
4. Plug AC adapter into computer and power-on computer.
5. Measure output voltage at the connector on the voltage converter.
Pin Voltage (V dc)
1 +4
2 Ground
Vdc under +4 V, bad voltage converter
Vdc greater than +4 V, continue
6. Power-off the computer.
7. Reconnect the standby battery to the voltage converter.
8. Power-on computer for about 30m to allow standby battery to charge.
9. Power-off the computer again and disconnect the standby battery.
10. Measure the voltage of the standby battery.
Voltage less than 3.5 V dc, replace standby battery.
Voltage greater than 3.5 V dc, replace voltage converter.
IBM PS/2 Quick Charger P/N 07G1752
Testing the
Quick Charger:
If an unusual noise can be heard from operating quick charger, replace
it.
1. Perform steps 1 through 3 of t“Testing
the Battery Pack” to verify the battery pack is operating correctly.
2. Connect the power cord to the quick charger and the other end to
the electrical outlet. Ensure that the power indicator turns on.
If power indicator does not turn on, check power cord
of quick charger for proper installation and continuity. If this does not
correct the problem, replace quick charger.
3. Install the battery pack.
If charging indicator does not start blinking, replace quick charger.
IBM PS/2 Car Battery Adapter P/N 07G2004
Testing
the Car Battery Adapter
If output voltage from a cigarette lighter socket is less than
10.5 V
dc, the power-on indicator on the car battery adapter blinks and a
noise can be heard continuously. The battery of the car is defective.
1. Unplug car battery adapter from computer if connected.
2. Plug car battery adapter into cigarette lighter socket.
Note: If the adapter is already
plugged in, be sure to unplug the adapter from the cigarette lighter socket,
then plug it into the socket again.
3. Measure the output voltage of the car battery adapter.
Pin Voltage (V dc)
1 +19.0 to +21.0
2 Ground
Voltage correct and power-on indicator on car battery adapter is on
steady, the car battery adapter is working correctly.
If the voltage is out of range, do one of the following.
Try the above test procedures in another car if available.
Replace car battery adapter if computer works with AC adapter
and does not work with car battery adapter.
Testing
the Voltage Converter
Use following procedure to isolate voltage converter from
problem.
Note: If problem occurs only
when using computer with a good battery pack, replace voltage converter.
1. Power-off the computer.
2. Power-off all attached devices and disconnect them from computer.
3. Unplug AC adapter from computer.
4. Remove battery pack and bottom cover.
5. Disconnect standby-battery connector and flexible cable from connector
CN6 on tvoltage converter.
6. Power-off the computer.
7. Plug the AC adapter into the computer.
Important The computer goes
into suspend mode in about 20 seconds after plugging in the AC adapter.
The following procedure must be performed during this period. If the computer
is already in suspend mode, unplug the AC adapter and plug it in again
to reactivate it.
8. Check the voltages of the voltage converter using following table.
Conn Pin
Signal VMin.
VMax.
CN5 1 VCCA
+4.9 +5.3
3 VCCB
+4.7 +5.3
7,8 GND
- -
9,10 GND
- -
13 +20Vdc
+19.0 +21.0
21 POWER_GD +4.0
+5.3
32 POWER_ON#
0 +0.5
CN7 2 VCCG
+4.7 +5.3
23,24 GND
- -
All voltages are correct, the voltage converter is good.
If +20 V dc is not correct, check output voltage of AC adapter (see
Testing
the AC Adapter). If voltage is correct, replace voltage converter.
If any of the measured voltages except +20 V dc is not correct, replace
following FRUs one at a time to correct the problem.
1. Voltage converter
2. System board
3. I/O panel assembly
Note: Reconnect the standby-battery
connector and the flexible cable that were removed in Step 5 on page 85
before leaving this procedure.
9595 Main Page
|