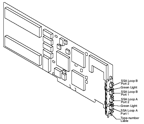
SSA 4-Port RAID Adapter 4-I

SA33-3270-02 Micro Channel SSA RAID Adapters Technical Reference
SA33-3272-02 SSA Adapters: User's Guide and Maintenance Information
S31H-8612-01 SSA Adapters: Technical Reference
SG24-5750-00 Understanding SSA Subsystems in Your Environment
195-236 IBM SSA 4-Port Adapter for RISC System/6000
195-298 IBM SSA 4-Port Adapter Enhancements and Related Features for RISC System/6000

SSA 4-Port RAID Adapter (Type 4–I) FC (6217) 

Base card without DRAM 89H5617
DRAM memory card 73G3233



Lights of the SSA 4-Port RAID Adapter
Status of Light
Meaning
Off
Both SSA connectors are inactive. If diskdrive modules or other SSA adapters are connected to these connectors eitherthose modules or adapters are failing or their SSA links are notactive.
Permanently on
Both SSA links are active (normaloperating condition).
Slow Flash
Only one SSA link is active.

SSA 4-Port RAID Adapter 9-Position Connector
Position
Signal Name
Position
Signal Name
1
Ground
6
+ Line Out
2
- Line Out
7
Reserved
3
Ground
8
+ 5 V
4
- Line in
9
+Line In
5
Ground
o
o


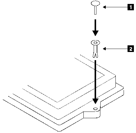
Fast-Write Cache Option Card



Installing the Collar and Pin of the Fast-Write Cache Option Card



RS/6000 non-RAID SSA adapters
Features Adapter label 4-D Adapter label 4-G
Feature code 6214 6216
Code Name Mayflower
Link speed 20MB/s

RS/6000 RAID SSA adapters
Features Adapter label 4-I 
Feature code 6217
Code Name Sarratoga
Link speed 20MB/s 

RS/6000 enhanced RAID SSA adapters
Features Adapter label 4-M
Feature code 6219
Code Name Fremont Fremont 2
 

9595 Main Page