|
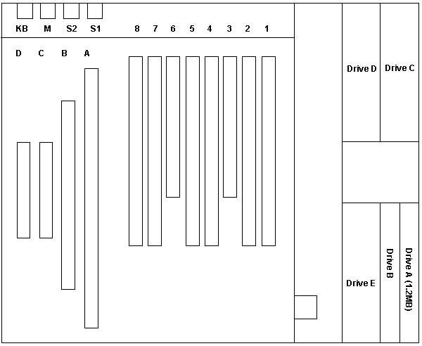
Six 16-bit and two 8-bit feature slots on models 020 and
025,
Rear of 6150
6150 RT Tower Planar
Ed. The slot 1-8 depictions
are probably all hosed up.
Slot 5 AT-Coprocessor slot The IBM RT 6150 and 6151 system units use ISA (AT) style I/O slots, however slot 5 on the 6151 and slot 8 on the 6150 are unique to the RT. Most cards that do not use memory refresh, or DMA channel 7 will have no problem with that slot. Bus timings for all the RT bus slots may be slightly different from an AT, as I/O accesses are not driven by the processor directly, but are routed via a special bus processor in the planar, called the IOCC. The 8th slot in the 6150 RT (5th slot for 6150 only) have three signals different from the normal PC/AT assignments. Pin Standard
CO-proc slot usage My notes..
- The PC XT mono/printer adapter, is ONLY supported in slot 3 in the 6150 tower, or ONLY in slot 1 in the 6151 desktop. [ I'm not sure why this slot 3 restriction is here, what's wrong with slot 6? Timing? - MW ] |