The Project Gutenberg EBook of Dictionnaire raisonné de l'architecture
française du XIe au XVIe siècle (7/9), by Eugène-Emmanuel Viollet-Le-Duc

This eBook is for the use of anyone anywhere at no cost and with
almost no restrictions whatsoever.  You may copy it, give it away or
re-use it under the terms of the Project Gutenberg License included
with this eBook or online at www.gutenberg.org


Title: Dictionnaire raisonné de l'architecture française du XIe au XVIe siècle (7/9)

Author: Eugène-Emmanuel Viollet-Le-Duc

Release Date: December 28, 2009 [EBook #30787]

Language: French

Character set encoding: ISO-8859-1

*** START OF THIS PROJECT GUTENBERG EBOOK DICTIONNAIRE ***




Produced by Michel Laglasse, Rénald Lévesque and the Online
Distributed Proofreaders Europe at http://dp.rastko.net.








Droits de traduction et de reproduction réservés.

PARIS.--IMPRIMERIE DE E. MARTINET, RUE MIGNON, 2.




DICTIONNAIRE RAISONNÉ

DE

L'ARCHITECTURE

FRANÇAISE

DU XIe AU XVIe SIÈCLE

PAR

M. VIOLLET-LE-DUC

ARCHITECTE DU GOUVERNEMENT
INSPECTEUR-GÉNÉRAL DES ÉDIFICES DIOCÉSAINS


TOME SEPTIÈME

PARIS
A. MOREL, ÉDITEUR
RUE BONAPARTE, 13.

MDCCCLXIV



PALAIS, s. m. C'est la maison royale ou suzeraine, le lieu où le suzerain rend la justice. Aussi ce qui distingue particulièrement le palais c'est la basilique, la grand'salle qui toujours en fait la partie principale. Le Palais, au moyen âge, est, à dater des Carlovingiens, placé dans la capitale du suzerain, c'est sa résidence jusque vers le XIVe siècle. Cependant les rois mérovingiens ont possédé des palais dans les campagnes ou à proximité des villes. Ces premiers palais étaient à peu près élevés sur le modèle des villæ gallo-romaines, quelquefois même dans les restes de ces établissements. Les palais de Verberie, de Compiègne, de Chelles, de Noisy, de Braisne, d'Attigny, n'étaient que de véritables villæ.

«L'habitation royale n'avait rien de l'aspect militaire des châteaux du moyen âge: c'était un vaste bâtiment entouré de portiques d'architecture romaine, quelquefois construit en bois poli avec soin et orné de sculptures qui ne manquaient pas d'élégance. Autour du principal corps de logis se trouvaient disposés, par ordre, les logements des officiers du palais, soit barbares, soit romains d'origine, et ceux des chefs de bande qui, selon la coutume germanique, s'étaient mis avec leurs guerriers dans la truste du roi, c'est-à-dire sous un engagement spécial de vasselage et de fidélité. D'autres maisons de moindre apparence étaient occupées par un grand nombre de familles qui exerçaient, hommes et femmes, toutes sortes de métiers... La plupart de ces familles étaient gauloises, nées sur la portion du sol que le roi s'était adjugé comme part de conquête, ou transportées violemment de quelques villes voisines pour coloniser le domaine royal; mais si l'on en juge par la physionomie des noms propres, il y avait aussi parmi elles des Germains et d'autres barbares dont les pères étaient venus en Gaule, comme ouvriers ou gens de service, à la suite des bandes conquérantes. D'ailleurs, quelle que fût leur origine, ou leur genre d'industrie, ces familles étaient placées au même rang et désignées par le même nom, par celui de lites en langue tudesque, et en langue latine par celui de fiscalins, c'est-à-dire attachées au fisc. Des bâtiments d'exploitation agricole, des haras, des étables, des bergeries et des granges, les masures des cultivateurs et les cabanes des serfs du domaine complétaient le village royal, qui ressemblait parfaitement, quoique sur une plus grande échelle, aux villages de l'ancienne Germanie... 1.» Des baies vives, des murs de pierres sèches, des fossés, entouraient cet ensemble de bâtiments, et formaient quelquefois plusieurs enceintes, suivant l'usage des peuples du Nord. L'architecture des bâtiments participait des diverses influences sous lesquelles on les avait élevés; c'était un mélange de traditions gallo-romaines et de constructions de bois élevées avec un certain art, peintes de couleurs brillantes. Des granges, des hangars, des celliers énormes, contenaient des provisions amassées pendant plusieurs mois, et que les princes barbares venaient consommer avec leurs leudes. Lorsque tout était vide, ils se transportaient dans un autre domaine. Ces palais, bâtis sur la lisière des grandes forêts, retentissaient des cris des chasseurs et du fracas d'orgies qui se prolongeaient souvent, pendant plusieurs jours. Les Carlovingiens conservèrent encore cet usage de vivre dans les palais de campagne, et Charlemagne en possédait un grand nombre 2. Mais alors la vie en commun était remplacée par une sorte d'étiquette; les palais ressemblaient davantage à une cour; de beaux jardins les entouraient, cultivés avec soin; les enceintes étaient mieux marquées. Toutefois la grande salle, la basilique, formait toujours la partie principale du domaine.

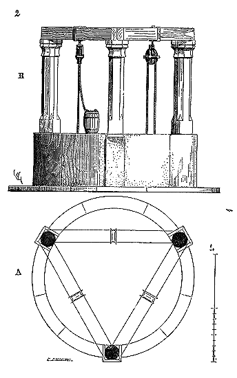
Voici (fig. 1.) un aperçu de l'ensemble de ces palais carlovingiens. Charlemagne avait fait entièrement rebâtir le palais de Verberie, près de Compiègne. Il en restait encore de nombreux fragments dans le dernier siècle, si l'on en croit le P. Carlier 3. D'après cet auteur, Charlemagne aurait bâti la tour du Prædium, c'est-à-dire le donjon dominant le domaine, tour dont les soubassements étaient encore visibles de son temps. Il aurait fait construire le principal corps de logis, «édifice immense», ainsi que la chapelle du palais, qui «conservait encore le nom de chapelle Charlemagne au XIVe siècle.»

«Ce palais, dit le P. Carlier, tenait à plusieurs dépendances, qui formaient comme autant de châteaux particuliers, dont chacun avait sa destination... Le palais de Verberie avait son aspect au midi; les édifices qui le composaient s'étendaient de l'occident à l'orient, sur une ligne de 240 toises. Un corps de logis très vaste, où se tenaient les assemblées générales, les parlements, les conseils, etc., Mallobergium 4, terminait à l'occident cette étendue de bâtiments, de même que la chapelle à l'orient. La chapelle et la salle d'assemblée formaient comme deux ailes, qui accompagnaient une longue suite d'édifices de différentes formes et de différentes grandeurs. Au centre de toute cette étendue paraissait un magnifique corps de logis, d'une hauteur excessive, composé de deux grands étages... J'ai tiré ces notices, ajoute Carlier, de quelques restes de l'ancien palais et d'un titre du règne de François Ier, qui permet la démolition des différentes parties de ce palais. Ces parties de bâtiment avaient été incendiées sous le règne infortuné de Charles VI, un siècle auparavant.»

Ce ne fut qu'après les invasions des Normands que ces résidences se convertirent en forteresses, et constituèrent les premiers châteaux féodaux. (Voy. CHÂTEAU.)

La résidence des rois de France, dans l'île de la Cité, à Paris, était désignée sous le nom du Palais par excellence, tandis qu'on disait le château du Louvre, le château de Vincennes. Tous les seigneurs suzerains possédaient un palais dans la capitale de leur seigneurie. À Troyes était le palais des comtes de Champagne, à Poitiers celui des comtes de Poitiers, à Dijon celui des ducs de Bourgogne. Cependant, à dater du XIe siècle, conformément aux habitudes des seigneurs du moyen âge, le palais était ou fortifié ou entouré d'une enceinte fortifiée; mais généralement il occupait une surface plus étendue que les châteaux de campagne, se composait de services plus variés, et laissait quelques-unes de ses dépendances accessibles au public. Il en était de même pour les résidences urbaines des évêques, qui prenaient aussi le nom de palais, et qui n'étaient pas absolument fermées au public comme le château féodal. Plusieurs de nos anciens palais épiscopaux de France conservent ainsi des servitudes qui datent de plusieurs siècles. Les cours, plaids, parlements, les tribunaux de l'officialité, se tenaient dans les palais du suzerain ou de l'évêque; il était donc nécessaire de permettre au public de s'y rendre en maintes occasions. La partie essentielle du palais est toujours la grand'salle, vaste espace couvert qui servait à tenir les cours plénières, dans laquelle on convoquait les vassaux, on donnait des banquets et des fêtes. De longues galeries accompagnaient toujours la grand'salle; elles servaient de promenoirs. Puis venait la chapelle, assez vaste pour contenir une nombreuse assistance; puis les appartements du seigneur, les logements des familiers, le trésor, le dépôt des chartes; puis enfin les bâtiments pour les hommes d'armes, des cuisines, des celliers, des magasins, des prisons, des écuries, des préaux, et presque toujours un jardin. Une tour principale ou donjon couronnait cette réunion de bâtiments, disposés d'ailleurs irrégulièrement et suivant les besoins.

La plupart de ces palais n'avaient pas été bâtis d'un seul jet, mais s'étaient accrus peu à peu, en raison de la richesse ou de l'importance des seigneurs auxquels ils servaient de résidence.

Le palais des rois, à Paris, dans lequel ces souverains tinrent leur cour depuis les Capétiens jusqu'à Charles V, présentait ainsi, au commencement du XIVe siècle, une réunion de bâtiments dont les plus anciens remontaient à l'époque de saint Louis, et les derniers dataient du règne de Philippe le Bel. Des fouilles récemment faites dans l'enceinte du palais de Paris ont mis au jour quelques restes de constructions gallo-romaines, notamment du côte de la rue de la Barillerie; mais dans l'ensemble des bâtiments il ne reste rien d'apparent qui soit antérieur au règne de Louis IX. Depuis Charles V, le palais fut exclusivement affecté au service de la justice, et les rois ne l'habitèrent plus. Ce souverain y fit faire quelques travaux intérieurs, ainsi que Louis XI; mais Louis XII l'augmenta en construisant le bâtiment destiné à la chambre des comptes, et qui se trouvait occuper, place de la Sainte-Chapelle, l'emplacement affecté aujourd'hui à l'hôtel du préfet de police. Nous donnons (fig. 2) le plan du palais de Paris à rez-de-chaussée, tel qu'il existait au commencement du XVIe siècle.

Des constructions de saint Louis, il ne restait plus alors, comme aujourd'hui encore, que la sainte Chapelle A, le corps de bâtiment B compris entre les deux tours du quai de l'Horloge, et la tour carrée du coin C, dont les substructions paraissent même appartenir à une époque plus ancienne: Le bâtiment D, affecté aux cuisines, est un peu postérieur au règne de saint Louis. Peut-être l'enceinte E, avec les portes F, qui existaient sur la rue de la Barillerie, et qui, au XIVe siècle, donnaient encore sur un fossé, avaient-elles été élevées par Louis IX, ainsi que le donjon G, dit tour de Montgomery 5 et qui subsista jusque vers le milieu du dernier siècle 6.

Philippe le Bel fit construire les galeries H, la grand'salle l, les portiques K et le logis L, «très-somptueux et magnifiques ouvrages», dit Corrozet 7, qui les a encore vus tout entiers, bâtis sous la direction de «messire Enguerrand de Marigny, comte de Longueville et général des finances, et voyez (ajoute le même auteur) quels hommes on employoit jadis à tels états plustost que des affamez, et des hommes qui ne demandent que piller l'argent du prince.» Enguerrand de Marigny n'en fut pas moins pendu, comme chacun sait, ce qui enlève quelque chose au sens moral de la remarque du bon Parisien Corrozet.

Les bâtiments de la chambre des comptes, commencés par Louis XI et achevés par Louis XII, étaient en M. En N était une poterne avec tournelles, dont nous avons encore vu des restes intéressants il y a quatre ans. Cette poterne et l'enceinte O, avec quais, dataient du XIVe siècle. Quant à l'enceinte E', ses traces étaient visibles dans des maisons particulières avant la construction du bâtiment actuel de la police correctionnelle, ainsi que le constate un plan relevé avec le plus grand soin par M. Berty, et accompagné de renseignements bien précieux 8. En P était une chapelle placée sous le vocable de saint Michel, en R le pont aux Changeurs, et en S le pont aux Meuniers, ou le Grand-Pont. En T le jardin, les treilles du roi, séparé d'une petite île (île aux Vaches) par un bras de la Seine. Là était le bâtiment des étuves. De ce vaste ensemble de logis et monuments, il reste encore aujourd'hui: la sainte Chapelle, privée seulement de son annexe V à trois étages, servant de sacristie et de trésor des chartes; le rez-de-chaussée de la grand'salle, tel que le donne notre plan; une partie notable des portiques K; la partie intérieure du bâtiment des cuisines et de la salle B, ainsi que les quatre tours sur le quai de l'Horloge; le logis L dans toute sa hauteur. C'était dans la cour X qu'était planté le May. Cette réunion de monuments, tous d'une bonne architecture, présentait au centre de la Cité l'aspect le plus saisissant.

Nous avons essayé d'en donner une idée dans la vue cavalière (fig. 3) prise de la pointe de l'île en aval 9. Les étrangers qui visitaient la capitale s'émerveillaient fort de la beauté des bâtiments du Palais, principalement de l'effet de la cour du May, qui, en entrant par la porte donnant sur la rue de la Barillerie, présentait une réunion d'édifices plantés de la manière la plus pittoresque. Le grand perron, qui donnait au premier étage de la galerie d'Enguerrand; celui de droite, qui montait sur la terrasse, communiquant à la grand'salle; les parois de celle-ci avec ses fenêtres à meneaux; le gros donjon de Montgomery, dont la toiture paraissait au-dessus des combles de la grande galerie; la sainte Chapelle, avec son trésor, formaient réellement un bel ensemble, quoique peu symétrique. Si l'on tournait à gauche vers la chapelle Saint-Michel, on découvrait la façade élégante de la chambre des comptes avec son gracieux escalier couvert, puis l'escalier de la sainte Chapelle bâti par Louis XII, puis le gros donjon relégué au fond de la cour. En longeant la chambre des comptes, on passait dans les jardins du Palais, et l'on voyait se développer la façade mouvementée du logis, dont il reste encore aujourd'hui toute une portion. À chaque pas, c'était un aspect nouveau, une surprise, et la variété de toutes ces constructions contribuait à augmenter leur étendue. Il y a bien loin de ce palais aux bâtisses glaciales et ennuyeuses par leur monotonie, auxquelles nous sommes habitués depuis le grand siècle.

C'est dans ce palais que Charles V reçut et logea l'empereur Charles IV, probablement dans des bâtiments qui occupaient l'emplacement affecté plus tard à la chambre des comptes... «Lors, fist le roy lever l'empereur, à tout sa chayere, et, contremont les degrez porter en sa chambre (l'empereur était goutteux), et aloit le roy, d'un costé, et menoit le roy des Rommains à sa sénestre main, et ainssy le convoya en sa chambre de bois d'Irlande, qui regarde sus les jardins et vers la saincte Chappelle, qu'il avoit fait richement appareiller, et toutes les autres chambres derrière, laissa pour l'empereur et son filz; et il fu logiés ès chambres et galatois que son père le roy Jehan fist faire 10

Il est certain que ces palais, ces grandes résidences seigneuriales, au moyen âge, s'élevaient successivement. Suivant une habitude que nous voyons encore observée en Orient, chaque prince ajoutait aux bâtiments qu'il trouvait debout, un logis, une salle, suivant les goûts ou les besoins du moment. Il n'y avait pas de projet d'ensemble suivi méthodiquement, exécuté par fractions, et loin de se conformer à une disposition unique, les seigneurs qui faisaient ajouter quelque logis à la demeure de leurs prédécesseurs, prétendaient donner à l'oeuvre nouvelle un caractère particulier; ils marquaient ainsi leur passage, laissaient l'empreinte de leur époque en bâtissant un logis tout neuf, suivant le goût du jour, plutôt que d'approprier d'anciens bâtiments. Ces résidences présentent donc de la variété non-seulement dans les parties qui les composent, mais aussi entre elles, et si leur programme est le même, la manière dont il a été interprété diffère dans chaque province. Ici la chapelle prend une importance considérable, là elle se réduit aux proportions d'un oratoire. Dans tel palais, le donjon est un ouvrage de défense important; dans tel autre, il ne consiste qu'en une bâtisse un peu plus épaisse et un peu plus élevée que le reste du logis. Seule la grand'salle occupe toujours une vaste surface, car c'est là une partie essentielle, c'est le signe de la juridiction seigneuriale, le lieu des grandes assemblées; comme dans les châteaux, elle possède un large perron et s'élève sur des celliers voûtés. À Troyes, par exemple, le palais des comtes de Champagne, accolé à l'église Saint-Étienne, qui lui servait de chapelle, n'avait, relativement à l'édifice religieux, qu'une étendue assez médiocre; ses logements étaient peu nombreux, mais la grand'salle avait 52 mètres de longueur sur 20 mètres environ de largeur. Une tour carrée, accolée au flanc nord de l'église et dépendant de celle-ci, servait de trésor et de donjon. Les pièces destinées à l'habitation, renfermées dans un premier étage sur rez-de-chaussée voûté, étaient placées en enfilade sur l'un des flancs de la grand'salle et devant l'église du côté ouest; elles donnaient sur un bras de la Seine. Un jardin du côté du midi et une place du côté septentrional bornaient le palais; c'était sur cette place que s'étendait le large perron servant d'entrée principale à la grand'salle 11. Du reste, le palais de Troyes cessa d'être la demeure des comtes de Champagne dès 1220; ceux-ci préférèrent établir leur résidence à Provins.

Le palais des comtes de Poitiers est un de ceux qui, en France, ont conservé peut-être les plus beaux restes. Bâti sur des ruines romaines par les Carlovingiens, puis détruit à plusieurs reprises, il fut réédifié par Guillaume le Grand au commencement du XIe siècle; de cette reconstruction il ne reste rien. On attribue à Guy-Geoffroy, fils de Guillaume, la construction de la grand'salle que nous voyons aujourd'hui; mais cette salle présentant tous les caractères de l'architecture civile de la fin du XIIe siècle, et Guy Geoffroy étant mort en 1086, il faut lui trouver un autre fondateur. Le palais de Poitiers fut brûlé en 1346 par les Anglais, puis réparé en 1395 par Jean, duc de Berry et comte du Poitou. Ce prince, frère du roi Charles V, fit rebâtir le pignon de la grand'salle, décoré d'une immense cheminée (voy. CHEMINÉE, fig. 9 et 10), et le donjon qui existe encore, quoique très mutilé et qui sert aujourd'hui de cour d'assises 12. Cette magnifique construction se compose d'un gros corps de logis barlong, à trois étages voûtés, flanqué de quatre tours rondes aux angles et couronné de mâchicoulis, créneaux et combles.

Nous donnons (fig. 4) le plan des parties encore existantes du palais de Poitiers. En A est la grand salle, en B le donjon. D'autres logis existaient en C, mais il n'en reste plus que quelques traces. La muraille de la ville gallo-romaine passait en R et servait de soubassement à la grand'salle, dont l'entrée était en D. Une déviation de voie publique, ou peut-être l'orientation, avait dû faire planter le donjon de biais, ainsi que l'indique le plan. Ce donjon de palais affecte une disposition particulière qui n'est point celle que nous observons dans les donjons de châteaux, lesquels ne présentent qu'une tour ou un amas de logis fortement défendus par des ouvrages importants, comme l'est, par exemple, celui du château de Pierrefonds. Le donjon du palais de Poitiers est à lui seul un petit château, possédant une grand'salle à chaque étage et des chambres dans les tours. Il affecte une apparence de forteresse, mais il n'est réellement qu'un gros logis éclairé par de larges baies et n'était nullement propre à la défense; il se rapproche de l'architecture civile, et les tours, les mâchicoulis ne sont là qu'un appareil féodal 13.

Nous donnons (fig. 5) une élévation du donjon du palais de Poitiers, faite sur l'un des petits côtés. Aujourd'hui les constructions des tours sont dérasées au niveau N; cependant les seize statues ont été conservées sur leurs culs-de-lampe, quoique fort mutilées. Ces statues sont revêtues de l'habit civil du commencement du XVe siècle. L'artiste a-t-il voulu représenter les comtes du Poitou? C'est ce qu'il est difficile de savoir. Quoi qu'il en soit, elles sont d'un beau travail.

La coupe transversale du donjon, faite sur la ligne BG du plan (fig. 6), montre les deux salles inférieures, avec leurs voûtes reposant sur une épine de trois piliers, puis le second étage ne formant plus qu'une grand'salle sans piliers. Au-dessus se trouvent le galetas et les chemins de ronde desservant les mâchicoulis. Un escalier à vis compris dans une tour carrée, autrefois englobée dans les logis bâtis entre ce donjon et la grand'salle, permet d'arriver aux trois étages par un couloir détourné, ainsi que l'indique le plan.

Les palais des seigneurs suzerains laïques forment au milieu des villes où ils sont situés une sorte d'oppidum, de lieu à la fois fortifié et sacré, comme était l'acropole des villes grecques. C'est dans le palais suzerain que sont conservées les reliques les plus précieuses et les plus vénérées par le peuple; c'est là que sont déposés les chartes, les trésors; c'est là que se tiennent les cours plénières, que siégent les parlements, que se passent les fêtes à l'occasion du mariage des princes, des traités. Quant aux palais des évêques, ils ont un autre caractère qui mérite de fixer l'attention des archéologues. Situés dans le voisinage des cathédrales (ce qui est naturel), ils sont presque toujours bâtis le long des murailles ou sur les murailles mêmes de la cité, et peuvent contribuer à leur défense au besoin. Ce fait est trop général pour qu'il n'ait pas une origine commune. En premier lieu, il prouverait ceci: c'est que les évêchés se sont établis, primitivement, sur quelque castellum tenant aux murs des villes gallo-romaines; en second lieu, que la construction de ces palais a dû précéder la construction des cathédrales et déterminer leur emplacement. En effet, on ne s'expliquerait pas comment la plupart de nos plus anciennes cathédrales, rebâties plusieurs fois, toujours sur le même emplacement, depuis les VIIe et VIIIe siècles, celles de Paris, de Meaux, de Bourges, d'Amiens, de Soissons, de Beauvais, de Laon, de Senlis, de Noyon, de Langres, d'Auxerre, du Mans, d'Évreux, de Narbonne, d'Alby, d'Angoulème, de Poitiers, de Carcassonne, de Limoges, et tant d'autres, s'élèvent plutôt près des anciens remparts qu'au milieu même de l'enceinte des cités. Les villes gallo-romaines possédaient, ou un capitole, ou au moins un castellum, le long d'un des fronts des remparts, comme sont encore nos citadelles modernes; c'est au milieu de ce capitole gallo-romain, ou dans un de ces réduits voisins des remparts, que s'implantent les premiers évêchés. N'oublions pas qu'à la fin du VIe siècle, «les évêques étaient les chefs naturels des villes; qu'ils administraient le peuple dans l'intérieur de chaque cité; qu'ils le représentaient auprès des barbares; qu'ils étaient ses magistrats en dedans, ses protecteurs au dehors 14

Le palais épiscopal bâti, la cathédrale s'élève à côté, et chaque fois que la cathédrale se rebâtit à neuf, il est rare que le palais épiscopal ne soit point reconstruit en même temps. Or il nous reste quelques plans d'évêchés du XIIe siècle et même du XIe. Ces plans présentent une disposition à peu près uniforme: une grande salle, une chapelle, une tour ou donjon, des dépendances mixtes entre le palais et la cathédrale, et des logis qui, probablement, avaient peu d'importance, puisqu'on n'en trouve pas de traces. Le signe représentatif du pouvoir épiscopal, à la fois religieux et civil dans les premiers siècles du moyen âge, c'est la grande salle, curie canonique et civile, au besoin forteresse, qui devient plus tard l'officialité et la salle synodale. L'évêché de Paris, reconstruit par l'évêque Maurice de Sully, vers 1160, conservait encore ce caractère; il ne faisait d'ailleurs que remplacer un palais plus ancien dont les fondations, découvertes par nous en 1845 et 1846, peuvent passer pour une structure gallo-romaine. C'était la résidence dont parle Grégoire de Tours, et qui existait de son temps. Dans la chapelle palatine épiscopale, dont nous avons vu encore les restes en 1830, on lisait cette inscription rapportée par le P. du Breuil 15: «Hæc basilica (la chapelle) consecrata est a Domino Mauritio Parisiensi episcopo, in honore beatæ Mariæ, beatorum martyrum Dionysii, Vincentii, Mauritii, et omnium sanctorum.» Or ce palais, reconstruit par Maurice de Sully, se composait d'une grande salle, avec bâtiments tenant au choeur de la cathédrale, qu'il réédifiait en même temps, et d'une chapelle. Des logements privés du prélat, nulle trace. Voici (fig. 7) le plan du rez-de-chaussée de ce palais épiscopal du XIIe siècle.

En A était la chapelle, en B le donjon, en C la grande salle, qui alors, ne s'étendait pas au delà du mur pignon D. Le choeur de la cathédrale, rebâti par Maurice de Sully, est en E; la salle F servait de trésor au premier étage, avec escalier de communication entre le palais et le choeur, et de sacristie au rez-de-chaussée. La grande salle au premier étage formait un seul vaisseau voûté. Ici la muraille gallo-romaine de la cité passe en M, sous la cathédrale et au delà de son abside, et en creusant les fondations de la nouvelle sacristie, nous avons retrouvé une substruction de la même époque en G et en P. Il semblerait donc que les évêques de Paris avaient profité d'un saillant formé par les défenses de la cité, d'une sorte de castellum, pour y enfermer le palais épiscopal. Le mur méridional de la grande salle était même bâti sur les fondements de l'enceinte gallo-romaine, et fut encore crénelé par Maurice de Sully.

Alors, dit le P. du Breuil, «l'evesque et les siens alloient de la grande salle à la grande église (la cathédrale) par une gallerie (l'aile F), laquelle messieurs les Ponchers successeurs evesques (au XVIe siècle) ont depuis quittée aux chanoines qui y mettent les reliques et les plus beaux ornemens. Depuis messire Pierre d'Orgemont (commencement du XVe siècle) fit bastir le second corps d'hostel, qui a veuë tant sur le jardin que sur le lieu dict (c'est le bâtiment H). Longtems après messire Estienne de Poncher (commencement du XVIe siècle), cent deuxième evesque de Paris, fit édifier le bastiment joignant le vieil, lequel est vis à vis de l'église, où est à présent la geolle et autres demeures (c'est le corps de logis doublé en K). Messire François de Poncher, son neveu et successeur, fit bastir le troisième corps d'hostel, qui est derrière la chappelle (c'est le logis L). En ce lieu auparavant estoient les écuries et quelques maisonnettes où demeuroient les quatre chanoines de la basse chappelle.....» La chapelle avait en effet deux étages, comme celle de Meaux, et plus tard celle de Reims. Les constructions O dataient seulement du XVIIe siècle, et en R étaient des logis qui furent cédés à l'Hôtel-Dieu. Le pont aux Doubles S fut élevé plus tard, après tous ces bâtiments. Les évêques de Paris n'avaient pas que ce palais ne renfermant pendant plusieurs siècles qu'une grande salle. Hugues de Besançon, en 1326, avait son hôtel rue des Amandiers. Guillaume de Chanac, son successeur, logeait dans la rue de Bièvre, et donna son logis pour la fondation du collège de Chanac ou de Saint-Michel. Pierre d'Orgemont, qui bâtit l'annexe K à la grande salle du palais épiscopal, hérita de l'hôtel des Tournelles qui appartenait au chancelier d'Orgemont, son père, et le vendit au duc de Berry, dont il était le chancelier. Girard de Montagne avait une maison rue des Marmousets et une autre rue Saint-André-des-Arts 16. Le long de la rivière et derrière l'abside de la cathédrale s'étendaient des jardins qui touchaient au cloître du chapitre bâti vers le nord-est. La grande salle crénelée du XIIe siècle, avec son annexe élevée par Pierre d'Orgemont au commencement du XVe siècle, son donjon et sa chapelle à deux étages, avait fort grand air du côté de la rivière, ainsi que le fait voir la perspective (fig. 8) prise du point V 17, avant les adjonctions O et la construction du pont aux Doubles.

Un des palais épiscopaux les plus anciens, celui d'Angers, construit vers la fin du XIe siècle, conserve encore sa grande salle romane d'un beau style (voy. SALLE), et des dépendances assez considérables qui datent de la même époque. Des travaux récents, dirigés par l'architecte diocésain, M. Joly Leterme, ont fait reparaître une partie des logements entourant cette grande salle 18, qui est mise en communication directe avec le bras de croix nord de la cathédrale. On remarque même certaines portions de murs de ce palais qui ont tout à fait le caractère de la structure gallo-romaine des bas temps, et qui pourraient bien avoir appartenu, ainsi que l'observe M. le docteur Cattois, à la demeure que l'ancien maire du palais de Neustrie, Rainfroy, aurait fait construire, à Angers, sur l'emplacement du capitole. À l'évêché de Meaux, il existe une chapelle à deux étages, de la seconde moitié du XIIe siècle, ayant les plus grands rapports avec celle de l'ancien évêché de Paris, et l'étage inférieur de la grand'salle. Ce rez-de-chaussée, comme celui de la grand'salle du palais épiscopal de Paris, se compose de deux nefs voûtées. Le palais de Meaux est également bâti à proximité des remparts gallo-romains. À Soissons, l'évêché repose sur une partie de la muraille antique, mais des constructions de l'ancien palais il ne reste qu'une tourelle du commencement du XIIIe siècle et quelques substructions de la même époque. À Beauvais, le palais épiscopal joignait l'ancienne fortification romaine, et une tourelle datant du XIIe siècle flanquait même le vieux mur romain 19. À Reims, l'étage inférieur de la grand'salle date du commencement du XIIIe siècle, et la chapelle à deux étages, du milieu du XIIIe siècle (voy. CHAPELLE). À Auxerre, l'un des pignons de la grand'salle existe encore, et date du milieu du XIIIe siècle, comme le choeur de la cathédrale; une galerie du XIIe siècle repose sur l'ancien mur de la ville gallo-romaine. À Rouen, on trouve également des restes assez considérables du XIIIe siècle, et notamment l'un des pignons de la grand'salle. À Laon, l'assemblage des bâtiments de l'évêché (aujourd'hui palais de justice) est des plus intéressants à étudier. Ce palais fut reconstruit après l'incendie de 1112, qui détruisit l'ancienne cathédrale et les bâtiments environnants. En effet, on retrouve dans l'évêché de Laon des parties de bâtiments qui appartiennent au style de la première moitié du XIIe siècle, notamment la chapelle A (figure 9) et les corps de logis B. Quant à la grand'salle C élevée sur un rez-de-chaussée doublé d'un portique du côte de la cathédrale, sa construction est due à l'évêque Garnier (1245). La grand'salle s'éclaire sur la cour O et sur la campagne. Le portique intérieur fut remanié à une époque ancienne déjà. Les arcs furent reconstruits, les appuis des fenêtres baissés; on a la preuve de ce remaniement en observant l'arcade unique de retour E dont la courbure et l'ornementation primitives sont conservées. L'aspect de ce grand corps de logis, sur l'extérieur, devait être fort beau avant les mutilations qui en ont altéré le caractère. Cette façade qui domine la muraille de la ville passant parallèlement à quelques mètres de sa base, est flanquée de trois tourelles portées sur des contre-forts, et entre lesquelles s'ouvrent les fenêtres de la grand'salle au premier étage. Le couronnement, autrefois crénelé, pouvait au besoin servir de seconde défense par-dessus les remparts de la cité, dominant un escarpement abrupt. Voici (fig. 10) une vue de cette façade extérieure prise du point P. Au XVe siècle, les évêques de Laon (voy. le plan, fig. 9) élevèrent les deux corps de logis F et G. Une porte fortifiée était ouverte en K.

Le portique occupant une moitié de la longueur de la grand'salle du côté de la cour donne à ce palais épiscopal une physionomie particulière. Cette galerie, exposée au midi sur un plateau où la température est habituellement froide, servait de promenoir, et contribuait à l'agrément de l'habitation. Le palais épiscopal de Laon, comme ceux que nous venons de décrire précédemment, n'en était pas moins un lieu fortifié très bien situé, facile à garder et à défendre. Nous voyons que le palais archiépiscopal de Narbonne, dans le Languedoc, bien que rebâti à la fin du XIIIe siècle et pendant le XIVe, est encore une véritable place forte élevée probablement sur l'emplacement du capitole de la ville romaine. C'est après le palais des papes, en France, la construction la plus importante qui nous reste des nombreuses résidences occupées par les princes de l'Église.

Le palais archiépiscopal de Narbonne est réuni à la cathédrale actuelle, fondée en 1272, par un cloître bâti par l'archevêque Pierre de la Jugée, dans la seconde moitié du XIVe siècle. Déjà, en 1308, la grosse tour carrée du palais, servant de donjon, avait été construite par l'archevêque Gilles. Pierre de la Jugée éleva entre le cloître et cette tour des bâtiments considérables qui subsistent encore en grande partie, et qui comprennent plusieurs tours rondes, des logis, une grand'salle et une autre tour carrée formant pendant avec le donjon. Cependant, au milieu de ces constructions du XIVe siècle, on retrouve encore une tour romane fort ancienne, et une belle porte du commencement du XIIe siècle.

Les archevêques de Narbonne furent, il est vrai, pendant une partie du moyen âge, des seigneurs puissants, et leur palais acquit, dès le XIe siècle, une importance en rapport avec leur fortune. En 1096, l'archevêque Dalmatius prit le titre de primat des Gaules. La ville de Narbonne avait d'ailleurs conservé en partie, comme beaucoup de villes du Midi, son administration municipale romaine.

La commune possédait jusqu'au XIIe siècle des conseillers qui prenaient le titre de nobiles viri ou probi homines. Alors on les appela consuls, ou plutôt cossouls. Cette commune fit en 1166 un traité de commerce avec la république de Gênes, et plus tard avec Pise, Marseille, Rhodes, etc. En 1212, Armand Amalaric, légat du pape et archevêque de Narbonne, se déclara duc, et le vicomte lui rendit hommage. Alors la ville était sous la juridiction de trois seigneurs, l'archevêque, le vicomte et l'abbé de Saint-Paul; en 1232, ces trois personnages confirmèrent les franchises et coutumes de la commune. Cependant, en 1234, les consuls de Narbonne invoquent le secours des consuls de Nîmes contre l'archevêque, et en 1255 les magistrats municipaux ordonnent que les coutumes de la ville seront traduites du latin en roman, afin de les mettre à la portée de tous. Les vicomtes, moins puissants que les archevêques, inclinent à protéger les prérogatives des Narbonnais, et c'est en présence de cette lutte croissante contre le pouvoir des seigneurs archevêques, que Gilles Ascelin construit, en 1318, l'énorme tour encore intacte aujourd'hui, et que ses successeurs font, de leur résidence, un véritable château fort, se reliant à la cathédrale fortifiée elle-même 20.

Ce mélange d'architecture militaire, religieuse et civile, fait donc du palais archiépiscopal de Narbonne un édifice des plus intéressants à connaître. Disons d'abord qu'il ne faut pas chercher là des influences de l'art italien du XIVe siècle; cet édifice est bien français, et plutôt français septentrional que languedocien. Ses combles étaient aigus, ainsi que le prouvent plusieurs des pignons existants; la construction des voûtes, les sections des piles, le cloître et ses détails, la forme des fenêtres, les dispositions défensives, et jusqu'à l'appareil, appartiennent à l'architecture du domaine royal; et le palais archiépiscopal de Narbonne est d'autant plus curieux à étudier, qu'il dut servir de point de départ pour construire le palais des papes à Avignon, dont nous nous occuperons tout à l'heure.

Voici (fig. 11) le plan du palais des archevêques de Narbonne, à rez-de-chaussée. En A, est la cathédrale, commencée, comme nous l'avons dit, en 1272, sur un plan français (voy. CATHÉDRALE, fig. 48). Une place fort ancienne 21, et qui, très vraisemblablement, occupe l'emplacement du forum de la ville romaine, est en B. Les fondations du capitole antique commandèrent la disposition des bâtiments, qui se contournent en partant de l'angle C jusqu'à la cathédrale. En D, est une tour romane, et en E, des bâtiments dont quelques parties appartiennent au XIIe siècle. La grosse tour carrée bâtie par Gilles Ascelin en 1318, est en F. Elle est plantée sur la place, en face de la tour du vicomte, beaucoup plus basse; elle dominait par conséquent la tour du seigneur laïque et le canal se reliant au port, lequel passe à 10 mètres environ du point C. De la place B au cloître G, le terrain s'élève de 5 mètres environ. On entrait dans la cour H du palais, en passant sous un arc I, en prenant une rue K bordée de bâtiments fortifiés, et en franchissant le grand porche voûté L. En O, était la salle des gardes, communiquant au rez-de-chaussée de la tour dite Saint-Martial, U, par un emmarchement intérieur. Toutes ces dispositions sont à peu près intactes. En passant de la rue K, sous une arcade P fortifiée, on arrive à un degré Q qui monte au cloître, lequel communique à la cathédrale par une porte R.

De la cour H, en descendant le degré S, terminé par un ciel ouvert S', et prenant à gauche un souterrain passant sous le grand logis V, on arrivait à une poterne T, donnant dans un fossé qui séparait tout le front ab d'un jardin, formant ouvrage avancé. Le grand logis V est, à rez-de-chaussée, occupé par des celliers disposés sous la grand'salle. De la cour H, on montait aux appartements par un escalier X, détruit aujourd'hui 22. En d, d', étaient des portiques, et en Z un bâtiment en retraite qui réunissait la grosse tour à la tour Saint-Martial.

Cette dernière partie, dont on ne voyait que des fragments avant 1847, enclavée dans des constructions beaucoup plus récentes, a été rasée pour faire place au nouveau bâtiment de l'hôtel de ville. Mais ayant été chargé de diriger cette dernière construction, nous avons pu constater la disposition des grands contre-forts avec mâchicoulis M, et du petit corps de garde N avec sa poterne n. Les bâtiments p, dits de la Madeleine, sont les plus anciens. Ils se composent d'un rez-de-chaussée voûté et d'une grande salle t, également voûtée, sous une belle chapelle disposée au premier étage; cette salle t communiquait avec le passage dit de l'Ancre par deux portes VV'. Ces portes VV' devaient permettre au public d'entrer dans la salle t, qui servait de chapelle basse. Une cour de communs était disposée en m avec un petit logis e fortifié. L'enceinte de l'archevêché allait rejoindre celle de la cathédrale par un mur f, également fortifié. En g, est une grande salle capitulaire. L'abside de la cathédrale continuait les défenses de ce côté f par une suite de tourelles crénelées réunies par des arcs surmontés de créneaux, ainsi que les couronnements des chapelles. Ce palais présentait donc un ensemble de défenses formidables dominées par l'énorme tour carrée F, formant saillie.

Examinons maintenant le plan du premier étage de ce palais (fig. 12). L'escalier X permettait d'arriver directement de la cour à la grande salle V, possédant une vaste cheminée dont on voit encore les traces à l'extérieur. Cette grande salle était éclairée par de hautes fenêtres terminées de tiers-point, et couverte au moyen d'arcs plein cintre, portant un solivage au-dessus duquel était un étage lambrissé donnant sur le crénelage extérieur. De la grande salle, on pouvait arriver à tous les appartements. Des escaliers à vis permettaient de descendre au rez-de-chaussée sur plusieurs points, ou de monter aux étages supérieurs. On voit qu'on ne pouvait entrer dans la salle octogonale de la tour carrée que par un passage détourné, et de cette salle octogonale on descendait par une trappe dans la salle circulaire du rez-de-chaussée, laquelle servait de chartre ou de cachot. De larges mâchicoulis s'ouvrant au second étage, à la hauteur du crénelage, défendaient le front ab. Ici on reconnaît l'utilité des passages pratiqués en I et en P, sur les deux arcades franchissant la rue K; ils établissaient une communication entre le logis L et celui T de la Madeleine, et entre la tour Saint-Martial U et la chapelle M. Le cloître 23, couvert en terrasse, donnait une promenade d'où l'on pouvait jouir de la vue étrangement pittoresque de tous ces grands bâtiments se découpant les uns sur les autres, surmontés d'un côté par la grosse tour carrée, de l'autre par l'abside colossale de la cathédrale.

Ces constructions sont élevées en belles pierres de Sijean et de Béziers; elles couvrent une surface de 4000 mètres environ, déduction faite des cours, et malgré les nombreuses mutilations qu'elles ont subies, bien que des couvertures plates modernes et sans caractère aient remplacé les anciennes toitures à pentes rapides, bien que des adjonctions misérables, ou l'abandon, aient détruit plusieurs de leurs parties les plus intéressantes, elles ne laissent pas d'en imposer par leur grandeur et leur puissance.

Nous donnons (fig. 13) une vue cavalière de ce palais, prise du côté de la grosse tour carrée (voy. CLOÎTRE, SALLE, TOUR). Mais ce palais des archevêques de Narbonne est un pauvre logis, si on le compare au palais des papes à Avignon. Il est nécessaire, pour faire comprendre l'importance de cette résidence des souverains pontifes, de donner un historique sommaire de leur séjour dans le comtat Venaissin.

Au XIIIe siècle, le rocher d'Avignon, sur lequel devait s'élever le palais des papes, était partie en pâturages, partie couvert d'habitations dominées par l'ancien château ou palais du podestat, non loin duquel s'élevait celui de l'évêque 24. De ces constructions antérieures au séjour des pontifes, l'église Notre-Dame des Doms, servant de cathédrale, existe seule aujourd'hui.

Le pape Clément V vint à Avignon en 1308, et habita le couvent des Frères prêcheurs (dominicains). Clément V était Bertrand de Grotte, archevêque de Bordeaux; ce prélat passait pour être l'ennemi du roi de France, Philippe le Bel. Ce prince eut avec lui une entrevue: «Archevêque, lui dit-il, je puis te faire pape si je veux, pourvu que tu promettes de m'octroyer six grâces que je te demanderai.» Bertrand tomba à ses genoux, et lui répondit: «Monseigneur, c'est à présent que je vois que vous m'aimez plus qu'homme qui vive, et que vous voulez me rendre le bien pour le mal. Commandez et j'obéirai.» Bertrand de Grotte fut élu, et vint s'établir en France, à Avignon.

Jean XXII habita le palais, alors situé sur l'emplacement du palais actuel des papes (1316).

C'est Armand de Via, son neveu, évêque d'Avignon, qui, n'ayant point de palais, acheta le terrain où fut bâti l'archevêché, aujourd'hui occupé par le petit séminaire. Jean XXII, voulant agrandir le palais qu'il habitait, fit démolir la paroisse de Saint-Étienne, qu'il transféra à la chapelle Sainte-Madeleine.

Benoît XII, en 1336, fit démolir du palais tout ce que son prédécesseur avait fait construire, et d'après les plans de l'architecte Pierre Obreri 25, fit bâtir la partie septentrionale du palais apostolique, qu'il termina par la tour de Trouillas. Sous ce pontife, la chambre apostolique acheta le palais qu'avait fait bâtir Armand de Via pour servir d'habitation aux évêques d'Avignon. Clément VI fit construire la façade méridionale du palais des papes et les enceintes du midi qui, dans la suite, servirent à contenir l'arsenal.

C'est en 1347 seulement que la ville d'Avignon et le comtat Venaissin devinrent la propriété des papes. Avignon appartenait à Jeanne de Naples, qui était comtesse de Provence en même temps que reine des Deux-Siciles. Chassée de Naples comme soupçonnée de complicité avec les assassins de son mari, André de Hongrie, Jeanne se réfugia en Provence, et vint se jeter aux pieds de Clément VI. Lorsqu'elle quitta Avignon pour retourner dans ses États d'Italie, elle était déclarée innocente du crime dont la voix publique l'accusait; elle était munie d'une dispense pour épouser son cousin Louis de Tarente, le principal instigateur de l'assassinat d'André. Avignon et le comtat Venaissin appartenaient au pape. Cette cession avait été stipulée au prix de 80000 florins.

Innocent VI acheva la partie méridionale et la grande chapelle supérieure. Urbain V fit tailler dans le roc l'emplacement de la cour principale du palais, et y fit creuser un puits; il fit construire l'aile orientale donnant sur des jardins, et ajouta une septième tour, dite des Anges, aux six déjà bâties.

Grégoire XI part pour Rome en 1376, et meurt en 1378. Ainsi le palais d'Avignon a été le siége de la papauté de 1316 à 1376, pendant soixante ans, sous six papes. La papauté était alors française, élue principalement parmi les prélats gascons et limousins. Les papes français installèrent des candidats de leur choix au sein du sacré collége, et maintinrent leur prédominance pendant la durée du séjour des papes à Avignon. Il ne faut pas oublier ce fait, qui eut, comme nous le verrons tout à l'heure, une influence sur la construction du palais des papes d'Avignon.

Les antipapes, Clément VII et Benoît XIII, occupèrent le palais d'Avignon de 1379 à 1403 (mars).

Benoît XIII fut assiégé dans le palais par le maréchal Boucicaut, le 8 septembre 1398; le siége fut converti en blocus jusqu'après le départ de ce pontife, en 1403. Roderic de Luna, neveu de Benoît XIII, fut de nouveau assiégé, ou plutôt bloqué, par les légats du pape de Rome et par Charles de Poitiers, envoyé par le roi de France en 1409. Il évacua le palais, ainsi que le château d'Oppède, par capitulation en date du 22 novembre 1411.

Le cardinal légat (cardinal de Clermont) fit bâtir, en 1513, l'appartement appelé la Mirande, regardant le midi, et la galerie couverte qui mettait en communication ces appartements avec les tours donnant sur le jardin: c'était là que les vice-légats recevaient leurs visites.

On a tenu dans le palais d'Avignon six conclaves:

Celui pour l'élection de Benoît XII, en 1335; de Clément VI, en 1342; d'Innocent VI, en 1352; d'Urbain V, en 1362; de Grégoire XI, en 1370, et de Benoît XIII, en 1394.

À la suite d'un conflit qui eut lieu entre les gens du pape et ceux du duc de Créquy, ambassadeur de Louis XIV près le saint-siége, les satisfactions demandées à la cour de Rome paraissant insuffisantes, le roi de France fit occuper Avignon par ses troupes, et menaça le souverain pontife d'envoyer un régiment à Rome (1662). Le général Bonaparte, par le traité de Tolentino, obtint la cession des Romagnes et du comtat d'Avignon.

Ainsi, en soixante années, les papes firent bâtir non-seulement cette résidence, dont la masse formidable couvre une surface de 6400 mètres environ, mais encore toute l'enceinte de la ville, dont le développement est de 4,800 mètres.

En 1378, un incendie détruisit presque tous les combles du palais des papes 26. En 1413, la grande salle du Consistoire, le quartier des cuisines et celui de la sommellerie furent consumés, malgré la diligence de Marc, neveu du pape Jean XXIII, et qui commandait alors dans cette ville 27.

Les documents étendus que M. Achard, archiviste de la préfecture de Vaucluse, a bien voulu réunir pour nous, avec un empressement dont nous ne saurions trop le remercier, ne donnent que le nom d'un architecte dans la construction de cette oeuvre colossale: c'est un certain Pierre Obreri ou Pierre Obrier. Obreri n'est guère un nom italien, mais ce qui l'est encore moins, c'est le monument lui-même. L'architecture italienne du XIVe siècle, soit que nous la prenions dans le sud ou dans le nord de la péninsule, ne rappelle en rien celle du palais des papes. Depuis la tour de Trouillas jusqu'à celle des Anges, dans toute l'étendue de ces bâtiments, du nord au sud, de l'est à l'ouest, la construction, les profils, les sections de piles, les voûtes, les baies, les défenses, appartiennent à l'architecture française du Midi, à cette architecture gothique qui se débarrasse difficilement de certaines traditions romanes. L'ornementation, très sobre d'ailleurs, rappelle celle de la cathédrale de Narbonne dans ses parties hautes, qui datent du commencement du XIVe siècle. Or, la cathédrale de Narbonne est l'oeuvre d'un architecte français, le même peut-être qui bâtit celle de Clermont en Auvergne, et celle de Limoges, ainsi que peut le faire supposer la parfaite conformité de ces trois plans. Les seuls détails du palais d'Avignon, qui sont évidemment de provenance italienne, ce sont les peintures attribuées à Giotto et à Simon Memmi ou à ses élèves 28. N'oublions pas d'ailleurs que Clément V, qui, le premier, établit le siége apostolique à Avignon, était Bertrand de Grotte, né à Villandrau, près de Bordeaux; que Jean XXII, son successeur, était Jacques d'Euse, né à Cahors; que Benoît XII était Jacques Fournier, né à Saverdun, au comté de Foix; que Clément VI était Pierre Roger, né au château de Maumont, dans le diocèse de Limoges; qu'Innocent VI était Étienne d'Albert, né près de Pompadour, au diocèse de Limoges; qu'Urbain V était Guillaume Grimoald, né à Grisac, dans le Gévaudan, diocèse de Mende, et que Grégoire XI, neveu du pape Clément VI, était, comme son oncle, né à Maumont, au diocèse de Limoges. Que ces papes, qui firent entrer dans le sacré collége un grand nombre de prélats français, et particulièrement des Gascons et des Limousins, eussent fait venir des architectes italiens pour bâtir leur palais, ceci n'est guère vraisemblable; mais les eussent-ils fait venir, qu'il serait impossible toutefois de ne point considérer les constructions du palais des papes d'Avignon comme appartenant à l'architecture des provinces méridionales de la France. Nous insistons sur ce point, parce que c'est un préjugé communément établi que le palais des papes est une de ces constructions grandioses appartenant aux arts de l'Italie. À cette époque, au XIVe siècle, le goût de l'architecture italienne flotte indécis entre les traditions antiques et les influences de France et d'Allemagne, et ce n'est pas par la grandeur et la franchise qu'il se distingue. Les papes établis en France, possesseurs d'un riche comtat, réunissant des ressources considérables, vivant relativement dans un état de paix profonde, sortis tous de ces diocèses du Midi, alors si riches en monuments, ont fait à Avignon une oeuvre absolument française, bien supérieure comme conception d'ensemble, comme grandeur et comme goût, à ce qu'alors on élevait en Italie. Examinons maintenant ce vaste édifice dans toutes ses parties. Nous devons prendre le palais des papes à Avignon tel qu'il existait à la fin du XIVe siècle, c'est-à-dire après les constructions successives faites depuis Clément V jusqu'à Grégoire XI, car il serait difficile de donner les transformations des divers services qui le composent, et de montrer, par exemple, le palais bâti par Jean XXII. Ces immenses bâtiments s'élèvent sur la déclivité méridionale du rocher des Doms, à l'opposite du Rhône; de telle sorte que le rez-de-chaussée de la partie voisine de l'église Notre-Dame, qui est la plus ancienne, se trouve au niveau du premier étage de la partie des bâtiments élevés en dernier lieu, du côté sud, par Urbain V. Si donc nous traçons le plan du rez-de-chaussée du palais des papes, vers sa partie inférieure, nous tombons en pleine roche, en nous avançant vers le nord (fig. 14).

L'entrée d'honneur A s'ouvre sur une esplanade dominant tous les alentours, et autrefois divisée en plusieurs bailles, avec courtines, tour et portes. Cette entrée A est défendue par deux herses, des vantaux et un double mâchicoulis. En avant, donnant sur l'esplanade, l'ouvrage avancé fut remplacé au XVIIe siècle par un mur de contre-garde crénelé. Sous le vestibule d'entrée, à droite, est la porte s'ouvrant dans un vaste corps de garde B, voûté. De la cour d'honneur C on peut se diriger sur tous les points du palais. Du vestibule D on monte aux étages supérieurs par un large et bel escalier à deux rampes, ou bien on entre dans la grande salle basse E et son annexe F, ou, encore dans la salle G. Par le passage H, on descend à l'esplanade orientale I, où l'on pénètre dans les salles K, sous la grosse tour L et son annexe l. Par le petit passage O détourné, on s'introduit dans la grande salle M, laquelle servait de poste et communiquait aux défenses supérieures par un escalier P. En R, est une poterne défendue par un mâchicoulis intérieur, une herse et des vantaux. En S, est une seconde poterne défendue par des mâchicoulis et une herse; en T, un degré qui monte au rez-de-chaussée de la partie du palais bâtie sur le rocher à un niveau plus élevé que le sol de la cour d'honneur. La partie la plus ancienne du palais, la tour de Trouillas est en V, flanquant le rocher et s'élevant au-dessus de toutes les autres tours du palais: c'est le donjon, dont nous ne voyons ici que les soubassements. Un escalier X, desservant cette partie des bâtiments, descend jusqu'au sol de l'esplanade I, et donne entrée sur le mur de défense Z garni de mâchicoulis et d'un chemin de ronde. En N, adossé à ce mur, est un fournil.

Tout ce rez-de-chaussée est voûté et construit de manière à défier le temps et la main des hommes. Du corps de garde B on monte par un escalier à vis aux défenses supérieures de la porte principale A. Un autre escalier Q monte aux appartements donnant sur l'esplanade.

Ainsi qu'on peut le reconnaître, la disposition de rez-de-chaussée est bonne, en ce que, de la cour d'honneur, on arrive directement à tous les points du palais. Observons aussi que les deux poternes R, S, sont percées dans des rentrants, bien masquées et défendues; que les fronts sont flanqués, et que les architectes ont profité de la disposition naturelle du rocher pour établir leurs bâtiments. Des jardins s'étendaient du côté du sud, sur une sorte de promontoire que forme la colline. D'un côté (vers le nord), le rocher des Doms est à pic sur le Rhône, et était de plus défendu par un fort (le fort Saint-Martin). De l'autre (vers le sud), il s'implantait au centre de la ville, et la coupait pour ainsi dire en deux parts. Vers l'ouest, les bailles s'étendaient jusqu'au palais épiscopal, étaient arrêtées par le rempart de la ville, qui descendait jusqu'aux bords du Rhône et se reliait au fort Saint-Martin 29. Des rampes ménagées le long de ce fort descendaient jusqu'à la porte ou châtelet donnant entrée sur le pont Saint-Bénézet, qui traversait le Rhône (voy. PONT). Vers l'est, l'escarpement est abrupt et domine les rues de la cité. L'assiette de ce palais était donc merveilleusement choisie pour tenir la ville sous sa dépendance ou protection, pour surveiller les rives du fleuve précisément au point où il forme un coude assez brusque, pour être en communication avec le mur d'enceinte, et pour sortir au besoin de la cité sans être vu.

Afin de ne pas multiplier les figures, nous présentons le plan du palais des papes à rez-de-chaussée pour la partie la plus élevée, et au premier étage pour la partie située au-dessus des bâtiments entourant la cour d'honneur. Par le fait, le niveau du rez-de-chaussée des bâtiments supérieurs correspond au niveau d'un étage entresolé, disposé en partie sur le plan donné dans la figure 14.

En A (fig. 15), est l'église Notre-Dame des Doms, rétablie dans sa forme première et avant l'adjonction des chapelles qui ont altéré le plan de ce bel édifice. Élevée pendant le XIIe siècle, l'église Notre-Dame des Doms, aujourd'hui encore cathédrale d'Avignon, fut conservée par les papes, et c'est dans son voisinage que les pontifes élevèrent les premières constructions de leur palais, entre autres les tours B et les corps de logis b. S'avançant peu à peu vers le sud et suivant la déclivité du rocher, les papes fermèrent d'abord la cour C, entourée d'un large portique avec étage au-dessus, puis la cour d'honneur D. Il est à remarquer qu'en élevant chaque tour et chaque corps de logis, on les fortifiait, pour mettre toujours les portions terminées du palais à l'abri d'une attaque. Ainsi, le bâtiment E, par exemple, était défendu par des mâchicoulis en e, parce qu'au moment de sa construction, il avait vue directe sur les dehors, la cour d'honneur D et la grande salle G ayant été construites en dernier lieu, ainsi que la tour H.

Sous Urbain V, les appartements du pape se trouvaient au premier étage, autour de la cour d'honneur. Une grande salle (la salle G) entièrement voûtée, servait de chapelle. Ses voûtes étaient couvertes de belles peintures dont il ne reste plus que des fragments. L'escalier d'honneur I donnait entrée dans cette chapelle et dans les appartements des corps de logis à l'occident et au levant. Un couloir de service longe les pièces de l'aile occidentale, est desservi par l'escalier K, communique à la porterie et avec défenses supérieures par les vis L, aboutit au-dessus de la poterne P, et met l'aile occidentale en communication avec le logis E. Un crénelage avec larges mâchicoulis bordait les chambres de l'aile occidentale, au niveau du premier étage, sur le dehors. En F, étaient placées, au premier étage, les grandes cuisines 30. La salle des festins était au-dessus de la salle b, et se trouvait séparée des galeries du cloître par une cour très étroite et très longue; on observera que des mâchicoulis défendent le pied des quatre bâtiments qui entourent ce cloître. Des cloisons, dont nous n'avons pas tenu compte dans ce plan, parce qu'elles ont été changées plusieurs fois de place, divisaient les logis qui entourent le cloître et laissaient des couloirs de service. Ce vaste palais était donc très habitable, toutes les pièces étant éclairées au moins d'un côté. On remarquera aussi que dans l'épaisseur des murs des tours notamment, sont pratiqués des couloirs de service et des escaliers qui mettaient en communication les divers étages entre eux, et pouvaient au besoin faciliter la défense.

Une élévation prise sur toute l'étendue de la face occidentale fait saisir l'ensemble de ce majestueux palais (fig. 16) qui domine la ville d'Avignon, le cours du Rhône et les campagnes environnantes. Il était autrefois richement décoré de peintures à l'intérieur 31. Mais deux incendies, l'abandon et le vandalisme, ont détruit la plus grande partie des décorations. Quelques plafonds assez richement peints datent du XVIe siècle. L'emmarchement du grand escalier, aujourd'hui délabré et sordide, était fait de marbre ou de pierre polie, ses voûtes étaient peintes. La chapelle était des plus splendides et contenait des monuments précieux: c'est dans ce vaisseau que furent déposés les trophées envoyés au pape en 1340, par le roi de Castille, à la suite de la victoire de Tarifa.

Les deux tourelles qui surmontent la porte d'entrée en forme d'échauguettes ne furent démolies qu'en 1749, parce que (dit un rapport du sieur Thibaut, ingénieur, en date du 29 mars de la même année) elles menaçaient ruine; un tableau déposé dans la bibliothèque d'Avignon et plusieurs gravures nous en ont conservé la forme. Quant aux couronnements des tours, notamment ceux de la tour de Trouillas, ils ne furent complétement détruits qu'au commencement de ce siècle, et sont également représentés dans les tableaux et gravures du XVIIe siècle. Le palais des papes possède sept tours qui sont: 1º la tour de Trouillas, 2º de la Gache 32, 3º de Saint-Jean, 4º de Saint-Laurent, 5º de la Cloche, 6º des Anges 33, 7º de l'Estrapade.

Les légats habitèrent le palais d'Avignon, après le départ de l'antipape Benoît XIII, et y firent quelques travaux, entre autres le cardinal d'Armagnac, en 1569; mais cette vaste habitation était fort délabrée et «fort mal logeable», comme le dit Ch. de Brosses, pendant le dernier siècle. Aujourd'hui, c'est à grand'peine que l'on peut reconnaître les dispositions intérieures à travers les planchers et les cloisons qui coupent les étages, pour loger de la troupe 34.

Ce dernier exemple indique, comme les précédents, que la question de symétrie n'était point soulevée lorsqu'il s'agissait de bâtir des palais pendant le moyen âge. On cherchait à placer les services suivant le terrain ou l'orientation la plus favorable, suivant les besoins, et l'on donnait à chaque corps de logis la forme, l'apparence qui convenaient à sa destination.

Tous les palais épiscopaux n'avaient pas en France cet aspect de forteresse. Le palais archiépiscopal de Rouen, le palais épiscopal d'Évreux, celui de Beauvais, rebâtis presque entièrement au XVe siècle, ressemblaient fort à des hôtels princiers s'ouvrant sur les dehors par de larges fenêtres, et ne possédant plus de tours de défense. Quant aux rois de France, à dater de la fin du XIVe siècle, lorsqu'ils résidaient dans les villes, ils habitaient des hôtels. À Paris, le roi possédait plusieurs hôtels, et dans la plupart des bonnes villes on avait le logis du roi, qui souvent n'était qu'une résidence très modeste. Les châteaux furent préférés, on y jouissait d'une plus grande liberté. Les troubles qui remplirent la capitale pendant une grande partie du XVe siècle engagèrent les souverains à ne plus se fier qu'à de bonnes murailles à distance de la ville.

Les châteaux du Louvre, de la Bastille, de Vincennes, ceux des bords de la Loire, devinrent la résidence habituelle des rois de France, depuis les guerres de l'indépendance jusqu'au règne de François Ier. Les grands vassaux suivirent en cela l'exemple du souverain, et préféraient leurs châteaux à leurs résidences urbaines, et le nom de palais resta aux bâtiments occupés par les parlements.

Note 1: (retour) Récit des temps mérovingiens, par Augustin Thierry, récit 1er.
Note 2: (retour) Charlemagne avait aussi des palais dans des villes, celui d'Aix entre autres, qui passait pour très beau.

«Karles ne torna pas à Saint-Polle martir

N'an son palais plenier, qi fu de marbre bis.»

(La Chanson des Saxons, ch. L.)

Note 3: (retour) Hist. du duché de Valois, par le P. Carlier, prieur d'Andrezy, 1764, t. 1, liv. II, p. 169.
Note 4: (retour) Mallobergium, Malbergium, maison des plaids, lieu où l'on rendait la justice. (Voir Du Cange, Glossaire.)
Note 5: (retour) Ce fut dans cette tour que Montgomery fut enfermé après le tournoi qui fut si fatal à Henri II.
Note 6: (retour) Ainsi que le constatent deux dessins fort curieux, représentant les démolitions du palais avant la construction de la façade actuelle sur la cour du May. Ces dessins, qui appartenaient à M. Lassus, ont été lithographiés pour faire partie d'une monographie du Palais, qui n'a pas été publiée.
Note 7: (retour) Antiquités de Paris.
Note 8: (retour) Voy. l'Hist. topogr. et archéol. de l'anc. Paris, par MM. A. Lenoir et A. Berty (feuille X).
Note 9: (retour) Voyez le grand Plan de Paris à vol d'oiseau, par Mérian, et la Tapisserie de l'hôtel de ville; la Topographie de la Gaule, par Mérian; Livre troisième de la Cosmogr. universelle, Sébastien Munster et Belle-Forest, 1665; le Plan de Gomboust; l'oeuvre d'Israël Sylvestre; la Topographie de la France bibliog. imp.; l'oeuvre de Pérelle (vue du pont au Change); l'Hist. pittor. du Palais de justice, par Sauvan et Schmit, 1825; l'Itinéraire arch. de Paris, par M. le baron de Guilhermy.
Note 10: (retour) Le Livre des faits et bonnes meurs du sage roy Charles, chap. XXXVIII. Christine de Pisan.
Note 11: (retour) Voyez le plan de ce palais dans le Voyage archéol. dans le département de l'Aube par A. F. Arnaud (1837). Ce palais est entièrement rasé.
Note 12: (retour) C'est là, dit M. Ch. de Chergé, dans son Guide du voyageur à Poitiers, que se «trouve la tour historique de Maubergeon (Malhbery, audiences en lieux couverts, Mallobergium), lieu où, dès l'origine, et sous Charlemagne, furent tenues les audiences publiques et rendue la justice, et dont relevèrent depuis tous les fiefs capitaux de la province..... Ce fut dans le palais de Poitiers que le dauphin, fils de France, fut proclamé roi sous le nom de Charles VII (oct. 1422); ce fut là encore que fut interrogée, par les docteurs les plus habiles, Jeanne d'Arc, la Pucelle (mars 1429); ce fut là que s'assemblèrent les parlements de Paris et de Bordeaux, au moment où la France presque entière était anglaise....» Si un monument est historique, c'est bien celui-là.
Note 13: (retour) En effet, les saillies des ornements entourant les fenêtres, les statues décorant les cylindres des tours, auraient gêné beaucoup le service des mâchicoulis, si l'on eût voulu en faire usage en cas d'attaque. M. de Mérindol a bien voulu nous communiquer l'excellent travail qu'il a fait sur le palais de Poitiers, et c'est d'après ses relevés très exacts que nos dessins ont été réduits.
Note 14: (retour) Guizot, Hist. de la civilis. en France, VIIIe leçon.
Note 15: (retour) Le Théâtre des antiquités de Paris, 1612, p. 43.
Note 16: (retour) Sauval, liv. VII.
Note 17: (retour) Voyez la tapisserie de l'hôtel de ville; le Plan Gomboust; le grand Plan de Paris à vol d'oiseau, de Mérian; les vues d'Israël Sylvestre; celles de Pérelle; le Plan de la cité de l'abbé Delagrive; les plans et coupes déposés aux archives de l'Empire et dont M. A. Berty a eu l'obligeance de nous communiquer des calques; une gravure du parvis Notre-Dame, par L. van Merlen, qui montre le couronnement du bâtiment H.
Note 18: (retour) Voyez dans le tome II de l'Architecture civile et domestique de MM. Verdier et Gattois, p. 201, le plan du palais épiscopal.
Note 19: (retour) Cette tourelle existe encore. (Voy. l'Archit. civ. et dom. de MM. Verdier et Cattois, t. I.)
Note 20: (retour) Nous devons ces renseignements historiques à M. Tournal, conservateur du Musée de Narbonne.
Note 21: (retour) Dite aujourd'hui la place aux Herbes.
Note 22: (retour) Cet escalier fut détruit vers 1620, et remplacé par un bel escalier placé dans la tour Y. C'est de 1620 à 1634 que furent élevées de nouvelles façades dans la cour, et que furent arrangés les grands appartements actuellement occupés en partie par le musée de la ville. Nous avons retrouvé les traces des fondations de l'escalier X.
Note 23: (retour) On désignait ainsi ce passage, parce que sous l'arcade I était suspendue une ancre, comme signe des droits que les archevêques possédaient sur le port de Narbonne.
Note 24: (retour) «Item civitas (Avenionis) habet patuum quod est juxta cimeterium Sancti Benedicti usque ad rupem castricum pertinentiis suis usque ad Rhodanum et usque ad domos que possidentur pro Hugone Bertrando et sicut protenditur usque adstare Bertrandi Hugonis et usque ad cimeterium ecclesie Beate Marie et usque ad ecclesiam beate Marie de Castro.» (Bibl. d'Avignon, fonds Requien, cartul. des statuts. Invent. des biens de la républ. d'Avignon, fait en 1234 par le podestat Parceval de Doria.)--Communiqué par M. Achard, archiviste de la préfecture de Vaucluse.
Note 25: (retour) Ou Pierre Obrier, selon les Annales d'Avignon, t. III.--Manuscrit donné au musée d'Avignon par M. Requien; comm. par M. Achard, archiviste de la préfecture.
Note 26: (retour) On voit encore aujourd'hui les traces de ce sinistre dans les parties supérieures de l'édifice. «L'an 1378, à l'heure du trépas du pape Grégoire XI à Rome, selon les vieux documents de Provence, le palais d'Avignon s'embrasa par telle fureur, qu'il ne fut jamais au pouvoir des hommes, quel secours qui de toute part y arrivât, de l'éteindre ni arrêter, que la plus grande partie de ce grand et superbe édifice ne fût arse dévorée et mise en consommation par les flammes, ainsi que j'en ai moi-même encore vû les marques et vestiges dans cette fière et hautaine masse de pierres.» (Nostradamus, Hist. de Provence, p. 437.)
Note 27: (retour) Journal d'un habitant d'Avignon, cité par Gaufridi (Hist. de Provence).
Note 28: (retour) Il est bon d'observer ici que Giotto était mort à l'époque où s'élevait le palais des papes. Les seules peintures que l'on pourrait lui attribuer sont celles que l'on voyait, il y a quelques années, sous le porche de Notre-Dame des Doms. Mais quand elles furent faites, les papes n'étaient pas à Avignon.
Note 29: (retour) Ce fort fut détruit, en 1650, par l'explosion de la poudrière qu'il contenait.
Note 30: (retour) Ce sont ces cuisines que l'on montre comme étant une salle d'exécution à huis clos et une chambre de torture.
Note 31: (retour) Il ne reste de ces peintures que des traces dans la grande chapelle, et dans deux des salles de la tour dite aujourd'hui de la Justice, M.
Note 32: (retour) Ce nom lui venait de ce qu'elle servait de guette. Du haut de la tour de la Gache la plus voisine de la façade de Notre-Dame des Doms et la plus élevée, (voyez sur la façade) on donnait, à son de trompe, le signal du couvre-feu, on avertissait les habitants en cas d'incendie ou d'alarme.
Note 33: (retour) C'est la tour située entre la porte et la grande chapelle (voyez la façade).
Note 34: (retour) L'empereur Napoléon III a donné l'ordre, lors de son passage à Avignon, en 1860, de bâtir une caserne dans la ville, afin de pouvoir débarrasser et réparer ce magnifique palais.


PALIER, s. m. Repos ménagé entre les volées d'un escalier (voy. ESCALIER).



PALISSADE, s. f. Palis, Plaseis, Pel, Peus, Picois. Enceinte formée de pieux fichés en terre et aiguisés à leur partie supérieure.

Beaucoup de bourgades, de villages et d'habitations rurales, manoirs, granges, etc., n'étaient, pendant le moyen âge, fermés que de palissades. Les dépendances des châteaux, basses-cours, jardins, garennes, n'avaient souvent d'autre défense qu'une palissade avec haie vive.

«Là ù li Griu recuevrent de plascis

Fu mult fors li estors et durs li fereis 35;

...

Ne l'puet garir castiaus, tant soit clos de palis,

Fossés, ne murs entor, dognons, ne plascis 36

Il était d'usage aussi de planter des palissades au pied des remparts des villes, de manière à laisser entre la muraille et l'enceinte de pieux un espace servant de chemin de ronde, de lice, ainsi qu'alors on appelait ces espaces. C'était un moyen d'empêcher les assaillants de saper le pied des remparts, lorsqu'il n'y avait pas de fossés, de prolonger la défense, et de permettre aux assiégés de faire des sorties. Lorsqu'une troupe investissait un château ou une ville fortifiée, il y avait d'abord de furieux combats livrés pour s'emparer des palissades et des lices, afin de pouvoir attacher les mineurs aux murs, ou faire approcher les galeries et tours roulantes.

«Aportez mei cet pel dont cel chastel est clos:

Com ainz l'arez tolli, ainz sarez à repos 37.

. . .

Li Dus a Herloin mult bien asseuré,

Monsteroil a bien clos, enforchié è fermé.

De pel à hérichon, de mur è de fossé 38.

...

N'i poent pel ne mur remeindre 39

Ces ouvrages de bois autour des places avaient souvent une grande importance; ils formaient de véritables barbacanes, ou défendaient de longues caponnières. Les assiégés faisaient du mieux qu'ils pouvaient pour les conserver, car ces palissades forçaient les assaillants à étendre leur contrevallation, permettaient l'entrée des secours et des provisions, et rendaient la défense du haut des remparts plus efficace en ce qu'elle découvrait un champ plus étendu. (Voy. ARCHITECTURE MILITAIRE, SIÉGE.)

Note 35: (retour) Li Romans d'Alixandre: Combat de Perdicas et d'Akin. Édit. de Stuttgard, 1846, p. 140.
Note 36: (retour) Ibid.: Message à Darius, p. 251.
Note 37: (retour) Le Roman de Rou, vers 2600.
Note 38: (retour) Ibid., vers 2628.
Note 39: (retour) Ibid., vers 7352.


PAN DE BOIS, s. m. Ouvrage de charpenterie, composé de sablières hautes et basses, de poteaux, de décharges et de tournisses, formant de véritables murs de bois, soit sur la face des habitations, soit dans les intérieurs, et servant alors de murs de refend. Aujourd'hui, en France, il est interdit de placer des pans de bois sur la voie publique, dans les grandes villes, afin d'éviter la communication du feu d'un côté d'une rue à l'autre. Par la même raison, il n'est pas permis d'élever des murs mitoyens en pans de bois. Mais jusqu'au dernier siècle, l'usage des pans de bois, dans les villes du Nord particulièrement, était très fréquent. L'article MAISON signale un certain nombre d'habitations dont les murs de face sont en tout ou partie des pans de bois très heureusement combinés. Ce moyen avait l'avantage de permettre des superpositions d'étages en encorbellement, afin de laisser un passage assez large sur la voie publique et de gagner de la place dans les étages supérieurs. Il était économique et sain, car, à épaisseur égale, un pan de bois garantit mieux les habitants d'une maison des variations de la température extérieure qu'un mur de brique ou de pierre. Il n'est pas de construction à la fois plus solide, plus durable et plus légère. Aussi emploie-t-on encore habituellement les pans de bois dans les intérieurs des cours, seulement, au lieu de les laisser apparents, comme cela se pratiquait toujours pendant le moyen âge, on les couvre d'un enduit, qui ne tarde, guère à échauffer les bois et à les pourrir; mais on simule ainsi une construction de pierre ou tout au moins de moellon enduit.

On ne saurait donner le nom de pan de bois aux empilages horizontaux de troncs d'arbres équarris; cette sorte de structure n'appartient pas à l'art du charpentier; on ne la voit employée que chez certains peuples, et jamais elle ne fut admise sur le territoire de la France, à dater de l'époque gallo-romaine. Les Gaulois, au dire de César, élevaient quelques constructions, notamment des murs de défense, au moyen de longrines de bois alternées avec des pierres et des traverses; mais il ne paraît pas que cette méthode ait été employée pendant le moyen âge, et elle n'a aucun rapport avec ce que nous appelons un pan de bois.

Le pan de bois, par la combinaison de ses assemblages, exige en effet des connaissances étendues déjà de l'art du charpentier, et ne se rencontre que chez les populations qui ont longtemps pratiqué cet art difficile. Les Romains étaient d'habiles charpentiers, et savaient en peu de temps élever des ouvrages de bois d'une grande importance. Employant des bois courts comme plus maniables, ils les assemblaient solidement, et pouvaient au besoin s'élever à de grandes hauteurs 40. Les peuples du Nord, et particulièrement des Normands, excellents charpentiers, mêlèrent à ces traditions antiques de nouveaux éléments, comme par exemple l'emploi des bois de grandes longueurs et des bois courbes, si fréquemment usités dans la charpenterie navale; ils adoptèrent certains assemblages dont les coupes ont une puissance extraordinaire, comme pour résister aux chocs et aux ébranlements auxquels sont soumis les navires, et jamais ils n'eurent recours au fer pour relier leurs ouvrages de bois.

Prodigues d'une matière qui n'était pas rare sur le sol des Gaules, les architectes romans, lorsqu'ils élevaient des pans de bois, laissaient peu de place aux remplissages, et se servaient volontiers de pièces, sinon très épaisses, au moins très larges, débitées dans des troncs énormes, et formant par leur assemblage une lourde membrure, n'ayant guère d'espaces vides entre elles que les baies nécessaires pour éclairer les intérieurs.

L'assemblage à mi-bois fortement chevillé était un de ceux qu'on employait le plus souvent à ces époques reculées. On composait ainsi de véritables panneaux rigides qui entraient en rainure dans les sablières hautes et basses. Rarement, à cette époque, plaçait-on des poteaux corniers aux angles, et les pans de bois étaient pris entre les deux jambes-étrières de murs de maçonnerie qui formaient pignons latéralement; en un mot, le pan de bois de face d'une maison n'était qu'une devanture rehaussée de couleurs brillantes cernées de larges traits noirs. Bien entendu, ces constructions, antérieures au XIIIe siècle, ont depuis longtemps disparu, et c'est à peine si, dans quelques anciennes villes françaises, on en trouvait des débris il y a une trentaine d'années; encore fallait-il les chercher sous des lattis récents, ou les recueillir pendant des démolitions. C'est ainsi que nous avons pu, en 1834, dessiner à Dreux, pendant qu'on la jetait bas, les fragments d'une maison de bois, qui paraissait dater du milieu du XIIe siècle. Cette maison, exhaussée au XVe siècle, ne se composait primitivement que d'un rez-de-chaussée, d'un premier étage en encorbellement et d'un galetas. L'ancien comble, disposé avec égoût sur la rue, n'existait plus, et l'étage du galetas avait été surmonté d'un haut pignon de bois recouvert de bardeaux. Des fenêtres anciennes, il ne restait que les linteaux avec entailles intérieures, indiquant le passage, à mi-bois, des pieds-droits.

Voici (fig. 1) une vue de ce curieux pan de bois, compris entre deux murs formant tête avec encorbellements. Les sablières basses et hautes, les poteaux, étaient des bois de 7 pouces environ (19 centimètres); les jambages des fenêtres, des bois de 15 + 18 centimètres. Le cintre de la porte se composait de deux gros morceaux de charpente assemblés à mi-bois entre eux et avec les deux jambes. Les solives des planchers reposaient, comme les sablières basses des pans de bois, sur les murs latéraux et sur une poutre posée, parallèlement à ces murs, environ au milieu de la façade. Toute cette charpente était coupée avec soin, ornée de quelques moulures très simples et de gravures d'un faible creux. On voyait, sous les appuis des fenêtres des galetas, des restes de panneaux épais également décorés par des gravures. La figure 2 présente la coupe de ce pan de bois, elle indique le poteau intermédiaire A, renforçant la face du rez-de-chaussée et portant, au moyen d'un lien B, la poutre transversale C, laquelle soulage d'autant la portée de la sablière basse D du pan de bois supérieur. Au-dessus de ce lien B se dresse le poteau E jusque dessous la sablière haute F, portant une autre poutre G transversale sous comble. L'about de cette poutre est soulagé par un lien I. Une semelle H reçoit l'extrémité des chevrons et les blochets K. La poutre L s'assemble par un tenon dans le poteau E, lequel, sous cet assemblage, possède un repos M (voy. le détail O). Cette poutre est de plus portée par une décharge P, dont le pied est assemblé à tenon dans la première solive R du plancher du premier étage. La vue (fig. 1) fait voir comment les faces du pan de bois reportent les pesanteurs sur le poteau intermédiaire et sur les murs latéraux, au moyen de décharges courbes, lesquelles s'assemblent sous les sablières et dans les extrémités des linteaux évidés des fenêtres.

La figure 3 fera saisir les assemblages des potelets formant jambages des fenêtres, et des décharges courbes. Nous montrons le linteau A d'une de ces fenêtres à l'intérieur. Les potelets intermédiaires B, formant meneaux, s'assemblent à mi-bois dans ces linteaux, et portent, à leur extrémité supérieure b, un tenon qui entre dans une mortaise c, ménagée sous la sablière. Une petite languette e s'embrève en outre dans le linteau, et empêche celui-ci de désaffleurer le poteau. Les linteaux A possèdent eux-mêmes des languettes f qui s'embrèvent sous les sablières en g. La coupe C donne le géométral de ces assemblages, l'intérieur du pan de bois étant en h. Le potelet G, formant jambage, s'assemble de même à mi-bois dans l'extrémité du linteau, et porte son tenon i tombant dans une mortaise j; mais la décharge E porte une coupe biaise l, qui bute le linteau, et un tenon m qui s'engage dans la mortaise n. Ce tenon forme aussi languette s'embrevant dans l'extrémité du linteau en p.

Les assemblages de cette charpente rappellent ceux employés dans la menuiserie, et ceux aussi adoptés pour les constructions navales. La main-d'oeuvre est considérable, comme dans toute structure primitive; mais on observera que les ferrements ne sont admis nulle part. D'ailleurs le cube de bois employé est énorme, eu égard à la petite dimension de ce pan de bois de face; les remplissages en maçonnerie ou en torchis, à peu près nuls. Au XIIIe siècle déjà, on élevait des pans de bois beaucoup plus légers, mieux combinés, dans lesquels la main-d'oeuvre était économisée, et qui présentaient une parfaite solidité. Souvent, à cette époque, les solives des planchers portent sur les pans de bois de face, et servent à les relier avec les pans de bois intérieurs de refend.

Nous traçons (fig. 4) un de ces pans de bois, qui appartient, autant qu'on en peut juger par les profils, à la fin du XIIIe siècle 41. Ici pas de murs pignons en maçonnerie, comme dans l'exemple précédent; la construction est entièrement de charpente, et les mitoyennetés sont des pans de bois composés de sablières, de poteaux, de décharges et de tournisses. Les deux étages de pans de bois de face sont posés en encorbellement l'un sur l'autre, ainsi que l'indique le profil A. Les poteaux d'angle et d'axe de la façade B ont 22 et 24 centimètres d'équarrissage; tous les autres, ainsi que les sablières et solives, n'ont que 17 à 19 centimètres. Les solives C des planchers posant sur les sablières hautes assemblées sur la tête des poteaux, sont soulagées par des goussets et liens D à l'intérieur et à l'extérieur, et peuvent ainsi recevoir à leur extrémité la sablière basse de l'étage au-dessus. Ces solives étant espacées de près d'un mètre, elles reçoivent de plus faibles solives, ou plutôt des lambourdes, sur lesquelles sont posés les bardeaux avec entrevous, aire et carrelage. Le roulement du pan de bois est maintenu par des décharges E assez fortes, et des croix de Saint-André sous les appuis des fenêtres.

Un détail (fig. 5) explique l'assemblage des sablières a sur les poteaux b, des goussets et liens c, soit dans ces poteaux; soit dans les solives e. On voit en g comment s'embrèvent les sablières basses h aux abouts des solives, et comment, entre chacune de ces solives, on a posé des entretoises mouluréesi. Le tracé perspectif f montre l'une des solives désassemblée avec ses mortaises; le tracé perspectif l figure le linteau m de la porte et son assemblage avec le poteau p, formant jambage. Quant au tracé géométral B, il explique l'assemblage marqué d'un b dans la figure 4.

Ce pan de bois est bien tracé; les bois sont parfaitement équarris, les moulures nettement coupées, les assemblages faits avec soin. Il était, bien entendu, apparent; les remplissages étaient hourdés en mortier et petit moellon enduits.

Nous avons signalé ailleurs 42 l'habileté des charpentiers du moyen âge, principalement pendant les XIIIe, XIVe et XVe siècles. Il ne faudrait pas croire que les constructions se bornaient alors à employer les pans de bois pour les maisons de bourgeois: le pan de bois était, au contraire, un genre de construction fréquemment adopté, même dans les édifices publics, les palais et châteaux. Dans beaucoup de résidences seigneuriales, des logis avaient à l'intérieur, ou en guise de murs de refend, des pans de bois. Nous avons souvent constaté la présence de ces ouvrages de charpenterie, détruits par des incendies, dans des châteaux d'une certaine importance. On employait aussi les pans de bois comme moyen provisoire de clore des édifices que l'on n'avait pas le temps d'achever, ou dont la construction demeurait suspendue. C'est ainsi qu'on voit, au sommet du mur septentrional de la cathédrale d'Amiens, un pignon en pan de bois qui date du XIVe siècle.

Dans certaines contrées où le bois était abondant et la pierre rare, on bâtissait même des églises tout entières en bois. On voit encore dans un des faubourgs de la ville de Troyes 43 une chapelle, placée sous le vocable de saint-Gilles, qui est bâtie en pans de bois et date de la seconde moitié du XIVe siècle. Cet édifice, auquel des adjonctions plus récentes ont enlevé une partie de son caractère, se composait d'une seule nef, encore entière aujourd'hui, terminée par une abside à quatre pans.

Nous donnons (fig. 6) en A le plan, et en B la coupe transversale de la chapelle de Saint-Gilles 44. Tout le système consiste en une suite de poteaux (un par travée et à chaque angle) reposant sur une sablière basse et portant des fermes; une sablière haute relie le sommet, et deux cours d'entretoises, avec des écharpes et potelets, maintiennent le dévers. Les entraits et poinçons de la charpente sont apparents; celle-ci est lambrissée. Une flèche, dont l'amorce est tracée en D, couronne le comble sur la troisième travée, plus étroite que les autres. La figure 7 donne en A le détail géométral de l'assemblage des poteaux dans les entraits avec les liens doubles qui les soulagent, et en B le tracé perspectif d'une des travées à l'intérieur, avec la fenêtre, la sablière haute et l'entretoise haute moulurées. On voit, comme dans cet humble édifice, la charpente est traitée avec soin, comment la décoration n'est, à tout prendre, que l'apparence de la structure. Sur ces bois, point d'enduit sur lattis simulant une construction de pierre; aussi ces charpentes laissées à l'air libre sur deux faces se sont conservées plus de quatre siècles. On observera que les liens C (fig. 7) sont bien moins destinés à soulager les entraits des fermes qu'à arrêter le dévers des pans de bois. Ils tiennent lieu d'équerres, de goussets qui empêchent tout le système de se coucher, soit d'un côté, soit de l'autre.

Les bois employés dans les pans de bois, à dater du XIIIe siècle, ne sont jamais d'un fort équarrissage; ils sont sains et choisis parmi des arbres qui n'étaient pas trop vieux. Ce sont presque toujours des bois de brin, c'est-à-dire équarris sur un seul tronc, d'un assez faible diamètre par conséquent. Ces bonnes traditions s'étaient conservées jusqu'au commencement du XVIIe siècle, puisque le traité de Mathurin Jousse en fait mention 45; et en effet il existe encore quelques pans de bois de cette époque qui sont bien taillés et façonnés de bois choisis.

C'est principalement dans les provinces de l'Est, en se rapprochant du Rhin, que l'on trouve des restes de constructions en pans de bois d'une grande dimension. Strasbourg a conservé jusque dans ces derniers temps des maisons de bois plus grandes d'échelle que la plupart de celles que l'on voyait dans nos villes du domaine royal. À Constance, il existe des édifices publics considérables en pans de bois. Beaucoup de ces maisons de Strasbourg, qui dataient de la fin du XIVe siècle et du XVe, étaient munies de bretèches aux angles; elles étaient vastes et hautes. Voici comment sont généralement combinés les pans de bois de face avec bretèches aux angles (fig. 8).

La face de la bretèche forme avec la face de la maison un angle de 45º (voy. la première enrayure A, prise au niveau a). En B, est un poteau cornier qui monte de fond, depuis la sablière basse S jusqu'à la sablière supérieure S'. À ce poteau cornier est accolé le poteau C, milieu de la face de la bretèche. Les poteaux d'angle E de la bretèche sont corniers, et reposent sur les solives bb' dont le porte-à-faux est soulagé par les liens e. Au niveau de chaque plancher, la bretèche est reliée à la construction principale par le solivage (voy. la seconde enrayure D, prise au niveau d). Les têtes des poteaux corniers de bretèche E reçoivent les deux chapeaux horizontaux h dans lesquels s'assemblent les sablières g (voy. le plan F de la dernière enrayure, pris au niveau f). Un petit appentis de madriers recouverts d'ardoise ou d'essente, et posés sur les coyaux i, garantit la partie inférieure de la bretèche et sert d'abri. Cette sorte de construction donnait beaucoup d'agrément aux maisons, en ce qu'elle permettait de voir à couvert dans la longueur de la rue. Les pans de bois latéraux portaient les poutres transversales sur lesquelles reposaient les solives des planchers. Celles-ci retenaient ainsi le dévers du pan de bois de face, leurs abouts étant engagés entre deux sablières ou colombelles, comme on appelait alors ces pièces horizontales.

L'assemblage des poteaux C, milieux des faces des bretèches contre les grands poteaux corniers B, mérite d'être détaillé. Le poteau cornier B montant de fond (fig. 9) est largement chanfreiné sur son arête formant l'angle externe, comme il est indiqué en O. Un repos P sur cette arête est ménagé dans la masse, sous le chanfrein, qui a comme largeur, la largeur de l'une des faces du poteau de milieu C de la bretèche. Sur ce repos P est posée à cul la chandelle M dont les deux languettes R viennent s'assembler dans les deux mortaises du poteau cornier. Sur cette chandelle un blochet N s'assemble à tenon et mortaise, et est maintenu en outre par un tenon n tombant dans la mortaise n'. Ce blochet N reçoit, dans une mortaise e, le tenon e' du poteau C, et dans deux mortaises latérales les tenons des entretoises S. Le blochet N porte en outre la petite contre-fiche formant appentis. Des prisonniers G, de bois dur, chevillés dans le poteau B cornier et dans le poteau C, de distance en distance, rendent ces deux poteaux solidaires. Tous les autres assemblages du pan de bois sont faciles à comprendre et n'ont pas besoin d'être expliqués.

Vers le milieu du XVe siècle, on adopta un système de pans de bois qui présentait une grande puissance, mais qui exigeait une main-d'oeuvre compliquée. Il consiste en un treillis de pièces assemblées à mi-bois, de façon à former une série de losanges. C'est ainsi que sont disposés les quatre pans de bois qui, après l'incendie des charpentes de la cathédrale de Reims, en 1481, furent destinés à porter une flèche en charpente qu'on n'éleva jamais. Vers le milieu du XVIe siècle on façonna des pans de bois de face d'habitations privées, d'après ce système qui fut suivi jusque sous Louis XIII. On construisait alors aussi des pans de bois dits en brins de fougère, ainsi que l'indique Mathurin Jousse dans son oeuvre publiée pour la première fois en 1627. Plusieurs maisons de Rouen et d'Orléans nous montrent encore des façades en pans de bois ainsi combinées, et qui présentent une grande solidité en ce qu'ils acquièrent une rigidité parfaite. Si on les compare à ces ouvrages, nos pans de bois modernes enduits sont très-grossiers et n'ont qu'une durée très-limitée.

Note 40: (retour) Les charpentiers italiens, notamment à Rome, ont conservé les traditions antiques, et élèvent aujourd'hui, en quelques heures, des échafauds au moyen de chevrons courts et d'un faible équarrissage. Il est impossible de ne pas reconnaître entre ces échafauds et les charpentes figurées sur les bas-reliefs de la colonne Trajane une parfaite identité de moyens.
Note 41: (retour) D'une maison de Châteaudun.
Note 42: (retour) Voyez l'article CHARPENTE.
Note 43: (retour) Faubourg Cronceus.
Note 44: (retour) M. Millet, architecte diocésain de Troyes, a bien voulu nous fournir les dessins de ce petit édifice.
Note 45: (retour) Le Théâtre de l'art du charpentier, enrichi de diverses figures avec l'interprétation d'icelles, faict et dressé par Mathurin Jousse de la Flèche, 1627.


PANNE, s. f. Pièce de charpente posée horizontalement sur les arbalétriers des combles, et destinée à porter les chevrons. La plupart des combles taillés pendant le moyen âge se composent d'une suite de chevrons portant-ferme, dépourvus de pannes par conséquent (voy. CHARPENTE). Cependant les charpentiers de cette époque faisaient, dans certains cas, usage des pannes. L'emploi des pannes devint fréquent dès que l'on dut économiser les bois de grande longueur.



PARPAING, s. m. Se dit d'une pierre faisant l'épaisseur d'un mur. Pendant le moyen âge on employait rarement les parpaings. Presque tous les murs en pierre de taille se composaient de carreaux et de boutisses. Les pierres A (voy. la fig.) sont des carreaux; les pierres B, des boutisses; les pierres C, des Parpaings. (Voy. CONSTRUCTION.)



PARVIS, s. m. Nous ne discuterons pas les étymologies plus ou moins ingénieuses qui ont pu donner naissance à ce mot. On appelle parvis, un espace enclos, souvent relevé au-dessus du sol environnant, une sorte de plate-forme qui précède la façade de quelques églises françaises.

Notre-Dame de Paris, Notre-Dame de Reims, possédaient leur parvis. Quelques églises conventuelles ont parfois devant leur façade des parvis, mais ces derniers avaient un caractère particulier.

Le parvis est évidemment une tradition de l'antiquité: les temples des Grecs étaient habituellement précédés d'une enceinte sacrée dont la clôture n'était qu'une barrière à hauteur d'appui.

Les Romains suivirent cet exemple, et nous voyons sur une médaille frappée à l'occasion de l'érection du temple d'Antonin et Faustine, à Rome 46, la façade du monument, devant laquelle est figurée une barrière avec porte. Ces enceintes ajoutaient au respect qui doit entourer tout édifice religieux, en isolant leur entrée, en la séparant du mouvement de la voie publique. Un des plus remarquables parvis de l'époque romaine est celui qu'Adrien éleva en avant du temple du Soleil, à Baalbek. Ce parvis était entouré de portiques avec exèdres couverts, et était précédé d'une avant-cour à six côtés, avec péristyle et large emmarchement.

Les premières basiliques chrétiennes possédaient également une cour entourée de portiques, en avant de leur façade, et, au milieu de cette cour, étaient placés quelques monuments consacrés, tombeaux, puits, fontaines, statues.

Le parvis de nos cathédrales n'est qu'un vestige de ces traditions; mais la cathédrale française, à dater de la fin du XIIe siècle, se manifeste comme un monument accessible, fait pour la cité, ouvert à toute réunion: aussi le parvis n'est plus qu'une simple délimitation, il ne se ferme pas; il n'est, à proprement parler, qu'une plate-forme bornée par des ouvrages à claire-voie peu élevés, ne pouvant opposer un obstacle à la foule; c'est un espace réservé à la juridiction épiscopale, devant l'église mère.

C'était dans l'enceinte du parvis que les évêques faisaient dresser ces échelles sur lesquelles on exposait les clercs qui, par leur conduite, avaient scandalisé la cité; c'était aussi sur les dalles du parvis que certains coupables devaient faire amende honorable. C'était encore sur le parvis que l'on apportait les reliques à certaines occasions, et que se tenaient les clercs d'un ordre inférieur pendant que le chapitre entonnait le Gloria du haut des galeries extérieures de la façade de l'église cathédrale.

Nous n'avons sur la forme de l'ancien parvis de Notre-Dame de Paris que des données assez vagues. Au XVIe siècle, il ne consistait qu'en un petit mur d'appui avec trois entrées, l'une en face du portail, donnant à côté de la chapelle de Saint-Christophe; celle de gauche s'ouvrant près de la façade de Saint-Jean le Rond, et la troisième en regard, descendant à la Seine 47. Ce mur d'appui n'avait pas plus de 4 pieds de haut. Le sol du parvis de la cathédrale de Paris était au niveau du sol intérieur de l'église, si ce n'est du côté gauche, au droit de la porte de la Vierge, où il s'abaissait de 30 à 40 centimètres 48. Du parvis on descendait sur la berge de la rivière, avant la construction du pont, par un degré de treize marches. C'est ce qui a fait supposer que devant la façade de l'église s'étendait un perron de treize marches. Il est à croire que du côté du Marché-Neuf, on descendait également plusieurs marches pour arriver à la voie publique qui passait entre l'Hôtel-Dieu et la chapelle Saint-Christophe; mais ce degré dut être supprimé dès le XIVe siècle, puisque alors les gens à cheval pouvaient arriver sur le sol même du parvis. L'enceinte avait environ 35 mètres de large sur autant de longueur 49.

Le parvis de la cathédrale de Reims, beaucoup moins étendu que celui de Notre-Dame de Paris, demeura entier jusqu'au sacre de Louis XVI. C'était une charmante clôture dont il reste une amorce le long du contre-fort extérieur à la gauche de la façade. Des dessins et des gravures de cette clôture existent encore, et nous permettent de la restituer. Le plan du parvis de Notre-Dame de Reims ne présentait pas un parallélogramme, mais un trapèze, ainsi que le fait voir le plan, figure 1.

Il n'était point relevé-au-dessus du sol de la voie publique, comme l'était le parvis de la cathédrale de Paris, et le grand degré montant au portail était posé à l'intérieur de l'enceinte, devant les contre-forts. Le pan coupé A (voy. le plan) avait été ménagé afin de faciliter l'accès vers l'entrée des cloîtres, situés sur le flanc nord de la nef.

L'enceinte se composait de pilettes portant un appui avec pinacles aux entrées et aux angles, c'est-à-dire en B. Nous donnons en C le détail de cette clôture à l'extérieur, et en D sa coupe. Les deux pinacles B' de chaque côté de l'entrée principale étaient surmontés de supports avec écussons; des fleurons G amortissaient les autres pinacles.

Le parvis de la cathédrale d'Amiens est relevé; mais sa clôture, si jamais elle a été faite, n'existe plus depuis longtemps 50.

Les parvis des églises conventuelles dont les façades donnaient sur une place publique, étaient souvent établis en contre-bas du sol extérieur: tel était le parvis de l'église abbatiale de Saint-Denis 51. L'église abbatiale de Sainte-Radegonde, à Poitiers, a conservé encore cette disposition fort ancienne, mais rétablie vers la fin du XVe siècle.

La figure 2 présente une vue à vol d'oiseau de la moitié de ce parvis, l'axe étant en A. Deux descentes sont ouvertes sur la face. Le terrain s'inclinait vers le portail de l'église; deux autres entrées sont pratiquées latéralement de plain-pied. Des figures d'anges agenouillés, tenant des écussons armoyés, surmontent les bahuts des deux entrées de face vers l'extérieur. Des animaux, chiens et lions, amortissent les angles des entrées latérales et le revers des bahuts des entrées de face. Un ressaut avec écusson se présente dans l'axe.

Une coupe (fig. 3) faite sur l'un des degrés de face donne le détail de la disposition de cette clôture. Des bancs garnissent tout le bahut du côté intérieur. Le terre-plein du parvis est dallé, les eaux s'écoulant par les issues latérales.

Il n'est pas besoin de faire ressortir l'effet monumental de ces aires clôturées en avant des églises. Quelquefois, comme devant le portail de l'église abbatiale de Cluny, une croix de pierre était plantée au milieu du parvis; des tombes étaient élevées dans l'enceinte. Ces dispositions, comme la plupart de celles qui tenaient à la dignité des églises cathédrales ou abbatiales, furent bouleversées par les abbés et les chapitres pendant le dernier siècle. Ces emplacements furent livrés, moyennant une redevance, à des marchands, les jours de foire, puis bientôt se couvrirent d'échoppes permanentes. Pour quelques rentes, le clergé des cathédrales et des abbayes aliénait ainsi les dépendances de l'église; le premier il portait le marteau sur tout ce qui devait inspirer le respect pour les monuments sacrés.

Note 46: (retour) DIVA FAUSTINA. Sur le revers, AETERNITAS. Autour de l'image du temple, S. C.
Note 47: (retour) Voyez le plan de Paris gravé sur bois, joint aux Recherches de Belle-Forets; le plan de Mérian; la tapisserie de l'Hôtel de ville, et la gravure de la façade de Notre-Dame de Van Merlen.
Note 48: (retour) Cet ancien sol a été découvert en 1847.
Note 49: (retour) Nous avons pu, sur plusieurs points, retrouver les fondations de cette enceinte. Des restes romains existent sous toute la surface de la place actuelle, immédiatement sous le pavé: ce qui prouve que le sol du parvis était au niveau du dallage de l'église.
Note 50: (retour) Ce parvis, devenu inabordable, doit être prochainement restauré.
Note 51: (retour) Nous avons trouvé des traces du dallage de ce parvis, auquel on descendait évidemment dès une époque ancienne, c'est-à-dire du temps de Suger.


PATIENCE, s. f. (miséricorde). Petit siége en forme de cul-de-lampe, placé sous la tablette mobile des stalles, et servant de point d'appui lorsque celle-ci est relevée (voy. STALLE).



PAVAGE, s. m. Le pavage des voies publiques, des places, des cours des palais, est un travail que l'on ne voit entreprendre que dans un État civilisé. Les Romains apportaient, comme chacun sait, une grande attention aux pavages des rues des villes, et partout où ils ont séjourné, on retrouve de ces grandes pierres dures, granit, grès, lave, basalte, posées irrégulièrement au moyen d'une sauterelle, et formant, sur une couche de béton, une surface assez unie et d'un aspect monumental. Ces pavages, établis de manière à durer plusieurs siècles, servirent en effet jusque pendant les premiers temps du moyen âge. Peu à peu, n'étant pas renouvelés ni même entretenus, ils se dégradèrent, furent remblayés, afin de boucher les ornières les plus profondes, et disparurent sous une épaisse couche de boue ou de poussière. Les grandes voies des villes gallo-romaines, pendant la période carlovingienne, conservèrent tant bien que malles pavages antiques, mais les égouts s'obstruaient, les pavés s'écrasaient, et ces voies ne formaient plus que des cloaques immondes. Cependant, déjà au XIIe siècle, on pavait certaines places ou des voies fréquentées.

Nous avons retrouvé parfois des restes de ces pavages, faits habituellement de petits cubes de grès ou de pierre résistante 52 (fig. 1).

Philippe-Auguste passe pour avoir fait paver les rues de Paris au moyen de grandes pierres de grès 53. Guillaume le Breton prétend que ce pavage était fait de pierres carrées et assez grosses, Il n'existe pas trace de ce pavé. Lorsque, il y a quelques années, on découvrit les fondations du petit Châtelet pour rebâtir le Petit-Pont, on enleva une assez grande quantité de pavés de grès posés à 1 mètre en contre-bas du sol actuel. Ces pavés avaient environ 0m,40 carrés et 0m,20 d'épaisseur. Très-usés sur leur face externe, ils avaient dû servir pendant un assez long temps, et dataient probablement de l'époque de la construction du Châtelet (fin du XIIIe siècle). Pendant les XVe et XVIe siècles on employait fréquemment les cailloux pour paver les voies publiques, les cours et les places. Ces cailloux étaient damés sur un fond de sable, ainsi que cela se pratique encore dans quelques villes du midi de la France, notamment à Toulouse. À Paris, la rue de la Juiverie avait été repavée d'après ce système et comme essai, pendant la Ligue.

Quand les pentes étaient roides, on pavait les voies au moyen de pierres dures posées de champ. Nous avons découvert des pavés de ce genre en bon état de conservation, aux alentours du château de Pierrefonds.

Les étages inférieurs des habitations étaient souvent pavés, et l'on voyait encore des maisons du moyen âge, il y a peu d'années, dont le sol à rez-de-chaussée était couvert de petits cubes de pierre de 0m,10 de côté environ, posés pointifs sur une aire de mortier ou de ciment.

Note 52: (retour) Dans la cité, à Paris; à Vézelay, à Senlis, à Provins, à Coucy-le-Château.
Note 53: (retour) Guillaume de Nangis, Chronicon, 1184, édit. de la Société de l'histoire de France, t. I, p. 78.


PEINTURE, s. f. Plus on remonte vers les temps antiques, plus on reconnaît qu'il existait une alliance intime entre l'architecture et la peinture. Tous les édifices de l'Inde, ceux de l'Asie Mineure, ceux d'Égypte, ceux de la Grèce, étaient couverts de peintures en dedans et au dehors. L'architecture des Doriens, celles de l'Attique, de la grande Grèce et de l'Étrurie étaient peintes. Les Romains paraissent avoir été les premiers qui aient élevé, sous l'empire, des monuments de marbre blanc ou de pierre sans aucune coloration; quant à leurs enduits de stuc, ils étaient colorés à l'extérieur comme à l'intérieur. Les populations barbares de l'Europe septentrionale et occidentale peignaient leurs maisons et leurs temples de bois, et les Scandinaves prodiguaient les couleurs brillantes et les dorures dans leurs habitations.

Nous devons seulement ici constater ces faits bien connus aujourd'hui des archéologues, et ne nous occuper que de la peinture appliquée à l'architecture française du moyen âge. Alors, comme pendant la bonne antiquité, la peinture ne paraît pas avoir été jamais séparée de l'architecture. Ces deux arts se prêtaient mutuellement secours, et ce que nous appelons le tableau n'existait pas, ou du moins n'avait qu'une importance très-secondaire. Grégoire de Tours signale, à plusieurs reprises, les peintures qui décoraient les édifices religieux et les palais de son temps. «Es-tu (disent, à Gondovald, les soldats qui assiégent la ville de Comminges), es-tu ce peintre qui, au temps du roi Clotaire, barbouillait en treillis les murailles et les voûtes des oratoires 54?» Quand ce prélat répara les basiliques de Saint-Perpétue, à Tours, il les fit «peindre et décorer par les ouvriers du pays avec tout l'éclat qu'elles avaient anciennement 55.» Cet usage de peindre les édifices fut continué pendant toute la période carlovingienne, et Frodoard nous apprend que l'évêque Hincmar, reconstruisant la cathédrale de Reims, «orna la voûte de peintures, éclaira le temple par des fenêtres vitrées, et le fit paver de marbre 56.» Les recherches faites sur l'architecture dite romane, constatent que la peinture était considérée comme l'achèvement nécessaire de tout édifice civil et religieux, et alors s'appliquait-elle de préférence à la sculpture d'ornement ou à la statuaire, aux moulures et profils, comme pour en faire ressortir l'importance et la valeur. Toutefois, dès que cette architecture prend un caractère original, qu'elle se dégage des traditions gallo-romaines, c'est-à-dire vers la fin du XIe siècle, la peinture s'y applique suivant une méthode particulière, comme pour en faire mieux saisir les proportions et les formes. Nous ne savons pas trop comment, suivant quel principe, la peinture couvrait les monuments carlovingiens en Occident, et nous n'avons guère, pour nous guider dans ces recherches, que certaines églises d'Italie, comme Saint-Vital de Ravenne, par exemple, quelques mosaïques existant encore dans des basiliques de Rome ou de Venise; et dans ces restes l'effet des colorations obtenues au moyen de ces millions de petits cubes de verre ou de pierre dure juxtaposés, n'est pas toujours d'accord avec les formes de l'architecture. D'ailleurs ce mode de coloration donne aux parois, aux voûtes, un aspect métallique qui ne s'harmonise ni avec le marbre, ni, à plus forte raison, avec la pierre ou le stuc des colonnes, des piliers, des bandeaux, soubassements, etc. La mosaïque dite byzantine a toujours quelque chose de barbare; on est surpris, préoccupé; ces tons d'une intensité extraordinaire, ces reflets étranges qui modifient les formes, qui détruisent les lignes, ne peuvent convenir à des populations pour lesquelles l'architecture, avant tout, est un art de proportions et de combinaisons de lignes. Il est certain que les Grecs de l'antiquité, qui cependant regardaient la coloration comme nécessaire à l'architecture, étaient trop amants de la forme pour avoir admis la mosaïque dite byzantine dans leurs monuments. Ils ne connaissaient la peinture que comme une couverte unie, mate, fine, laissant aux lignes leur pureté, les accentuant même, exprimant les détails les plus délicats.

La peinture appliquée à l'architecture ne peut procéder que de deux manières: ou elle est soumise aux lignes, aux formes, au dessin de la structure; ou elle n'en tient compte, et s'étend indépendante sur les parois, les voûtes, les piles et les profils.

Dans le premier cas, elle fait essentiellement partie de l'architecture; dans le second, elle devient une décoration mobilière, si l'on peut ainsi s'exprimer, qui a ses lois particulières et détruit souvent l'effet architectonique pour lui substituer un effet appartenant seulement à l'art du peintre. Que les peintres considèrent ce dernier genre de décoration picturale comme le seul bon, cela n'a rien qui doive surprendre; mais que l'art y gagne, c'est une question qui mérite discussion. La peinture ne s'est séparée de l'architecture qu'à une époque très-récente, c'est-à-dire au moment de la renaissance. Du jour que le tableau, la peinture isolée, faite dans l'atelier du peintre, s'est substituée à la peinture appliquée sur le mur qui doit la conserver, la décoration architectonique peinte a été perdue. L'architecte et le peintre ont travaillé chacun de leur côté, creusant chaque jour davantage l'abîme qui les séparait, et quand par hasard ils ont essayé de se réunir sur un terrain commun, il s'est trouvé qu'ils ne se comprenaient plus, et que voulant agir de concert, il n'existait plus de lien qui les pût réunir. Le peintre accusait l'architecte de ne lui avoir pas ménagé des places convenables, et l'architecte se croyait en droit de déclarer que le peintre ne tenait aucun compte de ses dispositions architectoniques. Cette séparation de deux arts autrefois frères est sensible, quand on jette les yeux sur les essais qui ont été faits de nos jours pour les accorder. Il est clair que dans ces essais l'architecte n'a pas conçu, n'a pas vu l'effet que devait produire la peinture appliquée sur les surfaces qu'il préparait, et que le peintre ne considérait ces surfaces que comme une toile tendue dans un atelier moins commode que le sien, ne s'inquiétant guère d'ailleurs de ce qu'il y aurait autour de son tableau. Ce n'est pas ainsi que l'on comprenait la peinture décorative pendant le moyen âge, ni même pendant la renaissance, et Michel-Ange, en peignant la voûte de la chapelle Sixtine, ne s'isolait pas, il avait bien la conscience du lieu, de la place où il travaillait, de l'effet d'ensemble qu'il voulait produire. De ce que l'on peint sur un mur au lieu de peindre sur une toile, il ne s'ensuit pas que l'oeuvre soit une peinture monumentale, et presque toutes les peintures murales produites de notre temps ne sont toujours, malgré la différence du procédé, que des tableaux; aussi voyons-nous que ces peintures cherchent un encadrement, qu'elles se groupent en scènes ayant chacune un point de vue, une perspective particulière, ou qu'elles se développent en processions entre deux lignes horizontales. Ce n'est pas ainsi non plus qu'ont procédé les anciens maîtres mosaïstes, ni les peintres occidentaux du moyen âge. Quant à la peinture d'ornement, le hasard, l'instinct, l'imitation, servent seuls aujourd'hui de guides, et neuf fois sur dix il serait bien difficile de dire pourquoi tel ornement prend cette forme plutôt que telle autre, pourquoi il est rouge et non pas bleu. On a ce qu'on appelle du goût, et cela suffit, croit-on, pour décorer d'enluminures l'intérieur d'un vaisseau; ou bien on recueille partout des fragments de peintures, et on les applique indifféremment, celui-ci qui était sur une colonne, à une surface plane, cet autre que l'on voyait sur un tympan, à un soubassement. Le public, effarouché par ces bariolages, ne trouve pas cela d'un bon effet, mais on lui démontre que les décorateurs du moyen âge ont été scrupuleusement consultés, et ce même public en conclut que les décorateurs du moyen âge étaient des barbares, ce que d'ailleurs on lui accorde bien volontiers.

Dans la décoration de l'architecture, il faut convenir, il est vrai, que la peinture est la partie la plus difficile peut-être et celle qui demande le plus de calculs et d'expérience. Alors que l'on peignait tous les intérieurs des édifices, les plus riches comme les plus pauvres, on avait nécessairement des données, des règles que l'on suivait par tradition; les artistes les plus ordinaires ne pouvaient ainsi s'égarer. Mais aujourd'hui ces traditions sont absolument perdues, chacun cherche une loi inconnue; il ne faut donc pas s'étonner si la plupart des essais tentés n'ont produit que des résultats peu satisfaisants.

Le XIIe siècle atteint l'apogée de l'art de la peinture architectonique pendant le moyen âge en France; les vitraux, les vignettes des manuscrits et les fragments de peintures murales de cette époque accusent un art savant, très-avancé, une singulière entente de l'harmonie des tons, la coïncidence de cette harmonie avec les formes de l'architecture. Il n'est pas douteux que cet art s'était développé dans les cloîtres et procédait de l'art grec byzantin. Alors les étoffes les plus belles, les meubles, les ustensiles colorés, un grand nombre de manuscrits même, rapportés d'Orient, étaient renfermés dans les trésors et les bibliothèques des couvents, et servaient de modèles aux moines adonnés aux travaux d'art. Plus tard, vers la fin du XIIe siècle, lorsque l'architecture sortit des monastères et fut pratiquée par l'école laïque, il se fit une révolution dans l'art de la peinture, qui, sans être aussi radicale que celle opérée dans l'architecture, modifia profondément cependant les principes posés par l'école monacale.

Sans parler longuement de quelques fragments de peinture à peine visibles, de linéaments informes qui apparaissent sur certains monuments avant le XIe siècle, nous constaterons seulement que dès l'époque gallo-romaine, c'est-à-dire vers le IVe siècle, tous les monuments paraissent avoir été peints en dedans et en dehors. Cette peinture était appliquée soit sur la pierre même, soit sur un enduit couvrant des murs de maçonnerie, et elle ne consistait, pour les parties élevées au-dessus du sol, qu'en une sorte de badigeon blanc, ou blanc jaunâtre, sur lequel étaient tracés des dessins très-déliés en noir ou en ocre rouge. Près du sol apparaissaient des tons soutenus, brun rouge, ou même noirs, relevés de quelques filets jaunes, verdâtres ou blancs. Les sculptures elles-mêmes étaient couvertes de ce badigeon d'une faible épaisseur, les ornements se détachant sur des fonds rouges et souvent rehaussés de traits noirs et de touches jaunes 57. Ce genre de décoration peinte paraît avoir été longtemps pratiqué dans les Gaules et jusqu'au moment où Charlemagne fit venir des artistes d'Italie et d'Orient. Cette dernière influence étrangère ne fut pas la seule cependant qui dut conduire à l'art de la peinture monumentale, tel que nous le voyons se développer au XIIe siècle. Les Saxons, les Normands, couvraient d'ornements peints leurs maisons, leurs ustensiles, leurs armes et leurs barques; et il existe dans la bibliothèque du Musée Britannique des vignettes de manuscrits saxons du XIe siècle qui sont, comme dessin, comme finesse d'exécution et comme entente de l'harmonie des tons, d'une beauté surprenante 58. Cet art venait évidemment de l'Inde septentrionale, de ce berceau commun à tous les peuples qui ont su harmoniser les couleurs. La facilité avec laquelle les Normands, à peine établis sur le sol de la Gaule, exercèrent et développèrent même l'art de l'architecture, la façon de vivre déjà raffinée à laquelle les Saxons étaient arrivés en Angleterre au moment de l'invasion de Guillaume le Bâtard, indiquent assez que ces peuples avaient en eux autre chose que des instincts de pillards, et qu'ils provenaient de familles possédant depuis longtemps certaines notions d'art. Mais d'abord il est nécessaire de bien s'entendre sur ce qu'est l'art de la peinture appliqué à l'architecture. De notre temps on a mis une si grande confusion en toutes ces questions d'art, qu'il est bon de poser d'abord les principes. Ce qu'on entend par un peuple de coloristes (pour me servir d'une expression consacrée, si mauvaise qu'elle soit), c'est-à-dire les Vénitiens, les Flamands par exemple, ne sont pas du tout coloristes à la façon des populations du Tibet, des Hindous, des Chinois, des Japonais, des Persans et même des Égyptiens de l'antiquité. Obtenir un effet saisissant dans un tableau, par le moyen de sacrifices habilement faits, d'une exagération de certains tons donnés par la nature, d'une entente très-délicate des demi-teintes, comme peuvent le faire, ou Titien, ou Rembrandt, ou Metzu, et faire un châle du Tibet, ce sont deux opérations très-distinctes de l'esprit. Il n'y a qu'un Titien, il n'y a qu'un Rembrandt et qu'un Metzu, et tous les tisserands de l'Inde arrivent à faire des écharpes de laine qui, sans exception aucune, donnent des assemblages harmoniques de couleur. Pour qu'un Titien ou qu'un Rembrandt se développe, il faut un milieu social extrêmement civilisé de tous points; mais le Tibétain le plus ignorant, vivant dans une cabane de bois, au milieu d'une famille misérable comme lui, tissera un châle dont le riche assemblage de couleurs charmera nos yeux et ne pourra être qu'imparfaitement imité par nos fabriques les mieux dirigées. L'état plus ou moins barbare d'un peuple, à notre point de vue, n'est donc pas un obstacle au développement d'une certaine partie de l'art de la peinture applicable à la décoration monumentale; mais il ne faut pas conclure cependant de ce qu'un peuple est très-civilisé, qu'il ne puisse arriver ou revenir à cet art monumental: témoin les Maures d'Espagne, gens très-civilisés, qui ont produit en fait de peinture appliquée à l'architecture d'excellents modèles; et de ce que l'art du peintre, comme on l'entend depuis le XVIe siècle, arrive à un degré très-élevé de perfection, on ne puisse en même temps posséder une peinture architectonique: témoin les Vénitiens des XVe et XVIe siècles. Une seule conclusion est à tirer des observations précédentes: c'est que l'art du peintre de tableaux et l'art du peintre appliqué à l'architecture procèdent très-différemment; que vouloir mêler ces deux arts, c'est tenter l'impossible. Quelques lignes suffiront pour faire ressortir cette impossibilité. Qu'est-ce qu'un tableau? C'est une scène que l'on fait voir au spectateur à travers un cadre, une fenêtre ouverte. Unité de point de vue, unité de direction de la lumière, unité d'effet. Pour bien voir un tableau, il n'est qu'un point, un seul, placé sur la perpendiculaire élevée du point de l'horizon qu'on nomme point visuel. Pour tout oeil délicat, regarder un tableau en dehors de cette condition unique est une souffrance, comme c'est une torture de se trouver devant une décoration de théâtre au-dessus ou au-dessous de la ligne de l'horizon. Beaucoup de gens subissent cette torture sans s'en douter, nous l'admettons; mais ce n'est pas sur la grossièreté des sens du plus grand nombre que nous pouvons établir les règles de l'art.

Partant donc de cette condition rigoureuse imposée au tableau, nous ne comprenons pas un tableau, c'est-à-dire une scène représentée suivant les règles de la perspective, de la lumière et de l'effet, placé de telle façon que le spectateur se trouve à 4 ou 5 mètres au-dessous de son horizon, et bien loin du point de vue à droite ou à gauche. Les époques brillantes de l'art n'ont pas admis ces énormités: ou bien les peintres (comme pendant le moyen âge) n'ont tenu compte, dans les sujets peints à toutes hauteurs sur les murs, ni d'un horizon, ni d'un lieu réel, ni de l'effet perspectif, ni d'une lumière unique; ou bien ces peintres (comme ceux du XVIe et du XVIIe siècle) ont résolument abordé la difficulté en traçant les scènes qu'ils voulaient représenter sur les parois ou sous le plafond d'une salle, d'après une perspective unique, supposant que tous les personnages ou objets que l'on montrait au spectateur se trouvaient disposés réellement où on les figurait, et se présentaient par conséquent sous un aspect déterminé par cette place même. Ainsi voit-on, dans des plafonds de cette époque, des personnages par la plante des pieds, certaines figures dont les genoux cachent la poitrine. Naturellement cette façon de tromper l'oeil eut un grand succès. Il est clair cependant que si, dans cette manière de décoration monumentale, l'horizon est supposé placé à 2 mètres du sol, à la hauteur réelle de l'oeil du spectateur, il ne peut y avoir sur toute cette surface horizontale supposée à 2 mètres du pavé, qu'un seul point de vue. Or, du moment qu'on sort de ce point unique, le tracé perspectif de toute la décoration devient faux, toutes les lignes paraissent danser et donnent le mal de mer aux gens qui ont pris l'habitude de vouloir se rendre compte de ce que leurs yeux leur font percevoir. Quand l'art en vient à tomber dans ces erreurs, à vouloir sortir du domaine qui lui est assigné, il cesse bientôt d'exister: c'est le saut périlleux qui remplace l'éloquence, le jongleur qui prend la place de l'orateur. Mais encore les artistes qui ont adopté ce genre de peinture décorative ont pu admettre un point, un seul, disons-nous, d'où le spectateur pouvait, pensaient-ils, éprouver une satisfaction complète; c'était peu, sur toute la surface d'une salle, de donner un seul point d'où l'on pût en saisir parfaitement la décoration, mais enfin c'était quelque chose. Les scènes représentées se trouvaient d'ailleurs encadrées au milieu d'une ornementation qui elle-même affectait la réalité de reliefs, d'ombres et de lumières se jouant sur des corps saillants. C'était un système décoratif possédant son unité et sa raison, tandis qu'on ne saurait trouver la raison de ce parti de peinture, par exemple, qui, à côté de scènes affectant la réalité des effets, des ombres et des lumières, de la perspective, place des ornements plats composés de tons juxtaposés. Alors les scènes qui admettent l'effet réel produit par le relief et les différences de plans sont en dissonance complète avec cette ornementation plate. Ce n'était donc pas sans raison que les peintres du moyen âge voyaient dans la peinture, soit qu'elle figurât des scènes, soit qu'elle ne se composât que d'ornements, une surface qui devait toujours paraître plane, solide, qui était destinée non à produire une illusion, mais une harmonie. Nous admettons qu'on préfère la peinture en trompe-l'oeil de la voûte des Grands Jésuites à Rome à celle de la voûte de Saint-Savin, près de Poitiers; mais ce que nous ne saurions admettre, c'est qu'on prétende concilier ces deux principes opposés. Il faut opter pour l'un des deux.

Si la peinture et l'architecture sont unies dans une entente intime de l'art pendant le moyen âge, à plus forte raison la peinture de figures et celle d'ornements ne font-elles qu'une seule et même couverte décorative. Le même esprit concevait la composition de la scène et celle de l'ornementation, la même main dessinait et coloriait l'une et l'autre, et les peintures monumentales ne pouvaient avoir l'apparence de tableaux encadrés de papier peint, comme cela n'arrive que trop souvent aujourd'hui, lorsqu'on fait ce qu'on veut appeler des peintures murales, lesquelles ne sont, à vrai dire, que des tableaux collés sur un mur, entourés d'un cadre qui, au lieu de les isoler comme le fait le cadre banal de bois doré, leur nuit, les éteint, les réduit à l'état de tache obscure ou claire, dérange l'effet, occupe trop le regard et gêne le spectateur. Quand la peinture des scènes, sur les murs d'un édifice, n'est pas traitée comme l'ornementation elle-même, elle est forcément tuée par celle-ci; il faut, ou que l'ornementation soit traitée en trompe-l'oeil, si le sujet entre dans le domaine de la réalité, ou que le sujet soit traité comme un dessin enluminé, si l'ornementation est plate.

Ces principes posés, nous nous occuperons d'abord de la peinture monumentale des sujets. Nous avons dit que l'art grec avait été la première école de nos peintres occidentaux au point de vue de l'iconographie et au point de vue de l'exécution. Cependant, dès le XIe siècle en France (et il ne nous reste pas de peintures monumentales de sujets antérieurs à cette époque), on reconnaît dans la manière dont est traité le dessin une indépendance, une vérité d'expression dans le geste que l'on n'aperçoit point dans les peintures dites byzantines de la même époque. Pour retrouver cette indépendance dans la peinture grecque, il faut feuilleter les manuscrits byzantins des VIIIe et IXe siècles 59; plus tard cet art grec s'immobilise, et tombe dans une routine étroite dont il ne sort plus. Non-seulement nos artistes du XIe siècle prennent leurs modèles dans les peintures de style grec, mais ils s'emparent même des procédés matériels adoptés par les Byzantins; nous en trouvons la preuve évidente dans le traité du moine Théophile qui vivait au XIIe siècle. L'ébauche des peintures de l'église de Saint-Savin 60 a été faite au pinceau; elle consiste en des traits brun-rouge. «Les couleurs ont été appliquées par larges teintes plates, sans marquer les ombres, au point qu'il est impossible de déterminer de quel côté vient la lumière. Cependant, en général, les saillies sont indiquées en clair et les contours accusés par des teintes foncées; mais il semble que l'artiste n'ait eu en vue que d'obtenir ainsi une espèce de modelé de convention, à peu près tel que celui qu'on voit dans notre peinture d'arabesques. Dans les draperies, tous les plis sont marqués par des traits sombres (brun-rouge), quelle que soit la couleur de l'étoffe. Les saillies sont accusées par d'autres traits blancs assez mal fondus avec la teinte générale.» (Ces traits ne sont pas fondus, mais indiqués en hachures plus ou moins larges peintes sur le ton de l'étoffe.) «Il n'y a nulle part d'ombres projetées, et, quant à la perspective aérienne, ou même à la perspective linéaire, il est évident que les artistes de Saint-Savin ne s'en sont nullement préoccupés 61

Par le fait, dans ces peintures de sujets, chaque figure présente une silhouette se détachant en vigueur sur un fond clair, ou en clair sur un fond sombre, et rehaussée seulement de traits qui indiquent les formes, les plis des draperies, les linéaments intérieurs. Le modelé n'est obtenu que par ces traits plus ou moins accentués, tous du même ton brun, et la couleur n'est autre chose qu'une enluminure. Les peintures des vases dits étrusques, celles que l'on a découvertes dans les tombeaux de Corneto, procèdent absolument de la même manière. Alors les accessoires sont traités comme des hiéroglyphes, la figure humaine seule se développe d'après sa forme réelle. Un palais est rendu par deux colonnes et un fronton, un arbre par une tige surmontée de quelques feuilles, un fleuve par un trait serpentant, etc. Peut-on, lorsqu'il s'agit de peinture monumentale, produire sur le spectateur autant d'effet par ces moyens primitifs que par l'emploi des trompe-l'oeil? ou, pour parler plus vrai, des hommes nés au milieu d'une civilisation chez laquelle on s'est habitué à estimer la peinture en raison du plus ou moins de réalité matérielle obtenue, peuvent-ils s'émouvoir devant des sujets traités comme le sont ceux des tombeaux de Corneto, ceux des catacombes, ou ceux de l'église de Saint-Savin? C'est là toute la question, qui n'est autre qu'une question d'éducation.

Un enfant est tout autant charmé, sinon plus, devant un trait enluminé que devant un tableau de Rubens. Il n'est pas dit que ce trait soit barbare, sans valeur comme art. Faites au contraire que ce trait ne reproduise que de belles formes, qu'il soit pur de style et que l'enluminure soit harmonieuse: si le spectateur est ému devant cette interprétation de la nature, n'est-ce pas un hommage qu'il rend à l'art? et l'art ne prouve-t-il pas ainsi qu'il est une puissance? Que pour la peinture de chevalet on en soit arrivé peu à peu à une imitation fine et complète de la nature choisie, à produire des effets de lumière d'une extrême délicatesse, à concentrer pour ainsi dire l'attention du spectateur sur une scène rendue à l'aide d'une observation scrupuleuse, avec une parfaite distinction, certes nous ne nous en plaindrons pas, puisque c'est à ce progrès que nous devons les chefs-d'oeuvre qui garnissent nos galeries, et qui sont une des gloires de la civilisation occidentale depuis le XVIe siècle. Mais l'art qui convient à la toile encadrée, au tableau, quelle que soit sa dimension, n'a point de rapports avec celui qui est destiné à couvrir les murs et les voûtes d'une salle. Dans le tableau nous ne voyons qu'une expression isolée d'un seul art, nous nous isolons pour le regarder; c'est encore une fois une fenêtre qu'on nous ouvre sur une scène propre à nous charmer ou nous émouvoir. En est-il de même dans une salle que l'on couvre de peintures? N'y a-t-il pas là le mélange de plusieurs arts? Doivent-ils alors procéder isolément, ou produire un effet d'ensemble? La réponse ne saurait être douteuse.

Si nous examinons les essais qui ont été tentés pour concilier les deux principes opposés de la peinture prise isolément et de la peinture purement monumentale, n'apercevons-nous pas tout de suite l'écueil contre lequel les plus grands talents ont échoué? Et la voûte de la chapelle Sixtine elle-même, malgré le génie prodigieux de l'artiste qui l'a conçue et exécutée, n'est-elle pas un hors-d'oeuvre qui épouvante plutôt qu'il ne charme? Cependant Michel-Ange, architecte et peintre, a su, autant que le programme qu'il s'était imposé le lui promettait, si bien souder ses sujets et ses figures à l'ornementation, à la place occupée, que l'unité de la voûte est complète. Mais que devient la salle? Que devient même, au point de vue décoratif, sous cette écrasante conception, la peinture du Jugement dernier?

Dans la chapelle Sixtine, il faut s'isoler pour regarder la voûte, s'isoler pour regarder le Jugement dernier, oublier la salle. On se souvient de la voûte, on se souviendrait très-imparfaitement de la page du jugement, si on ne la connaissait par des gravures; quant à la salle, on ne sait pas si elle existe. Or les arts ne sont pas faits pour s'entre-détruire, mais pour s'aider, se faire valoir; c'est du moins ainsi qu'ils ont été compris pendant les belles époques. On pardonne bien à un génie comme Michel-Ange d'étouffer ce qui l'entoure et de se nuire au besoin à lui-même, d'effacer quelques-unes de ses propres pages pour en faire resplendir une seule: cette fantaisie d'un géant n'est que ridicule chez des hommes de taille ordinaire; elle a cependant tourné la tête de tous les peintres depuis le XVIe siècle, tant il est vrai que l'exemple des hommes de génie même est funeste quand ils abandonnent les principes vrais, et qu'il ne faut jamais se laisser guider que par les principes. De Michel-Ange aux Carraches il n'y a qu'un pas; et que sont les successeurs des Carraches?

Les peuples artistes n'ont vu dans la peinture monumentale qu'un dessin enluminé et très-légèrement modelé. Que le dessin soit beau, l'enluminure harmonieuse, la peinture monumentale dit tout ce qu'elle peut dire; la difficulté est certes assez grande, le résultat obtenu considérable, car c'est seulement à l'aide de ces moyens si simples en apparence que l'on peut produire de ces grands effets de décoration coloriée dont l'impression reste profondément gravée dans l'esprit.

Nous avons dit que les peintres grecs avaient été les premiers maîtres de nos artistes occidentaux; mais en Grèce (nous parlons de la Grèce byzantine) la peinture a conservé une forme hiératique dont chez nous on s'est affranchi rapidement. Au XIIIe siècle déjà, Guillaume Durand, évêque de Mende, écrivait dans son Rationale divinorum officiorum 62, en citant un passage d'Horace: «Diversæ historiæ tam Novi quam Veteris Testamenti pro voluntate pictorum depinguntur; nam

«... pictoribus atque poetis,

Quidlibet audendi semper fuit æqua potestas.»

Cet hommage rendu à la liberté qui doit être laissée à l'artiste fait un étrange contraste avec la rigueur des traditions de l'école byzantine, conservées presque intactes jusqu'à nos jours 63. Dans le style aussi bien que dans le faire et les procédés des peintures produites en France pendant les XIe et XIIe siècles, on reconnaît exactement les enseignements de Denis, l'auteur grec du Guide de la peinture. Nous retrouvons les recettes de ce maître grec du XIe siècle dans le traité du moine Théophile 64 (XIIe siècle), et même encore dans l'ouvrage du peintre italien Cennino Cennini, qui vivait au XIVe siècle 65; mais si les artistes du moyen âge conservèrent longtemps les procédés fournis par l'école byzantine, ils s'affranchirent très-promptement des traditions hiératiques, disons-nous, et cherchèrent leurs inspirations dans l'observation de la nature. Toutefois (et cela est à remarquer), en donnant au style de leurs oeuvres un caractère de moins en moins traditionnel, nos artistes occidentaux, surtout en France, surent laisser à leurs peintures une harmonie décorative jusque vers le milieu du XVe siècle, en maintenant le principe du dessin enluminé et légèrement modelé. Nos artistes en France, en ce qui touche au dessin, à l'observation juste du geste, de la composition, de l'expression même, s'émancipèrent avant les maîtres de l'Italie; les peintures et les vignettes des manuscrits qui nous restent du XIIIe siècle en sont la preuve, et cinquante ans avant Giotto nous possédions en France des peintures qui avaient déjà fait faire à l'art les progrès qu'on attribue à l'élève Cimabue 66. De la fin du XIIe au XVe siècle le dessin se modifie. D'abord rivé aux traditions byzantines, bientôt il rejette ces données conventionnelles d'école, il cherche des principes dérivant d'une observation de la nature, sans toutefois abandonner le style; l'étude du geste atteint bientôt une délicatesse rare, puis vient la recherche de ce qu'on appelle l'expression. Le modelé, sans atteindre à l'effet, s'applique à marquer les plans.

On reconnaît des efforts de composition remarquables dès la seconde moitié du XIIIe siècle. L'idée dramatique est admise, les scènes prennent parfois un mouvement d'une énergie puissante. Vers le milieu du XIVe siècle, de fin, de délicat, le dessin penche déjà vers la manière; les types admis se perdent pour être remplacés par l'imitation de la nature individuelle: l'exagération de ce parti est sensible au commencement du XVe siècle, à ce point que le laid s'introduit dans l'art de la peinture, et arrive trop souvent à s'emparer de toute forme. En même temps on reconnaît que l'habileté de la main est extrême, que les artistes possèdent des procédés excellents, et qu'ils poussent à l'excès la recherche du détail, la minutie dans l'exécution, dans l'étude des accessoires.

La coloration subit des transformations moins rapides: l'harmonie de la peinture monumentale est toujours soumise à un principe essentiellement décoratif; cette harmonie change de tonalité, il est vrai, mais c'est toujours une harmonie applicable aux sujets comme aux ornements. Ainsi, par exemple, au XIIe siècle, cette harmonie est absolument celle des peintures grecques, toutes très-claires pour les fonds. Pour les figures comme pour les ornements, ton local, qui est la couleur et remplace ce que nous appelons la demi-teinte; rehauts clairs, presque blancs, sur toutes les saillies; modelé brun égal pour toutes les nuances; finesses soit en clair sur les grandes parties sombres, soit en brun sur les grandes parties claires, afin d'éviter, dans l'ensemble, les taches. Couleurs rompues, jamais absolues 67, au moins dans les grandes parties; quelquefois emploi du noir comme rehauts. L'or admis comme broderie, comme points brillants, nimbes; jamais, ou très-rarement, comme fond. Couleurs dominantes, l'ocre jaune, le brun-rouge clair, le vert de nuances diverses; couleurs secondaires, le rose pourpre, le violet pourpre clair, le bleu clair. Toujours un trait brun entre chaque couleur juxtaposée. Il est rare, d'ailleurs, dans l'harmonie des peintures de XIIe siècle, que l'on trouve deux couleurs d'une valeur égale posées l'une à côté de l'autre, sans qu'il y ait entre elles une couleur d'une valeur inférieure. Ainsi, par exemple, entre un brun rouge et un vert de valeur égale, il y aura un jaune ou un bleu très clair; entre un bleu et un vert de valeur égale, il y aura un rose pourpre clair. Aspect général, doux, sans heurt, clair, avec des fermetés très-vives obtenues par le trait brun ou le rehaut blanc. Vers le milieu du XIIIe siècle, cette tonalité change. Les couleurs franches dominent, particulièrement le bleu et le rouge. Le vert ne sert plus que de moyen de transition; les fonds deviennent sombres, brun rouge, bleu intense, noirs même quelquefois, or, mais dans ce cas toujours gaufrés. Le blanc n'apparaît plus guère que comme filets, rehauts délicats; l'ocre jaune n'est employée que pour des accessoires; le modelé se fond et participe de la couleur locale. Les tons sont toujours séparés par un trait brun très-foncé ou même noir. L'or apparaît déjà en masse sur les vêtements, mais il est, ou gaufré, ou accompagné de rehauts bruns. Les chairs sont claires. Aspect général chaud, brillant, également soutenu, sombre même, s'il n'était réveillé par l'or. Vers la fin du XIIIe siècle, la tonalité devient plus heurtée; les fonds noirs apparaissent souvent, ou bleu très-intense, ou brun rouge, rehaussés de noir; les vêtements, en revanche, prennent des tons clairs, rose, vert clair, jaune rosé, bleu très-clair; l'emploi de l'or est moins fréquent; le blanc, et surtout le blanc gris, le blanc verdâtre, couvrent les draperies. Celles-ci parfois sont polychromes, blanches, par exemple, avec des bandes transversales rouges brodées de blanc, ou de noir, ou d'or. Les chairs sont presque blanches. Au XIVe siècle, les tons gris, gris vert, vert clair, rose clair, dominent; le bleu est toujours modifié: s'il apparaît pur, c'est seulement dans des fonds, et il est tenu clair. L'or est rare; les fonds noirs ou brun rouge, ou ocre jaune, persistent; le dessin brun est fortement accusé et le modelé très-passé. Les rehauts blancs n'existent plus, mais les rehauts noirs ou bruns sont fréquents; les chairs sont très-claires. L'aspect général est froid. Le dessin l'emporte sur la coloration, et il semble que le peintre ait craint d'en diminuer la valeur par l'opposition de tons brillants. Vers la seconde moitié du XIVe siècle, les fonds se chargent de couleurs variées comme une mosaïque, ou présentent des damasquinages ton sur ton. Les draperies et les chairs restent claires; le noir disparaît des fonds, il ne sert plus que pour redessiner les formes; l'or se mêle aux mosaïques des fonds; les accessoires sont clairs, en grisailles rehaussées de tons légers ou d'ornements d'or. L'aspect général est doux, brillant; les couleurs sont très-divisées, tandis qu'au commencement du XVe siècle elles apparaissent par plaques, chaudes, intenses. Alors le modelé est très-poussé, bien que la direction de la lumière ne soit pas encore déterminée nettement. Les parties saillantes sont les plus claires, et cela tient au procédé employé dans la peinture décorative. Mais dans les fonds, les accessoires, arbres, palais, bâtiments, etc., sont déjà traités d'une manière plus réelle; la perspective linéaire est quelquefois cherchée, quant à la perspective aérienne, on n'y songe point encore. Les étoffes sont rendues avec adresse, les chairs très-délicatement modelées; l'or se mêle un peu partout, aux vêtements, aux cheveux, aux détails des accessoires, et l'on ne voit pas de ces sacrifices considérés comme nécessaires, avec raison, dans la peinture de tableau. L'accessoire le plus insignifiant est peint avec autant de soin, est tout autant dans la lumière que le personnage principal. C'est là une des conditions de la peinture monumentale. Sur les parois d'une salle vues toujours obliquement, ce que l'oeil demande, c'est une harmonie générale soutenue, une surface également solide, également riche, non point des percées et des plans dérobés par des tons sacrifiés qui dérangent les proportions et les partis de l'architecture. Ces données générales établies, nous passons à l'étude des styles de la peinture de sujets et à celle des procédés employés.

Nous l'avons dit plus haut, les peintures les plus anciennes que nous possédions en France, présentant un ensemble passablement complet, sont celles de l'église de Saint-Savin, près de Poitiers. Dans ces peintures, ainsi que nous l'avons encore avancé, bien que l'on retrouve les traditions de l'école byzantine, on observe cependant une certaine liberté de composition, une étude vraie du geste, une tendance dramatique, qui n'existent plus dans la peinture grecque du XIe siècle, rivée alors à des types invariables. Dans les fresques de Saint-Savin, à côté d'un personnage représenté évidemment suivant une tradition hiératique, l'artiste a donné à des groupes de figures des attitudes étudiées sur la nature. Quelques scènes ont même un mouvement dramatique très-énergiquement rendu, malgré l'imperfection et la grossièreté du dessin. Nous citerons, entre autres, les scènes de l'Apocalypse peintes sous le porche; dans l'église, sous la voûte, l'offrande de Caïn et d'Abel, la fuite en Égypte, la construction de la tour de Babel, l'ivresse de Noé, les funérailles d'Abraham (fig. 1); Joseph vendu par ses frères; Joseph accusé par la femme de Putiphar.

Dans ces compositions on remarque de la grandeur, un sentiment vrai, puissant, des hardiesses même, qui font assez voir que cette école du Poitou ne se bornait pas à la reproduction sèche des peintures byzantines. Plus tard cependant, au XIIe siècle, nous retrouvons des peintures françaises se soumettant scrupuleusement aux traditions grecques: telles sont celles de la chapelle du Liget 68, dont le dessin, les types, les compositions, le modelé, se rapprochent exactement de l'école de Byzance 69, au point qu'on les pourrait attribuer à un artiste de cette école.

Dans les peintures de la chapelle du Liget, si l'art est soumis à une sorte d'archaïse, on sent la recherche du beau, on aperçoit les dernières lueurs de l'antiquité, si brillantes encore dans les catacombes de la Rome chrétienne.

La figure 2, qui donne l'un des personnages peints sur les parois de la chapelle du Liget, suffit pour faire ressortir les rapports existant entre cet art du XIIe siècle et celui des époques primitives de la peinture byzantine. Les tons de ces peintures sont doux, le dessin large et ferme. Les couleurs sont: le jaune clair pour la chasuble, avec ornements bruns; le vert pour le capuchon rabattu, le blanc pour la robe; le brun rouge clair pour le manipule et le nimbe, ainsi que pour le fond. Le dessin est soutenu par un trait brun.

Pendant la période du moyen âge comprise entre le Xe siècle et la fin du XIIe, il y avait donc, dans l'art de la peinture plus encore que dans l'architecture en France, diversité d'écoles, tâtonnements; ici une soumission entière aux maîtres byzantins, là tentatives d'émancipation, observation de la nature, étude du geste, recherche de l'effet dramatique. En Auvergne, par exemple, au XIIe siècle, il existait une puissante école de peinture, serrée dans son exécution, belle par son style, autant que des fragments, rares aujourd'hui, nous permettent de l'apprécier. Mais alors (à la fin du XIIe siècle), l'attention des populations au nord de la Loire semblait se concentrer sur les développements d'une architecture nouvelle. On abandonnait les sujets peints sur les murailles pour se livrer à l'exécution de la peinture translucide des vitraux. D'ailleurs l'architecture nouvellement inaugurée n'offrait plus aux artistes de ces grandes surfaces nues propres à la peinture. La peinture se bornait à la coloration de la sculpture et aux décorations obtenues par des combinaisons d'ornements. Mais dans les cartons de leurs vitraux, les peintres avaient l'occasion de développer largement leur talent, et l'art ne restait pas stationnaire. Lorsque la fièvre d'architecture qui s'empara des populations du domaine royal de 1160 à 1230 fut un peu calmée, on vit la peinture de sujets reparaître sur les surfaces intérieures des édifices, et l'on put reconnaître les pas immenses qu'elle avait faits dans l'observation attentive de la nature, dans la recherche du beau et dans l'exécution. Il faut bien le reconnaître toutefois, elle avait perdu beaucoup au point de vue du grand style, tel que l'antiquité l'avait compris; elle penchait déjà vers la manière, l'exagération de l'expression; le geste était toujours vrai, le dessin s'était épuré, mais la grandeur faisait place à la recherche d'une certaine grâce déjà coquette.

Villard de Honnecourt, qui vivait alors (de 1230 à 1270), nous a laissé, sur les méthodes des peintres de son temps, des renseignements précieux 70. Les vignettes de ce manuscrit reproduites en fac-simile dans les planches XXXIV, XXXV, XXXVI et XXXVII, nous donnent certains procédés pratiques pour obtenir les attitudes et les gestes des figures, au moyen de combinaisons de lignes droites ou d'arcs de cercle et de figures géométriques; nous nous bornerons à présenter ici un seul des exemples fournis, afin de faire saisir les méthodes sur lesquelles Villard s'appuie.

Voici (fig. 3) deux lutteurs que le dessinateur paraît vouloir montrer comme étant de forces égales 71. Le procédé de tracé est celui-ci (fig. 4).

Soit un triangle équilatéral ABC, dont la base AB, divisée en deux parties égales, donne deux autres triangles équilatéraux secondaires. La ligne d'axe DC étant prolongée, sur ce prolongement en E nous prenons un point, centre des arcs de cercle, FG, HI. Sur l'arc FG, ayant marqué deux points O, O, ces points sont les centres des arcs KL. Ainsi, les côtés du grand triangle équilatéral et les côtés des deux petits triangles nous donnent la direction des jambes des lutteurs; les deux arcs FG, HI, le mouvement des genoux et des torses; les arcs KL, la ligne des dos des deux figures. D'où s'ensuit la stabilité des personnages et la relation de leur attitude. Villard, qui n'est pas un peintre, mais un architecte, ne donne qu'un certain nombre de ces figures obtenues au moyen de tracés géométriques, et principalement de triangles; mais il nous fait suffisamment connaître ainsi quelles étaient les méthodes pratiques employées par les imagiers; méthodes qui obligeaient les artistes les plus médiocres à se renfermer dans l'observation de certaines lois très-simples, d'une application facile, à l'aide desquelles ils restaient dans des données justes du moins, s'ils n'avaient un mérite assez élevé pour produire des chefs-d'oeuvre.

Dans les peintures françaises du XIIIe siècle qui nous restent, l'art archaïque, encore conservé pendant la période du XIIe siècle, est abandonné; les artistes cherchent non-seulement la vérité dans le geste, mais une souplesse dans les poses; déjà éloignée de la rigidité du dessin byzantin. Le faire devient plus libre, l'observation de la nature plus délicate.

L'exemple que nous donnons ici (fig. 5), copié sur un fragment d'une peinture de la fin du XIIIe siècle 72, explique en quoi consiste ce changement ou plutôt ce progrès dans l'art. Ici le trois-quarts de la tête de la Vierge est finement tracé. La pose ne manque pas de souplesse, les draperies sont dessinées avec une liberté et une largeur remarquables au moyen d'un trait brun rouge 73. On voit que le peintre a dû opérer sur un décalque ne donnant qu'une masse générale, une silhouette et quelques linéaments principaux, et que les détails ont été rendus au bout de pinceau. Certains repentirs même ont été laissés apparents, dans le bas du manteau du côté gauche. Souvent ces peintures murales sont de véritables improvisations; ces artistes ne faisaient des cartons que pour des sujets étudiés avec un soin exceptionnel. Or, pour tracer comme un croquis une figure de grandeur naturelle, il faut posséder des méthodes sûres, très-arrêtées.

Les peintres byzantins ne faisaient pas, et encore aujourd'hui, ne font pas de cartons; ils peignent immédiatement sur le mur. Pendant le moyen âge, en Occident, on procédait de la même manière: c'est ce qui explique l'utilité absolue de ces recettes données dans le Guide de la peinture cité plus haut, dans l'essai du moine Théophile et dans le traité de Cennino Cennini. D'ailleurs, comment ces artistes qui couvraient en peu de temps des surfaces très-étendues auraient-ils eu le temps de faire des cartons; tout au plus pouvaient-ils préparer des maquettes à une échelle réduite. Pendant les XIIe et XIIIe siècles, les traits gravés dans l'enduit frais ne se voient qu'exceptionnellement, et ces traits indiquent toujours le décalque d'un carton; on aperçoit souvent au contraire des traits légers faits au pinceau, couverts de la couche colorante sur laquelle le trait définitif qui est une façon de modelé, vient s'apposer. Ce trait définitif, corrige, rectifie l'esquisse primitive, la modifie même parfois complétement, et nous ne connaissons guère de peintures des XIIe, XIIIe et XIVe siècles sans repentirs.

Les peintres du XIIe siècle employaient plusieurs sortes de peintures: la peinture à fresque, la peinture à la colle, à l'oeuf, et la peinture à l'huile. Cette dernière, faute d'un siccatif, n'était toutefois employée que pour de petits ouvrages, des tableaux sur panneaux que l'on pouvait facilement exposer au soleil. Pour l'emploi de la peinture à fresque, c'est-à-dire sur enduit de mortier frais, l'artiste commençait, ainsi que nous venons de le dire, par tracer avec de l'ocre rouge délayée dans de l'eau pure les masses de ses personnages, puis il posait le ton local qui faisait la demi-teinte, par couches successives, mêlant de la chaux au ton; il modelait les parties saillantes, ajoutant une plus grande partie de chaux à mesure qu'il arrivait aux dernières couches; puis avec du brun rouge mêlé de noir, il redessinait les contours, les plis, les creux, les linéaments intérieurs des nus ou des draperies.

Cette opération devait être faite rapidement, afin de ne pas laisser sécher complétement l'enduit et les premières couches. Cette façon de peindre dans la pâte donne une douceur et un éclat particuliers à ce genre de travail, et un modelé qui, d'un bleu intense, arrivant par exemple sur les parties saillantes ou claires, au blanc presque pur, n'est ni sec ni criard, chaque ton superposé s'embuvant dans le ton inférieur et y participant. L'habileté du praticien consiste à connaître exactement le degré de siccité qu'il faut laisser prendre à chaque couche avant d'en apposer une nouvelle. Si cette couche est trop humide, le ton apposé la détrempe de nouveau et fait avec elle une boue tachée, lourde, sale; si elle est trop sèche, le ton apposé ne tient pas, ne s'emboit pas, et forme un cerné sombre sur son contour. Le trait noir brun, si nécessaire et qui accuse les silhouettes et les formes intérieures, les ombres, les plis, etc., était souvent placé lorsque le modelé par couches successives était sec, afin d'obtenir plus de vivacité et de netteté. Alors on le collait avec de l'oeuf ou de la colle de peau. Aussi voit-on souvent, dans ces anciennes fresques, ce trait brun se détacher par écailles et ne pas faire corps avec l'enduit.

L'emploi de la chaux comme assiette et même comme appoint lumineux dans chaque ton, ne permettait au peintre que l'usage de certaines couleurs, telles que les terres, le cobalt bleu ou vert. Cette obligation de n'employer que les terres et un très-petit nombre de couleurs minérales, contribuait à donner à ces peintures une harmonie très-douce et pour ainsi dire veloutée. Au XIIIe siècle, cette harmonie paraissant trop pâle en regard des vitraux colorés qui donnent des tons d'une intensité prodigieuse, on dut renoncer à la peinture à fresque, afin de pouvoir employer les oxydes de plomb, les verts de cuivre et même des laques. D'ailleurs, l'architecture adoptée ne permettant pas les enduits, il fallait bien trouver un procédé de peinture qui facilitât l'apposition directement sur la pierre. En effet, divers procédés furent employés. Les plus communs sont: la peinture à l'oeuf, sorte de détrempe légère et solide; la peinture à la colle de peau ou à la colle d'os, également très-durable lorsqu'elle n'est pas soumise à l'humidité. La plus solide est la peinture à la résine dissoute dans un alcool, mais ce procédé assez dispendieux, n'était employé que pour des travaux délicats. Quelquefois aussi on se contentait d'un lait de chaux appliqué comme assiette, et sur lequel on peignait à l'eau avant que cette couche de chaux, mise à la brosse, fût sèche. La peinture à l'huile très-clairement décrite par le moine Théophile, et adoptée avant lui, puisqu'il ne s'en donne pas comme l'inventeur, ne s'employait, ainsi que nous le disions plus haut, que sur des panneaux, à cause du temps qu'il fallait laisser à chaque couche pour qu'elle pût sécher au soleil, les siccatifs n'étant pas encore en usage 74.

La peinture à la gomme, employée au XIIe siècle, paraît avoir été fréquemment pratiquée par les peintres du XIIIe pour de menus objets, tels que retables, boiseries, etc. «Si vous voulez accélérer votre travail, dit Théophile 75, prenez de la gomme qui découle du cerisier ou du prunier, et la coupant en petites parcelles, placez-la dans un vase de terre; versez de l'eau abondamment, puis exposez au soleil, ou bien, en hiver, sur un feu doux, jusqu'à ce que la gomme se liquéfie. Mêlez soigneusement au moyen d'une baguette, passez à travers un linge; broyez les couleurs (avec) et appliquez-les. Toutes les couleurs et leurs mélanges peuvent être broyés et posés à l'aide de cette gomme, excepté le minium, la céruse et le carmin, qui doivent se broyer et s'appliquer avec du blanc d'oeuf...» Ces peintures à la gomme, ou même à l'huile, étaient habituellement recouvertes d'un vernis composé de gomme arabique dissoute à chaud dans l'huile de lin 76; elles avaient ainsi un éclat extraordinaire.

Les artistes du XIIIe siècle, en peignant des sujets dans des salles garnies de vitraux colorés, tenaient à leur donner un brillant et une solidité de ton supérieurs à la peinture d'ornement et qui pussent lutter avec l'or très-fréquemment employé alors. Pour obtenir cet éclat, ils devaient faire usage des glacis, et en effet la coloration des figures, lorsqu'elles sont peintes avec quelque soin, est obtenue principalement par des appositions de couleurs transparentes sur une préparation en camaïeux très modelés. Ces artistes, soit par tradition, soit d'instinct, avaient le sentiment de l'harmonie (leurs vitraux en sont une preuve évidente pour tout le monde). Du jour que l'or entrait dans la décoration pour une forte part, il fallait nécessairement modifier l'harmonie douce et claire admise par les peintres du XIIe siècle. L'or est un métal et non une couleur, et sa présence en larges surfaces dans la peinture force le peintre à changer toute la gamme de ses tons. L'or a des reflets clairs très-vifs, très-éclatants, des demi-teintes et des ombres d'une intensité et d'une chaleur auprès desquelles toute couleur devient grise, si elle est claire, obscure et lourde, si elle est sombre 77. Pour pouvoir lutter avec ces clairs si brillants et ces demi-teintes si chaudes de l'or, il fallait des tons très-colorés, mais qui, pour ne pas paraître noirs, devaient conserver la transparence d'une aquarelle. C'est ainsi que les petits sujets décorant l'arcature de la sainte Chapelle haute du Palais à Paris étaient traités. Ces sujets, qui se détachent alternativement sur un fond de verre damasquiné de dorures ou d'or gaufré, avaient été peints très-clairs, puis rehaussés par une coloration transparente très-vive et des traits bruns. Cependant, avec l'or, tous les tons n'étaient pas traités de la même manière; les bleus, les verts clairs (verts turquoise) sont empâtés, et ainsi posés, prennent une valeur très-colorante; tandis que les rouges, les verts sombres, les pourpres, les jaunes, ont besoin, pour conserver un éclat pouvant lutter avec les demi-teintes de l'or, d'être apposés en glacis. Ces glacis semblent avoir été collés au moyen d'un gluten résineux, peut-être seulement à l'aide de ce vernis composé d'huile de lin et de gomme arabique. Quant à la peinture des dessous ou empâtée, elle est fine, et est posée sur une assiette de chaux très-mince; ce n'est cependant pas de la fresque, car cette peinture s'écaille et forme couverte.

Il arrivait même souvent aux artistes peignant des sujets ou des ornements sur fond d'or, de dorer les dessous des ornements ou draperies destinés à être colorés en rouge, en pourpre ou en jaune mordoré. Alors la coloration n'était qu'un glacis très-transparent posé sur le métal, et, avec des tons très-intenses, on évitait les lourdeurs. Ces tons participaient du fond et conservaient quelque chose de son éclat métallique.

La cherté des peintures dans lesquelles l'or jouait un rôle important, les difficultés, conséquences de l'emploi de ce métal, qui entravaient le peintre à chaque pas pour conserver partout une harmonie brillante, très-soutenue, sans tomber dans la lourdeur, firent que vers la fin du XIIIe siècle, ainsi que nous l'avons dit, on adopta souvent le parti des grisailles. On avait poussé si loin, vers le milieu du XIIIe siècle, la coloration des vitraux; cette coloration écrasante avait entraîné les peintres à donner aux tons de leurs peintures un tel éclat et une telle intensité, qu'il fallait revenir en arrière. On fit alors beaucoup de vitraux en grisailles, ou l'on éclaircit la coloration translucide; l'or ne joua plus dans la peinture qu'un rôle très-secondaire et les sujets furent colorés par des tons doux, très-clairs, et, pour éviter l'effet plat et fade de ces camaïeux à peine enluminés, on les soutint par des fonds très-violents, noirs, brun-rouge, bleu intense, chargés souvent de dessins tons sur tons ou de damasquinages de couleurs variées, mais présentant une masse très vigoureuse. On ne songeait guère alors aux fonds de perspective, mais on commençait à donner aux accessoires, comme les siéges, les meubles, une apparence réelle. Peu à peu le champ de l'imitation s'étendit; après avoir peint seulement les objets touchant immédiatement aux figures suivant leur forme et leur dimension vraie, on plaça un édifice, une porte, un arbre, sur un plan secondaire; puis enfin les fonds de convention et purement décoratifs disparurent, pour faire place à une interprétation réelle du lieu où la scène se passait. Toutefois il faut constater que si les peintres, avant le XVIe siècle, cherchaient à donner une représentation réelle du lieu, ils ne songeaient, comme nous l'avons dit déjà, ni à la perspective aérienne, ni à l'effet, c'est-à-dire à la répartition de la lumière sur un point principal, ni à produire l'illusion, et que leurs peintures conservaient toujours l'aspect d'une surface plane décorée, ce qui est, croyons-nous, une des conditions essentielles de la peinture monumentale.

Nous ne pourrions nous étendre davantage, sans sortir du cadre de cet article, sur la peinture des sujets dans les édifices. D'ailleurs nous avons l'occasion de revenir sur quelques points touchant la peinture, dans les articles STYLE et VITRAIL. Nous passerons maintenant à la peinture d'ornement, à la décoration peinte proprement dite. Il y a lieu de croire que sur cette partie importante de l'art, les artistes du moyen âge n'avaient que des traditions, une expérience journalière, mais peu ou point de théories. Les traités de peinture ne s'occupent que des moyens matériels et n'entrent pas dans des considérations sur l'art, sur les méthodes à employer dans tel ou tel cas. Pour nous, qui avons absolument perdu ces traditions, et qui ne possédons qu'une expérience très-bornée de l'effet décoratif de la peinture, nous devons nécessairement nous appuyer sur l'observation des exemples passés pour reconstituer certaines théories résultant de cette expérience et de ces traditions. Il serait assez inutile à nos lecteurs de savoir que tel ornement est jaune ou bleu, si nous n'expliquons pas pourquoi il est jaune ici et bleu là, et comment il produit un certain effet dans l'un ou l'autre cas. La peinture décorative est avant tout une question d'harmonie, et il n'y a pas de système harmonique qui ne puisse être expliqué.

La peinture décorative est d'ailleurs une des parties de l'art de l'architecture difficiles à appliquer, précisément parce que les lois sont essentiellement variables en raison du lieu et de l'objet. La peinture décorative grandit ou rapetisse un édifice, le rend clair ou sombre, en altère les proportions ou les fait valoir; éloigne ou rapproche, occupe d'une manière agréable ou fatigue, divise ou rassemble, dissimule les défauts ou les exagère. C'est une fée qui prodigue le bien ou le mal, mais qui ne demeure jamais indifférente. À son gré, elle grossit ou amincit des colonnes, elle allonge ou raccourcit des piliers, élève des voûtes ou les rapproche de l'oeil, étend des surfaces ou les amoindrit; charme ou offense, concentre la pensée en une impression ou distrait et préoccupe sans cause. D'un coup de pinceau elle détruit une oeuvre savamment conçue, mais aussi d'un humble édifice elle fait une oeuvre pleine d'attraits, d'une salle froide et nue un lieu plaisant où l'on aime à rêver et dont on garde un souvenir ineffaçable.

Lui fallait-il, au moyen âge, pour opérer ces prodiges, des maîtres excellents, de ces artistes comme chaque siècle en fournit un ou deux? Non certes; elle ne demandait que quelques ouvriers peintres agissant d'après des principes dérivés d'une longue observation des effets que peuvent produire l'assemblage des couleurs et l'échelle des ornements. Alors la plus pauvre église de village badigeonnée à la chaux avec quelques touches de peinture était une oeuvre d'art, tout comme la sainte Chapelle, et l'on ne voyait pas, au milieu de la même civilisation, des ouvrages d'art d'une grande valeur ou au moins d'une richesse surprenante, et à quelque pas de là de ces désolantes peintures décoratives qui déshonorent les murailles qu'elles couvrent et font rougir les gens de goût qui les regardent.

Il n'y a, comme chacun sait, que trois couleurs, le jaune, le rouge et le bleu, le blanc et le noir étant deux négations: le blanc la lumière non colorée, et le noir l'absence de lumière. De ces trois couleurs dérivent tous les tons, c'est-à-dire des mélanges infinis. Le jaune et le bleu produisent les verts, le rouge et le bleu les pourpres, et le rouge et le jaune les orangés. Au milieu de ces couleurs et de leurs divers mélanges la présence du blanc et du noir ajoute à la lumière ou l'atténue. Précisément parce que le blanc et le noir sont deux négations et sont étrangers aux couleurs, ils sont destinés, dans la décoration, à en faire ressortir la valeur. Le blanc rayonne, le noir fait ressortir le rayonnement et le limite. Les peintres décorateurs du moyen âge, soit par instinct, soit bien plutôt par tradition, n'ont jamais coloré sans un appoint blanc ou noir, souvent avec tous les deux. Partant du simple au composé, nous allons expliquer leurs méthodes. Nous ne parlons que de la peinture des intérieurs, de celle éclairée par une lumière diffuse; nous nous occuperons en dernier lieu de la peinture extérieure, c'est-à-dire éclairée par la lumière directe. Pendant la période du moyen âge, où la peinture monumentale joue un rôle important, nous observons que l'artiste adopte d'abord une tonalité dont il ne s'écarte pas dans un même lieu. Or, ces tonalités sont peu nombreuses, elles se réduisent à trois: la tonalité obtenue par le jaune et le rouge avec l'appoint lumineux et obscur, c'est-à-dire le blanc et le noir; la tonalité obtenue avec le jaune, le rouge et le bleu, qui entraîne forcément les tons intermédiaires, c'est-à-dire le vert, le pourpre et l'orangé, toujours avec appoint blanc et noir, ou noir seul; la tonalité obtenue à l'aide de tous les tons donnés par les trois couleurs, mais avec appoint d'or et l'élément obscur, le noir, les reflets lumineux de l'or remplaçant dans ce cas le blanc.

En supposant que le jaune vaille 1, le rouge 2, le bleu 3: mêlant le jaune et le rouge, nous obtenons l'orangé, valeur 3; le jaune et le bleu, le vert, valeur 4; le rouge et le bleu, le pourpre, valeur 5. Si nous mettons des couleurs sur une surface, pour que l'effet harmonieux ne soit pas dépassé, posant seulement du jaune et du rouge, il faudra que la surface occupée par le jaune soit le double au moins de la surface occupée par le rouge. Mais si nous ajoutons du bleu à l'instant, l'harmonie devient plus compliquée; la présence seule du bleu nécessite, ou une augmentation relative considérable des surfaces jaune et rouge, ou l'appoint des tons verts et pourpres, lesquels, comme le vert, ne devront pas être au-dessous du quart et le pourpre du cinquième de la surface totale. Ce sont là des règles élémentaires de l'harmonie de la peinture décorative des artistes du moyen âge. Aussi ont-ils rarement admis toutes les couleurs et les tons qui dérivent de leur mélange, à cause des difficultés innombrables qui résultent de leur juxtaposition et de l'importance relative que doit prendre chacun de ces tons, comme surface. Dans le cas de l'adoption des trois couleurs et de leurs dérivés, l'or devient un appoint indispensable, c'est lui qui est chargé de compléter ou même de rétablir l'harmonie. Revenant aux principes les plus simples, on peut obtenir une harmonie parfaite avec le jaune et le rouge (ocre rouge), surtout à l'aide de l'appoint blanc; il est impossible d'obtenir une harmonie avec le jaune, et le bleu, ni même avec le rouge et le bleu, sans l'appoint de tons intermédiaires. Voudriez-vous décorer une salle toute blanche comme fond, avec des ornements rouges et bleus ou jaunes et bleus, même clairsemés, que l'harmonie serait impossible. Le rouge (ocre rouge) et le jaune (ocre jaune) étant les deux seules couleurs qui puissent, sans l'appoint d'autres tons, se trouver ensemble.

L'observation d'autres principes aussi élémentaires n'était pas moins familière à ces artistes. Ils avaient reconnu, par exemple, qu'une même forme d'ornement blanc ou d'un ton clair sur un fond noir, ou noir sur un fond clair, changeait de dimension. Pour nous faire bien comprendre, soient (fig. 6), en A, des billettes brun rouge sur fond blanc, ou B, blanches sur fond brun rouge: les billettes brunes paraîtront, plus on s'éloignera de la surface peinte, plus petites que les billettes blanches, et la surface occupée par le fond blanc paraîtra plus étendue que celle occupée par le fond brun. Soient deux pilastres de même largeur et de même hauteur: si l'un des deux, celui C, est décoré de lignes verticales, il paraîtra, à distance, plus long et plus étroit que celui D orné de bandes horizontales. Et pour en revenir aux observations précédentes sur la valeur harmonique des couleurs, le rouge étant supposé 2 et le bleu 3, le rouge devant alors occuper une surface plus grande que le bleu pour obtenir une harmonie entre ces deux couleurs, si (fig. 6) les billettes A sont bleues sur un fond rouge, il sera possible d'avoir une surface harmonique; mais si au contraire c'est le fond qui est bleu et les billettes qui sont rouges, l'oeil sera tellement offensé, qu'il ne pourra s'attacher un instant sur cette surface: l'assemblage des deux couleurs, dans cette dernière condition, fera vaciller les contours au point de causer le vertige. Chacun peut faire cette expérience en employant du vermillon pur pour le rouge et un bleu d'outre-mer pour le bleu. Non-seulement les couleurs ont une valeur absolue, mais aussi une valeur relative quant à la place qu'elles occupent et à l'étendue qu'elles couvrent; de plus elles modifient, en raison de la forme de l'ornement qu'elles colorent, l'étendue réelle des surfaces. Dans la tonalité la plus simple, celle où le jaune (ocre) et le rouge (ocre) sont employés, il est clair que l'une des deux couleurs, l'ocre rouge, a plus d'intensité que le jaune; mais si à ces deux couleurs nous ajoutons le bleu, il faut que la valeur du rouge et du bleu soit différente, que le rouge le cède au bleu, ou ce qui est plus naturel, que le bleu le cède au rouge. Alors c'est le brun rouge qu'il faut admettre et le bleu clair; si nous ajoutons (presque forcément d'ailleurs) des tons dérivés à ces trois couleurs, comme le vert et le pourpre, il faudra également établir ces tons et ces couleurs suivant une valeur différente, c'est-à-dire n'avoir jamais deux tons de valeur égale. Il ne s'agit plus ici de surface occupée, mais d'intensité; or cette intensité est facultative. Si, quand nous n'employons que les trois couleurs, le rouge doit être brun rouge et prendre la plus grande intensité, employant avec ces trois couleurs les dérivés, le rouge doit redevenir franc, c'est-à-dire vermillon, parce que le brun rouge ne pourrait s'harmonier ni avec le vert ni avec le pourpre; l'adjonction des tons dérivés exige que les couleurs soient pures si on les emploie. Toutefois il est bon que la première valeur soit laissée à une couleur plutôt qu'à un ton; cette première valeur ne pouvant être donnée au jaune, ce sera le ton rouge (vermillon) ou le bleu qui la prendra (habituellement le bleu). Supposons que ce soit le bleu intense qui soit la première valeur: les peintres du moyen âge se sont gardés de donner la seconde valeur à une autre couleur, c'est-à-dire au rouge; ils l'ont accordée à un ton, le plus souvent au vert, parfois au pourpre. Vient alors la troisième valeur, qui sera le rouge (vermillon); puis entre cette couleur et le jaune, un autre ton, habituellement le pourpre, parfois le vert. Après le jaune viennent les valeurs inférieures, les pourpres très-clairs (roses), les bleus clairs, les verts turquoise, les jaune-paille, blanc laiteux et gris. Car au-dessous de la dernière valeur couleur, qui est forcément le jaune ocre, il faut des tons, jamais la gamme des valeurs ne finissant par une couleur, comme rarement elle ne commence par un ton 78. Ces principes connus, il reste encore une quantité de règles d'un ordre secondaire que ces artistes du moyen âge ont scrupuleusement observées. Nous en citerons quelques-unes. Le bleu intense étant dur et froid, les peintres l'ont souvent un peu verdi, et l'ont relevé par des semis d'or; puis ils y ont presque toujours accolé un rouge vif (vermillon), puis après le rouge un vert clair ou même un blanc bleui ou verdi, des traits noirs séparant d'ailleurs chaque ton et chaque couleur. Le bleu en contact direct avec le jaune produit un effet louche, le rouge ou le pourpre a été interposé. Le bleu gris ardoise peut seul se coucher sur une surface jaune. Le vert est souvent mis en contact direct avec le bleu, et c'est une dissonance dont on a tiré parti avec une adresse rare, mais alors le vert incline au jaune ou au bleu, il n'est pas franchement vert; si le vert est en contact avec le jaune, cette dernière couleur est orangée et le vert est clair, ou le jaune est limpide et le vert est sombre. Les pourpres qui, comme surface, ont la valeur 5, et qui par conséquent doivent occuper le moindre champ dans la décoration peinte, ne s'approchent jamais du violet; ce ton faux étant absolument exclu, il incline vers l'orangé ou la garance. Nous avons souvent observé combien la nature est ingénieuse dans la combinaison harmonique des tons des plantes: ainsi sur dix géraniums ou dix roses trémières qui auront des fleurs de rouges et de pourpres différents, nous verrons dix tons verts différents pour les feuilles, tons verts combinés chacun pour le rouge ou le pourpre qu'ils entourent. Les peintres du moyen âge avaient-ils étudié les secrets de l'harmonie des tons sur la nature? Nous ne savons; mais comment se fait-il que ces secrets soient perdus, ou que les femmes seules les possèdent encore lorsqu'il s'agit de leurs toilettes? Que s'il faut peindre une salle, nos artistes semblent appliquer au hasard des couleurs, des tons, produisant dans l'ensemble une harmonie presque toujours fausse? est-ce défaut de principes, de traditions, de pratique? Il est certain que dans l'art difficile de la décoration peinte, l'instinct ne suffit pas, comme plusieurs le pensent, et que dans cette partie importante de l'architecture, le raisonnement et le calcul interviennent comme dans toutes les autres, à défaut d'une longue suite de traditions.

La peinture décorative la plus simple, celle qui demande le moins de combinaisons, est celle que l'on obtient avec l'ocre jaune, l'ocre rouge ou brun rouge, le noir, le blanc et le composé des deux, le gris. Cette peinture n'est, pour ainsi dire, qu'un dessin, une grisaille chaude de ton, cependant elle peut produire des effets très-variés déjà. L'ocre jaune et l'ocre rouge sont deux couleurs de la même famille, pour ainsi dire, qui s'harmonisent toujours sans difficultés. Que vous peigniez un ornement jaune sur brun rouge, ou brun rouge sur fond jaune, quelle que soit la forme ou la dimension de l'ornement, celui-ci ne fera jamais tache; mais si vous rehaussez l'ornement jaune ou brun rouge de filets noirs ou blancs, vous obtenez alors des effets d'une extrême finesse et riches de ton. Cette observation peut être faite dans les salles du donjon du château de Coucy. La décoration peinte de la salle du rez-de-chaussée ne consiste guère qu'en un appareil tracé en blanc avec filets brun rouge sur un fond d'ocre jaune.

Les formerets de la voûte se composent (voyez leur section en A, fig. 7) d'un retour d'équerre avec ornement courant de a en b et de b en c, puis d'un profil dont les membres sont alternativement peints en brun rouge et en ocre jaune. Nous donnons en B, B', B'', trois échantillons de ces ornements courants sur les deux faces en retour d'équerre. Celui B est brun rouge sur fond ocre, avec larges filets noirs sur les rives des feuilles, et trait blanc à une égale distance du bord, à cheval sur le filet noir. Celui B' est jaune foncé (ocre jaune mêlé d'ocre rouge) sur fond ocre jaune redessiné de filets brun rouge très-sombre et de traits blancs à l'intérieur; des pois blancs sont de plus marqués sur le fond jaune; celui B" est brun rouge redessiné d'un filet blanc sur fond jaune avec tiges G gris ardoise. L'effet de cette ornementation est des plus brillants. Il va sans dire que le même ornement se retrouve à chaque formeret sur les deux faces ab, bc, et se double. Quelques tons verts se voient sur les chapiteaux de cette salle et des tons vermillon sur les nervures des voûtes, mais il y a absence de bleu, le gris remplaçant parfois cette couleur. Le vert et le gris ardoise entrent sans difficultés dans cette harmonie simple, et il semble que les artistes du XIIe siècle et du commencement du XIIIe aient reculé devant l'emploi du bleu, qui, comme nous le disions tout à l'heure, exige immédiatement l'application de tons variés entre le bleu et le rouge, ou le bleu et le jaune. Il existe, dans l'édifice connu à Poitiers sous le nom de temple de Saint-Jean, des peintures du XIIe siècle qui présentent les combinaisons les plus riches de l'harmonie simple. L'une des faces de la salle principale présente avec des figures colorées en jaune, en brun rouge clair, en vert, en gris vert et gris ardoise, des litres dont nous donnons (fig. 8) deux échantillons.

Celle A forme la frise supérieure sous la charpente, celle B tient lieu d'appui relevé sous les fenêtres. La litre A est composée d'un méandre obliqué, coloré en brun rouge, en ocre jaune et en vert sur fond blanc laiteux. Un filet blanc forme la rive antérieure du méandre. Chaque ton du méandre est modelé au moyen de hachures parallèles d'un ton plus sombre, et d'autant plus larges qu'elles s'approchent du bord postérieur de chaque face oblique. Les tons sont marqués ainsi: le brun rouge par la lettre R, le jaune J, le vert V, le gris ardoise BG. Les oiseaux sont brun rouge et jaune. Les points blancs sont piqués régulièrement sur les bandes horizontales supérieure et inférieure. À cette époque, au XIIe siècle, les points blancs (perlés) sont très-fréquemment employés sur les tons brun rouge et jaune, souvent à cheval entre les deux: c'était un moyen de donner une apparence précieuse à la peinture et d'enlever aux tons absolus leur crudité. Il est bon d'observer que les bruns rouges de ces peintures sont d'un éclat remarquable, transparents et vifs, sans avoir la dureté du rouge (vermillon). La seconde litre que nous donnons en B est sur fond gris ardoise clair; les palmes sont jaunes, les fleurons brun rouge clair avec milieu brun rouge foncé; ces ornements jaune et rouge sont bordés d'un filet blanc. L'harmonie des tons de cette litre est d'une extrême finesse et en même temps très-solide. On peignait à cette époque, c'est-à-dire pendant le XIIe siècle et le commencement du XIIIe, la plupart des édifices non-seulement à l'intérieur, mais à l'extérieur, et le système harmonique de ces peintures repose toujours, sauf de bien rares exceptions, sur cette donnée simple. Cependant on fabriquait alors une quantité de vitraux qui acquéraient d'autant plus de richesse comme couleur que les fenêtres devenaient plus grandes (voy. VITRAIL). Si avec des fenêtres d'une petite dimension, garnies de vitraux blancs ou très-clairs, sous une lumière diffuse et peu étendue, il était naturel et nécessaire même de donner à la peinture décorative un aspect brillant et doux à la fois, lorsque l'on prit l'habitude de placer des verrières très-colorées devant les baies destinées à éclairer les intérieurs, cette peinture claire, d'un ton transparent, était complétement éteinte par l'intensité des tons des nouveaux vitraux. Le bleu, le rouge, entrant pour une forte part dans la coloration translucide des vitraux, donnaient aux tons ocreux un aspect louche, les verts devenaient gris et ternes, les blancs disparaissaient ou s'irisaient. Avec les vitraux colorés il fallait nécessairement des tons brillants sur les murs et encore, ces tons, pour prendre leur valeur, devaient être accompagnés et cernés de noirs comme les verres colorés eux-mêmes. Aussi voyons-nous que pendant le XIIIe siècle, l'harmonie de la peinture décorative des intérieurs se modifie. Si par des raisons d'économie on conserve encore de grandes surfaces claires, occupées seulement par des filets; les litres, les nervures des voûtes, leurs tympans, se colorent vivement, et cette coloration est d'autant plus brillante qu'elle s'éloigne de l'oeil. Nous avons un exemple remarquable de cette transition du système harmonique de la peinture décorative dans l'ancienne église des Jacobins d'Agen, bâtie vers le milieu du XIIIe siècle. Cette église, conformément à l'usage établi par l'ordre de Saint-Dominique, se compose de deux nefs séparées par une épine de piliers. Peinte avec simplicité, on voit cependant que l'artiste a voulu soutenir l'effet éclatant des verrières qui autrefois garnissaient les fenêtres.

Chacune des travées de cette salle (fig. 9) se compose d'une tapisserie bornée par les piliers engagés et par le formeret de la voûte. Une fenêtre, relativement étroite, s'ouvre au milieu de la tapisserie. En A est couché un ton uni sombre, avec filets; au-dessus est tracé un appareil brun rouge sur fond blanc, de B en C. Une litre est peinte en D; le tympan au-dessus de cette litre est occupé par un fond blanc avec deux écussons armoyés. Cette peinture est donc d'une extrême simplicité; les voûtes sont plus riches: non-seulement les nervures sont colorées ainsi que les clefs, mais sous les intrados des triangles de remplissages, de la clef centrale à celle des formerets, de larges bandes A (fig. 10) sont couvertes d'ornements peints d'un beau dessin. Quant aux triangles B, ils ne sont occupés que par un appareil tracé en brun rouge sur fond blanc. Or il est nécessaire d'observer que la couleur bleue n'apparaît que dans les ornements des voûtes et sur les écus armoyés. Toutes les tapisseries ne reçoivent d'autres tons que le jaune ocre, le brun rouge, le noir et le blanc laiteux.

Ainsi, figure 11, les litres indiquées en D dans la travée, figure 9, sont colorées au moyen de deux tons, ocre jaune et brun rouge avec parties blanches et fonds noirs. Les tiges de l'enroulement sont alternativement jaunes et rouges, ainsi que les feuilles et les grappes. Les feuilles jaunes sont cernées de rouge et de noir sur fond blanc, les feuilles rouges sont couchées à plat. Deux larges filets, jaunes en dedans, rouges en dehors, arrêtent le fond noir. Ces litres varient comme dessin à chaque travée, tout en conservant la même harmonie. Les nervures des voûtes, dont la section est donnée en S (fig. 12), sont couvertes chacune d'ornements variés dont nous donnons en G et en H deux échantillons. Ces ornements ne tiennent compte qu'à demi du profil, c'est-à-dire que, pour le dessin G, le milieu a de la nervure étant en a', l'arête b tombe en b', et l'arête c en c'.

Pour la nervure C les rosettes sont pourpres, bordées d'un filet blanc intérieur et d'un filet noir extérieur; l'oeil est jaune, bordé de noir; le fond est bleu intense (indigo). Pour la nervure H, les amandes sont jaunes bordées d'un filet blanc à l'intérieur, noir à l'extérieur; les rosettes sont blanches, avec oeil jaune bordé d'un filet noir; les fonds sont alternativement bleu intense et rouge; le vert apparaît dans d'autres nervures. Quant aux bandes des clefs de triangles, nous en donnons un échantillon dans la figure 13.

Toutes ces bandes sont variées, mais toutes détachent le dessin sur fond noir; les méandres sont brun rouge, bleu clair et blanc avec filet blanc sur la rive antérieure. Les palmettes sont blanches avec quelques parties bleu très-clair, modelées au moyen de hachures brun rouge. Le système harmonique de coloration de cette salle,--car cette église n'est à proprement parler qu'une salle à deux nefs,--est celui-ci: pour les parties verticales, les murs, les tapisseries, harmonie la plus simple, celle qui est donnée par les tons jaune et rouge sur fond blanc avec rehauts noirs; mais pour les voûtes, plus éloignées de l'oeil et que l'on ne voit qu'à travers l'atmosphère colorée par la lumière passant à travers des verrières brillantes de ton, harmonie dans laquelle le bleu clair et le bleu intense interviennent, et par suite le pourpre et le vert, le tout rehaussé par des fonds et filets noirs: fonds noirs pour les bandes des triangles des voûtes, filets noirs seulement pour redessiner les ornements des nervures. En effet, le redessiné noir devient nécessaire dès que l'on passe à une harmonie composée des trois couleurs, jaune, rouge et bleu avec leurs dérivés; car s'il y a une si grande différence de valeur entre le jaune et le rouge brun, qu'il n'est pas nécessaire de séparer le hrun rouge du jaune ocre par un trait noir, il n'en est pas ainsi quand on juxtapose deux couleurs dont les valeurs sont peu différentes, comme le pourpre et le bleu, le bleu et le rouge, le bleu clair et le jaune, le vert et le pourpre, etc.; le filet noir devient alors absolument nécessaire pour éviter la bavure d'un ton sur l'autre, et par suite la décomposition de l'un des deux. Ainsi, si vous couchez un ton bleu immédiatement à côté d'un ton pourpre, vous rendrez le pourpre gris et louche si le bleu est intense, où le bleu clair azuré, lilas même, si le pourpre est vif. Plus on s'éloignera de l'objet peint, plus cette décomposition de l'un des deux tons, et quelquefois des deux, sera complète. Mais si, entre ce bleu et ce pourpre vous interposez, comme dans l'exemple G (fig. 12), un filet noir et un filet blanc même doublant le noir, vous isolez chacun des tons, vous leur rendez leur valeur; ils influent l'un sur l'autre sans se confondre et se nuire par conséquent; ils contribuent à une harmonie, précisément parce qu'ils gardent chacun leur qualité propre et qu'ils agissent (qu'on nous passe le mot) dans la plénitude de cette qualité. En musique, pour qu'il y ait accord, il faut que chacune des notes données, devant concourir à l'accord, soit juste; mais si une seule de ces notes est fausse, l'accord ne saurait exister. Eh bien! il en est de même dans la peinture décorative: pour qu'il y ait accord, il faut que chaque ton conserve, à part lui, toute sa pureté; pour qu'il la conserve, il ne faut pas que sa coloration ou sa valeur soit faussée par le mélange d'un ton voisin, mélange qui se fait surtout à distance, si l'on n'a pas pris le soin de circonscrire chaque ton par du noir, qui n'est pas un ton. Le blanc seul serait insuffisant à produire cet effet, parce que le blanc se colore et subit le rayonnement des tons voisins. Le noir est absolu, il peut seul circonscrire chaque ton. Il faut donc établir entre les tons d'une peinture décorative cette échelle harmonique de valeurs dont nous avons parlé plus haut, mais, il faut aussi tenir compte du rayonnement plus ou moins prononcé de ces tons; rayonnement qui augmente en raison de la distance à laquelle l'oeil est placé. Ainsi, par exemple, le bleu rayonne plus qu'aucune autre couleur. Une touche bleue sur un fond jaune, près de l'oeil n'altère presque pas le jaune; à, distance, cette même touche bleue rendra le jaune vert sale et le bleu paraîtra gris. Si la touche bleue est cernée d'un trait noir, le jaune sera moins altéré; si entre la touche bleue et le jaune vous interposez un trait noir et un trait brun rouge, le fond jaune conservera sa valeur réelle, le brun rouge circonscrira entièrement le bleu, qui demeurera pur.

Les peintres décorateurs du moyen âge ont poussé aussi loin que possible cette connaissance de la valeur des tons, de leur influence et de leur harmonie; et si les essais qu'on a tentés de nos jours n'ont guère réussi, ce n'est point à ces peintres qu'il faut s'en prendre, mais à notre ignorance à peu près complète en ces matières. Le système harmonique simple pour les parties verticales plus près de l'oeil, composé déjà pour les voûtes, employé dans la décoration de l'église des Jacobins d'Agen, établit une transition des plus intéressantes à observer. Les décorateurs de cette salle ont été avares de bleu, et cependant, ne l'employant qu'en très-petites surfaces, ils ont immédiatement admis le pourpre, le vert et les filets noirs. Ils n'ont admis que deux tons bleus, le bleu intense (valeur indigo, mais moins azuré), et le bleu limpide (cobalt mélangé de blanc); quant au pourpre, il est brillant, comme celui qu'on pourrait obtenir avec un glacis de laque garance avec une pointe de bleu minéral sur une assiette de mine-orange posée claire. Les touches vertes, très-rares d'ailleurs, sont vives et tendent au jaune. Les bruns rouges sont éclatants, ils ont la valeur du vermillon avec plus de transparence. Les jaunes sont du plus bel ocre mélangé parfois d'une pointe de cinabre. D'or il n'en est pas une parcelle; c'est que l'or est commandé par la présence du bleu en grande surface. Nous l'avons dit tout à l'heure, le bleu est une couleur qui rayonne plus qu'aucune autre, c'est-à-dire que sa présence altère jusqu'à un certain point tous les autres tons; avec le bleu le rouge chatoie, le jaune verdit, les tons intermédiaires grisonnent ou sont criards. L'or seul, par ses reflets métalliques, peut rétablir l'harmonie entre les tons, quand le bleu apparaît en grande surface. L'or a cette qualité singulière, bien qu'il donne une gamme de tons jaunes, de ne pas être verdi par le bleu et de ne pas altérer son éclat. Il prend, dans ses ombres, des tons chauds qui tiennent lieu du brun rouge que nous interposions ci-dessus entre le jaune ocre et le bleu; dans les demi-teintes, il acquiert des reflets verdâtres qui ont une valeur puissante et qui azurent le bleu. Dans les clairs, il scintille et prend un éclat qui ne peut être altéré par aucun ton, si brillant qu'il soit. L'or devient ainsi comme un thème dominant des accords, thème assez puissant pour maintenir l'harmonie entre des tons si heurtés qu'ils soient. Il empêche le rayonnement du bleu, et l'azure tellement, qu'il faut le verdir pour qu'il ne paraisse pas violet; il éclaircit le rouge (vermillon) par la chaleur extraordinaire de ses ombres; il donne aux verts un éclat qu'ils ne pourraient avoir à côté de surfaces bleues; il réchauffe le pourpre par ses demi-teintes verdâtres. Ce n'est donc pas un désir assez vulgaire de donner de la richesse à une décoration peinte qui a fait employer l'or en si grande quantité pendant le XIIIe siècle, c'est un besoin d'harmonie imposé par l'adoption du bleu en grande surface, et l'adoption du bleu en grande surface est commandée par les vitraux colorés. Cette question mérite d'être examinée. Au XIIe siècle, ainsi que nous l'avons vu, on avait adopté une harmonie décorative simple et claire, composée de blanc, de tons jaunes, brun rouge, verdâtres, gris, gris ardoise, gris noir. Lorsque l'on en vint à poser des verrières très-vivement colorées, et que la lumière, éclairant les intérieurs, fut décomposée par l'interposition de ces vitraux, on s'aperçut bientôt que ces tons clairs s'alourdissaient et prenaient un aspect louche: on multiplia les traits noirs pour rendre de l'éclat à ces peintures; mais le noir lui-même, sous le rayonnement des verrières colorées, grisonnait. On mit des touches bleues, mais il était difficile de les harmoniser avec les jaunes ocres, et en petite surface ces bleus faisaient taches. Alors on prit un parti franc, on osa coucher des voûtes entièrement en bleu, non pas en bleu pâle comme dans certaines décorations de l'époque romane, mais en bleu pur, vif, éclatant. Il ne fallut qu'un essai de ce genre pour faire voir que cette hardiesse devait faire modifier tout le système harmonique de la peinture décorative. D'abord, les voûtes bleues éclairées par la lumière décomposée des vitraux prirent un aspect tellement azuré, qu'elles paraissaient presque violettes, d'un ton lourd que rien ne pouvait soutenir. Sur ces voûtes bleues on essaya, comme correctif et pour rendre au bleu sa valeur réelle, de poser des touches rouges, mais le chatoiement du rouge sur le bleu ne faisait qu'azurer davantage cette couleur. On essaya des étoiles blanches, mais les étoiles blanches paraissaient grises; puis enfin on appliqua des étoiles d'or. Immédiatement le bleu prit sa valeur, et au lieu de paraître écraser le vaisseau, il s'éleva et acquit de la transparence. Soit que ces touches d'or prissent la lumière, soit qu'elles restassent dans l'ombre, dans le premier cas, leur éclat jaune, brillant, métallique, adoucissait le ton bleu, dans le second, leur valeur d'un jaune brun très-chaud le bleuissait. Alors on put modifier ce ton bleu sans inconvénient, on le verdit un peu pour lui enlever tout aspect violet. Mais ce point de départ si intense, si brillant, si puissant, devait faire changer toute la gamme des tons admis jusqu'alors. Pour soutenir des voûtes bleues rehaussées de points d'or, aucune couleur n'était trop brillante ni trop intense, il fallut admettre le vermillon, et même le vermillon glacé de laque, les verts brillants, les pourpres transparents, et au milieu de tout cela jeter l'or comme élément harmonique, saillant, dominant le tout. On alla même jusqu'à plaquer des fonds d'émail ou de verre coloré et doré simulant un émail, des gaufrures dorées, des applications de verroteries. C'est ainsi que fut comprise la coloration de la sainte Chapelle du palais. Aucun genre de décoration n'est plus entraînant que la peinture. Si vous montez un ton, il faut monter tous les autres pour conserver l'accord; la première couche de couleur que vous posez sur une partie est une sorte d'engagement que vous vous imposez, qu'il faut rigoureusement tenir jusqu'au bout, sous peine de ne produire qu'un barbouillage repoussant. Depuis longtemps on se tire d'affaire avec de l'or; quand l'harmonie ne peut se soutenir, qu'elle n'a pas été calculée, on prodigue l'or. Mais l'or (qu'on nous permette l'expression) est un épice, ce n'est pas un mets; en jeter partout, toujours et à tout propos, peut-être n'est-ce qu'un aveu d'impuissance. Il est des peintures d'un aspect très-riche sans que l'or y entre pour la plus faible parcelle. L'or est l'appoint presque obligé du bleu; mais on peut produire un effet très-brillant sans bleu, et par conséquent sans or. Les peintures du donjon de Coucy, où il n'entre pas une parcelle de bleu ni d'or, sont vives, gaies, harmonieuses, chaudes et riches. Celles du réfectoire de la commanderie du Temple, à Metz 79, sont d'un éclat merveilleux, et l'or ni le bleu ne s'y trouvent. Cette peinture date de la première moitié du XIIIe siècle; elle décore une salle composée de deux nefs, avec une épine de colonnes portant un plafond en charpente (fig. 14, voy. le plan A). Sur les colonnes est posée une poutre maîtresse qui reçoit un solivage.

La poutre, les solives et les parois de la muraille sont entièrement revêtues de peintures. En B, nous indiquons la peinture des murailles dont le fond se modifie, comme dessin, à chaque travée. Toute l'ornementation ne comporte que le blanc pour les fonds, le jaune (ocre) et le rouge (ocre). Entre chaque solive a est un dessin représentant des animaux se détachant en brun rouge vif sur fond blanc. Au-dessous est une frise b dont l'ornement est blanc sur fond brun rouge clair, avec redessinés brun rouge foncé. Puis, au droit de chaque colonne, un dais c tracé de même en brun rouge, avec figure d. Entre chaque dais les fonds e se composent d'un semis brun rouge sur blanc. Le soubassement f consiste en de larges denticules brun rouge, avec intervalles jaune ocre g et feuillages brun rouge clair rehaussés de traits noirs. La poutre maîtresse, par-dessous, donne le dessin h composé d'un onde brun rouge sur le blane, avec larges bordures jaunes. Les solives i sont toutes variées: les unes figurent un vairé blanc sur fond gris, avec filets brun rouge; d'autres, des chevrons alternativement blancs, rouges et jaunes séparés par des traits noirs. Sur ces faces, la poutre maîtresse l présente des chevaliers chargeant peints et redessinés en rouge brun sur fond blanc, avec rosettes également rouges. Toute la décoration de cette salle ne consiste donc qu'en deux tons, le jaune ocre et le rouge ocre sur fond blanc, avec quelques rares touches grises. À l'aide de ces moyens si simples, l'artiste a cependant obtenu un effet très-brillant, très-vif et d'une harmonie parfaite. Mais ici le bleu ni l'or n'interviennent dans la peinture.

On observera que les parties qui figurent des membres d'architecture, comme le dais c, par exemple, ne prétendent pas simuler une ornementation en relief. Cette architecture peinte est toute de convention; c'est un hiéroglyphe. On ne songeait pas alors, pas plus que pendant la bonne antiquité, à faire des trompe-l'oeil. Cette façon d'interpréter en peinture certaines formes architectoniques mérite quelque attention, c'est une partie importante de cet art. Il ne s'agit point de reproduire exactement les dimensions relatives, le modelé, l'apparence réelle des reliefs, des moulures, des colonnes et des chapiteaux, mais d'interpréter ces formes et de les faire entrer dans le domaine de la peinture. De fait, si l'on prétend modeler, par exemple, une arcature en pierre par des tons, admettant que l'on puisse produire quelque illusion sur un point, il est certain qu'en regardant ce trompe-l'oeil obliquement, non-seulement l'illusion est impossible, mais ces surfaces qui n'ont pas de saillies, ces moulures et profils qui ne se soumettent pas aux lois de la perspective, produisent l'effet le plus désagréable. Le trompe-l'oeil, dans ce cas, est une satisfaction puérile que se donne le peintre à lui-même, considérant l'objet qu'il veut rendre sur un point; il ne fait pas une peinture décorative, mais seulement un tour d'adresse. La belle antiquité et le moyen âge n'ont pas compris de cette manière la peinture décorative. Les peintres du XIIIe siècle voulaient-ils décorer un soubassement par une arcature que l'architecte n'avait pu obtenir en réalité, ils interprétaient les formes architectoniques de cette manière (fig. 15 80).

À l'aide de couchés à plat en ocre jaune et de dessins brun rouge sur fond blanc, ils obtenaient une décoration très-riche, très-facile à exécuter, peu dispendieuse, et qui, en réalité, produit un effet beaucoup plus décoratif que ne pourrait le faire une peinture en trompe-l'oeil. Ici les tympans entre les arcs, et les voiles tendus, ainsi que le filet J, sont couchés en ocre jaune; tout le reste de l'arcature, ainsi que les redessinés et bordures des voiles, les ornements des tympans, est en brun rouge; le fond est blanc laiteux. Ces procédés si simples, que l'on peut faire employer par les ouvriers les plus ordinaires, expliquent comment la peinture s'appliquait alors aussi bien à des édifices modestes qu'à des chapelles et à des salles somptueuses. Supposons le fond de cette arcature en bleu intense, les formes en or redessinées de noir, les voiles et tympans pourpre clair ou vert clair avec damasquinage d'or, et nous aurons un soubassement d'une extrême richesse, qui cependant ne présentera aucune difficulté d'exécution. Dans la peinture modeste comme dans la peinture somptueuse, nous aurons une dose égale d'art; cela, en vérité, vaut mieux que les marbres peints, et l'apparence grossière et barbare de la richesse que l'on cherche généralement dans la peinture décorative, en essayant, sans jamais y parvenir, bien entendu, à tromper le spectateur sur la valeur réelle de l'objet décoré. Nous avons conservé quelques restes de ces bonnes traditions dans nos papiers peints. Aussi se vendent-ils dans le monde entier comme des oeuvres d'art.

On a vu précédemment que les verrières très-colorées avaient imposé une grande variété et une grande intensité de tons dans la peinture murale, ainsi que l'appoint de l'or. Mais des raisons d'économie ne permettaient pas toujours d'adopter résolûment cette harmonie compliquée que l'on ne pouvait obtenir qu'avec des ressources étendues. Il est intéressant de voir comment les artistes se sont tirés d'affaire en pareil cas, en ne pouvant employer l'or, ni le bleu par conséquent, et en se bornant à l'harmonie simple, celle qui ne comporte que le rouge, le jaune, le blanc, le noir et quelques intermédiaires, comme le gris et le vert.

Le choeur de l'église Saint-Nazaire de Carcassonne, ancienne cathédrale, est une véritable lanterne garnie de vitraux d'un éclat et d'une richesse de ton incomparables. Pour soutenir la coloration translucide de ces verrières, on a cru devoir peindre ce choeur, mais probablement les ressources étaient minimes, et l'on a visé à l'économie. Ne pouvant employer l'or, les peintres n'ont pas adopté le bleu; ils se sont contentés de l'harmonie simple, et voici comment ils ont procédé. Les verrières formant la surface totale des parois, il ne restait à peindre que l'arcature du soubassement, les piles et la voûte. La figure 16, donnant la projection horizontale de cette voûte, on a réservé le triangle A pour y tracer un sujet: le Christ dans sa gloire; tous les autres triangles ont été divisés aux clefs par des bandes b. Dans les quatre demi-triangles c ont été tracées des figures d'anges sur fonds blancs étoilés de rouge. Quant aux autres fonds des voûtes, ils ont été alternativement couchés en blanc et en ocre rouge, ainsi que l'indique le tracé, la lettre B marquant les fonds blancs et la lettre R les fonds rouges. Cela était hardi, on en conviendra. Pour soutenir la valeur de ces tons placés sous les voûtes, non-seulement celles-ci ont été coupées par les bandes des clefs, mais elles ont été bordées d'ornements très-vifs de tons et très-détaillés. Les nervures ont été de même couvertes d'ornements menus d'une extrême vivacité.

Voici (fig. 17) un détail de la partie de la voûte occupée par le Christ. Le personnage divin est vêtu d'une robe pourpre se rapprochant du violet, avec doublure vert clair; son nimbe seul est or; aussi la seconde auréole a, peinte derrière ses épaules, est-elle bleue. C'est la seule touche bleue de toute la voûte. Le fond du Christ est rouge vif, les animaux sont en grisaille, ainsi que l'auréole externe. Le fond des séraphins est brun rouge. Les deux anges et les deux séraphins sont en grisaille, avec ailes jaunes. Quant au fond F des autres grands anges, il est blanc étoilé de rouge, comme nous l'avons dit. Ceux-ci sont vêtus de jaune, avec ailes en grisaille.

La figure 18 donne les détails de la peinture de ces voûtes. En A est l'arc-doubleau, tracé en A' sur la fig. 17. Le listel b est peint de carrés alternativement vermillon et brun rouge bordés de larges traits noirs, avec demi-carrés ocre jaune. La gorge c est brun rouge. Le boudin d est orné d'une torsade alternativement noire, ocre jaune et brun rouge, chaque ton étant séparé par un filet blanc. La gorge d' est brun rouge. Le second listel e est rempli par de petits quatre-feuilles ocre jaune et brun rouge bordés d'un filet blanc, avec fond noir. La gorge f est brun rouge. Le second boudin possède sur sa partie supérieure des carrés vermillon bordés de filets blancs; le fond est ocre jaune; la gorge au-dessous est ocre jaune. Le listel h se décore par des quatre-feuilles alternativement brun rouge et ocre jaune sur fond noir et bordés de filets blanc.

Les arêtes B ont leur listel i semblable au listel e. La gorge k est brun rouge, le boudin l torsadé comme le boudin d. La gorge m possède des petits carrés gris ardoise sur fond ocre jaune, avec filet blanc inférieur. Le boudin extrême n est couvert de quatre-feuilles vermillon sur fond noir, avec filets blancs. Le filet extrême o est également blanc. En C, nous donnons l'une des bordures couchées sur les voûtes à côté des arêtes; ces bordures sont toutes à peu près semblables. Le fond du dessin est brun rouge vif; les quatre-feuilles vermillon, avec carrés noir-bleu; ils sont cernés d'un trait noir et d'un bord blanc; les carrés intermédiaires sont ocre jaune et le petit enroulement blanc. Un large filet blanc borde ces bandes; il est doublé d'un autre filet brun rouge clair, avec carrés gris ardoise et traits noirs. L'une des étoiles est figurée en p. Ces étoiles, qui sont rouges sur les fonds blancs des voûtes, sont blanches sur les fonds brun rouge. En D, nous donnons une des bandes de clefs des voûtes; leur coloration consiste en un ornement blanc quelque peu modelé de traits rouges, sur fond vermillon; un large filet brun rouge les divise par le milieu dans leur longueur; des filets blancs arrêtent les fonds vermillon et sont bordés extérieurement de filets noirs. Ces voûtes étant supportées par des faisceaux de fines colonnettes, celles-ci sont simplement colorées de tons alternativement jaunes et rouges, avec gorges noires ou rouges garnies de carrés noirs et filets blancs; les chapiteaux ont leurs feuillages peints en ocre jaune sur fond brun sombre. À l'entrée du choeur, des demi-colonnes G d'un assez fort diamètre, 0m,40, sont décorées de peintures dont nous donnons le détail développé en G'. Ce sont des carrés à quatre lobes alternativement vert bleu et ocre jaune, sur les fonds desquels se détachent des ornements jaune foncé sur le bleu verdâtre, blancs sur le jaune. Les intervalles t sont ocre jaune, avec ornements blancs dont nous traçons un fragment à une plus grande échelle en S. Les carrés lobés sont cernés d'un trait brun rouge et d'un champ blanc. Les filets externes de la demi-colonne sont blancs, brun rouge et ocre jaune. Sous les fenêtres il règne une arcature très-riche 81 peinte d'écus armoyés sur des fonds verts. Des mitres surmontent les écus. Les boudins sont ornés de torsades blanches, noires et rouges; les gorges, de tons verts, avec carrés semés noirs. Des filets blancs et rouges bordent les fonds. Malgré l'éclat des vitraux, cette coloration se soutient et s'harmonise parfaitement avec les tons translucides. Ces voûtes à triangles blancs et rouges alternés, avec leurs bandes de clefs d'un ton brillant, et leurs bordures riches, sont d'un effet très-chaud et très-solide. Les membres de l'architecture, vivement détachés par des détails très-fins où le noir joue un rôle important, se distinguent bien des remplissages, tout en paraissant légers. Ces peintures datent du commencement du XIVe siècle, comme la construction elle-même.

Il était nécessaire de prendre un parti franc lorsqu'on prétendait décorer de peintures l'architecture dite gothique. Il fallait que cette peinture laissât dominer entièrement l'éclat des vitraux colorés, ou qu'elle pût soutenir cet éclat et y participer; il était important surtout que les formes de la construction, qui ont une si grande importance à dater du XIIIe siècle dans les édifices, fussent accusées nettement par le système de peinture. Si l'on admettait les voûtes bleues étoilées d'or, par exemple, il fallait que les nervures des voûtes fussent assez brillamment colorées pour soutenir ces fonds puissants de ton et les renvoyer pour ainsi dire à un autre plan. L'or était d'un grand secours en ces occasions, ainsi que le noir cernant des tons vifs, comme le vermillon et le vert. La peinture des nerfs de voûtes ainsi montée, il fallait, pour la soutenir, des tons non moins vifs sur les faisceaux composant les piles, d'autant que le rayonnement des couleurs des vitraux tendait à atténuer la coloration de ces piles, souvent très-minces. Ce n'était alors que par des gorges d'un ton très-chaud et très-sombre, comme le brun rouge glacé de laque, ou le pourpre très-puissant, ou le noir brun, que l'on pouvait combattre le grisonnement que répandait le rayonnement des verrières sur ces surfaces voisines. Il fallait même, pour donner à certaines couleurs, comme le vermillon, tout leur éclat, les semer de touches opposées. Ainsi sur la colonnette couchée en vermillon, on semait des touches bleu clair cernées toujours de noir; ou sur la colonnette couchée en bleu clair, des touches d'un pourpre vif; sur celle couchée en bleu intense, des touches pourpre rose. L'or venait aussi, bien entendu, prêter son éclat à ces faisceaux de colonnettes dévorées par la juxtaposition des couleurs translucides, lorsque le bleu entrait pour une grande part dans l'harmonie générale. Les arcatures ou tapisseries disposées au-dessous des fenêtres, moins dévorées par les vitraux et plus près de l'oeil, pouvaient reprendre des tons plus doux et plus clairs, et alors les faisceaux de colonnettes passant devant elles se détachaient en vigueur et en éclat. Ce parti était parfaitement compris dans la peinture de la sainte Chapelle haute du palais 82. En effet, dans le système de peinture adopté pour cet intérieur, toutes les parties qui portent, qui forment l'ossature et les nerfs de l'édifice, se détachent en vigueur et en éclat. Les fonds sont au contraire doux et tenus au second plan.

Les peintres décorateurs du moyen âge, pour circonscrire le rayonnement des vitraux colorés, employaient certains moyens d'un effet sûr. Si les fenêtres possédaient des ébrasements, comme au commencement du XIIIe siècle, par exemple, ceux-ci étaient décorés d'ornements très-vivement accusés par la différence des tons. Ces dessins étaient noirs et blancs, comme celui présenté en A dans la figure 19, ou brun rouge noir et blanc, comme celui tracé en B. Ces couleurs tranchées, atténuées par l'effet de la lumière décomposée passant à travers des vitraux colorés, conservaient assez de vigueur et de netteté pour border les peintures translucides, et prenaient des tons harmonieux par le rayonnement de ces peintures. Si les fenêtres, comme la plupart de celles qui se voient dans les édifices du milieu des XIIIe siècle, se composaient de meneaux formant de légers faisceaux de colonnettes, celles-ci se couvraient de tons très-voisins du noir, ainsi que le brun rouge foncé, le vert bleu très-intense, l'ardoise sombre, le pourpre brun. Ces lignes obscures faisaient un encadrement à la verrière; mais cependant les vitraux colorés étant toujours bordés d'un mince filet de verre blanc, comme pour les mettre en marge et empêcher la bavure des tons translucides sur l'architecture, le long de ce filet blanc transparent on peignait le solin en vermillon, afin de mieux faire ressortir l'éclat de la ligne lumineuse (voy. VITRAIL).

Indépendamment de la coloration et du système harmonique des tons de la peinture décorative, les artistes des XIIe et XIIIe siècles notamment donnaient aux dessins des ornements peints des formes qui convenaient à la place qu'ils occupaient dans l'architecture. En effet, le dessin d'un ornement appliqué sur une surface modifie sensiblement celle-ci, comme nous l'avons indiqué sommairement dans la figure 6. Les litres, les bandeaux, se couvrent d'ornements courant horizontalement. Les piliers, les colonnes, les surfaces verticales, qui portent et doivent paraître rigides, ont leur surface occupée par des ornements ascendants.

Voici quelques exemples (fig. 20) d'ornements empruntés à des peintures couvrant des colonnes des XIIe et XIIIe siècles. L'exemple A provient de colonnes des chapelles absidales de Saint-Denis. Il présente une torsade vert clair sur fond blanc jaune, bordée d'un filet brun rouge, avec perlé blanc à cheval sur le rouge et le vert 83. Les exemples B proviennent de colonnes de l'église de Romans (Drôme). Celui B donne un treillis de feuillages rouges sur fond vert bleu; celui Ba, un losangé vert bleu, avec dessins brun rouge sur fond blanc; celui Bb, un vairé brun sombre et vert sur blanc; celui Bc, un chevronné vert et rouge sur fond blanc, avec filet brun interposé. Le dessin C, qui est tracé sur un fût d'une colonne de l'église Saint-Georges de Boscherville, est un chevronné rouge laqueux et vert vif sur fond blanc, avec filet brun rouge vif interposé 84. L'exemple D, très-fréquent au XIIIe siècle, donne aux colonnes de la finesse et de la rigidité. Les ressauts des lignes verticales ont l'avantage de faire sentir la surface cylindrique de la colonne, toujours détruite par les cannelures, surtout si ces colonnes sont grêles. C'est ce besoin de conformer l'ornement peint à la structure, et d'appuyer même celle-ci par le genre de peinture, qui a fait adopter ces appareils si fréquents dans la décoration colorée des XIIe et XIIIe siècles particulièrement.

Ces appareils sont très-simples ou riches, ainsi que le fait voir la figure 21, blancs sur fond jaune ocre, ou, plus fréquemment, brun rouge sur fond blanc ou sur fond jaune pâle; les lignes ainsi filées au pinceau sur de grandes surfaces, simples, doublées, triplées ou accompagnées de certains ornements, présentent une décoration très-économique, faisant parfaitement valoir les litres, les bandeaux, les faisceaux de colonnes, les bordures couvertes d'une ornementation plus compliquée et de couleurs brillantes.

Dans les intérieurs, lorsque les parois et les piles sont peintes, la sculpture, naturellement, se couvre de couleurs; car il est à observer que les artistes du moyen âge, comme ceux de l'antiquité, n'ont pas admis la coloration partielle; ou bien ils n'ont pas peint les intérieurs, ou ils les ont peints entièrement. S'ils ne disposaient que de ressources minimes, quelquefois cette peinture n'était, sur une grande partie des surfaces, qu'un badigeon; mais ils pensaient que la peinture appelait la peinture, et qu'une litre colorée ne pouvait se poser toute seule sur un mur conservant son ton de pierre. C'est là un sentiment d'harmonie très-juste. S'il est parfois des exceptions à cette règle, c'est quand la peinture n'est considérée que comme un redessiné de la forme. On voit certaines sculptures de chapiteaux, par exemple, et des bas-reliefs, dont les ornements ou les figures sont redessinés en noir ou en brun rouge; certaines gorges de nervures ou de faisceaux de colonnettes remplies d'un ton brun, pour tracer la forme: mais cela n'est plus de la peinture, c'est du dessin, un moyen d'insister sur des formes que l'on veut faire mieux saisir. Parfois aussi, comme dans les voûtes du choeur de la cathédrale de Meaux, par exemple, on a eu l'idée de distinguer les claveaux des arcs ogives ou des arcs-doubleaux au moyen de deux tons différents. Ce sont là des exceptions. À l'article STATUAIRE, nous parlerons du mode de coloration des imageries et des statues, car les artistes du moyen âge ont le plus souvent admis, comme les Grecs de l'antiquité, que la statuaire devait être colorée. Quant à la sculpture d'ornement des intérieurs, tenue dans des tons clairs sur fonds sombres pendant l'époque romane et le XIIe siècle, vert clair ou jaune ocre sur fonds brun, pourpre et même noir, elle se colore plus vivement pendant le XIIIe siècle, et surtout pendant le XIVe, afin de se détacher en vigueur sur les parties simples, conformément au parti que nous avons signalé plus haut. Si l'or apparaît dans la décoration, les feuillages des chapiteaux sont dorés en tout ou partie sur fonds pourpre, bleu, ou vermillon. Si l'or est exclu, les ornements se couvrent de tons jaune, vert vif, sur fonds très-vigoureux, et le jaune est redessiné de traits noirs comme l'or; car jamais la dorure n'est posée sans être accompagnée d'épaisseurs et de dessous rouges, avec redessinés noirs, afin de nettoyer et d'éclaircir les formes de la sculpture. Ces traits noirs sont brillants, posés au moyen d'une substance assez semblable à notre vernis, et ont toujours un oeil brun. De cette manière la dorure prend un éclat et un relief merveilleux, elle n'est jamais molle et indécise. Si la dorure est posée en grandes surfaces, comme sur des fonds ou sur des draperies de statues, des gaufrures ou un glacis donnent un aspect précieux et léger à son éclat; on évite ainsi ces reflets écrasants pour la coloration voisine, les lumières trop larges et trop uniformément brillantes.

Terminons cet aperçu de la décoration peinte des intérieurs par une remarque générale sur le système adopté par les artistes du moyen âge. Tout le monde a vu des tapis dits de Perse, des châles de l'Inde, chacun est frappé de l'éclat doux et solide de ces étoffes et de leur harmonie incomparable. Eh bien! que l'on examine le procédé de coloration adopté par ces tisserands orientaux. Ce procédé est au fond bien simple. Mettant de côté le choix des tons, qui est toujours sobre et délicat, nous verrons que sur dix tons huit sont rompus, et que la valeur de chacun d'eux résulte de la juxtaposition d'un autre ton. Défilez un châle de l'Inde, séparez les tons, et vous serez surpris du peu d'éclat de chacun d'eux pris isolément. Il n'y aura pas un de ces pelotons de laine qui ne paraisse terne en regard de nos teintures, et cependant, lorsqu'ils ont passé sur le métier du Tibétain et qu'ils sont devenus tissus, ils dépassent en valeur harmonique toutes nos étoffes. Or cette qualité réside uniquement dans la connaissance du rapport des tons, dans leur juste division, en raison de leur influence les uns sur les autres, et surtout dans l'importance relative donnée aux tons rompus. Il ne s'agit pas en effet, pour obtenir une peinture d'un aspect éclatant, de multiplier les couleurs franches et de les faire crier les unes à côté des autres, mais de donner une valeur singulière à un point par un entourage neutre. Un centimètre carré de bleu turquoise sur une large surface brun mordoré acquerra une valeur et une finesse, telles qu'à dix pas cette touche paraîtra bleue et transparente. Quintuplez cette surface, non-seulement elle semblera terne et louche, mais elle fera paraître le ton brun chaud qui l'entoure lourd et froid. Il y a donc là une science, science expérimentale, il est vrai, mais que nos décorateurs possédaient à merveille pendant le moyen âge, ainsi qu'ils l'ont prouvé dans la peinture de leurs monuments, de leurs vignettes de manuscrits et de leurs vitraux; car ces lois, impérieuses déjà dans la coloration monumentale, sont bien autrement tyranniques encore dans la coloration translucide des vitraux, où chaque touche de couleur prend une si grande importance.

Les procédés employés par les peintres pour décorer les intérieurs étaient déjà très-perfectionnés au XIIIe siècle, ainsi qu'on en peut juger en examinant les peintures anciennes de la sainte Chapelle et celles de certains retables de la même époque 85. Alors les vernis et même la peinture à l'huile étaient en usage. Au XIVe siècle, il paraît même qu'on faisait un emploi fréquent de ce dernier procédé, en France, en Italie et en Allemagne 86. M. Émeric David, dans ses Discours historiques sur la peinture moderne 87, démontre d'une manière évidente que dès le XIe siècle les peintres employaient les couleurs broyées avec de l'huile de lin pure, et le devis des peintures exécutées par ordre du duc de Normandie (depuis Charles V) dans le château de Vaudreuil, en 1355, par Jehan Coste, prouve que le procédé de la peinture à l'huile était alors connu en France et pratiqué non-seulement pour les meubles et menus ouvrages, mais aussi pour la décoration sur les murs. Ce devis commence ainsi:

«Premièrement pour la salle assouvir en la manière que elle est commenciée ou mieux; c'est assavoir: parfaire l'ystoire de la vie de César, et au-dessouz en la derreniere liste (litre) une liste de bestes et d'images, einsi comme est commencée.

Item la galerie à l'entrée de la salle en laquelle est la chace parfaire, einsi comme est commencée.

Item la grant chapelle fere des ystoires de Notre Dame, de sainte Anne et de la Passion entour l'autel, ce qui en y pourra estre fet, etc.

Et toutes ces choses dessus devisées seront fetes de fines couleurs à l'huile, et les champs de fin or enlevé (en relief)... etc.»

Les glacis, fréquemment employés dans la peinture décorative, à dater du XIIIe siècle, la finesse de ces peintures, leur solidité et leur aspect brillant, indiquent un procédé permettant toutes les délicatesses de modelé et de coloration. Avec la peinture à l'huile, les artistes des XIVe et XVe siècles, en France, employaient aussi une peinture dans laquelle il entre, comme gluten, un principe résineux très-dur et très-transparent, ainsi que la gomme copal par exemple. Peut-être les deux éléments, l'huile et la résine, étaient-ils simultanément employés, la gomme copal tenant lieu alors de siccatif. L'analyse de quelques-unes de ces peintures présente souvent en effet une certaine quantité de résine.

La peinture décorative ne s'appliquait pas seulement aux parois des intérieurs, elle jouait un rôle important à l'extérieur des édifices. La façade de Notre-Dame de Paris présente de nombreuses traces de peintures et de dorures, non pas posées sur les nus des murs, mais sur les moulures, les colonnes, les sculptures d'ornement et la statuaire. On peut faire la même observation sous les porches de la cathédrale d'Amiens; et les ornements placés au sommet des grands pignons du transsept de la cathédrale de Paris, qui datent de 1257, étaient dorés avec fonds rouge sombre et noir.

La coloration appliquée à l'extérieur est beaucoup plus heurtée que ne l'est celle des intérieurs; ce sont des tons rouge vif (vermillon glacé d'un ton pourpre très-brillant), des tons vert cru, des jaune ocre orangé, des noirs et des blancs purs, rarement des bleus. C'est qu'en effet, à l'extérieur, la vivacité de la lumière directe et des ombres permet des duretés de coloration qui ne seraient pas supportables sous la lumière tamisée et diffuse des intérieurs.

La statuaire, suivant la méthode antique, est redessinée par des linéaments noir brun, qui accusent les traits des têtes, les bords des draperies, les broderies, les plis des vêtements. Les ornements sont de même très-fortement redessinés par ces traits noirs, soit sur les fonds, soit sur les rives. Quelquefois, sous les saillies des larmiers, des bandeaux ou corniches, les boudins couchés d'un ton rouge ou vert étaient rehaussés de perlés blancs ou jaunes qui donnaient une singulière finesse aux moulures. Nous sommes devenus si timides, en fait de peinture monumentale, que nous ne comprenons guère aujourd'hui cette expression de l'art. Il en est de la peinture appliquée à l'architecture comme d'une composition musicale qui, pour être comprise, doit être entendue plusieurs fois. Et s'il y a vingt ans, personne à Paris ne comprenait une symphonie de Beethoven, on ne saurait s'en prendre à Beethoven. L'harmonie est un langage pour les oreilles comme pour les yeux; il faut se familiariser avec lui pour en saisir le sens. Quelques personnes éclairées admettent volontiers que les intérieurs des édifices peuvent bien être décorés de peintures; mais l'idée de décorer les extérieurs semble très-étrange, surtout s'il s'agit de les décorer, non point par quelques tympans sous des porches, mais par un ensemble de coloration qui s'étendrait sur presque toute une façade.

Cependant les artistes du moyen âge n'eurent jamais l'idée de couvrir entièrement de couleur une façade de 70 mètres de hauteur sur 50 de large, comme celle de Notre-Dame de Paris. Mais sur ces immenses surfaces ils adoptaient un parti de coloration. Ainsi à Notre-Dame de Paris les trois portes avec leurs voussures et leurs tympans étaient entièrement peintes et dorées; les quatre niches reliant ces portes, et contenant quatre statues colossales, étaient également peintes. Au-dessus, la galerie des rois formait une large litre toute colorée et dorée. La peinture, au-dessus de cette litre, ne s'attachait plus qu'aux deux grandes arcades avec fenêtres, sous les tours, et à la rose centrale qui étincelait de dorures. La partie supérieure, perdue dans l'atmosphère, était laissée en ton de pierre. En examinant cette façade, il est aisé de se rendre compte de l'effet splendide que devait produire ce parti si bien d'accord avec la composition architectonique. Dans cette coloration le noir jouait un rôle important; il bordait les moulures, remplissait des fonds, cernait les ornements, redessinait les figures en traits larges et posés avec un sentiment vrai de la forme. Le noir intervenait là comme une retouche du maître, pour lui enlever sa froideur et sa sécheresse; il ne faisait que doubler souvent un large trait brun rouge. Les combles étaient brillants de couleurs, soit par la combinaison de tuiles vernissées, soit par des peintures et dorures appliquées sur les plombs (voy. PLOMBERIE). Quelquefois même des plaques de verre posées dans des fonds sur un mastic, avec interposition d'une feuille d'étain ou d'or, ajoutaient des touches d'un éclat très-vif au milieu des tons mats. Pourquoi nous privons-nous de toutes ces ressources fournies par l'art? Pourquoi l'école dite classique prétend-elle que la froideur et la monotonie sont les compagnes inséparables de la beauté, quand les Grecs, que l'on nous présente comme les artistes par excellence, ont toujours coloré leurs édifices à l'intérieur comme à l'extérieur, non pas timidement, mais à l'aide de couleurs d'une extrême vivacité?

À dater du XVIe siècle on a renoncé à la peinture extérieure de l'architecture, et n'est-ce que peu à peu que la coloration disparaît; encore au commencement du XVIIe siècle cherchait-on les effets colorés à l'aide d'un mélange de brique et de pierre, parfois même de faïences appliquées.

Note 54: (retour) «Tunc es pictor ille, qui, tempore Chlothacharii regis, per oratotia parictes atque cameras caraxabas.» (Greg. Turon., Hist. Franc., lib. VII, cap. XXXVI.)
Note 55: (retour) «Basilicas sancti Perpetui adustas incendio reperi, quas in illo nitore vel pingi, vel exornari, ut prius fuerant, artificum nostrorum opere, imperavi.» (Lib. X, cap. XXXI, § 19.)
Note 56: (retour) Frodoard, Hist. de l'église de Reims, chap. v.
Note 57: (retour) Nous avons vu beaucoup de traces de ces sortes de peintures sur des fragments de monuments gallo-romains des bas temps; malheureusement ces traces disparaissent promptement au contact de l'air.
Note 58: (retour) Voyez, entre autres, le Ms. de la bibl. Coll. Nero. D. IV, Évang. lat. Sax.
Note 59: (retour) La Bibliothèque impériale en possède quelques-uns d'une rare beauté.
Note 60: (retour) Ces peintures datent de la seconde moitié du XIe siècle en grande partie.
Note 61: (retour) Voyez la Notice sur les peintures de l'église de Saint-Savin.--M. Mérimée, auquel nous empruntons ce passage, ajoute un peu plus loin ces observations, que nous devons signaler. «... Presque toujours les figures se détachent sur une couleur claire et tranchante, mais il est difficile de deviner ce que le peintre a voulu représenter. Souvent une suite de lignes parallèles de teintes différentes offre l'apparence d'un tapis; mais cela n'est, je pense, qu'un espèce d'ornementation capricieuse, sans aucune prétention à la vérité, et le seul but de l'artiste semble avoir été de faire ressortir les personnages et les accessoires essentiels à son sujet. À vrai dire, ces accessoires ne sont que des espèces d'hiéroglyphes ou des images purement conventionnelles. Ainsi les nuages, les arbres, les rochers, les bâtiments, ne dénotent pas la moindre idée d'imitation; ce sont plutôt, en quelque sorte, des explications graphiques ajoutées aux groupes de figures pour l'intelligence des compositions.

«Blasés aujourd'hui par la recherche de la vérité dans les petits détails que l'art moderne a poussée si loin, nous avons peine à comprendre que les artistes d'autrefois aient trouvé un public qui admit de si grossières conventions. Rien cependant de plus facile à produire que l'illusion, même avec cette naïveté de moyens qui semblent l'éloigner. Assurément un mur de scène de marbre, avec sa décoration immobile, n'empêchait pas les Grecs de s'intéresser à une action qui devait se passer dans une forêt ou parmi les rochers du Caucase; et le parterre de Shakspeare, en voyant deux lances croisées au fond de la grange qui servait de théâtre, comprenait qu'une bataille avait lieu: la péripétie l'agitait, et chacun frémissait aux cris de Richard offrant tout son royaume pour un cheval. À côté de cette indifférence pour les détails accessoires, ou si l'on veut, de cette ignorance primitive, on remarque parfois une imitation très-juste et un sentiment d'observation très-fin dans les attitudes et les gestes des personnages. Les têtes, bien que dépourvues d'expression, se distinguent souvent par une noblesse singulière et une régularité de traits qui rappelle, de bien loin, il est vrai, les types que nous admirons dans l'art antique...»

Note 62: (retour) Liv. l, chap. III.
Note 63: (retour) Voyez à ce sujet le Manuel d'iconographie chrétienne, traduit du manuscrit byzantin: Le Guide de la peinture, par le docteur Paul Durand, avec une introduction et des notes de M. Didron. L'auteur de ce guide, Denis, vivait au XIe siècle.

«Le canon suivant,» dit M. Didron dans une de ses notes (Introduction, p. VIII), du second concile de Nicée, comparé au passage de l'évêque de Mende, exprime à merveille la condition de dépendance où vivaient les artistes grecs... «Non est imaginum structura pictorum inventio, sed Ecclesiæ catholicæ probata legislatio et traditio. Nam quod vetustate excellit venerandum est, ut inquit divus Basilius. Testatur hoc ipsa rerum antiquitas et patrum nostrorum, qui Spiritu sancto feruntur, doctrina. Etenim, cum has in sacris templis conspicerent, ipsi quoque animo propenso veneranda templa exstruentes, in eis quidem gratas orationes suas et incruenta sacrificia Deo omnium rerum domino offerunt. Atqui consilium et traditio ista non est pictoris (ejus enim sola ars est), verum ordinatio et dispositio patrum nostrorum, quæ ædificaverunt.» (SS. Concil. Phil. Labbe, t. VII, Synod. Nicæna II, actio VI, col. 831 et 832.) De fait le concile de Nicée n'avait pas tout à fait tort, et les plus belles peintures byzantines connues sont incomparablement les plus anciennes.

Note 64: (retour) Diversarum artium schedula, publ. par M. le comte de l'Escalopier, 1843.
Note 65: (retour) Voyez l'édition de cet ouvrage donnée à Rome, en 1821, par le chevalier Giuseppe Tambroni.
Note 66: (retour) Il a manqué à nos artistes un Vasari, un apologiste exclusif. C'est un malheur, mais cela diminue-t-il leur mérite? et est-ce à nous de leur reprocher l'oubli où nous les avons laissés.
Note 67: (retour) Cela provient des procédés employés, ainsi que nous l'indiquerons tout à l'heure.
Note 68: (retour) Département d'Indre-et-Loire.
Note 69: (retour) Voyez les copies de ces peintures, faites avec un soin scrupuleux par M. Savinien Petit (Archives des monuments historiques).
Note 70: (retour) Voyez l'Album de Villard de Honnecourt, ms. publ. en fac-simile, avec notes par Lassus, et commentaires par A. Darcel. Paris, 1858, chez Delion.
Note 71: (retour) Cette figure est copiée en fac-simile.
Note 72: (retour) Du tombeau d'un abbé de Saint-Philibert de Tournus. Voyez les copies faites par M. Denuelle sur l'ensemble de cette peinture remarquable, représentant un couronnement de la Vierge (Archives des monuments historiques).
Note 73: (retour) La coloration de cette peinture a presque entièrement disparu.
Note 74: (retour) «On peut, dit Théophile, broyer les couleurs de toute espèce avec la même sorte d'huile (l'huile de lin), et les poser sur un ouvrage de bois, mais seulement pour les objets qui peuvent être séchés au soleil; car, chaque fois qu'une couleur est appliquée, vous ne pouvez en apposer une autre, si la première n'est séchée: ce qui, dans les images et autres peintures, est long et très-ennuyeux.» (Liv. I, chap. XXVII.)
Note 75: (retour) Liv. I, chap. XXVII.
Note 76: (retour) Théoph., chap. XXI, De glutine vernition.
Note 77: (retour) Nous avons des exemples de l'effet que produit l'or à côté de tons à la fresque, à la cire ou même à l'huile empâtée. Des vêtements blancs sur un fond d'or paraissent sales, gris et ternes, les chairs sont lourdes. Les seuls tons qui se soutiennent sur des fonds d'or, sont les tons transparents que l'on peut obtenir par des glacis. Et encore faut-il faire sur l'or, soit un travail de gaufrure, soit un treillis puissant, une mosaïque. Les voûtes des Stanze peintes par Raphaël, au Vatican, nous fournissent des observations d'un grand intérêt à cet égard; particulièrement celle de la salle de la Dispute du saint sacrement. Les fonds d'or sont craquelés comme des mosaïques, et les sujets à fresque sont d'une vigueur de coloration qui n'a pu être obtenue que par des retouches, soit à l'oeuf, soit de toute autre manière, apposées en glacis. La même observation peut être faite dans la Librairie de la cathédrale de Sienne, en examinant la voûte absidale de l'église Santa-Maria del Popolo, à Rome, attribuée à Pinturicchio.
Note 78: (retour) La sainte Chapelle du palais présente le plus curieux exemple de cette échelle chromatique. Malgré de nombreuses et larges traces des tons anciens, lors de la restauration des peintures, les difficultés ont été nombreuses; il est des tons qu'il a fallu refaire bien des fois, et faute d'une expérience consommée. En couchant un ton dont la trace était certaine, il a fallu souvent changer la valeur des tons supérieurs ou inférieurs.
Note 79: (retour) Ce réfectoire est aujourd'hui compris dans les ouvrages de la citadelle de Metz; il sert de magasin à fourrages.
Note 80: (retour) Traces d'une arcature peinte, abbaye de Fontfroide.
Note 81: (retour) Voyez à l'article CONSTRUCTION la figure 111, qui donne une coupe de l'entrée de ce choeur.
Note 82: (retour) Lorsque l'on commença la restauration des peintures de la sainte Chapelle, on n'avait pas découvert le parti de coloration du fond des arcatures sous les fenêtres. On fit de nombreux essais, tous sur une gamme sombre, mais l'harmonie générale était dérangée par celle de ces fonds obscurs. En lavant un mur, du côté de l'entrée, on trouva, un jour, un fragment de la tapisserie claire qui forme le fond de cette arcature; reproduit immédiatement, l'harmonie générale fut rétablie.
Note 83: (retour) Ces ornements de colonnes sont présentés développés.
Note 84: (retour) Ces exemples de colonnes peintes appartiennent au XIIe siècle.
Note 85: (retour) Entre autres, le retable déposé dans le bas côté sud du choeur de l'église abbatiale de Westminster (ouvrage de l'École française).
Note 86: (retour) Voyez Cennino Cennini, déjà cité, et le devis de la peinture faite dans l'ancien château royal de Vaudreuil, en Normandie, en 1356, publié dans les tomes I et III de la 2e série de la Bibl. de l'Écoles de chartres, p. 544 et 334.
Note 87: (retour) Paris, 1812, in-8.


PENDENTIF, s. m. Triangle d'une voûte hémisphérique laissé entre les pénétrations, dans cette voûte, de deux berceaux semi-cylindriques, ou formés d'une courbe brisée (dite ogive). Les pendentifs les plus anciens signalés dans l'architecture du moyen âge en France sont ceux qui portent les coupoles de l'église abbatiale de Saint-Front, à Périgueux (voy. COUPOLE, fig. 6). Ce système de construction n'a guère été employé que dans les localités voisines de ce monument important. Mais, par extension, on a donné le nom de pendentifs à des trompes ou à des encorbellements posés dans les angles formés par des arcs portant sur plan carré et destinés à faire passer la construction du carré à l'octogone ou au plan circulaire.

Prenant la dénomination de pendentifs dans cette dernière acception, nous aurions dans beaucoup de provinces de la France des coupoles et des tours de transsept portant sur pendentifs. Ainsi, par exemple, la lanterne centrale de l'église de Nantua serait portée sur des pendentifs (fig. 1).

De fait, le triangle A n'est qu'un encorbellement dont la section horizontale est droite et non courbe, ainsi que doit être toute section horizontale de pendentif. Les assises qui composent cet encorbellement ont leurs lits horizontaux, et non point tendants au centre d'une sphère, comme doivent l'être les lits des pendentifs.

Afin de rétablir la véritable signification du mot pendentif, nous présentons dans la figure 2 une sorte d'analyse du système de construction auquel seul on doit l'appliquer. Soit une demi-sphère dont la projection horizontale est la ligne ponctuée ABCD. Si, sur chaque face du carré ABCD inscrit par cette sphère, nous élevons des plans verticaux, nous formons quatre sections ABa, BCb, CDc, DAd, dans la demi-sphère, qui donnent les demi-cercles. Supposons que, sous ces quatre demi-cercles, nous bandions quatre arcs, nous reportons le poids de la calotte supérieure de cette sphère et des quatre triangles sur les quatre points ABCD. Ceci fait, admettons qu'au-dessus de la clef de ces quatre arcs, nous fassions une section horizontale dans la demi-sphère, nous obtenons un cercle parfait abcd. Sur ce cercle élevons une voûte hémisphérique abcde, nous aurons une coupole portée sur quatre véritables pendentifs. Les coupes de tous les claveaux formant ces pendentifs (qui ne sont que des fragments d'une première coupole) tendront au centre E, comme toutes les coupes des claveaux de la coupole supérieure abcde tendront au centre g. Ainsi l'ensemble formera une croûte homogène, dont les pesanteurs tendront à presser les claveaux vers l'intérieur et se reporteront en totalité sur les quatre points ABCD. Ce système de voûte, employé pour la première fois dans la grande église de Sainte-Sophie de Constantinople 88, fut, comme nous l'avons dit, appliqué à la construction de l'église de Saint-Marc de Venise, puis à celle de l'église de Saint-Front de Périgueux, vers la fin du Xe siècle. Toutefois les constructeurs périgourdins manifestèrent une timidité dans l'emploi des moyens, qui ferait croire à leur peu de confiance dans l'efficacité de ce système, et surtout à leur complète ignorance de la théorie des pendentifs; tandis qu'à Saint-Marc de Venise les coupoles et leurs pendentifs sont tracés et conduits suivant le principe théorique qui régit ce genre de structure. À Saint-Marc, la courbe génératrice des pendentifs et des coupoles est le demi-cercle parfait; il n'en est pas de même à Saint-Front de Périgueux, et nous allons voir quelles furent les conséquences singulières de la modification apportée par les architectes français au principe admis à Saint-Marc.

La figure 3 donne en A la projection horizontale de l'une des coupoles de Saint-Front. Les quatre piliers qui portent les arcs-doubleaux recevant les pendentifs sont en B. Effrayé peut-être du surplomb qu'allaient former les quatre pendentifs, s'ils étaient engendrés par un demi-cercle, l'architecte de Saint-Front eut l'idée d'engendrer ces pendentifs au moyen d'une courbe brisée abc (voy. la coupe C). Dès lors, élevant des plans verticaux des angles des quatre piliers pour former la pénétration des arcs-doubleaux dans la forme génératrice des pendentifs, on ne pouvait obtenir des demi-cercles, mais une courbe elliptique tracée en efg. L'ellipse présentant des difficultés d'appareil, l'architecte tricha et remplaça cette courbe elliptique par un arc brisé efi. Fait inusité pour l'époque, et qui semble d'autant plus étrange, que, dans cet édifice, tous les autres arcs sont plein cintre. Cet architecte, au lieu d'élever la coupole sur les pendentifs à l'aplomb h, la retraita en l, et donna à celle-ci une courbe en ogive émoussée lm, ainsi que le fait voir la coupe. Si bien que la coupe faite sur la diagonale no donne le tracé D. Il faut dire que les pendentifs, au lieu d'être construits au moyen de claveaux dont les coupes tendraient au centre n, sont formés d'assises de gros moellons posés horizontalement en encorbellement, comme on le voit en p. Les pendentifs n'étaient donc ici qu'une apparence, non point un principe de structure compris et admis. Ce fait seul semblerait indiquer que si l'église de Saint-Front fut élevée à l'instar de celle de Saint-Marc, ainsi que l'a parfaitement démontré Félix de Verneilh 89, la construction en aurait été confiée à quelque architecte occidental qui, ne se rendant pas un compte exact du système des coupoles sur pendentifs (puisque ces pendentifs ne sont, après tout, que des encorbellements), cherchait par conséquent à diminuer leur surplomb en ne faisant pas élever les coupoles à l'aplomb de la section supérieure de ces pendentifs. Plus tard nos architectes occidentaux, mieux renseignés ou plus savants, élevèrent de véritables coupoles sur pendentifs, ainsi que le démontrent les églises d' Angoulême, de Solignac, de Cahors, de Souillac, etc. Et cependant on observera que la courbe génératrice admise pour les pendentifs de Saint-Front de Périgueux demeura consacrée, car les arcs-doubleaux de ces églises donnent tous des courbes brisées, bien que, dans ces contrées, le plein cintre fût longtemps en honneur (voy. ARCHITECTURE RELIGIEUSE, CONSTRUCTION, COUPOLE).

Note 88: (retour) Sainte-Sophie de Constantinople présente, du moins, le premier exemple connu de ce genre de voûte.
Note 89: (retour) L'architecture byzantine en France, 1851.


PÉNÉTRATION, s. f. Mot employé en architecture pour désigner les points d'intersection de deux corps ou de deux formes. Ainsi, par exemple, dans la figure 139 (article CONSTRUCTION), les ouvertures des lucarnes de la grand'salle du château de Coucy forment des pénétrations dans la voûte en lambris. Dans l'architecture romane, on voit quelquefois des fenêtres faire pénétration dans des voûtes en maçonnerie. Quelques voûtes en berceau de l'époque romane reçoivent aussi parfois des voûtains en pénétration. Ces cas toutefois sont extrêmement rares. En voici (fig. 1) un exemple provenant de l'église abbatiale de Fontgombaud (Indre) (XIIe siècle). Il est surprenant qu'ayant reconnu le danger des voûtes en berceau, dont les poussées agissent sur toute la longueur des murs goutterots, les architectes du XIIe siècle n'aient pas plus souvent employé le système des pénétrations, qui avait cet avantage de répartir ces poussées sur certains points plus solides ou contre-butés. Dans l'église de Fontgombaud, les arcs et voûtes sont en plein cintre. Cette pénétration seule, bien que de la même époque, présente une courbe en tiers-point; elle avait été pratiquée dans la première travée des bras de croix, pour permettre l'ouverture d'une fenêtre supérieure exceptionnelle. On voit des fenêtres en pénétration dans la voûte de la nef de la petite église de Châteauneuf (Saône-et-Loire).

On donne aussi le nom de pénétrations à ces formes prismatiques verticales qui, dans l'architecture du XVe siècle, passent à travers les bandeaux et se retrouvent à des hauteurs différentes (voy. l'article TRAIT).



PENTURE, s. f. Pièce de serrurerie employée pour suspendre les vantaux de portes (voy. SERRURERIE).



PERRON, s. m. Pendant le moyen âge, le mot perron s'emploie communément pour désigner l'emmarchement extérieur qui donne entrée dans la salle principale du château ou du palais, dans le lieu réservé aux plaids, aux grandes assemblées.

Dans la Chanson des Saxons 90, les barons apportent à Charlemagne chacun quatre deniers. L'empereur fait mettre la somme en monceau:

«Karles les a fait fondre à force de charbons.

Devant la maistre sale an fu faiz. i. perrons,

Li baron de Herupe (Angers) i escristrent lor nons;

Puis i fu mis li Karle, si que bien le savons,

Que jamais en Herupe n'iert chevages semons 91

Le perron est une de ces traditions des peuples du Nord dont l'origine remonte bien loin dans les annales historiques. C'est la plate-forme des Scythes, l'amoncellement de pierres sur lequel s'assied le chef de la tribu; l'emblème du lieu élevé où se tiennent et d'où descendent les races conquérantes et supérieures. Il serait intéressant de rechercher et de réunir les origines de la plate-forme assise sur un emmarchement, car c'est là un des monuments que l'on trouve sur la surface du globe partout où une race supérieure s'est établie au milieu de peuplades conquises. C'est du haut d'un perron que l'imperator romain parle aux troupes sous ses ordres. Le tribunal de campagne sur lequel s'assied le général pour recevoir la soumission des vaincus, n'est-ce qu'un amoncellement de pierres avec emmarchement 92. C'est sur un perron que l'auteur de la Chanson de Roland fait mourir son héros, comme sur un lieu sacré:

«Prist l'olifan, que reproce n'en ait,

E Durandal s'espée en l'altre main;

D'un arbaleste ne poest traire un quarrel;

Devers Espaigne en vait en un guaret,

Muntet sur un tertre desuz un arbre bele;

Quatre perrons i ad de marbre faite;

Sur l'erbe verte si est caeit envers,

Là s'est pasmet; kar la mort li est près 93

Dans les romans des XIe et XIIIe siècles, il est sans cesse question de perrons au haut desquels se tiennent les seigneurs pour recevoir leurs vassaux:

«Li dux s'asist sus un peon de marbre 94

C'est au bas du perron des palais que descendent les personnages qui viennent visiter le suzerain; c'est là qu'on les reçoit, si l'on veut leur faire honneur.

«De joiaus, de richesses trestous Paris resplent:

Au perron de la sale la roijne descent,

Maint haut baron l'adestrent moult debonairement,

Car de li honorer a chascun bon talent 95

Lorsque Guillaume d'Orange se rend auprès du roi de France après la prise d'Orange, il arrive incognito:

«Li cuens Guillaumes descendi au perron

Mès ne trova escuier né garçon

Qui li tenist son auferrant gascon (son cheval).

Li bers l'atache à l'olivier réon 96

Les perrons des châteaux étaient accompagnés de montoirs (voy. MONTOIR):

«Sor les chevax monterent c'ou lor tint au perron 97:

Fors de la salle aneit-un mis,

Un grant peron de marbre bis,

U li poisant hume munteient.

Qui de la Curt le Roi esteient 98

Le perron, comme nous l'avons vu déjà ci-dessus, est quelquefois un monument destiné à perpétuer une victoire. Tel est celui que Charlemagne fait élever à Trémoigne:

«An la cit de Tremoigne fist. i. perron lever

Large et gros et qarré an haut plus d'un esté;

Sa victoire i fist metre, escrire et seeler,

A beles letres d'or dou meillor d'outre-mer;

Ce fist-il que li Saisne s'i poïssent mirer;

Sovantes foiz avoient telant de reveler 99

Le perron était donc une marque de noblesse, un signe de puissance et de juridiction. Les communes élevaient des perrons devant leurs hôtels de ville, comme signe de leurs franchises; aussi voyons-nous que lorsque Charles, duc de Bourgogne, a soumis le territoire de la ville de Liége, en 1467, pour punir les bourgeois de leur révolte, et comme marque de leur humiliation:

« Les turs, les murs, les portes,

Fist le duc mettre jus

Et toutes plaches fortes,

Encoire fist-il plus:

Car pour porter en Flandres

Fist hoster le perron,

Adfin que de leur esclandre

Puist estre mention 100

Ce passage fait comprendre toute l'importance qu'on attachait au perron pendant le moyen âge, et comment ces degrés extérieurs étaient considérés comme la marque visible d'un pouvoir seigneurial. Le sire de Joinville rapporte qu'un jour allant au palais, il rencontra une charrette chargée de trois morts qu'on menait au roi. Un clerc avait tué ces trois hommes, lesquels étaient sergents du Châtelet et l'avaient dépouillé de ses vêtements. Sortant de sa chapelle, le roi «ala au perron pour veoir les mors, et demanda au prevost de Paris comment ce avoit esté.» Le fait éclairci, et le clerc ayant agi bravement, dans un cas de légitime défense: «Sire clerc, fist le roy, le rapport entendu, vous avez perdu a estre prestre par vostre proesce, et par vostre proesce je vous restieng à mes gages, et en venrez avec moy outre-mer. Et ceste chose vous foiz-je encore, pour ce que je veil bien que ma gent voient que je ne les soustendrai en nulles de leurs mauvestiés 101

Voilà donc un jugement rendu par le suzerain, en plein air, du haut du perron de son palais.

Ces perrons, par l'importance même qu'ils prenaient dans les palais et châteaux, étaient richement bâtis, ornés de balustrades et de figures sculptées. Quelques seigneurs, d'après un usage qui semble fort ancien, attachaient même parfois des animaux sauvages au bas des perrons, comme pour en défendre l'approche. Un fabliau du XIIIe siècle 102 rapporte qu'un certain sénéchal de la ville de Rome, homme riche et puissant, avait attaché un ours au perron de son palais. En haut du perron du château de Coucy, à l'entrée de la grand'salle, était une table portant un lion de pierre, soutenue par quatre autres lions 103.

On nous pardonnera la longueur de ces citations; elles étaient nécessaires pour expliquer l'importance des perrons pendant le moyen âge. Nous allons examiner maintenant quelques-uns de ces monuments. L'un des plus remarquables, bien qu'il ne fût pas d'une époque très-ancienne, était le perron construit devant l'aile qui réunissait la sainte Chapelle du palais à Paris à la grand'salle. Ce perron datait du règne de Philippe le Bel, et avait été élevé par les soins d'Enguerrand de Marigny. À l'avénement de Louis le Hutin, Enguerrand ayant été condamné au gibet, son effigie fut «jettée du haut en bas des grands degrez du palais 104». Ce ne fut que vers la fin du dernier siècle que le grand degré du palais fut détruit, pour être remplacé par le perron actuel (voy. PALAIS, fig. 1). C'est devant cet emmarchement, un peu vers la gauche, qu'était planté le may.

Nous donnons (fig. 1) une vue perspective du perron élevé au commencement du XIVe siècle 105. Lorsqu'il fut détruit, des échoppes encombraient ses deux murs d'échiffre et venaient s'accoler à la belle galerie d'Enguerrand; mais la porte que l'on voit dans notre figure subsistait encore presque entière, avec ses trois statues. Une voûte pratiquée sous le grand palier supérieur permettait de communiquer d'un côté à l'autre de la cour. Le perron du palais des comtes de Champagne, à Troyes, présentait une disposition semblable, et datait du commencement du XIIIe siècle. Il donnait directement entrée sur l'un des flancs de la grand'salle. Au bas des degrés, à quelques mètres en avant, était placé un socle sur lequel on coupait le poing aux criminels, après qu'on leur avait lu la sentence qui les condamnait au dernier supplice 106. Quelquefois ces perrons étaient couverts en tout ou partie tel était celui du château de Montargis (voy. ESCALIER, fig. 2), qui datait du XIIIe siècle, et se divisait en trois rampes surmontées de combles en charpente.

Le château de Pierrefonds possédait un remarquable perron à la base de l'escalier d'honneur, avec deux montoirs pour les cavaliers et une voûte en arcs ogives, avec terrasse au-dessus. Nous donnons (fig. 2) le plan de ce perron. L'escalier B permet d'arriver aux grandes salles du donjon situées en A; il débouche vers la cour 107, sur un degré à trois pans. Les deux montoirs sont en C; trois voûtes d'arête recouvrent l'emmarchement. Une vue de ce perron, prise du point P (fig. 3), nous dispensera d'entrer dans de plus amples détails. Il est peu de dispositions adoptées dans la construction des châteaux du moyen âge qui se soient perpétuées plus longtemps, puisque nous la voyons conservée encore de nos jours.

Le grand escalier en fer à cheval du château de Fontainebleau, dont on attribue la construction à Philibert Delorme, est une tradition des perrons du moyen âge. Celui du château de Chantilly formait une loge, avec deux rampes latérales, et datait du XVIe siècle 108.

Le perron était un signe de juridiction, et les prévôts rendaient la justice en plein air, du haut de leur perron 109; aussi les hôtels de ville possédaient-ils habituellement un perron, et l'enlèvement de ce degré avait lieu lorsqu'on voulait punir une cité de sa rébellion envers le suzerain, comme nous l'avons vu ci-dessus à propos de l'insurrection des gens de Liége.

Note 90: (retour) Chanson des Saxons, de Jean Bodel, poëte artésien du XIIIe siècle.
Note 91: (retour) Chap. XLV.
Note 92: (retour) Voyez les bas-reliefs de la colonne Trajane.--«Ipse in munitione pro castris consedit: eo duces producuntur.» (De bello gall., lib. VII, reddition d'Alise.)
Note 93: (retour) La Chanson de Roland, st. CLXV.
Note 94: (retour) Ogier l'Ardenois, vers 8517.
Note 95: (retour) Li Romans de Berte aus grans piès, chap. IX.
Note 96: (retour) Guillaume d'Orange, La bataille d'Aleschans, vers 2568 et suiv.
Note 97: (retour) La Chanson des Saxons, chap. XXII.
Note 98: (retour) Le lai, de Laval; poésies de Marie de France.
Note 99: (retour) La Chanson des Saxons, chap. CCXCVI.
Note 100: (retour) Chants populaires du temps de Charles VII et de Louis XI, publiés par M. Le Roux (de Lincy). Aubry, 1857.
Note 101: (retour) Mémoires du sire de Joinville, § 64.
Note 102: (retour) Le Chien et le Serpent (voy. Legrand d'Aussy).
Note 103: (retour) Quelques fragments de ce monument existent encore. Ils ont été déposés dans le donjon.
Note 104: (retour) Antiquités de Paris. Corrozet.
Note 105: (retour) Restaurée à l'aide des anciens plans du palais et des deux dessins de la collection Lassus, qui ont été lithographiés en fac-simile pour faire partie d'une monographie du palais.
Note 106: (retour) Voyez le Voyage archéologique dans le département de l'Aube, par Arnaud. Troyes, 1837.
Note 107: (retour) Voyez le plan joint à la Notice sur le château de Pierrefonds, 3e édit., Viollet-le-Duc.
Note 108: (retour) Voy. Ducerceau, Les plus excellents bâtiments de France.
Note 109: (retour) Voyez le conte du Sacristain (Legrand d'Aussy).


PIERRE (à bâtir), s. f. Les Romains ont été les plus intelligents explorateurs de carrières qui aient jamais existé. Les constructions de pierre qu'ils ont laissées sont élevées toujours avec les meilleurs matériaux que l'on pouvait se procurer dans le voisinage de leurs monuments. Il n'existe pas d'édifice romain dont les pierres soient de médiocre qualité; lorsque celles-ci faisaient absolument défaut dans un rayon étendu, ils employaient le caillou ou la brique, plutôt que de mettre en oeuvre de la pierre à bâtir d'une qualité inférieure; et si l'on veut avoir de bonnes pierres de taille dans une contrée où les Romains ont élevé des monuments, il ne s'agit que de rechercher les carrières romaines. Cette règle nous a été souvent d'un grand secours, lorsque nous avons eu à construire dans des localités où l'usage d'employer les pierres de taille était abandonné depuis longtemps. Même sur les terrains riches en matériaux propres à la construction, il est intéressant d'observer comment les bâtisseurs romains ont su exploiter avec une sagacité rare les meilleurs endroits, quelque difficile que fût l'extraction. Ce fait peut être observé en Provence, en Languedoc, dans le pays des Éduens (environs d'Autun), dans le Bordelais et la Saintonge, et sur les côtes de la Méditerranée. On voit, par exemple, sur la route romaine de Nice à Menton, au point où se trouve le monument connu sous le nom de la Turbie, une carrière romaine demeurée intacte depuis l'époque où fut élevé cet édifice Cette carrière, au milieu de montagnes calcaires, est située sur un escarpement presque inaccessible au-dessus de la petite ville de Monaco; c'est qu'en effet, il se trouve sur ce point un banc épais de roches calcaires d'une qualité très-supérieure. Ces traditions se conservèrent pendant le moyen âge; on connaissait les bonnes carrières, et la pierre que l'on employait était généralement choisie avec soin. Il n'est pas de contrée en Europe qui fournisse une quantité de pierres à bâtir aussi variées et aussi bonnes que la France.

Si l'on jette les yeux sur la carte géologique de la France, on observera que depuis Mézières, en remontant la Meuse et en se dirigeant vers le sud-ouest par Chaumont, Châtillon-sur-Seine, Clamecy, la Charité, Nevers, la Châtre, Poitiers et Niort, puis descendant vers le sud-est par Ruffec, Nontron, Exideuil, Souillac, Figeac, Villefranche, Mende, Millaud, puis remontant par Anduze, Alais, Largentière et Privas, on suit une chaîne non interrompue de calcaire jurassique que l'on retrouve encore après avoir traversé le Rhône, en remontant l'Ain depuis Belley jusqu'à Salins, et le Doubs depuis Pontarlier jusqu'à la limite de la forêt Noire. Vers le nord, de Sablé jusqu'à l'embouchure de l'Orne, s'allonge une branche de cette chaîne qui semble avoir été disposée pour répartir sur toutes les provinces de la France les matériaux les plus favorables à la construction. Dans les cinq grandes divisions que forme cette chaîne, on trouve dans la première, au nord, la craie à Troyes, à Arcis, à Châlons-sur-Seine, et à Reims; les calcaires grossiers dans les bassins de la Seine, de l'Oise, de l'Aisne et de la Marne, les grès vers l'ouest; de l'autre côté de la branche jurassique se dirigeant vers la Manche, dans la seconde division, le granit, des calcaires grossiers; dans la troisième, sur la rive gauche de la Garonne, les grès verts et les grès de Fontainebleau, jusques au pied des Pyrénées; dans la quatrième, au centre, les granits, les terrains cristallisés, et enfin, dans la cinquième, qui comprend le bas bassin du Rhône, les grès et le calcaire alpin. Ajoutons à cette collection les terrains volcaniques, laves et basaltes au centre, et nous aurons un aperçu des richesses que possède la France en matériaux propres à bâtir.

Jusqu'à la fin du XIIe siècle, les constructeurs ont évidemment reculé devant l'emploi des matériaux d'une grande dureté, comme le granit; ils cherchaient les pierres d'une dureté moyenne, et les employaient, autant que faire se pouvait, en petits échantillons: et telle est la répartition des terrains sur la surface de la France, qu'il n'était jamais besoin d'aller chercher des matériaux calcaires, ou des craies, ou des grès tendres très-loin, si ce n'est dans quelques contrées, comme la Bretagne, la Haute-Garonne et le Centre, vers Guéret et Aubusson. Les établissements monastiques exploitèrent les carrières avec adresse et soin: la maison mère de Cluny, établie sur terrain jurassique, ainsi que celle de Clairvaux, semblèrent imposer à leurs filles l'obligation de se fonder à proximité de riches carrières. Nous voyons, en effet, que la plus grande partie des couvents dépendants de ces deux abbayes sont bâtis, en France, sur cette chaîne jurassique qui coupe le territoire en cinq grandes parts, et l'architecture de ces deux ordres, celle particulièrement de l'ordre de Cluny, robuste, grande d'échelle, reçoit une influence marquée de l'emploi des matériaux, tandis que dans les contrées où les pierres à bâtir sont fines, basses ou tendres, comme dans les bassins de la Seine et de l'Oise, par exemple, nous voyons que l'architecture romane s'empreint de la nature même de la matière employée.

Lorsque l'architecture gothique fut adoptée, elle sut tirer un merveilleux parti des matériaux divers fournis par le sol. À dater du XIIe siècle, on voit employer simultanément des pierres de qualités très-diverses, suivant le besoin, ainsi qu'il est aisé de s'en apercevoir en lisant notre article CONSTRUCTION. Alors on ne recule pas devant des difficultés de transport qui devaient être considérables lorsqu'il s'agissait de se procurer certaines pierres dont la qualité était propre à un objet spécial. C'est ainsi, par exemple, que nous voyons employer, pour les colonnes monolithes du choeur de Vézelay, bâti vers 1190, des pierres dures de Coutarnoux, dont la carrière est à 30 kilomètres de l'abbaye, bien qu'on possédât des pierres propres à la construction à une faible distance; qu'à Semur en Auxois, nous voyons mettre en oeuvre cette admirable pierre de Pouillenay, qui prend le poli; qu'à Sens on fait venir de la pierre de Paris pour bâtir la salle synodale; qu'à Troyes, à la fin du XIIIe siècle, nous voyons les constructeurs aller chercher du liais à Tonnerre pour bâtir l'église de Saint-Urbain, qu'il eût été impossible d'élever avec d'autres matériaux; que bien plus tard, à Paris, nous voyons les architectes demander de la pierre à Vernon pour restaurer la rose de la sainte Chapelle et pour élever certaines parties de l'hôtel de la Trémoille. Ces exemples, que nous pourrions multiplier à l'infini, prouvent combien les constructeurs de la période dite gothique portaient une attention scrupuleuse dans le choix des pierres qu'ils mettaient en oeuvre. Lorsque le style gothique fut définitivement admis sur toute la surface de la France, vers la fin du XIIIe siècle, les constructeurs n'hésitèrent pas, pour se conformer au goût du temps, à employer des pierres qui certes, par leur nature, ne se prêtaient guère à recevoir ces formes. C'est ainsi que, vers 1270, on élève le choeur de la cathédrale de Limoges en granit, celui de la cathédrale de Clermont en lave de Volvic; que, vers le milieu du XVe siècle, on construit le chevet de l'église abbatiale du mont Saint-Michel en mer de même en granit, sans se préoccuper des difficultés de taille que présente cette matière; qu'au commencement du XIVe siècle on construit en grès très-dur le sanctuaire et le transsept de l'ancienne cathédrale de Carcassonne (Saint-Nazaire).

À l'inspection des monuments élevés pendant le moyen âge, il est aisé de reconnaître qu'alors, plus encore que pendant la période gallo-romaine, on exploitait une quantité considérable de carrières qui depuis ont été abandonnées, qu'on savait employer les pierres exploitées en raison de leur qualité, mais avec une économie scrupuleuse; c'est-à-dire qu'on ne plaçait pas dans un parement, par exemple, une pierre de qualité supérieure convenable pour faire des colonnes monolithes, des corniches, des chéneaux ou des meneaux. Ce fait est remarquable dans un de nos édifices bâti avec un luxe de matériaux exceptionnel: nous voulons parler de la cathédrale de Paris. Là les constructeurs ont procédé avec autant de soin que d'économie dans l'emploi des matériaux. Les pierres employées dans la cathédrale de Paris proviennent toutes des riches carrières qui existaient autrefois sous la butte Saint-Jacques, et qui s'étendent sous la plaine de Montrouge jusqu'à Bagneux et Arcueil.

La façade est entièrement construite en roche et en haut banc pour les parements, en liais tendre pour les grandes sculptures (banc qui avait jusqu'à 0m,90 de hauteur) et en cliquart pour les larmiers, chéneaux, colonnettes (banc de 0m,45 de hauteur au plus). Le liais tendre des carrières Saint-Jacques se comporte bien en délit, aussi est-ce avec ces pierres qu'ont été faites les arcatures à jour de la grande galerie sous les tours. Les cliquarts ont donné des matériaux incomparables pour la rose et pour les grandes colonnettes de la galerie, ainsi que pour tous les larmiers des terrasses. Parmi ces matériaux, on rencontre aussi dans les parements et pour les couronnements des contre-forts des tours l'ancien banc royal de Bagneux, qui porte 0m,70, et le gros banc de Montrouge, qui porte 0m,65: ces dernières pierres se sont admirablement conservées. Dans les fondations, nous avons reconnu l'emploi des lambourdes de la plaine, et surtout de la lambourde dite ferme, qui porte jusqu'à 1 mètre; quelquefois, mais rarement, du banc vert.

Les grosses colonnes intérieures de la nef, qui ont 1m,30 de diamètre, sont élevées par assises du banc de roche basse de Bagneux ou de Saint-Jacques, qui porte franc 0m,50 en moyenne. Mais les deux piliers à sections rectilignes qui terminent la nef sur le transsept, lesquels piliers ont une section relativement faible, vu le poids qu'ils ont à porter, sont entièrement élevés en belles assises de cliquart de Montrouge, lequel porte 0m,40 franc de bousin. Les arcs-doubleaux, archivoltes et arcs ogives des voûtes sont généralement en banc franc ou en banc blanc de Montrouge, qui porte de 0m,30 à 0m,35. Ainsi les constructeurs ont employé la pierre, toujours en conservant la hauteur du banc de carrière, se contentant de la purger complétement du bousin ou des délits marneux, mais sans faire de levées à la scie à grès 110. De plus, ils posaient ces matériaux sur leur lit de carrière, lorsqu'ils ne prenaient pas le parti de les poser franchement en délit comme étai (voy. CONSTRUCTION), mettant en dessous le lit de dessous. Cette précaution est surtout observée dans les assises en fondation.

Les constructeurs romans, ainsi que nous l'avons dit, cherchaient surtout les pierres douces, les lambourdes, les vergelés, les bancs francs. Le choeur de Maurice de Sully, sauf les piliers et les colonnettes, est entièrement construit en matériaux d'une dureté médiocre, bas et petits. Mais dès le commencement du XIIIe siècle, la nouvelle école laïque cherche au contraire les matériaux très-fermes et grands. C'est alors que dans la construction de la cathédrale de Chartres on emploie ce calcaire de Berchère, d'un aspect si rude, mais si solide, et qui donne des bancs de 1 mètre de hauteur sur des longueurs de 3 à 4 mètres; qu'à la cathédrale de Reims on pose ces assises de 1m,20 de hauteur en pierre introuvable aujourd'hui dans les carrières qui les ont fournies, que l'on emploie les liais et les cliquarts les plus durs, en ayant le soin de les purger des lits tendres; que l'on repousse, autant que faire se peut, les bancs friables, les pierres creuses et sans nerf.

La fin du XIIIe siècle apporte encore plus de soin dans le choix des pierres. Il suffit d'examiner les constructions de l'église de Saint-Urbain de Troyes, du choeur de Narbonne, des pignons du transsept des cathédrales de Paris et de Rouen, de l'église abbatiale de Saint-Ouen de Rouen, du château de Vincennes, pour reconnaître que les constructeurs connaissaient parfaitement les qualités des matériaux calcaires, et qu'ils les choisissaient avec une attention qui pourrait nous servir d'exemple. Au XVe siècle, on incline à employer de préférence les pierres douces, mais cependant celles-ci sont scrupuleusement triées. Au XVIe siècle, trop souvent cette partie importante de l'art de bâtir est négligée, les matériaux sont inégaux, pris au hasard et employés sans tenir compte de leurs propriétés.

Note 110: (retour) Alors la scie à grès n'était pas employée, et il est bon nombre de départements, en France, où on ne l'emploie pas encore. Ce sont ceux (il faut le dire) où l'on bâtit le mieux.


EMPLOI DES PIERRES À BÂTIR SUIVANT LEURS QUALITÉS.--Plusieurs causes contribuent à détruire les pierres calcaires propres à la construction, et des causes qui agissent sur les unes n'ont pas d'action sur les autres. De plus, l'assemblage de certaines pierres est nuisible à quelques-unes d'entre elles. Les principes destructeurs les plus énergiques sont les sels qui se développent, par l'effet de l'humidité, dans l'intérieur même des pierres, et les alternatives du chaud et du froid. Toutes les pierres, grès, granits même et calcaires, contiennent une quantité notable d'eau, et s'emparent de l'humidité du sol et de l'atmosphère lorsqu'elles viennent à sécher. Cette propriété, qui est nécessaire à l'agrégation de leurs molécules, est en même temps la cause de leur destruction. Si les pierres sont posées près du sol, en élévation, elles tendent sans cesse à pomper l'humidité de la terre, et cette humidité apporte avec elle des sels qui, tendant à se cristalliser par l'effet de la sécheresse de l'air, forment autant de petits coins qui désagrégent les molécules du grès, du calcaire et même du granit. Ces matériaux portent, d'ailleurs, dans leurs flancs des sels que l'humidité atmosphérique met sans cesse en travail. Telle pierre qui dans l'eau ou sous le sol ne se décomposera jamais, s'altère après une année de séjour à l'air. La question est donc, non pas de priver les pierres de toute humidité, mais de faire en sorte, pour les conserver, que cette humidité ait une action du dehors au dedans et non du dedans au dehors; que les sels qu'elles contiennent soient toujours à l'état de dissolution, et qu'ils ne tendent jamais à venir se cristalliser à leur surface ou qu'ils restent à l'état latent.

Supposons une pierre calcaire, par exemple, posée en A (fig. 1) sur une assise de libages, et une fondation en béton ou en moellon; par l'effet de la capillarité, c'est-à-dire par suite de l'action aspirante de cette pierre, l'humidité sera plus considérable en a, au coeur même de la pierre, qu'à sa surface externe séchée par l'air; dès lors les sels tendront à venir se cristalliser suivant la direction des flèches sur ces surfaces externes, et les désagrégeront peu à peu. Supposons qu'entre cette pierre de soubassement B et l'assise de libages C est interposée une lame de plomb ou un lit imperméable, comme du bitume, l'eau de pluie qui balayera les parements fera que ces parements seront plus humides au moment même de l'émission aqueuse que le coeur: d'ailleurs cette eau sera séchée promptement par l'air; les sels qui pourraient se développer et venir à la surface seront lavés, dissous et entraînés par cette abondance d'eau externe, et ne pourront se développer en cristaux, par conséquent faire lever les parements. Dans le cas d'un isolement complet de la pierre soustraite à l'humidité du sol, plus elle sera poreuse, plus ses parements seront facilement lavés et séchés et mieux ils se conserveront.

Retournons la figure: supposons (fig. 2), en A, qu'une pierre a est posée sous un chéneau. Si compacte que soit la pierre dont est fait ce chéneau, elle tend à absorber une certaine quantité de l'eau qui coule dans sa concavité. La pierre a, séchée par l'air, tend à son tour à demander au chéneau une partie de l'eau qui l'a pénétré; cette eau agira dans le sens des flèches, c'est-à-dire qu'étant plus abondante, moins rapidement séchée au coeur de la pierre a qu'à sa surface, elle dissoudra les sels intérieurs qui viendront se cristalliser sur les parements et les feront lever d'abord en fine poussière, puis par écailles. Mais si entre ce chéneau B et la pierre sous-posée nous interposons un corps imperméable C, cette pierre sous-posée sera, comme dans le cas précédent, lavée à l'extérieur par la pluie ou humectée par les brouillards plus abondamment que son coeur, et les sels ne pourront se cristalliser à sa surface. La pierre de Saint-Leu, le banc royal de Saint-Maximin, qui se conservent pendant des siècles à l'air libre ou en parements parfaitement préservés de toute humidité intérieure, tombent en poussière, posés sous des chéneaux ou des tablettes de corniche de pierre dure qui reçoivent l'eau de pluie et en absorbent une partie. Bien que dans ce cas la pierre dure reste intacte, la pierre au-dessous est rapidement décomposée par les sels qui la traversent et viennent se cristalliser à sa surface; souvent même la croûte de ces pierres est restée ferme, que la décomposition est fort avancée à un millimètre au-dessous. Soit, par exemple (fig. 3), une tablette de pierre dure A posée sur une corniche B de pierre de Saint-Leu, on verra bientôt la croûte de cette pierre se lever comme des copeaux D, en démasquant l'altération profonde de la sous-surface. Cette croûte même dont se revêtent certaines pierres contribue à hâter le travail de décomposition produit par les sels, en protégeant la sous-surface contre le contact de l'air. Les pores n'étant plus aussi ouverts sur la pellicule externe de la pierre qu'à 1 ou 2 millimètres de profondeur, les sels se cristallisent sous cette pellicule qu'ils ne peuvent traverser, et produisent des ravages dont on ne s'aperçoit que quand la croûte tombe. Les profils employés pendant la période du moyen âge pour les corniches et bandeaux avaient l'avantage de ne point conserver l'humidité et de la renvoyer au contraire rapidement. Aussi les pierres qui recouvrent ces saillies sont-elles réellement protégées, et ne présentent pas les altérations que l'on observe sous les tablettes des corniches de la renaissance ou de l'époque moderne. Les constructeurs du moyen âge avaient si bien observé ces phénomènes de décomposition des pierres, qu'ils ont souvent isolé les chéneaux, soit en les portant sur des corbeaux ou sur des arcs, soit en laissant sous leur lit un espace vide ou bien rempli d'une matière imperméable, telle qu'un mastic à l'huile ou à la résine. Ils n'avaient pas moins observé les effets que certaines pierres juxtaposées produisent les unes sur les autres. Ainsi les grès, ayant la propriété de contenir une grande quantité d'eau, absorbent rapidement celle du sol et de l'atmosphère. Lorsqu'au-dessus de ces assises de grès on pose des pierres qui se salpêtrent assez facilement, on voit bientôt la décomposition se produire près de leur lit touchant au grès, et cette décomposition ne s'arrête plus, elle monte chaque année. Ces mêmes pierres, posées sur des assises d'une roche calcaire n'absorbant pas une aussi grande quantité d'eau que le grès, ne se seraient peut-être jamais décomposées. Aussi, quand les constructeurs du moyen âge ont posé des assises de grès en soubassement surmontées d'assises calcaires, ils ont eu le soin de choisir celles-ci parmi les qualités compactes n'étant pas sensibles à l'action du salpêtre, ou bien ils ont interposé entre le grès et le calcaire un lit d'ardoises (schiste). Cette méthode a été très-fréquemment employée pendant les XIVe et XVe siècles.

Toutes les pierres calcaires, au sortir de la carrière, contiennent une quantité d'eau considérable; sitôt exposées à l'air, une grande partie de cette eau tend à s'évaporer, et arrive successivement du coeur à la surface. En faisant ce trajet, cette eau entraîne avec elle une certaine quantité de carbonate de chaux en dissolution qui se cristallise sur le parement, et forme une croûte ferme, résistante, qui non-seulement préserve la pierre des agents extérieurs, mais lui donne une patine, une couverte que rien ne peut remplacer. Les constructeurs du moyen âge ayant eu pour habitude de tailler définitivement la pierre sur le chantier avant le montage et la pose, il en résultait que cette patine se formait sur les moulures et sur les sculptures comme sur les parements, et que l'édifice construit était uniformément recouvert de cette croûte produite par ce qu'on appelle l'eau de carrière. C'était un double avantage: parements résistant mieux aux agents atmosphériques, et belle couleur uniforme et chaude que donne cette patine naturelle. L'usage moderne de monter les édifices épannelés seulement et de faire les ravalements très-longtemps souvent après que la pose a été achevée, d'enlever sur ces matériaux mis en oeuvre 1 ou 2 centimètres d'épaisseur et quelquefois plus, a pour conséquence de détruire à tout jamais cette croûte préservatrice, puisqu'elle ne se forme sur les parements qu'autant que la pierre est fraîchement extraite de la carrière. Cet usage moderne est particulièrement funeste à la conservation des pierres tendres, telles que le banc royal de l'Oise, les vergetés, les calcaires de Saintonge, de Caen, les calcaires alpins de Beaucaire, les calcaires tendres de Bourgogne, les pierres de Molènes, de Mailly-la-Ville, de Courson, de Tonnerre; les craies. Mais que dire de cet autre usage de gratter à vif des parements anciens? On leur enlève ainsi l'élément conservateur qui les a préservés pendant plusieurs siècles; on tue la pierre, pour nous servir d'une expression du métier. Aussi, après cette opération barbare, voit-on souvent des matériaux qui ne présentaient aucun signe d'altération, se décomposer rapidement à la surface, s'efflorer, puis se creuser, sans que la maladie qui les atteint puisse être arrêtée 111. Les pierres tendres ne sont pas, d'ailleurs, les seules qui se recouvrent d'une patine résistante naturelle, étant fraîchement taillées. Des pierres dures, comme les liais, les cliquarts, présentent les mêmes phénomènes, et nous avons vu des liais en oeuvre depuis cinq et six cents ans qui avaient pris à la surface une couverte à peine attaquable avec le ciseau, tandis qu'à un demi-centimètre de profondeur le calcaire se rayait avec l'ongle. Les pierres dites froides, comme celles des carrières de Château-Landon, par exemple, sont les seules qui ne perdent rien à être taillées longtemps après leur extraction. Quant aux grès, tout le monde sait qu'ils ne peuvent être taillés que fraîchement sortis de la carrière. Certains grès rouges des Vosges sont inattaquables à l'outil au bout de plusieurs années, bien qu'au sortir du sol ils soient maniables.

Il est une précaution qu'il est toujours bon de prendre lorsqu'on élève des édifices sans caves: c'est d'interposer sous un lit d'assise au-dessus du sol une couche d'une matière imperméable, comme du bitume ou un mastic gras, un papier fortement goudronné, un lit d'ardoises. Cette précaution arrête l'humidité qui remonte du sol dans les murs, et elle empêche les pierres de se salpêtrer. Tous les monuments du Poitou, beaucoup de ceux de la Vendée et de la Saintonge, présentent à 2 mètres environ au-dessus du sol, à l'extérieur, une zone profondément altérée par l'action des sels. Ceci prouve l'exactitude de l'observation faite précédemment, savoir, que les sels n'agissent sur les pierres calcaires que là où ils ne sont plus tenus en dissolution et où ils se cristallisent. En effet, les assises inférieures des murs, dans les monuments de ces contrées, tous bâtis avec un calcaire tendre et qui résiste parfaitement à l'action de l'air, sont imprégnées d'humidité, mais ne se décomposent pas; ce n'est qu'à la hauteur où cesse l'action de capillarité, que la pierre, étant plus sèche, permet aux sels de se cristalliser, que commence la décomposition des parements extérieurs. Les maçons prétendent que cette décomposition, qui se produit par un vermiculage d'abord peu prononcé, puis très-profond à la longue, est produite par l'action de la lune. Le fait est que ce genre de décomposition ne se manifeste guère qu'à l'exposition du midi, un peu à l'est et à l'ouest, jamais au nord; on comprend que la chaleur des rayons solaires hâte la cristallisation des sels au-dessus de la zone humide où ils sont tenus en dissolution. D'ailleurs le midi est l'exposition la plus défavorable à la conservation des matériaux propres à bâtir en France: 1º parce que dans notre climat le vent du midi apporte la pluie, qui fouette les parements; 2º parce que les différences de température sont brusques et violentes à cette exposition en hiver. La nuit, s'il gèle à l'exposition du nord à 8 degrés, il gèle à 7 à l'exposition du midi par les temps clairs; mais le jour, si la température reste à l'exposition du nord à 6 degrés au-dessous de zéro, elle monte souvent à 10 degrés au-dessus de zéro en plein soleil. Les matériaux plus ou moins perméables qui subissent dans l'espace de quelques heures ces différences de température, s'altèrent plus vite que ceux exposés à une température à peu près égale, fût-elle très-froide; mais la lune, pensons-nous, n'a rien à voir là-dedans, si ce n'est qu'elle se présente précisément, quand elle est pleine, du même côté de l'horizon que le soleil.

Note 111: (retour) Dans ce cas, la silicatisation bien faite est le seul moyen à employer pour rendre à la pierre cette couverte âpre et résistante qui en assure la durée. La silicatisation devrait toujours être employée lorsqu'on a eu l'idée malheureuse de gratter les parements des monuments, et même lorsque les ravalements sont faits après que la pierre a jeté son eau de carrière.


PIGNON, s. m. (pingon). Mur terminé en triangle suivant la pente d'un comble à deux égouts et formant clôture devant les fermes de la charpente. Un bâtiment simple se compose de deux murs goutterots et de deux pignons. Suivant que le bâtiment est tourné, il présente sur sa façade, soit un des pignons, soit un des murs goutterots. Le fronton du temple grec est un véritable pignon. Les portails nord et sud du transsept de la cathédrale de Paris sont terminés par deux pignons. Les maisons élevées pendant l'époque romane en France présentaient habituellement un des murs goutterots sur la rue, les murs pignons étaient alors mitoyens; mais plus tard, vers le milieu du XIIIe siècle, les habitations montraient quelquefois l'un des pignons sur la rue. Cette méthode devint habituelle pendant les XIVe et XVe siècles, et alors ces pignons étaient fréquemment élevés en pans de bois (voy. MAISON, PAN DE BOIS).

La forme et la structure qui conviennent aux pignons en maçonnerie, ont fort préoccupé les architectes du moyen âge. En effet, un pignon qui sort des dimensions ordinaires n'acquiert et ne conserve sa stabilité que dans certaines conditions qu'il est bon de ne pas négliger. Si un pignon est mitoyen entre deux bâtiments; s'il n'est, à proprement parler, qu'un mur de refend maintenu des deux côtés par les charpentes de deux combles égaux, il est clair que pour le rendre stable, il n'est besoin que de l'élever dans un plan vertical, en lui donnant une épaisseur proportionnée à sa hauteur; mais si ce pignon est isolé d'un côté, chargé de l'autre par des cheminées, poussé ou tiré par une charpente dont la fixité n'est jamais absolue, il est nécessaire, si l'on prétend le maintenir dans un plan vertical, de prendre certaines précautions propres à assurer sa stabilité. Si les pignons isolés sont très-élevés, ils donnent une large prise au vent; leur extrémité supérieure, n'étant pas chargée, peut s'incliner sous une faible pression, soit en dedans, soit en dehors, et ces grands triangles, oscillant sur leur base, sortent très-facilement du plan vertical pour peu qu'une force les sollicite.

Lorsque, pendant la période romane, les combles avaient une inclinaison qui atteignait bien rarement 45 degrés, la construction des pignons ne demandait pas des précautions particulières; le pignon n'était guère qu'un mur terminé par deux pentes. Mais quand on en vint à donner aux charpentes de combles une inclinaison de plus de 45 degrés, et que ces charpentes eurent jusqu'à 12 et 15 mètres d'ouverture, il fallut bien adopter des moyens extraordinaires pour maintenir dans un plan vertical ces énormes maçonneries triangulaires, abandonnées, au sommet des édifices, aux coups de vent et aux mouvements inévitables des bois.

Déjà cependant, vers les derniers temps de la période romane, on avait senti la nécessité de faire des pignons autre chose qu'un mur simple terminé à son sommet par un angle obtus. On croyait devoir assurer leur stabilité au moyen d'arcs qui reportaient les charges sur quelques points. Nous trouvons un exemple d'une de ces tentatives sur le mur de face de l'église de Saint-Honorat, dans l'île de Lérins 112. Le pignon de cette façade, présenté dans la figure 1, et dont la construction remonte au commencement du XIIe siècle, se compose en réalité de quatre larges pieds-droits A avec baie centrale et arcs-boutants; ainsi la charge de la maçonnerie était répartie sur quatre points, de B en C. Cette construction était la conséquence d'une observation judicieuse. En effet, les maçonneries acquièrent une grande partie de leur stabilité en raison du poids plutôt qu'en raison de la surface qu'elles occupent.

Si (fig. 2) nous élevons un pignon A plein, de 4 mètres de hauteur sur 8 mètres de base, et 0m,50 d'épaisseur, nous aurons, en élévation, une surface bâtie de 16 mètres et un cube de 8 mètres. Mettant le poids du cube de pierre de taille à 2000 kilogrammes, la charge sera de 16 000 kilogr., et la surface chargée (section horizontale D, du pignon à la base) aura 4 mètres. Or, la charge sera ainsi répartie sur cette surface de 4 mètres: 1 mètre de surface horizontale ab recevra 7000 kilogr.; 1 mètre ac, bd, 5000 kilogr.; 1 mètre ce, df, 3000 kilogr.; 1 mètre eg, fh, 1000 kilogr.: total égal, 16 000 kilogrammes. Mais si, sans rien changer ni aux dimensions, ni à l'épaisseur, ni par conséquent au poids du pignon, nous le construisons avec arcs de décharge noyés dans la maçonnerie, comme il est indiqué en B, nous aurons 1 mètre de surface horizontale ab chargé de 3800 kilogrammes; 1 mètre ac, bd, chargé de 8200 kilogr.; 1 mètre ce, df, chargé de 1900 kilogr., et 1 mètre eg, fh, chargé de 2100 kilogr.: total égal, 16 000 kilogrammes. Dans le premier cas, A, la partie la plus chargée est la partie ab, qui ne reçoit que 7000 kilogrammes, tandis que dans le second, B, la partie ac, bd, égale comme surface à ab, reçoit 8200 kilogram. Dans l'exemple A les surfaces eg, fh, ne reçoivent ensemble que 1000 kilogrammes, tandis que dans le second ces mêmes surfaces reçoivent 2100 kilogrammes. Ainsi, dans ce second exemple, les pesanteurs tendent à s'équilibrer ou à se répartir plus également sur l'ensemble de la base; le poids le plus fort n'est plus au milieu de la base, mais reporté sur deux points. Une force comme le vent, ou une poussée, trouve donc une résistance plus solidement appuyée sur sa base, opposée à son action. Tout le système de la construction des grands pignons de l'époque savante du moyen âge est établi sur cette observation très-simple de la répartition des pesanteurs, non pas conformément à la gradation donnée par la configuration du pignon, mais contrairement à cette gradation, autant que faire se peut. La décoration de ces pignons dérive du système de construction adopté. Lorsque le bâtiment ne contient qu'un vaisseau, les points d'appui sont reportés aux deux extrémités; le triangle du pignon est terminé par deux épaulements: mais lorsque ce bâtiment est divisé dans sa longueur par un mur ou une épine de piliers, le pignon accuse la construction intérieure, et son milieu est maintenu par un contre-fort qui s'élève jusqu'au sommet du triangle. Si c'est une cheminée qui est adossée à l'intérieur dans l'axe de la salle, son tuyau, apparent à l'extérieur, s'élève jusqu'à la pointe du triangle dans les meilleures conditions de tirage, et sert d'épaulement à la construction.

Ces principes dans la construction des pignons ne furent admis toutefois qu'assez tard, vers le milieu du XIIe siècle, et avant cette époque nous voyons élever des pignons qui ne sont que des murs triangulaires pleins, décorés de membres peu saillants, d'arcatures, d'imbrications, de compartiments qui ne contribuent en rien à la solidité.

L'église latine de Saint-Front, antérieure à l'église actuelle, qui date de la fin du Xe siècle, possédait à l'occident un pignon dont on voit encore quelques traces, et qui était construit d'après ces données élémentaires, apparentes déjà à l'extérieur du monument de Poitiers connu sous le nom de temple de Saint-Jean 113.

Les églises de la Basse-Oeuvre à Beauvais et de Montmille présentent leurs pignons occidentaux simplement ornés de croix et de quelques imbrications 114. Mais un des plus riches parmi ces pignons du Beauvaisis est celui qui ferme le bras de croix septentrional de l'église Saint-Étienne de Beauvais. Ce pignon, dont quelques auteurs font remonter la construction au commencement du XIe siècle, ne peut être antérieur au commencement du XIIe. Il couronne une rose entourée d'une suite de figures représentant une roue de fortunes 115. La structure du parement extérieur du pignon est entièrement composée de très-petites pierres taillées, formant, par la manière dont elles sont posées, un treillis de bâtons, entre les intervalles desquels sont incrustées des rosaces sculptées sur le parement d'un moellon carré (fig. 3).

Ce treillis est coupé horizontalement par une ligne de bâtons rompus et par une très-petite baie rectangulaire terminée par un cintre pris dans une seule pierre. Les angles latéraux et du sommet de ce triangle ont été restaurés au XIVe siècle, et leurs amortissements primitifs remplacés par trois pinacles. Nous avons essayé de suppléer à cette lacune en nous appuyant sur des vignettes de manuscrits du temps. L'imbrication de petits moellons taillés formant décoration extérieure est appareillée, ainsi que l'indique le détail A, et n'a qu'une faible épaisseur; ce n'est qu'un revêtement posé devant un mur de maçonnerie ordinaire. Les tablettes de rampant couvraient le tout et formaient filet sur la tuile.

Un peu avant la construction de ce pignon, en Auvergne, à Clermont, on élevait l'église de Notre-Dame du Port, dont les pignons étaient richement décorés d'imbrications de billettes et d'incrustations de pierres de deux couleurs (blanches et noires). Nous donnons (fig. 4) un géométral du pignon méridional de cette église. Ici la construction est plus rationnelle. La corniche des murs goutterots passe à la base du pignon et est adroitement arrêtée par les deux contre-forts A et B. Cette corniche accuse le couronnement de l'édifice, et le triangle du pignon n'est que le masque de la couverture qu'il recouvre au moyen de la tablette saillante formant le rampant suprême. Ces deux exemples et ceux de Saint-Front et de Montmille font voir que les architectes romans cherchaient à donner une certaine richesse relative aux pignons des édifices. Ces tympans triangulaires couronnant les murs, aperçus de loin, à cause de leur hauteur, leur paraissaient comporter une décoration toute spéciale, rappelant la construction de bois des combles qu'ils étaient destinés à masquer. À Notre-Dame du Port, les lignes de billettes incrustées dans la maçonnerie et servant d'encadrements aux mosaïques affectent les dispositions d'une charpente. À Saint-Étienne de Beauvais, c'est un treillis de rondins qui semble posé devant le comble. Mais les amortissements latéraux, composés de deux angles plus ou moins aigus, sans épaulements, sans retours et souvent même sans acrotères, étaient maigres et faisaient naître la crainte d'un glissement des tablettes. Il fallait à ces deux angles un arrêt, un poids, ou tout au moins un retour de profil. La configuration des charpentes et combles que masquaient les pignons nécessitait d'ailleurs un arrangement particulier. En effet, les murs goutterots d'un édifice (fig. 5) étant donnés, ces murs goutterots étaient couronnés d'une tablette de corniche A recevant les coyaux et l'égoût du toit B (les chéneaux n'étant pas en usage au XIIe siècle); élevant un pignon devant cette projection, il fallait, ou que la corniche A se retournât à la base du pignon, ou qu'elle s'arrêtât brusquement au nu du mur, ou qu'elle fût masquée par une saillie ab; il fallait encore que la tablette couronnant le pignon servit de filet recouvrant la toiture, afin d'empêcher les eaux pluviales de passer entre la face postérieure du pignon et la tuile ou l'ardoise. C'est alors (vers le milieu du XIIe siècle) que les architectes cherchèrent diverses combinaisons plus ou moins ingénieuses pour satisfaire à ces conditions. La plus simple de ces combinaisons, adoptée dans beaucoup d'édifices de la Bourgogne et de la haute Champagne vers le milieu du XIIe siècle, est celle que nous présentons (fig. 6).

La corniche des murs goutterots étant prolongée jusqu'au nu du mur pignon, sa saillie recevait les extrémités inférieures du triangle rehaussées en encorbellement de manière à dégager la toiture et à la couvrir au moyen de la saillie a de la tablette. Mais cette tablette, pour ne pas glisser sur la pente du mur triangulaire, devait nécessairement faire corps avec l'assise b, ainsi que l'indique le détail géométral A. Alors le morceau d était assez lourd pour arrêter le glissement des tablettes rampantes e. En faisant tailler cette pierre dans un bloc, les maîtres étaient naturellement obligés de faire tomber le triangle g. Bientôt, au lieu de le jeter bas, ils laissèrent la pierre entière et profitèrent de ce triangle g restant, pour y conserver un petit gable, comme nous l'avons tracé dans le détail B. Cette réserve avait l'avantage de laisser plus de poids à la pierre, d'éviter un évidement, et de donner à l'oeil plus de solidité à cette assise d'arrêt.

Dans des constructions élevées avec économie même, nous voyons que les architectes apportent une attention toute particulière à couronner les pignons, afin d'éviter le passage des eaux pluviales entre la couverture et la maçonnerie, sans avoir jamais recours à ces solins de mortier ou de plâtre qui se détachent facilement, nécessitent des réparations incessantes et ont un aspect misérable. Quelquefois la tuile vient recouvrir les rampants du pignon, mais au sommet est posée une pierre d'amortissement recouvrant les deux peines de la tuile et les faîtières de terre cuite, ainsi que le fait voir la figure 7 116.

En A, l'amortissement d'extrémité supérieure du pignon est présenté en profil, et en B en perspective. Ainsi le mur est parfaitement préservé par les tuiles du couvert, et la jonction de celles-ci à la pointe du faîtage est garantie par la pierre d'amortissement formant filet sur les côtés, sur la face et par derrière.

Le système de charpente et de couverture adopté au commencement du XIIIe siècle donnant habituellement un triangle équilatéral et même quelquefois plus aigu, les pignons prennent de l'importance; les édifices étant élevés sur une plus grande échelle que dans les siècles précédents, il devient nécessaire, pour donner une assiette convenable à ces ouvrages de maçonnerie, de les combiner avec plus d'art. Présentant une très-grande surface, il faut en même temps les décorer et les alléger, d'autant que souvent ils s'élèvent sur de grands à-jour, roses, larges fenêtres, éclairant l'intérieur des vaisseaux. Les constructeurs cherchent alors à roidir ces grands murs abandonnés à eux-mêmes par des combinaisons de piles et de vides habilement répartis. On éleva en Bourgogne (province des hardis constructeurs), pendant la première moitié du XIIIe siècle, des pignons singulièrement audacieux comme structure, et d'un effet décoratif tout à fait remarquable. Nous en voyons deux, bâtis en même temps, devant le porche de l'église abbatiale de Vézelay et devant la nef de la petite église de Saint-Père sous Vézelay 117, qui présentent à la fois une construction hardie et une décoration d'une extrême richesse. Le pignon de la face occidentale de l'église de Saint-Père avait été construit en prévision d'une surélévation de la nef qui ne fut pas effectuée, de sorte qu'aujourd'hui ce pignon s'élève beaucoup au-dessus des combles. Il devait être flanqué de deux hauts clochers; celui du nord seul fut construit (voy. CLOCHER, fig. 70).

Un grand arc (fig. 8) était destiné à tracer la pénétration de la voûte sur la face. Sous cet arc s'ouvre une rose qui surmonte une baie à meneaux 118 Toute la décoration au-dessus de l'archivolte devait masquer la charpente, et présente dans une arcature une série de statues de grande dimension. Au sommet est assis le Christ bénissant, couronné par deux anges agenouillés. Sous le Christ est placé, debout sur un piédestal, saint Étienne, puis à la droite du Christ la Vierge, à la gauche sainte Anne. À la droite de la Vierge s'échelonnent les statues de saint Pierre, de saint André et d'un troisième apôtre. À la gauche de sainte Anne, saint Paul, saint Jean et un apôtre. Sous les statues de sainte Anne et de la Vierge on voit deux têtes de démons; les autres statues sont portées sur des pilettes et des culs-de-lampe. Des deux côtés de la rose sont sculptés le lion et le dragon. L'iconographie de ce pignon est donc complète et n'a subi aucune mutilation grave. Quant à la construction de cet important morceau d'architecture, elle consiste en un mur bâti en assises basses, roidi à l'extérieur par l'arcature composée d'assez grandes assises. Les deux clochers devaient l'épauler à ses deux extrémités; celui du nord ayant été seul élevé, le pignon avait gauchi du côté sud; mais il a été facile d'arrêter ce mouvement au moyen d'un contre-fort bâti à l'intérieur sur le mur de la nef, dont la voûte actuelle ne dépasse pas le niveau A. Il n'est pas nécessaire de faire ressortir la valeur de cette composition vraiment magistrale, et il faut dire que la statuaire ainsi que la sculpture d'ornement sont traitées de main de maître. Les figures, un peu longues en géométral, prennent en perspective leur proportion réelle, et forment un ensemble surprenant par sa richesse et la belle entente des lignes.

Le pignon de la face occidentale de l'église abbatiale de Vézelay, dû très-probablement au même artiste, présente une disposition différente et plus originale encore. Il sert de tympan aux voûtes du porche qui datent du XIIe siècle; l'arcature est à jour, éclaire le porche et les figures sont placées au droit des piles. Mais, fait unique peut-être, les rampants de ce pignon, au lieu d'être rectilignes, sont formés par deux courbes donnant une ogive (fig. 9) 119. Les statues qui décorent ce pignon présentent, comme à l'église de Saint-Père, au sommet, le Christ assis, tenant le livre des Évangiles et bénissant; deux anges portent une large couronne au-dessus de sa tête. À la droite du Christ est la Vierge, à sa gauche sainte Anne. Deux anges thuriféraires terminent la série. Au-dessous on voit, au droit des piliers: saint Jean-Baptiste, saint Pierre, saint Paul et saint Jean, un évêque et un saint que nous n'avons pu désigner. La section des piles formant claire-voie est donnée par le détail A. Les vitraux étant placés en B, il existe un passage entre l'arcature vitrée et l'arcature intérieure un peu moins élevée (fig. 10).

La construction de ce pignon est à étudier et s'explique par le géométral intérieur. La courbe A est celle donnée par le formeret fait au XIIIe siècle sous la voûte B du XIIe. Un arc de décharge C renforce le formeret et passe au-dessus de la galerie (voy. la coupe D, en C'). Un second arc de décharge EE' supporte le poids de l'extrémité supérieure du pignon, la trace du comble est en ab. Des piles F, F', maintiennent le placage GG' formant le fond de la décoration extérieure. Les colonnettes H, isolées et qui sont indiquées dans la section horizontale de l'une des piles de la figure 9, sont donc déchargées par le formeret, par l'arc C' et par celui E'. De plus, à partir du niveau I, elles sont reliées à la portion des piles donnant à l'extérieur par des languettes K, s'élevant jusque sous l'arc de décharge C'. Le passage L communique par quelques marches aux salles du premier étage des deux tours qui flanquent la façade. De l'intérieur comme de l'extérieur cette grande claire-voie produit beaucoup d'effet, et sa double arcature est disposée d'après une donnée perspective très bien entendue: la balustrade M n'étant pas assez élevée pour masquer l'appui N des baies vitrées; les arcatures O laissant voir dans tout leur développement les découpures de celle P, et le peu de diamètre des colonnettes H intérieures démasquant les vitraux. Tout cela est bâti en beaux matériaux, la sculpture est traitée de main de maître et date du milieu du XIIIe siècle. La statuaire est empreinte d'un grand caractère, et appartient franchement à la belle école bourguignonne (voy. STATUAIRE).

À la même époque, dans l'Île-de-France, on élevait des pignons conçus peut-être avec moins de hardiesse, d'une disposition moins originale, mais dans la composition desquels on observe un goût plus châtié, plus de délicatesse et une meilleure entente de la destination. On remarquera que le pignon de Vézelay est un masque du comble, mais ne se combine guère avec sa forme. Dans nos bons édifices gothiques du XIIe siècle, ceux de l'Île-de-France, ceux auxquels il faut toujours recourir comme étant la véritable expression classique de cet art, les pignons sont bien faits pour fermer le comble, ils l'éclairent franchement et le recouvrent. Nous ne saurions trouver un meilleur exemple que celui fourni par l'un des pignons du transsept de Notre-Dame de Paris (1257). Ce pignon s'élève sur une rose de 13 mètres de diamètre, et est percé lui-même d'un oeil en partie aveugle, qui éclaire le comble. Cette belle composition (fig. 11) est autant décorative que sagement raisonnée.

Sur le grand arc qui fait le formeret de la voûte et l'archivolte de la rose est posé un entablement portant balustrade, et qui permet de communiquer des galeries supérieures de l'est à celles de l'ouest. Le pignon proprement dit s'élève en retraite sur l'arc de la rose et porte principalement sur le formeret; il est de plus supporté par un arc de décharge noyé dans la construction. Ce pignon, qui a 70 centimètres d'épaisseur, est allégé par la rose qui éclaire le comble, dont les parties aveugles ne sont que des dalles portant sculpture, par des rosaces et écoinçons. Deux grands pyramidions le flanquent, forment les têtes des contre-forts contre-butant la rose, et permettent à un escalier postérieur de se développer et de passer au-dessus du comble qu'il recouvre, et sur la jonction duquel il forme un large solin, ainsi que le font voir le profil A et la portion du pignon postérieur B, la section A étant faite sur ab. Trois statues décorent le sommet et les deux angles inférieurs du pignon. Celle du sommet représente le Christ apparaissant en songe à saint Martin, revêtu de la moitié du manteau donné au pauvre 120; les deux autres figurent le même saint Martin et saint Étienne 121. Éclairé par le soleil, ce pignon produit un merveilleux effet. D'ailleurs il accuse parfaitement le comble qu'il est destiné à fermer; la sculpture en est large, sobre, bien à l'échelle et admirablement traitée. L'oeil du comble est d'une proportion parfaitement en rapport avec la grande rose qui s'ouvre sur le transsept. Cette composition ne fut pas surpassée. Le pignon méridional de la cathédrale d'Amiens, élevé vers le milieu du XIVe siècle, présente cependant une disposition originale qui se rapproche de la composition du pignon de Vézelay. Le grand triangle est divisé verticalement par des piles formant comme une suite de contre-forts ornés de statues et de pinacles, et entre lesquels s'ouvrent des jours qui éclairent le comble. Mais là les détails, trop petits d'échelle, sont confus et n'offrent plus cette simplicité de lignes que nous admirons à Paris et même à Vézelay. Pour ne pas laisser isoler ces grands triangles, on eut quelquefois l'idée, au XIVe et au XVe siècle, de les épauler par des galeries à jour ou aveugles qui réunissent leurs rampants aux pyramidions ou tourelles d'épaulement. Un des pignons les mieux composés en ce genre est celui de la façade principale de l'église Saint-Martin de Laon, qui date de la fin du XIIIe siècle ou du commencement du XIVe.

Nous en donnons (fig. 12) une vue perspective. Voulant donner une grande importance aux deux tourelles flanquantes, l'architecte a senti que le pignon entre ces deux clochetons paraîtrait maigre; aussi l'a-t-il accompagné d'une galerie aveugle qui termine ainsi, comme masse, carrément le portail, et cependant il n'a pas voulu mentir au principe, et a fait reparaître la trace du comble à travers cette galerie.

Un peu avant la construction de Saint-Martin de Laon, le célèbre architecte Libergier, pendant la seconde moitié du XIIIe siècle, avait élevé, sur le portail de l'église de Saint-Nicaise à Reims, un pignon relié aux deux tours de la façade par une galerie à jour, ce qui était bien plus vrai que le parti adopté à Saint-Martin de Laon. Cette galerie mettait d'ailleurs en communication les étages supérieurs des clochers 122. Le pignon de Saint-Nicaise de Reims était percé de trois oeils circulaires éclairant le comble, et son nu était décoré d'une imbrication, dernier vestige de cette tradition romane que nous voyons acceptée franchement dans le pignon de l'église de Saint-Étienne de Beauvais, donné plus haut, et dans des pignons des provinces du Centre et de l'Ouest. Comme à la cathédrale de Reims, le pignon occidental de l'église de Saint-Nicaise était doublé, se répétait au droit des faces postérieures des tours, et ce second pignon était, comme celui antérieur, relié aux tours par une galerie à jour semblable à celle de la face. On conçoit combien cette claire-voie doublée devait produire d'effet en perspective. Nous donnons (fig. 13) un géométral du pignon de Saint-Nicaise 123. Il faut dire que les colonnettes supportant la galerie étaient jumelles, afin de donner l'épaisseur nécessaire au passage courant sur l'arcature (voy. le détail en coupe A).

Il ne faut pas croire que l'architecture religieuse seule élevait des pignons d'une grande importance et richesse. Le pignon de la salle du palais à Poitiers est un des plus riches qu'on puisse imaginer et des plus singuliers comme composition. À sa base, à l'intérieur, est établie une cheminée qui embrasse toute sa largeur; les tuyaux de cette cheminée traversent hardiment les fenêtres qui s'ouvrent dans le pignon. On peut prendre une idée de cette composition en examinant la figure 10 à l'article CHEMINÉE (XVe siècle). Le pignon de la grand'salle du château de Coucy était aussi très-richement décoré sur le dehors (voy. SALLE), et surmonté d'une statue colossale. Une baie immense s'ouvrait sous son triangle et éclairait largement la salle dans sa longueur. Ce pignon appartenait aux constructions élevées par Louis d'Orléans pendant les premières années du XVe siècle. Parmi les pignons d'architecture civile, plus simplement traités, il faut citer ceux du logis du château de Pierrefonds. Nous en présentons (fig. 14) deux spécimens.

Ils se combinent avec les crénelages du château, ainsi qu'on peut le voir en A. Derrière le crénelage ressautant, suivant le rampant du comble, est posé l'escalier de service pour les couvreurs, et pouvant même au besoin être garni de défenseurs. En B est donnée la coupe de ce pignon, l'emmarchement étant profilé en a et le faîtage du comble en b.

Le pignon C, qui appartient au même château, est muni d'un triple tuyau de cheminée d qui interrompt le degré, lequel alors se continue au moyen de marches de plomb sur le comble. En D, nous donnons l'un de ces pignons de granges du XIIIe siècle, avec son contre-fort d'axe destiné à contre-buter la poussée des arcs portant sur une épine de colonnes et soulageant les portées de la charpente. Les architectes du moyen âge ne se faisaient pas faute de munir les pignons de contre-forts suivant les distributions intérieures, soit pour accuser des murs de refend, soit pour contre-buter des arcs. Ils faisaient preuve, dans cette partie importante de leurs édifices, de la liberté que nous aimons à trouver dans leurs oeuvres les plus modestes comme les plus riches. Le pignon accuse la coupe transversale d'un édifice, c'est donc la partie qui indique le plus clairement sa construction et sa destination; les architectes ont compris ainsi sa fonction, et ils se sont bien gardés de la cacher. À voir un pignon du dehors, on saisit facilement les diverses divisions du bâtiment et sa structure, s'il est voûté ou lambrissé, s'il ne possède qu'un rez-de-chaussée, ou s'il se compose de plusieurs étages. Habituellement, les cheminées sont placées dans l'axe des pignons, afin d'amener facilement leurs tuyaux jusqu'au faîte du comble et d'éviter leur isolement. Ces tuyaux forment alors de véritables contre-forts creux qui roidissent les grands triangles de maçonnerie et leur donnent plus d'assiette. L'établissement des pignons dans les édifices civils avait encore l'avantage d'éviter les croupes en charpente d'une construction et d'un entretien dispendieux, et de fournir de beaux dessous de combles bien fermés, aérés et sains.

Note 112: (retour) L'île de Lérins, qui possédait une belle et ancienne abbaye, est située devant l'île Sainte-Marguerite, en face de la rade de Cannes (Alpes-Maritimes).
Note 113: (retour) Voyez, dans l'Architecture byzantine en France par M. F. de Verneilh, la description du pignon de la vieille basilique de Saint-Front, et la gravure qui s'y trouve jointe, p. 93.
Note 114: (retour) Voyez Les monuments de l'ancien Bauvoisis, par M. Woillez, 1849.
Note 115: (retour) Voyez ROSE. Voyez aussi l'album de Villard de Honnecourt, pl. XLI.
Note 116: (retour) D'une chapelle de la petite église de Flavigny (Côte-d'Or), XVe siècle. Nous avons trouvé des amortissements de ce genre sur des pignons bourguignons de maisons du XIIIe siècle.
Note 117: (retour) Saint-Père pour Saint-Pierre.
Note 118: (retour) Aujourd'hui cette rose s'ouvre sous le comble de la nef.
Note 119: (retour) À l'échelle de 0,01 pour mètre.
Note 120: (retour) En bas du portail est représentée, à droite et à gauche, la légende de saint Martin.
Note 121: (retour) La légende de saint Étienne est représentée dans le tympan de la porte.
Note 122: (retour) Voy. CLOCHER, fig. 75.
Note 123: (retour) Voyez la gravure précieuse de De Son, Rémois (1625). Cette belle et unique église dans son genre a été détruite, sans raison comme sans nécessité, au commencement du siècle.


PILASTRE, s. m. (ante). Pendant l'antiquité grecque, le pilastre, ou plutôt l'ante, est, ainsi que ce mot l'indique assez, une tête de mur ou une chaîne saillante élevée au retour d'équerre d'un mur. Sur le mur d'une cella, l'ante est le renfort élevé en A ou en B (fig. 1), lequel renfort porte un chapiteau et s'appuie quelquefois sur une base. Dans l'architecture romaine, ce qu'on appelle pilastre, est la projection d'une colonne sentie sur le nu d'un mur par une faible saillie. A (fig. 2) étant une colonne, B est son pilastre: quelquefois la colonne isolée ou engagée disparaît, comme par exemple autour de l'étage supérieur du Colisée à Rome, et le pilastre reste seul. Les Grecs n'ont jamais, pendant la belle époque, donné à l'ante le même chapiteau qu'à la colonne; mais, sous l'empire, le chapiteau du pilastre n'est que la projection du chapiteau de la colonne, comme le pilastre lui-même n'est que la projection du fût. Si le pilastre est seul, s'il n'est pas la projection d'une colonne, il possède le chapiteau d'un ordre dorique, ionique, corinthien ou composite, mais ne prend pas un chapiteau spécial.

Dans les premiers temps du moyen âge, les architectes ne prennent pas la peine de projeter la colonne adossée sur le mur d'adossement, mais ils placent parfois des pilastres comme décoration ou renfort d'un mur. On voit de petits pilastres à l'extérieur du monument de Saint Jean à Poitiers; on en retrouve sur le pignon occidental de la basilique latine de Saint-Front de Périgueux, accompagnant deux étages d'arcatures 124, et, plus tard, vers la fin du Xe siècle, à l'intérieur même de cet édifice. Ces pilastres, couronnés par des chapiteaux pseudo corinthiens, portent une arcature haute (dans les tympans fermant les grandes travées des coupoles) qui forme un passage continu tout autour de l'édifice. Des fenêtres sont ouvertes, dans l'arcature au droit du choeur et du transsept. Mais cet exemple que l'on trouve répété dans la partie ancienne de l'église de la cité (cathédrale) à Périgueux, n'est pas suivi généralement dans les édifices de l'Ouest. La colonne engagée remplace le pilastre, tandis que, dans la haute Bourgogne, le Morvan et la haute Champagne, le pilastre romain persiste fort tard, jusqu'au commencement du XIIIe siècle. Il existe encore à Autun deux portes de ville de l'époque gallo-romaine, les portes d'Arroux et de Saint-André, qui sont couronnées par un chemin de ronde consistant en une suite d'arcades entre lesquelles sont disposés des pilastres, cannelés à la porte d'Arroux, lisses à la porte Saint-André. Cette arcature avec pilastres servit évidemment de type aux architectes qui, au XIIe siècle, élevèrent les cathédrales d'Autun et de Langres, et les églises de Saulieu et de Beaune. Mais soit qu'il existât encore à cette époque de grands monuments romains avec pilastres, soit que les galeries des portes romaines d'Autun aient inspiré aux architectes l'idée de se servir du pilastre, et du pilastre cannelé, dans la composition des piles mêmes des édifices précités, nous voyons le pilastre appliqué en grand à Langres, à Autun et dans quelques autres, monuments de ces contrées. À Langres, de grands pilastres pseudo-corinthiens forment la tête des contre-forts de l'abside à l'extérieur. À la cathédrale d'Autun, les piliers intérieurs sont cantonnés de pilastres cannelés (voy. PILIER). À Vézelay même, dans la nef, au-dessus des archivoltes des bas côtés, des pilastres portent les formerets de la grande voûte, tandis qu'on ne voit jamais de pilastres employés dans les édifices romans de l'Île-de-France. Le pilastre est quelquefois employé aussi dans certains monuments romans de la Provence, et il est habituellement cannelé. De fait, dans l'architecture française du moyen âge, le pilastre est une exception, son emploi est dû à la présence de monuments romains voisins.

Note 124: (retour) Voyez, dans l'Architecture byzantine en France, par M. Félix de Verneilh, 1851, la description de l'église latine de Saint-Front, p. 93.


PILE, s. f. Voy. PILIER.



PILIER, s. m. Support vertical de pierre isolé, destiné à porter les charpentes ou les voûtes des édifices. Le pilier appartient à l'architecture du moyen âge. Les Grecs ni les Romains n'élevaient, à proprement parler, de piliers, car ce nom ne peut être donné à la colonne non plus qu'à ces masses épaisses et compactes de blocages qui, dans les grands édifices romains, comme les salles des Thermes, par exemple, supportent et contre-butent les voûtes. Le pilier est trop grêle à lui seul pour résister à des poussées obliques; il faut, pour qu'il puisse conserver la ligne verticale, qu'il soit chargé verticalement, ou que les résultantes des poussées des voûtes agissant sur lui se neutralisent de manière à se résoudre en une pression verticale. Lorsque les nefs d'églises, les salles, étaient couvertes par des charpentes, il n'était pas besoin de donner aux piliers une force extraordinaire, et de chercher, par la combinaison de leur section horizontale, à résister aux pressions obliques des voûtes; mais dès que l'on prétendit substituer la voûte aux charpentes pour fermer les vaisseaux, les constructeurs s'ingénièrent pour donner aux piliers des formes propres à remplir cette nouvelle destination. Ils augmentèrent d'abord démesurément le diamètre de la colonne cylindrique, puis ils groupèrent plusieurs colonnes; puis ils cantonnèrent les piliers à section carrée de colonnes engagées; ils cherchèrent ainsi des combinaisons résistantes jusqu'au moment où l'architecture adopta, vers le milieu du XIIe siècle, un système de structure entièrement nouveau. Alors le pilier ne fut plus que le dérivé de la voûte ou de la pression agissant sur lui.

Mieux que tout autre membre de l'architecture, le pilier, pendant le moyen âge, exprime les essais, les efforts des architectes et les résultats logiques des principes qu'ils admettent au moment où l'art vient aux mains des écoles laïques; aussi devrons-nous entrer dans des explications assez étendues à propos des curieuses transformations que subit le pilier du Xe au XVe siècle.

Dans la basilique romaine, le pilier n'est autre que la colonne portant un mur vertical, soit au moyen de plates-bandes, soit au moyen d'arcs. Sur deux rangs de colonnes s'élevaient deux murs; sur ces deux murs, de l'un à l'autre, une charpente. Pression verticale, assez faible d'ailleurs, par conséquent résistance suffisante si les colonnes étaient de pierre dure, de granit ou de marbre. Des murs de brique bien faits ne pèsent guère; des charpentes, si larges qu'elles soient, n'exercent qu'une pression assez faible. Mais quand à l'art de la construction pratiquée par les Romains, on tomba dans une grossière imitation de cet art, on dut substituer à des murs minces, bien liaisonnés, garnis de mortier excellent, revêtus d'enduits indestructibles ou bâtis de pierres d'appareil posées à joints vifs, des murs de moellons smillés, mal liaisonnés, remplis de mauvais mortier; dès lors il fallait nécessairement donner à ces murs une plus forte épaisseur, partant un poids plus considérable, aux colonnes ou piliers une plus large section. D'ailleurs les constructeurs romans, pendant la période carlovingienne, ne pouvaient ni extraire ni tailler des colonnes de marbre, de granit ou de pierre dure monolithes; ils composaient celles-ci par assises de pierres basses et même quelquefois de moellons. Les piliers renforcés ne résistaient pas toujours aux charges qu'on leur imposait, ils se gerçaient, se lézardaient; on en vint à augmenter démesurément leur force pour éviter ces accidents, on adopta les sections rectangulaires: leurs assises étaient ainsi plus faciles à poser et plus résistantes; souvent on leur donna une épaisseur plus forte que celle des murs dont ils avaient à supporter la charge.

Beaucoup de monuments des Xe et XIe siècles ont conservé des piliers dans la construction desquels on observe les tâtonnements, les essais des constructeurs, rarement satisfaits du résultat obtenu; car ces piliers étaient non-seulement disgracieux, mal reliés aux parties supérieures, mais encore ils prenaient une place considérable, encombraient les intérieurs et gênaient la circulation. Aussi n'est-il pas rare alors de voir dans un même édifice des piliers bâtis en même temps affectant des formes différentes, comme si les architectes dussent les essayer toutes, dans l'impossibilité où ils se trouvaient d'en trouver une qui pût les contenter. Pendant le XIe siècle nous voyons employer simultanément les piliers à section carrée, carrée avec arêtes abattues, circulaire, lobée, carrée cantonnée de demi-cercles, barlongue, circulaire, entourée d'une série de sections de cercle, etc.; mais rien n'est arrêté, rien n'est définitif, aucun système ne prévaut.

Dans la petite église de Vignory (Haute-Marne) 125, les murs de la nef sont supportés par une suite de piliers à section barlongue; puis la dernière travée près du choeur présente des piliers à section circulaire (fig. 1). Au-dessus du pilier à section circulaire A est posé, pour former le faux triforium B, un pilier à section carrée dont les angles sont arrondis 126.

L'architecte, se défiant de la petitesse de ses matériaux, n'a pas osé élever les piles de la nef jusqu'à la hauteur du lambris des combles des bas côtés, il les a étrésillonnées dans le sens de la longueur par des arcs C (voy. la coupe) qui portent une claire-voie n'ayant d'autre destination que de rendre le mur de la nef moins lourd et de décorer cet intérieur.

Dans l'église de Bonneuil-en-France (Seine-et-Oise), nous voyons des piliers du XIe siècle, dont la section est donnée en A, fig. 2, portant des archivoltes à doubles claveaux; mais ici l'esprit méthodique des artistes de l'Île-de-France apparaît: la section de ces piliers est motivée par la construction supérieure, on sent là l'influence d'une école dont les principes sont déjà raisonnés. Ces piliers sont bien construits en assises régulières. Les profils sous les arcs ne se retournent pas sur les faces, ce qui est parfaitement justifié par la construction.

Dans la nef de l'église Saint-Rémi de Reims, élevée vers la fin du Xe siècle (nous parlons des constructions primitives), on voit des piliers dont la forme singulière ne paraît motivée en aucune manière.

Ces piliers (fig. 3 et 3 bis) se composent d'un faisceau de segments de colonnettes dont la section horizontale donne le tracé reproduit dans la figure 3. Un cercle ayant été tracé avec le rayon AB, ce cercle est le socle de la pile; ayant été divisé en sept parties égales, on a obtenu un polygone qui donne le plinthe des bases des colonnettes. Le rayon AB ayant été divisé en deux parties égales, AC, BC, les points C ont donné les centres des sept grosses colonnettes. La rencontre des segments de ces grosses colonnettes a donné le centre des sept autres colonnettes dont les tores des bases sont tangents aux côtés du polygone. Les archivoltes HH, II, le nu du mur FG, posent assez gauchement sur cette pile, comme il est facile de le reconnaître par le tracé. L'arc-doubleau KL du collatéral prend sa naissance au-dessous de celle des archivoltes, ce qui fait que le tailloir des chapiteaux sous cet arc-doubleau vient buter contre les fûts de la pile, et que les tailloirs des chapiteaux portant les archivoltes pénètrent dans l'arc-doubleau. La perspective de cette pile (fig. 3 bis) explique d'ailleurs ces bizarreries, et comment tous les chapiteaux, sauf ceux portant l'arc-doubleau, sont inscrits dans un cercle qui est de même diamètre que celui donnant la projection horizontale du socle. Il semblerait que l'architecte a voulu obtenir ici une puissante résistance et une apparence légère par ces divisions du gros fût en portions de cylindres se pénétrant.

Dans l'église de Saint-Aubin de Guérande, la nef, dont la construction date de 1130 environ, repose sur des piliers alternativement cylindriques et composés. Voici (fig. 4) l'un de ces derniers. La section horizontale tracée en A donne quatre grosses demi-colonnes de 60 centimètres de diamètre, et quatre plus menues de 40 centimètres de diamètre. Les bases de ces colonnes sont circulaires, et reposent sur un plateau également circulaire, enveloppant les huit bases partielles et formant socle. La projection horizontale de ce plateau donne celle du tailloir commun aux huit chapiteaux, et portant sur la face, un pilier C dont la section est un trapèze, des archivoltes à double rang E, D, et un arc-doubleau G sur le bas côté. Le pilier C (voy. l'élévation F) ne portait que les entraits de la charpente, cette nef n'ayant pas été voûtée primitivement. La construction de ces piliers est beaucoup mieux entendue que celle des piliers de l'église de Saint-Remi de Reims, car ici chaque colonne engagée a déjà sa fonction distincte et bien motivée. Le tracé perspectif B fait comprendre la disposition des huit chapiteaux groupés sous le tailloir circulaire 127.

L'église de Lons-le-Saulnier nous montre une nef du XIIe siècle portée sur des piliers alternativement cylindriques et à section polygonale, terminés par des amortissements carrés formant chapiteaux et recevant en plein les sommiers des archivoltes (fig. 5).

Le XIIe siècle présente une grande variété de piliers. Les constructeurs, cherchant les moyens d'élever des voûtes sur les nefs romanes, qui jusqu'alors en étaient habituellement dépourvues (dans les provinces du Nord du moins), passaient de la forme primitive de la colonne monocylindrique à la section carrée, au groupe de cylindres, aux plans carrés cantonnés de colonnes engagées, sans trouver la forme qui convenait définitivement à ces supports; car chaque jour amenait un nouveau mode dans la structure des voûtes, et bien souvent, pendant que l'on élevait les piliers, il survenait un perfectionnement dans la manière de disposer les sommiers qui ne trouvait que difficilement son emploi sur des piles préparées antérieurement à la connaissance de ce progrès. C'est ce qui explique comment, dans beaucoup d'édifices de la dernière période romane, on voit des arcs reposant gauchement sur des piliers qui évidemment n'avaient pas été tracés en prévision de la forme de ces voûtes.

Il est une école cependant qui tâtonne peu, c'est l'école bourguignonne, ou plutôt l'école de Cluny. Aussi est-ce dans les édifices dus à cet ordre que l'on voit déjà, dès le commencement du XIIe siècle, apparaître des piles très-franchement disposées pour recevoir les voûtes telles qu'on les concevait à cette époque. Les piles de la nef de l'église abbatiale de Vézelay, élevée à la fin du XIe siècle et pendant les premières années du XIIe, sont déjà tracées sur un plan coïncidant parfaitement avec la construction des voûtes. Elles sont formées par la pénétration de deux parallélogrammes rectangles cantonnés de quatre colonnes cylindriques engagées.

La figure 6 donne en A la section horizontale de ces piles au niveau ab, et en B leur section au niveau cd. C donne la face de la pile du côté de la nef, et D la coupe de la travée sur le milieu des archivoltes. On voit qu'au-dessus du bandeau G, le mur de la nef se retraite pour dégager des pilastres H qui sont destinés à porter déjà des formerets I, sur lesquels s'appuient les voûtes d'arête sans arcs ogives. Des contre-forts K étaient seuls destinés primitivement à contre-buter les grandes voûtes, et reposaient sur les sommiers L des arcs-doubleaux des bas côtés. Ici les chapiteaux sont placés aux naissances des archivoltes et des arcs-doubleaux, de sorte qu'ayant les mêmes diamètres, les colonnes engagées antérieures X sont beaucoup plus longues que les colonnes M et N. Ainsi, dès cette époque, le principe de soumettre les hauteurs des colonnes aux naissances des arcs est admis. Ce sont les voûtes qui commandent l'ordonnance. Les colonnes ne sont engagées que d'un tiers, afin de laisser à leur diamètre toute leur pureté, ce qui est un point important, car toute colonne engagée de la moitié de son diamètre, par l'effet de la perspective, ne paraît jamais posséder son épaisseur réelle. Il est évident que dans la nef de Vézelay, l'architecte a su, dès la base de l'édifice, comment il le pourrait voûter; les arcs-doubleaux reposent en plein sur les saillies des chapiteaux et sur les dosserets auxquels les colonnes sont adossées; les formerets de la grande voûte trouvent leurs points d'appui, et les arêtes des voûtes leur place dans des angles rentrants, comme dans la structure romaine.

Les piliers de la cathédrale d'Autun, d'une époque plus récente (1140 environ), mais appartenant à cette belle école de la haute Bourgogne, méritent également de fixer notre attention. Ils se composent, suivant la section horizontale, de deux parallélogrammes se pénétrant, cantonnés, non de colonnes engagées, mais de pilastres cannelés. Il faut observer que la nef principale de cette église est voûtée en berceau, et non point par des voûtes d'arête, comme à Vézelay. Ses piliers sont, d'ailleurs, parfaitement disposés pour ce genre de construction.

La section A est faite sur ab (fig. 7), la section B sur cd, la section C sur ef. Les arcs-doubleaux D reposent sur la tête du pilastre montant de fond, et le nerf qui les cerne à l'extrados, sur les colonnettes E. Les pilastres latéraux i s'arrêtent à la naissance des archivoltes des collatéraux, et celui postérieur reçoit, au même niveau, l'arc-doubleau de la voûte du bas côté. C'est donc, comme à Vézelay, la naissance des arcs des voûtes qui détermine la hauteur des colonnes ou pilastres engagés; mais pour ne pas donner au pilastre antérieur une proportion démesurément allongée, l'architecte a eu le soin de le couper par les bandeaux n et m. Il n'est pas nécessaire de faire ressortir l'étude des proportions et des détails qui perce dans cet exemple d'architecture. On croirait voir là un fragment de ces monuments gréco-romains si délicats que M. le comte Melchior de Vogué a découverts dans les environs d'Antioche et d'Alep. Il n'est pas jusqu'à la sculpture qui ne rappelle cette école orientale si brillante au Ve siècle; et bien que les portes gallo-romaines d'Autun aient pu inspirer aux architectes de la cathédrale du XIIe siècle le motif de l'arcature du triforium, ceux-ci ont été certainement prendre ailleurs leurs profils et leur ornementation, ces profils et ornements étant d'un tout autre style que ceux des édifices gallo-romains et d'une exécution bien supérieure.

Ce motif de piliers a été suivi dans la construction des églises Notre-Dame de Beaune, de Saint-Andoche de Saulieu et de la cathédrale de Langres, car la cathédrale d'Autun a fait école.

L'école de l'Île-de-France, au moment où l'architecture passait aux mains des architectes laïques, devait rompre avec ces traditions qui semblaient si bien établies dans les contrées de la Bourgogne et de la haute Champagne. Vers 1160, ces architectes de l'Île-de-France tentaient d'associer les anciennes données romanes au nouveau système de structure qu'ils inauguraient; ils conservaient encore la colonne monocylindrique et ne commençaient l'ordonnance imposée par les voûtes d'arête en arcs ogives qu'au-dessus de ces colonnes.

Ce principe est franchement accusé dans l'intérieur de la cathédrale de Paris. Les piliers du choeur de cette église, élevés vers 1162, et ceux de la nef, vers 1200, présentent à peu près les mêmes dispositions. Les piliers du choeur, dont nous donnons la section horizontale (fig. 8), se composent d'un gros cylindre de 1m,30 de diamètre (4 pieds), portant un large chapiteau à tailloir carré, sur lequel reposent les archivoltes portant les murs ab, cd, les arcs-doubleaux du collatéral e et les arcs ogives f. Les trois colonnettes g, h, h, s'élancent jusqu'aux naissances des grandes voûtes pour porter les arcs-doubleaux et les arcs ogives ou les formerets. À la hauteur du triforium, la section monocylindrique du pilier se divise, comme l'indique la figure, en autant de membres qu'il y a de nerfs de voûtes à porter.

Dans la nef (fig. 9), la section de la pile du triforium se simplifie; la pile, construite par assises, ne présente que des retours d'équerre, des pilastres, et les colonnettes sont détachées en monolithes. Plus tard, aux piles avoisinant les tours, vers 1210, les constructeurs ont même accolé après coup, à la grosse colonne monocylindrique du rez-de-chaussée, une colonne engagée A pour supporter l'apparence de porte-à-faux des colonnettes antérieures assises sur le tailloir, ou plutôt pour épauler le gros cylindre et arrêter son déversement. C'était une transition.

Voici (fig. 10) quelle est la construction des piles de la nef de Notre-Dame de Paris en élévation 128. Il est clair que l'ordonnance propre au nouveau système de structure adopté alors ne commence qu'à partir du niveau A, c'est-à-dire au-dessus du tailloir des chapiteaux des colonnes du rez-de-chaussée. Celles-ci constituent une ordonnance séparée, un quillage inférieur. Ce principe persiste plus longtemps dans l'Île-de-France que partout ailleurs, ce n'est qu'avec peine que les architectes l'abandonnent. Déjà cependant, à Paris, dans la construction de la cathédrale même, ils avaient élevé, dans les collatéraux de la nef, des colonnes monocylindriques cantonnées de colonnes monostyles (voy. CONSTRUCTION, fig. 92 et 93); mais ce parti leur avait été imposé par la nécessité de donner à ces points d'appui une résistance exceptionnelle. Nous voyons qu'à la cathédrale de Laon, sans aucune raison apparente, vers la même époque, c'est-à-dire vers 1200, les architectes ajoutent aux gros cylindres du rez-de-chaussée de la nef des colonnes monostyles détachées, comme un essai, une tentative, un acheminement vers un nouveau système de structure des piles. Sur vingt piles qui portent le triforium et les voûtes de la nef de Notre-Dame de Laon, quatre seulement présentent cette particularité de colonnettes posées aux angles du tailloir et sur la partie antérieure, ainsi que l'indique la section horizontale (fig. 11).

Les trois colonnettes a, b, b, soulagent le tailloir du gros chapiteau, et reçoivent les cinq colonnettes qui portent l'arc-doubleau, les arcs ogives et les formerets des grandes voûtes. Quant aux colonnettes c, elles reçoivent les sommiers des arcs ogives des voûtes des bas côtés. En perspective, ces piliers présentent donc l'aspect reproduit dans la figure 12.

Ces quatre piliers sont, il est vrai, posés sous les retombées des voûtes, qui, à Laon comme à Notre-Dame de Paris, embrassent deux travées, mais on ne s'explique pas pourquoi ce système, qui est très-bon, n'a pas été suivi tout le long de la nef. Les bagues A forment une assise qui relie les fûts supérieurs B aux fûts inférieurs C. Les constructeurs de la cathédrale de Laon n'avaient pas le beau liais cliquart de Paris, et ils ne pouvaient tailler de colonnettes monostyles d'une grande longueur.

Aussi reliaient-ils les fûts par ces assises de bagues qui se répétaient plusieurs fois dans la hauteur des piliers, comme on le voit en D. On observera que le chapiteau de la grosse colonne comprend deux assises, tandis que les chapiteaux des colonnettes en délit sont pris dans une seule assise faisant corps avec la deuxième assise du gros chapiteau. Ce principe est suivi assez rigoureusement pendant les premières années du XIIIe siècle (voy. CHAPITEAU).

Quelques années avant la construction de la cathédrale de Laon, c'est-à-dire vers 1170, on élevait dans la même ville la nef et le choeur de l'église Saint-Martin, et l'architecte conservait le corps de la pile romane, formée, en section horizontale, de parallélogrammes se pénétrant avec colonne engagée du côté de la grande nef pour recevoir l'arc doubleau; mais dans les quatre angles rentrants laissés par les parallélogrammes, cet architecte posait déjà des colonnettes en délit pour recevoir les arcs ogives des hautes et basses voûtes (fig. 13).

Ces colonnettes, composées de plusieurs morceaux, étaient retenues par des bagues, ainsi que le fait voir la vue perspective. Mais ces piles avaient l'inconvénient de donner une section considérable prenant beaucoup de place, gênant la circulation et masquant la vue du sanctuaire; cependant ces quatre colonnettes, disposées pour recevoir les arcs ogives, avaient probablement fait naître aux architectes de la cathédrale de Laon l'idée de cantonner leur pilier cylindrique de cinq colonnettes, l'une destinée à porter l'arc-doubleau de la grande nef, et les quatre autres à porter les arcs ogives. Bientôt on prit un parti plus radical, on cantonna la grosse colonne cylindrique de quatre colonnes engagées, recevant les deux arcs-doubleaux et les deux archivoltes; les arcs ogives des collatéraux retombèrent alors sur le gros chapiteau du cylindre principal, et ceux des voûtes de la grande nef sur des colonnettes en délit portant sur la saillie du tailloir. C'est suivant ce système que furent élevés les piliers de la cathédrale de Reims (fig. 14).

En A nous donnons la section de ces piliers au niveau du rez-de-chaussée, la grande nef étant du côté N. Les gros cylindres ont 1m,60 de diamètre (5 pieds); dans le sens de la coupe en travers, les piliers, compris les colonnes engagées, ont 2m,48, et dans le sens de la nef 2m,40 seulement. C'était une précaution prise pour donner à ces piliers un peu plus d'assiette dans le sens de la poussée des voûtes.

L'appareil de ces piliers est donné par Villard de Honnecourt et est reproduit dans notre figure. Villard de Honnecourt a bien le soin de nous dire que cet appareil avait été combiné afin de cacher les joints des tambours; il n'est pas besoin d'ajouter que l'appareil se chevauche de deux en deux assises. Au niveau du triforium, en ab (voy. l'élévation B), le pilier adopte la section C. La colonne engagée d fait corps avec la bâtisse, c'est-à-dire qu'elle est élevée par assises, tandis que les colonnettes e recevant les arcs ogives des grandes voûtes, et les colonnettes f recevant les formerets, sont rapportées en délit, maintenues par les bandeaux g, h, qui font bagues, et les chapitaux i et l. L'architecte de Notre-Dame de Reims n'avait pas encore une théorie bien arrêtée sur l'équilibre des voûtes dans les grands édifices gothiques, et il avait cru devoir donner à ses piliers une très-forte section; il avait, au niveau du triforium, cru devoir élever encore un gros contre-fort en porte-à-faux pour asseoir les piles recevant les arcs-boutants (voy. CATHÉDRALE, fig. 14). L'architecte de la cathédrale d'Amiens fut plus hardi: il donna une section beaucoup plus faible à ses piliers, et ne songea à les maintenir dans leur plan vertical que par le secours des arcs-boutants (voy. CATHÉDRALE, fig. 20).

D'autres constructeurs avaient essayé des colonnes jumelles dans les cathédrales de Sens et d'Arras (voy. la section D) (1160), ou plus tard des colonnes avec une seule colonnette adossée (voy. la section E), ou encore des colonnes à section ovale, comme dans le choeur de la cathédrale de Seez (fin du XIIIe siècle) (voy. la section F), dominés qu'ils étaient par cette idée de résister aux poussées et de prendre le moins de place possible, de ne pas obstruer la vue des nefs et des sanctuaires.

Les exemples de piliers empruntés aux cathédrales de Reims et d'Amiens nous font voir seulement une grosse colonne centrale cantonnée de quatre colonnes engagées; les colonnettes destinées à porter les arcs ogives et les formerets ne prennent naissance qu'au-dessus du chapiteau inférieur. Vers le milieu du XIIIe siècle déjà on faisait descendre les colonnettes des arcs ogives des grandes voûtes jusqu'à la base même du pilier; puis bientôt on voulut porter les arcs ogives des voûtes des collatéraux sur des colonnettes spéciales; les piliers prirent donc la section donnée par la figure 15: A étant le côté faisant face à la grande nef et B la partie du pilier en regard du collatéral. Dès l'instant que l'on admettait que les arcs ogives, comme les archivoltes et les arcs-doubleaux, devaient posséder leur colonnette montant de fond, il était logique d'admettre que les formerets eux-mêmes possédassent leurs supports verticaux, et même que les membres de ces nefs de voûtes eussent chacun un point d'appui spécial. On multiplia donc les colonnettes autour du cylindre central, et les moulures elles-mêmes des arcs vinrent mourir sur la base du pilier. Ce parti tendait à faire supprimer les chapiteaux, car à quoi bon un chapiteau dès que la moulure formant l'arc se continue le long du pilier? Vers 1230 déjà, les colonnettes cantonnant les piliers ne sont plus détachées, monostyles, mais tiennent aux assises mêmes de la pile. Ces colonnettes, en se multipliant, devenaient trop grêles pour qu'il fût possible de les tailler dans une pierre posée en délit, et même alors comme il devenait très-difficile, sans risquer de faire casser les pierres, de fouiller au ciseau les angles rentrants, jonctions des colonnettes avec le noyau, on adoucissait ces angles, ainsi que le fait voir la section (fig. 16).

Il résultait de cette nécessité pratique une succession de surfaces courbes, molles, qui ne donnaient que des ombres indécises; il fallait trouver sur ces surfaces des arrêts de lumière qui pussent accuser les nerfs principaux. Les architectes eurent alors l'idée de réserver sur le devant de chaque colonnette une arête qui accrochât la lumière et fit ressortir la saillie du nerf cylindrique (voy. en A, fig. 16). Il résultait de l'adoption de ce principe, que la colonnette, mariée au noyau principal par une gorge et armée d'un nerf saillant, passait de la forme cylindrique à la forme prismatique.

Dès la fin du XIIIe siècle, l'école champenoise, qui, à partir de 1250, avait pris les devants sur les autres écoles gothiques, cherchait des sections de piliers qui fussent rigoureusement logiques, c'est-à-dire qui ne fussent que la section, réunie en faisceau, des arcs que portaient ces piliers. Alors les profils des arcs commandaient impérieusement les sections des piles, et, pour tracer un pilier, il fallait commencer par connaître et tracer les divers membres des voûtes.

Les gens qui élevèrent l'église Saint-Urbain de Troyes, vers 1290, prirent, dès cette époque, le parti radical que nous venons d'indiquer; mais on comprendra facilement que la forme consacrée du gros pilier cylindrique central ne devait plus s'accorder avec ce système nouveau, la réunion en faisceau de tous ces nerfs d'arcs ne pouvant se résoudre en un cylindre, même en y joignant des appendices comme on l'avait fait précédemment et comme l'indiquent les figures 15 et 16. Il fallait abandonner absolument la tradition de la grosse colonne centrale, qui persistait encore vers le milieu du XIIIe siècle. Entraînés par la marche logique de leur art, les constructeurs de Saint-Urbain n'hésitèrent pas, et nous voyons que dans le même édifice et pendant un espace de temps très-court (dix ans au plus), ils abordent franchement le pilier prismatique, en supprimant les chapiteaux.

La figure 17 présente en A une des quatre piles du transsept. Cette pile porte deux arcs-doubleaux B des grandes voûtes, deux archivoltes C de bas côtés, la branche d'arc ogive D de la voûte de la croisée, deux branches d'arcs ogives E des voûtes hautes, et la branche d'arc ogive F de la voûte du collatéral. Son plan affecte la forme donnée par les profils de ces huit arcs, et place les points d'appui verticalement sous la trace des sommiers de ces arcs. La première pile de la nef, dont la section est donnée en G, indique de même la projection horizontale des sommiers des archivoltes B', des arcs ogives E' des grandes voûtes, et des arcs ogives E'' des voûtes des bas côtés, ainsi que celle des arcs-doubleaux H des grandes voûtes et I des basses voûtes. Ces piles portent encore des chapiteaux, très-bas d'assise, parce que le profil des arcs des voûtes n'est pas identique avec la section de ces piliers. Mais la seconde pile de la nef donne la section K, et est tracée de telle façon, que les archivoltes L, les arcs-doubleaux H et I, les arcs ogives M, viennent pénétrer exactement cette section, les membres a tombant en a', les membres b en b', les membres c en c', les membres d en d', etc. Mais, pour ne pas affaiblir la pile par des évidements, les cavets, gorges et profils e viennent rencontrer les surfaces pleines e', les arêtes vives f des boudins s'accusant sur la pile par les arêtes f'. Dès lors les chapiteaux sont supprimés. Une semblable tentative, datant des dernières années du XIIIe siècle, ne laisse pas d'être d'un grand intérêt, quand on voit que pendant le XIVe encore, dans la province de l'Île-de-France et en Normandie, on s'en tenait à des sections de piles n'accusant pas entièrement la section des arcs des voûtes, et nécessitant par conséquent l'emploi du chapiteau pour séparer les sommiers de faisceau des colonnettes des piliers.

L'église de Saint-Ouen de Rouen, dont le choeur date du XIVe siècle, présente des piliers qui sont tracés conformément à la section G, c'est-à-dire qui projettent avec quelques modifications les arcs-doubleaux et les arcs ogives des voûtes, et qui possèdent encore des chapiteaux; ce n'est qu'à la fin du XIVe siècle et au commencement du XVe que la donnée déjà adoptée à la fin du XIIIe siècle par l'architecte de Saint-Urbain de Troyes est définitivement acceptée, et que les piles ne sont que la projection réunie en faisceau des différents profils des arcs. Mais comme cette méthode, toute rationnelle qu'elle était, exigeait une main-d'oeuvre et par conséquent des dépenses considérables, souvent à cette époque on en revient au pilier monocylindrique, dans lequel alors pénétraient les profils des divers arcs des voûtes. C'est ainsi que sont construits les piliers de l'église basse du mont Saint-Michel en mer, et d'un grand nombre d'édifices construits de 1400 à 1500, particulièrement dans les constructions civiles, où l'on prétendait ne pas faire de dépenses inutiles. Toutefois il ne faut pas perdre de vue ce fait, savoir, qu'à dater de 1220, les architectes français, renonçant à la colonne monocylindrique pour porter les voûtes, cherchèrent sans interruption à transformer cette colonne en un support des membres saillants constituant la voûte, et par suite en un faisceau vertical de ces membres. Le pilier tendait ainsi chaque jour à n'être que la continuation des arcs des voûtes, et nous voyons que dès la fin du XIIIe siècle on était déjà arrivé à ce résultat. Le pilier n'étant que le faisceau vertical des arcs des voûtes, ce n'est plus, à proprement parler, un pilier, mais un groupe de moulures d'arcs descendant verticalement jusqu'au sol, c'est le tracé du lit inférieur des sommiers qui constitue la section horizontale de la pile; et en effet, ce tracé est si important dans les édifices voûtés, si impérieux, dirons-nous, qu'il devait nécessairement conduire à ce résultat. Dès 1220, les architectes gothiques ne pouvaient élever un monument voûté sans, au préalable, tracer le plan des voûtes et de leurs sommiers; il était assez naturel de considérer ce tracé comme le tracé du plan par terre, et de planter ces sommiers dès la base de sa construction: c'était un moyen de faire une économie d'épures, et surtout d'éviter des erreurs de plantation.

Les piliers, dans l'architecture civile, affectent des formes qui ne sont pas moins l'expression des nécessités de la construction, soit qu'ils portent des voûtes, soit qu'ils soutiennent des planchers. Ainsi, dans les étages inférieurs de l'évêché de Meaux, étages qui datent de la fin du XIIe siècle, nous voyons des piliers posés en épine qui portent des voûtes doubles, et dont la structure est assez remarquable.

Voici (fig. 18) leur section horizontale en A, et en B leur élévation. Les voûtes sont privées d'arcs-doubleaux. Ce sont des voûtes d'arête construites comme les voûtes romaines, avec un simple boudin en relief sur les arêtes et un angle obtus à la place occupée ordinairement par l'arc-doubleau (voy. la section C faite sur ab). Le pilier se compose d'un corps principal cylindrique, cantonné de quatre boudins également cylindriques (voy. la section A); les piles sont monolithes du dessus de la base à l'astragale du chapiteau.

Des maisons de la ville de Dol possèdent encore des piliers monolithes de granit et qui datent du XIIIe siècle. Ils portent des poitraux de bois et formaient portiques ou pieds-droits de boutiques. Voici (fig. 19) deux de ces piliers. En A est la section du pilier A', en B celle du pilier B'. Les architectes cherchaient toujours, avec raison, à éviter, dans la taille de ces piliers isolés ou adossés, les arêtes vives, qui s'épaufrent facilement et sont fort gênantes. Il suffit de s'être promené un jour de foule dans la rue de Rivoli, à Paris, pour reconnaître les inconvénients des arêtes vives laissées sur les piliers isolés: ce sont autant de lames blessantes placées au-devant des passants. Admettant que cela soit monumental, ce n'en est pas moins très-incommode.

Les architectes de la fin du XVe siècle ont non-seulement fait descendre le long des piles les profils prismatiques des arêtes des voûtes, mais encore ils se sont plu parfois à tordre ces profils en spirale, et à décorer d'ornements sculptés les intervalles laissés entre les côtes. On voit un curieux pilier ainsi taillé au fond du chevet de l'église de Saint-Séverin, à Paris. On en voit un composé de gros boudins en spirale dans l'église de Sainte-Croix de Provins. Ce sont là des fantaisies qui ne sauraient servir d'exemples et que rien ne justifie. La province de Normandie fournit plus qu'aucune autre ces étrangetés dues au caprice de l'artiste qui, à bout de ressources, cherche dans son imagination des combinaisons propres à surprendre le public. Les maîtres du moyen âge n'ont jamais eu recours à ces bizarreries. Ce n'est qu'en Angleterre que dès le XIIIe siècle naît ce désir de produire des effets surprenants. Déjà dans la cathédrale de Lincoln on voit des piliers de cette époque, composés avec une recherche des petits effets que l'on ne trouve dans notre école que beaucoup plus tard. Des exemples de piliers sont présentés dans les articles ARCHITECTURE RELIGIEUSE, CATHÉDRALE, CONSTRUCTION et TRAVÉE.

Note 125: (retour) Du Xe au XIe siècle.
Note 126: (retour) Voyez la monographie de l'église de Vignory donnée d'après les dessins de M. Boeswilwald (Archiv. des monuments histor. publiées sous les auspices du ministre d'État).
Note 127: (retour) Ces dessins nous ont été fournis par M. Gaucherel.
Note 128: (retour) Voy. CATHÉDRALE, fig. 2 et 4.


PINACLE, s. m. Couronnement, finoison, comme on disait au XIVe siècle, d'un contre-fort, d'un point d'appui vertical, plus ou moins orné et se terminant en cône ou en pyramide. Dans les monuments d'une haute antiquité, on signale déjà certains amortissements d'angles de frontons et de corniches qui sont de véritables pinacles 129: La plupart des monuments de notre période romane ont perdu presque tous ces couronnements supérieurs qui rappelaient cette tradition antique. Toutefois les ornements en forme de pomme de pin, qui terminent les lanternons de l'église de Saint-Front de Périgueux, peuvent bien passer pour de véritables pinacles. Ce n'est guère qu'au XIIe siècle que l'on commence à signaler des restes nombreux de ces sortes d'amortissements. Alors ils surmontent les angles des clochers carrés à la base des cônes ou des pyramides formant la flèche; ils apparaissent au-dessus des contre-forts aux angles des pignons. D'abord peu développés, ou en forme d'édicules, ils prennent, dès la fin du XIIe siècle, une assez grande importance; puis au commencement du XIIIe siècle, ils deviennent souvent de véritables monuments. Comme tous les membres de l'architecture de ce temps, les pinacles remplissent une fonction: ils sont destinés à assurer la stabilité des points d'appui verticaux par leur poids; ils maintiennent la bascule des gargouilles et corniches supérieures; ils arrêtent le glissement des tablettes des pignons; ils servent d'attache aux balustrades; mais aussi leur silhouette, toujours composée avec un art infini, contribue à donner aux édifices une élégance particulière. Quelquefois, pendant la période romane, ce sont des amortissements très-simples. Les contre-forts des XIe et XIIe siècles, dans le Beauvoisis, par exemple, sont souvent terminés, à leur extrémité supérieure, par un cône recourbé à la pointe. Ces contre-forts cylindriques présentent donc les amortissements reproduits dans les figures 1 et 2 130.

L'église collégiale de Poissy conserve encore, sur l'un des angles de l'escalier de l'abside terminé par une piramide octogone, un pinacle du commencement du XIIe siècle, dont nous donnons (fig. 3) un dessin perspectif.

Ce pinacle se compose de quatre colonnettes portant un groupe de chapiteaux taillés dans une même assise; un cône terminé par un fleuron couronne les chapiteaux. Ce pinacle est fort petit, 1m,30 de haut environ; il se trouve fréquemment adopté dans les édifices de cette époque à la base des piramides des flèches. Le clocher vieux de Chartres possède aux angles de la tour, à la naissance de la flèche, des pinacles d'une belle composition, qui servent en même temps de lucarnes (voy. FLÈCHE, fig. 4); ceux-ci datent du milieu du XIIe siècle.

Les donjons des châteaux possédaient aussi presque toujours leurs pinacles, probablement dès une époque reculée, si l'on s'en rapporte aux vignettes des manuscrits et aux représentations gravées qui nous restent de ces édifices. Au XIIIe siècle, nous en trouvons encore quelques-uns en place ou en fragments. Quelquefois même, comme à la tour de Montbard, ils sont directement posés sur les merlons des créneaux. Au donjon de Coucy, ils étaient au nombre de quatre, élevés sur l'épais talus qui couvrait la corniche de la défense supérieure (voy. DONJON, fig. 39). Mais l'époque brillante des pinacles est celle où les architectes commencèrent à élever des arcs-boutants, afin de contre-buter les grandes voûtes des nefs de leurs églises. Il fallait nécessairement, sur les contre-forts recevant ces arcs-boutants, ajouter un poids, une pression verticale destinée à neutraliser la poussée oblique de ces arcs et permettant de diminuer d'autant la section horizontale des piliers butants (voy. CONSTRUCTION). Si puissant que fussent d'ailleurs ces piliers, les arcs-boutants exerçaient leur action de poussée près de leur sommet, et pouvaient, si ces sommets n'étaient pas chargés, faire glisser les dernières assises. Il fallait donc au-dessus du départ de l'arc un poids vertical, une pression. Les architectes de l'école laïque comprirent bien vite le parti qu'ils pourraient tirer de cette nécessité, au point de vue de la décoration des édifices, et ils ne tardèrent pas à imaginer les plus belles et les plus gracieuses combinaisons pour satisfaire à cette partie du programme imposé aux constructeurs. Ils surent donc composer des pinacles tantôt très-simples pour les édifices élevés à peu de frais, tantôt très-riches, mais toujours entendus, comme silhouette et comme structure, d'une façon remarquable.

Parmi les plus beaux pinacles que nous possédons dans nos édifices français du XIIIe siècle, il faut citer, en première ligne, ceux qui terminent les contre-forts de la cathédrale de Reims. Ce sont là de véritables chefs-d'oeuvre de composition et d'exécution. On conçoit combien il est difficile de poser des édicules au sommet d'un monument, et de les soumettre à l'échelle adoptée pour l'ensemble, de ne point tomber dans la recherche et le mesquin. Tout en donnant à ces couronnements une extrême élégance, l'architecte de Notre-Dame de Reims a su les mettre en harmonie parfaite avec les masses énormes qui les avoisinent, et cela en les accompagnant de statues colossales qui présentent, tout le long de la nef et du choeur, une série non interrompue de grands motifs occupant le regard et faisant disparaître ce qu'il pourrait y avoir de grêle dans ces piramides à jour et dentelées.

Voici (fig. 4) un dessin perspectif de ces pinacles. Le calme et la simplicité de la composition n'ont pas besoin de commentaires pour être appréciés; le croquis que nous donnons, si loin qu'il soit de l'original, fait ressortir les qualités essentielles de l'oeuvre. Observons comme, dans ce détail purement décoratif, l'architecte a su éviter les banalités. Dans les parties décoratives de l'architecture, depuis l'époque de la renaissance, et plus particulièrement de nos jours, on a su si bien familiariser nos yeux avec ce que nous nommerons les chevilles de notre art, que nous avons perdu le sentiment de ce qui est vrai, de ce qui est à sa place, de ce qui est orné, en raison du lieu et de l'objet. Que voyons-nous ici dans cet immense appendice décoratif qui n'a pas moins de 24 mètres depuis la gargouille jusqu'au fleuron supérieur? 1° Une pile ou culée puissante, pleine de A en B, destinée à contre-buter la poussée de l'arc-boutant inférieur dont la pression oblique agit avec plus d'énergie que celle du second; 2° de B en C, une pile évidée, suffisante pour contre-buter la poussée du second arc-boutant, à la condition que cette pile évidée sera chargée d'un poids considérable; celui de la piramide CD; 3° en avant de la partie du contre-fort évidé, deux colonnes monolithes qui raidissent tout le système de la structure, et sous cet évidement destiné à donner de la légèreté à cette pile énorme, une statue abritée, composée de telle façon que les lignes des ailes viennent rompre l'uniformité des lignes verticales; 4° le poids de la piramide, accusé aux yeux par les quatre piramidions d'angle en encorbellement. En tout ceci, rien de superflu, rien qui ne soit justifié ou calculé. Dans toutes les parties, la construction parfaitement d'accord avec la décoration et l'objet; construction savante d'ailleurs et n'étant nulle part en contradiction avec la forme.

Les architectes ne pouvaient pas toujours disposer de ressources aussi considérables, ni se permettre d'élever devant les contre-forts, ou sur leur sommet, des édicules de cette importance relative. Souvent, au contraire, nous voyons qu'ils sont privés des moyens de compléter leur oeuvre. À la cathédrale de Châlons-sur-Marne, dont la construction est contemporaine de celle de Reims, l'architecte procédait avec une économie évidente.

Aussi les pinacles qui terminent les contre-forts de la nef (fig. 5) sont-ils bien loin de présenter la richesse et l'abondance de composition de ceux de Notre-Dame de Reims. Ils consistent en un piramidion à section octogonale, surmontant la tête du contre-fort terminé par trois gâbles au-dessus de la gargouille recevant les eaux des combles coulant dans le caniveau A formant chaperon sur l'arc-boutant. Ici les piliers butants s'élèvent d'une venue jusqu'au niveau B; ce pinacle n'est plus qu'un simple couronnement destiné à couvrir ce pilier et à alléger son sommet. Un programme aussi restreint étant donné, ces pinacles sont encore habilement agencés, et il est difficile de passer d'une base massive à un couronnement grêle avec plus d'adresse.

Les contre-forts de la cathédrale de Rouen, au-dessus des chapelles de la nef, du côté septentrional, montrent de beaux pinacles datant de 1260 environ. Ils se composent (fig. 6) d'un édicule ayant en épaisseur le double de sa largeur; la partie postérieure est pleine et sert de culée à l'arc-boutant; la partie antérieure est ajourée et repose sur deux colonnettes. Sous le dais que forment les gâbles antérieurs est placée une statue de roi; les murs de clôture des chapelles sont en A. Sûrs de la qualité des matériaux qu'ils choisissaient, et sachant les employer en raison même de cette qualité, les architectes de cette époque ne reculaient pas devant ces hardiesses. Ces pinacles, qui ont aujourd'hui 600 ans, et qui n'ont certes pas été entretenus avec beaucoup de soin, sont encore debout, et leurs fines colonnettes supportent leurs couronnements sans avoir subi d'altération. On voit un pinacle analogue à ceux-ci, à la tête du premier contre-fort septentrional du choeur de la cathédrale de Paris, reconstruit exceptionnellement vers 1260, et contenant les statues des trois rois mages groupés. Ceux de l'église abbatiale de Saint-Dernis, élevés à la tête des arcs-boutants, sous le règne de saint Louis, rappelaient primitivement cette donnée; mais ils ont été tellement défigurés, lors des restaurations entreprises, il y a vingt-cinq ans, qu'on ne saurait les reconnaître. Un clocheton octogone surmontait la double travée des gâbles.

Le XIVe siècle alla plus loin encore en fait de légèreté dans la composition des pinacles. Ceux de la chapelle de la Vierge de la cathédrale de Rouen sont d'une ténuité qui les fait ressembler à des objets d'orfévrerie, et semblent plutôt être exécutés en métal qu'en pierre; il est vrai, que la pierre choisie, celle de Vernon, se prête merveilleusement à ces délicatesses.

Comme dans tous les autres membres de l'architecture gothique, les pinacles adoptent les lignes verticales de préférence aux lignes horizontales, à mesure qu'ils s'éloignent du commencement du XIIIe siècle. Ainsi (fig. 7), les pinacles qui terminent les contre-forts de la Sainte Chapelle du Palais à Paris, tracés en A, reposent sur la corniche qui fait tout le tour du bâtiment, et leurs gâbles prennent naissance sur une tablette horizontale a placée sur un dé cubique orné de refouillements. Ceux de la salle synodale de Sens, élevés à la même époque, c'est-à-dire vers 1250, et tous variés, accusent encore des lignes horizontales qui coupent les verticales. En B, nous donnons celui qui accompagne la statue du roi saint Louis, et qui représente un donjon avec porte fermée d'une herse, fenêtres grillées et tourelles. La section horizontale de ce pinacle, prise au niveau cd, est figurée en B'. Les pinacles qui couronnent les contre-forts du choeur de l'église Saint-Urbain de Troyes, figurés en C, et dont la section horizontale, faite au niveau ab, est tracée en C', n'ont, en fait de membre horizontal, qu'une bague dissimulée derrière les piramidions inférieurs. Ces pinacles datent de 1290. Enfin, les grands pinacles qui s'appuient sur les culées des arcs-boutants du choeur de la cathédrale de Paris, reproduits en D, qui datent de 1300, n'accusent qu'à peine la ligne horizontale. Là même, l'architecte a évidemment voulu donner à ce membre important de l'architecture une apparence élancée. Les clochetons f accolés au corps principal du pinacle, et qui l'épaulent, conduisent l'oeil du point e au sommet, par une ligne inclinée à peine interrompue. Ces pinacles sont très-habilement composés et produisent un grand effet. Le caniveau qui sert de chaperon à l'arc-boutant conduit les eaux, à travers les deux jouées du clocheton supérieur, dans une grande gargouille placée à sa base. Ces quatre pinacles sont figurés à la même échelle.

Au XVe siècle, la ligne horizontale, non-seulement n'entre plus dans la composition des pinacles, mais encore ceux-ci forment habituellement des faisceaux de prismes qui se terminent en piramides, se pénètrent et s'élancent les uns au-dessus des autres. Parmi les pinacles de cette époque, dont l'exécution est bonne, nous citerons ceux des contre-forts du choeur de l'église d'Eu (fig. 8).

En A, nous en donnons la section faite sur ab, et en B, quelques détails assez remarquables par leur exécution.

La silhouette a évidemment préoccupé les architectes auteurs de ces conceptions, et il est certain que, sauf de rares exceptions, elle est heureuse. Ces membres d'architecture se découpent presque toujours sur le ciel, et nous avons signalé dans d'autres articles (voy. CLOCHER, FLÈCHE) les difficultés que présente la composition de couronnement ayant l'atmosphère pour fond. En voulant éviter la maigreur, facilement on tombe dans l'excès opposé; le moindre défaut de proportion ou d'harmonie entre les détails et l'ensemble choque les yeux les moins exercés, détruit l'échelle, fait tache; car le ciel est, pour les oeuvres d'architecture, un fond redoutable: aussi faut-il voir avec quel soin les architectes du moyen âge ont étudié les parties de leurs édifices dont la silhouette est libre de tout voisinage, et comme les architectes de notre temps craignent d'exposer leurs oeuvres en découpure sur l'atmosphère. Plusieurs ont été jusqu'à déclarer que ces hardiesses étaient de mauvais goût: c'était un moyen aisé de tourner la difficulté, et cependant neuf fois sur dix les monuments se détachent en silhouette sur le ciel, car ils s'élèvent au-dessus des constructions privées, et sont rarement en pleine lumière, surtout dans notre climat. Il faut considérer, en effet, que c'est particulièrement dans les régions situées au nord de la Loire que les pinacles prennent une grande importance et sont étudiés avec une recherche minutieuse.

Le XVIe siècle composa encore d'assez beaux pinacles, mais qu'on ne peut comparer à ceux du XVe comme hardiesse, ni comme entente de l'harmonie des détails avec l'ensemble et des proportions. Les pinacles du XVIe siècle sont habituellement mal soudés à la partie qu'ils couronnent, ils ne s'y lient pas avec cette merveilleuse adresse que nous admirons, par exemple, dans la composition de ceux du tour du choeur de Notre-Dame de Paris. Ce sont des hors-d'oeuvre qui ne tiennent plus à l'architecture, des édicules plantés sur des contre-forts, sans liaison avec la bâtisse. Ils ne remplissent plus d'ailleurs leur fonction essentielle, qui est d'assurer la stabilité d'un point d'appui par un poids agissant verticalement; ce sont des appendices décoratifs, les restes d'une tradition dont on ne saisit plus le motif.

Note 129: (retour) Voyez la médaille frappée sous le règne de Caracalla, donnant au revers le temple de Vénus à Paphos (bronze); celle donnant au revers les propylées du temple du Soleil, à Baalbec. Consulter l'Architectura numismatica, recueillie par Donaldson, architecte (London, 1859).
Note 130: (retour) Le pinacle de la figure 1 provient des contre-forts de la grande église de Saint-Germer (XIIe siècle). Celui de la figure 2 se retrouve dans quelques édifices du Beauvoisis de la fin du XIe siècle. Les pinacles couronnant les contre-forts cylindriques de l'église Saint-Rémi de Reims étaient terminés par des pinacles analogues (XIe siècle).


PISCINE, s. f. Cuvettes pratiquées ordinairement à la gauche de l'autel (côté de l'épître), dans lesquelles le célébrant faisait ses ablutions après la communion. Le docteur Grancolas 131 s'exprime ainsi au sujet des piscines: «Il y a deux sortes d'ablutions après la communion, la première est du calice et la seconde est des mains ou des doigts du célébrant. C'étoit le diacre qui faisoit celle du calice, comme il paroist par plusieurs anciens missels; et le prestre lavoit ses mains, et c'étoit pour la troisième fois qu'il le faisoit, avant que de venir à l'autel, après l'offrande, et en suite de la communion, comme le dit Ratolde, lotis manibus tertiò... Dans l'Ordre romain de Gaïet, il y a que le prestre n'avaloit pas le vin avec lequel il lavoit ses doigts, mais on le jetoit dans la piscine.--Yves de Chartres rapporte que le prestre lavoit ses mains après la communion... Jean d'Avranches ordonne qu'il y ait un vase particulier dans lequel le prestre lave ses doigts après la communion... Dans les usages de Cîteaux, on mettoit du vin dans le calice pour le purifier, et le prestre alloit laver ses doigts dans la piscine, puis il avaloit le vin qui étoit dans le calice et en prenoit une seconde fois pour purifier encore le calice...

«J'ajouteray que Léon IV, dans une oraison synodale aux curez, ordonne qu'il y ait deux piscines dans chaque église, ou dans les sacristies, ou proche des autels: «Locus in secretario aut juxta altare sit præparatus, ubi aqua effundi possit quando vasa sacra abluuntur, et ibi linteum nitidum cum aqua dependeat; ut ibi sacerdos manus lavet post communionem.» C'étoit pour laver les mains après la communion. Ratherius, évêque de Ravenne, dans ses instructions, ordonne la même chose. Saint Uldaric (ou Udalric), dans les anciennes coutumes de Cluny, parle de deux piscines: dans l'une on purifioit le calice, et dans l'autre on lavoit les mains après le sacrifice...; le diacre et le soudiacre lavoient aussi leurs mains...» Lebrun des Marettes, dans ses Voyages liturgiques 132, à propos de ce qui se pratiquait à la cathédrale de Rouen après la communion, dit: «Le prêtre, après la communion, ne prenoit aucune ablution; mais seulement pendant que les ministres de l'autel communioient du calice, un acolyte apportoit un autre vase pour laver les mains du prêtre, comme on fait encore aujourd'hui à Lyon, à Chartres et chez les Chartreux, et comme on faisoit encore à Rouen avant le dernier siècle, afin qu'il ne fût pas obligé de prendre la rinçure de ses doigts 133.» Et plus loin 134: «La dernière ablution avec l'eau et le vin ne s'y faisoit point alors (au XVIIe siècle), et on n'obligeoit point le prêtre de boire la rinçure de ses doigts. Il alloit laver ses mains à la piscine ou lavoir qui étoit proche de l'autel, sacerdos vadat ad lavatorium. La même chose est marquée dans le missel des Carmes de l'an 1574. Et le rituel de Rouen veut qu'il y en ait proche de tous les autels...» Guillaume Durand 135 dit qu'auprès des autels on doit placer une piscine ou un bassin dans lequel on se lave les mains. M. l'abbé Crosnier, dans une notice publiée dans le Bulletin monumental 136, pose ces diverses questions qu'il cherche à résoudre: «1º Le prêtre a-t-il toujours pris les ablutions à la fin de la messe? 2º La discipline de l'Église sur ce point a-t-elle été uniforme jusqu'au XIIIe siècle? 3º A-t-elle été modifiée à cette époque, et qui est l'auteur de cette modification? 4º Quelle est l'origine de la double piscine qu'on remarque dans presque toutes les églises du XIIIe siècle? 5º L'usage de prendre les ablutions a-t-il été universel et sans exceptions depuis le XIIIe siècle?» Jusqu'au XIIe siècle le prêtre lavait ses mains, à la fin des saints mystères, dans la piscine. Nous venons de voir que, d'après un ancien ordinaire de Rouen, le prêtre ne prenait aucune ablution; celle-ci était versée dans la piscine pendant que les ministres communiaient sous l'espèce du vin.

Yves de Chartres s'exprime ainsi au sujet des ablutions: «Après avoir touché et pris les espèces sacramentelles, le prêtre, avant de se retourner vers le peuple, doit se laver les mains et l'eau est jetée dans un lieu sacré destiné à cet usage.» «Cependant, dit M. l'abbé Crosnier 137, par respect pour les Saintes Espèces, déjà avant le XIIIe siècle, on trouve dans les ordres religieux l'usage de prendre les ablutions; il paraissait inconvenant de verser dans la même piscine l'eau qui avait servi à laver les mains avant la préface, et le liquide employé pour la purification du calice et des doigts après les Saints Mystères; aussi on trouve dans les anciennes coutumes de Cluny trois ablutions prises par le prêtre après la communion, une pour le calice et deux pour les mains...»

Le pape Innocent III ayant décidé que les ablutions devaient être prises par le prêtre, «on a voulu, ajoute M. l'abbé Crosnier, tout à la fois conserver les anciens usages et tenir compte, sinon de la décision du pape, du moins des motifs qui l'avaient suscitée. On établit deux piscines, l'une réservée aux ablutions proprement dites, et l'autre destinée à recevoir les eaux ordinaires...»

C'est en effet à dater de la fin du XIIe siècle, que l'on voit les piscines géminées adoptées dans les chapelles des églises cathédrales et conventuelles, plus rarement dans les églises paroissiales. Les piscines géminées ou simples disparaissent vers le XVe siècle, alors que l'usage de prendre les ablutions est admis dans toutes les églises.

Peut-être avant le XIIe siècle avait-on des piscines transportables, des bassins de métal que l'on plaçait auprès de l'autel, car ce n'est qu'à dater de cette époque que l'on voit la piscine faire partie de l'édifice, qu'elle est prévue dans la construction; encore les premières piscines paraissent-elles être des hors-d'oeuvre, des appendices qui ne s'accordent pas avec l'architecture, tandis qu'au XIIIe siècle la piscine est étudiée en vue de concourir à l'ensemble de la structure.

Les chapelles absidales de l'église abbatiale de Saint-Denis, qui datent de Suger, possèdent des piscines simples en forme de cuvette accolée à l'un des piliers. À la fin du XIIe siècle, dans les chapelles de l'église abbatiale de Vézelay, nous voyons des piscines conçues d'après ce même principe et qui font un hors-d'oeuvre.

Voici (fig. 1) l'une d'elles, qui se compose d'une cuvette lobée avec un orifice au centre. La cuvette porte sur un faisceau de colonnettes percé verticalement, de manière à perdre les eaux dans les fondations. C'était un usage établi généralement, lors de l'établissement des premières piscines, de perdre les eaux sous le sol même de l'église. Plus tard, les piscines furent munies de gargouilles rejetant les eaux à l'extérieur, sur la terre sacrée qui environnait les églises. Cette piscine de Vézelay pose sur le banc qui fait le tour de la chapelle et reçoit l'arcature; sa cuvette est alternativement ornée à l'extérieur de cannelures creuses et godronnées; la base, le faisceau des quatre colonnettes et la cuvette sont taillés dans un seul morceau de pierre. Dans l'église de Montréale (Yonne), qui date de la même époque, derrière le maître autel et dans le banc même qui reçoit l'arcature, est creusée une cuvette de piscine (fig. 2) de forme carrée.

Le banc servait ainsi de crédence pour déposer les vases nécessaires aux ablutions. Plus tard, les piscines prirent une certaine importance et furent faites en forme de niches pratiquées dans les parois des choeurs ou des chapelles. L'usage de la piscine était désormais consacré, de plus la cuvette simple était remplacée par deux cuvettes jumelles. On retrouve beaucoup de piscines de ce genre dès la fin du XIIe siècle. Elles affectent la forme de niches doubles séparées par un petit pilier, et dans la tablette desquelles sont creusées deux cuvettes de forme carrée, ou plus habituellement circulaires, avec un orifice au centre pénétrant dans la fondation.

Beaucoup d'églises abbatiales de cette époque, des ordres de Cluny et de Cîteaux, conservent dans leurs chapelles des piscines ainsi disposées. Celle que nous donnons (fig. 3) provient de l'abbaye de Saint-Jean les Bons-Hommes. Une pilette isolée reçoit un sommier portant deux arcs plein cintre. On voit en A une entaille pratiquée pour poser une tablette de bois; en C, est une entaille terminée à son extrémité droite par un orifice. Peut-être cette entaille était-elle destinée à recevoir le chalumeau. En effet, Lebrun des Marettes, dans ses Voyages liturgiques 138, rapporte que de son temps encore il y avait, dans l'église abbatiale de Cluny, un petit autel au côté gauche du grand autel; que le petit autel servait à la communion sous les deux espèces, qui s'y pratiquait les fêtes et dimanches à l'égard de quelques ministres de l'autel. «Après que le célébrant, ajoute-t-il, a pris la sainte hostie et une partie du sang, et qu'il a communié de l'hostie les ministres de l'autel, ils vont au petit autel à côté; et le diacre ayant porté le calice, accompagné de deux chandeliers, tient le chalumeau d'argent par le milieu, l'extrémité étant au fond du calice; et les ministres de l'autel, ayant un genou sur un petit banc tapissé, tirent et boivent le précieux sang par ce chalumeau. La même chose se pratique à Saint-Denys en France, les jours solennels et les dimanches. Ce petit autel s'appelle la prothèse

Après la communion, dit Boquillot, on renfermait le chalumeau dans l'armoire avec le calice: or, des traces de scellements, visibles dans notre figure 3 en B, indiqueraient qu'une fermeture était disposée de façon à clore cette piscine, qui devenait ainsi une véritable armoire; le calice eût pu être déposé sur la tablette dont l'entaille se voit en A. Un peu plus tard, près de la piscine, on pratiqua souvent une armoire (voyez ce mot). Dès lors il ne fut plus nécessaire de fermer les piscines; aussi voyons-nous que dès le commencement du XIIIe siècle, celles-ci sont disposées pour être ouvertes, bien qu'elles soient le plus souvent ménagées dans des niches jumelles.

La jolie église de Villeneuve-le-Comte (Seine-et-Marne) conserve dans la chapelle méridionale une piscine de ce genre très-délicatement composée. Elle consiste en une niche séparée en deux par une pilette taillée, ainsi que chacun des deux jambages, dans un seul morceau de pierre (fig. 4). L'arcature jumelle est évidée dans deux dalles de pierre, la construction venant se bloquer à l'entour. Les cuvettes sont circulaires (voy. le plan), et nulle trace n'indique que cette piscine ait jamais été close. Les colonnettes évidées n'ont pas plus de 4 centimètres de diamètre. On voit par cet exemple déjà, que les architectes du XIIIe siècle, une fois le programme de la piscine admis, en faisaient un motif de décoration; c'est qu'en effet ils n'admettaient pas qu'une nécessité, qu'un besoin ne devînt l'objet d'une étude spéciale, et par suite un moyen d'orner l'édifice. Nous chercherions aujourd'hui, pour ne pas contrarier les lignes de la belle architecture, à dissimuler cet appendice; nos devanciers, au contraire, le faisaient franchement paraître, bien qu'il ne fût jamais dans un axe, et le décoraient avec recherche. Les chapelles de la cathédrale d'Amiens, élevées vers 1240, possèdent de belles piscines prises entre l'arcature formant le soubassement; traitées avec un soin particulier, ces piscines sont placées à la gauche de l'autel (côté de l'épître), suivant l'usage. De l'autre côté, en regard, est pratiquée une armoire.

Nous donnons (fig. 5) un ensemble perspectif de l'une de ces piscines, avec l'arcature qui l'accompagne et lui sert d'entourage. La figure 5 bis en donne le plan. Les colonnettes de l'arcature sont, comme on le voit par ce plan, indépendantes de la piscine, qui est prise aux dépens de l'épaisseur du mur du soubassement. Les orifices des deux cuvettes se perdent dans les fondations, ces piscines n'ayant pas de gargouilles extérieures.

La Sainte-Chapelle du Palais, à Paris, présente également à la gauche du maître-autel une fort belle piscine à double cuvette, avec crédence au-dessus divisée en quatre compartiments. Cette piscine est gravée dans la monographie de la Sainte-Chapelle, publiée par M. Caillat 139; se combine, comme celle que nous venons de donner, avec l'arcature qui forme la décoration du soubassement de la chapelle. En regard, à la droite de l'autel, est une armoire double.

Quelquefois, mais fort rarement, dans les églises du XIIIe siècle, les piscines sont faites en forme de cuvettes posées sur un socle, comme celles de Vézelay. Nous citerons celles des chapelles du choeur de la cathédrale de Séez (fin du XIIIe siècle), dont nous donnons (fig. 6) un croquis. Ici les deux cuvettes n'ont pas la même forme, l'une est à pans, l'autre circulaire; elles reposent sur un faisceau de branchages feuillus, et sont placées dans les travées de l'arcature. Les faisceaux de branchages prennent naissance sur le banc continu servant de soubassement à cette arcature 140.

Les piscines des chapelles des XIIIe et XIVe siècles de la cathédrale de Paris sont d'une grande simplicité, et ne consistent guère qu'en une petite niche lobée portée sur deux colonnettes engagées, ou tombant par un chanfrein sur la tablette. Toutes ces piscines possèdent des gargouilles à l'extérieur. Les piscines des chapelles du choeur de la cathédrale de Reims étaient fermées par des volets de bois et servaient en même temps d'armoires.

Le XIVe siècle fit des piscines très-délicates et riches de sculpture. Nous citerons parmi les plus remarquables celle du choeur de l'église de Saint-Urbain de Troyes 141. Elle contient deux cuvettes partagées par une pilette centrale et terminées par deux gâbles décorés d'un couronnement de la sainte Vierge et de deux figurines des deux donateurs, le pape Urbain IV et le cardinal Aucher. Quatre dais refouillés avec art couronnent ces figurines et sont surmontés de merlons entre lesquels apparaissent des archers paraissant défendre l'édicule. Cette piscine est très-bien gravée dans les Annales archéologiques 142, d'après un dessin de M. Boeswilwald, et nous croyons n'avoir mieux à faire que de renvoyer nos lecteurs à cette reproduction et à la notice de M. Didron qui l'accompagne. La piscine de Saint-Urbain n'est pas la seule qui soit couronnée par un crénelage; nous citerons aussi celles des chapelles absidales de l'église de Semur en Auxois, qui, bien qu'antérieures de soixante ans à celle de Saint-Urbain, sont de même crénelées à leur sommet 143. Les piscines deviennent rares au XVe siècle, probablement parce que l'usage de prendre les ablutions était généralement admis. Cependant nous en trouvons quelques exemples, mais les cuvettes doubles ne sont plus pratiquées. Dans l'une des chapelles latérales de l'église de Semur en Auxois il existe une jolie piscine du XVe siècle que nous donnons ici (fig. 7).

La cuvette est portée sur une colonnette, et dans la niche pratiquée au-dessus est une petite crédence pour poser les vases. Un dais très-riche surmonte le tout. En A nous donnons la section de cette piscine sur ab; en B, sur cd. On voit d'ailleurs dans les églises françaises des XIIIe et XIVe siècles un nombre prodigieux de piscines toutes variées de forme et d'une composition charmante. C'est dans ces accessoires que l'on peut observer la fertilité singulière des architectes de cette époque. Bien rarement ils reproduisent un exemple même remarquable; avec la collection des piscines, on ferait un ouvrage entier fournissant des compositions variées à l'infini d'un même objet.

Note 131: (retour) Les anciennes liturgies. Paris, 1697, t. I, p. 692.
Note 132: (retour) Voyages liturgiques, par le sieur de Mauléon (Lebrun des Marettes). Paris, 1718.
Note 133: (retour) Cette rinçure était probablement jetée dans la piscine.
Note 134: (retour) Page 315.
Note 135: (retour) Rational des divins offices, liv. I, chap. XXXIX.
Note 136: (retour) 1849, tome V de la 2e série, p. 55.
Note 137: (retour) Loc. cit.
Note 138: (retour) Voyages liturgiques, par le sieur de Mauléon (1718), p. 149.
Note 139: (retour) Bance, Paris, 1858.
Note 140: (retour) Il y a toujours un banc devant les piscines.
Note 141: (retour) Cette piscine date des dernières années du XIIIe siècle, mais appartient, par son ornementation, au XIVe siècle. Nous avons eu, plusieurs fois, l'occasion d'observer que l'église Saint-Urbain de Troyes est en avance de vingt-cinq ans au moins sur l'architecture de l'Île-de-France.
Note 142: (retour) Tome VII, p. 36.
Note 143: (retour) L'une de ces piscines a été gravée dans les Annales archéologiques, t. IV, p. 87. Ces piscines sont à une seule cuvette. On voit aussi, dans la chapelle latérale de l'église de Saint-Thibaut (Côte-d'Or), une piscine du XIVe siècle, à cuvette unique, couronnée par un dais crénelé.


PLAFOND, s. m. (lambris). Ce que nous appelons plafond aujourd'hui dans nos constructions, c'est-à-dire ce solivage de niveau latté et enduit par-dessous, de manière à présenter une surface plane, n'existait pas, par la raison que le plafond n'était que l'apparence de la construction vraie du plancher, qui se composait de poutres et de solives apparentes, plus ou moins richement moulurées et même sculptées. Ces plafonds figuraient ainsi des parties saillantes et d'autres renfoncées, formant quelquefois des caissons ou augets que l'on décorait de profils et de peintures. Il ne nous reste pas en France de plafonds antérieurs au XIVe siècle, bien que nous sachions parfaitement qu'il en existait avant cette époque, puisqu'on faisait des planchers que l'on se gardait d'enduire par-dessous. Les enduits posés sur lattis sous les planchers ont, en effet, l'inconvénient grave de priver les bois de l'air qui est nécessaire à leur conservation, de les échauffer et de provoquer leur pourriture. Des bois laissés à l'air sec peuvent se conserver pendant des siècles; enfermés dans une couche de plâtre, surtout s'ils ne sont pas d'une entière sécheresse, ils travaillent, fermentent et se réduisent en poussière. Nous ne croyons pas nécessaire d'insister sur ce fait bien connu des praticiens 144.

Le plafond n'était donc, pendant le moyen âge, que le plancher; c'était la construction du plancher qui donnait la forme et l'apparence du plafond; il ne venait jamais à l'idée des maîtres de cette époque de revêtir le dessous d'un plancher de voussures, de compartiments et caissons en bois ou en plâtre, n'ayant aucun rapport avec la combinaison donnée par la construction vraie. Il serait donc difficile de traiter des plafonds du moyen âge sans traiter également des planchers, puisque les uns ne sont qu'une conséquence des autres; aussi nous confondrons ces deux articles en un seul.

Si les pièces étaient étroites, si entre les murs il n'existait qu'un espace de deux ou trois mètres, on se contentait d'un simple solivage dont les extrémités portaient sur une saillie de pierre, ou dans des trous, ou sur des lambourdes; mais si la pièce était large, on posait d'abord des poutres d'une force capable de résister au poids du plancher, puis sur ces poutres un solivage. Cette méthode était admise dans l'antiquité romaine et elle fut suivie jusqu'au XVIe siècle. Lorsque les poutres avaient de très-grandes portées, les constructeurs ne se faisaient pas faute de les armer pour leur donner du roide et les empêcher de fléchir sous le poids des solivages. Il est clair que ces sortes de planchers prenaient beaucoup de hauteur; mais nos devanciers ne craignaient pas les saillies produites par les poutres, et les considéraient même comme un moyen décoratif.

Les poutres (fig. 1) avaient en général peu de portée dans les murs, mais étaient soulagées par des corbeaux de pierre plus ou moins saillants. Si ces poutres étaient ornées de profils sur leurs arêtes, ceux-ci n'apparaissaient qu'au delà de la portée sur les corbeaux. Dans les planchers les plus anciens, les solives posent d'un bout seulement sur ces poutres, ainsi qu'il est figuré en B; de l'autre, dans une rainure pratiquée dans la muraille, dans des trous ou sur une lambourde C, comme on le voit en D, laquelle lambourde est posée elle-même sur des corbelets ou un profil continu. Comme il arrivait fréquemment que ces solives se contournaient, n'étant maintenues ni par des tenons ni par des chevilles, on posait alors entre leurs portées, sur les poutres et les lambourdes, des entretoises E formant clefs et chevillées obliquement. Ce moyen roidissait beaucoup les solivages et les poutres. Les entrevous des solives posées anciennement tant pleins que vides, ou étaient enduits sur bardeaux, ou bien garnis de merrains G posés transversalement. Les joints de ces merrains étaient masqués par des couvre-joints H, qui formaient entre les solives comme autant de petits caissons. Sur ces merrains on étendait une aire de plâtre ou de mortier I, puis le carrelage K. Les bois de ces plafonds restaient rarement apparents; ils étaient habituellement couverts de peinture en détrempe que l'on pouvait renouveler facilement. On voit encore bon nombre de ces plafonds des XIIIe et XIVe siècles sous des lattis plus modernes, dans d'anciennes maisons. Quelquefois les poutres et les solives elles-mêmes sont très-délicatement moulurées.

Ce système de planchers employait une grande quantité de bois et exigeait des solives d'un assez fort équarrissage: car, nous l'avons dit déjà, on posait ces solivages tant pleins que vides; il se prêtait parfaitement à couvrir des pièces longues, de grandes salles, des galeries; mais pour des chambres, des pièces à peu près carrées, il n'offrait pas la rigidité que l'on cherche dans des pièces très-habitées et garnies de meubles lourds. On essaya donc au XIVe siècle de remplacer ce système si simple par un autre d'un effet plus agréable et présentant plus de rigidité.

Ainsi (fig. 2), une salle étant donnée, dont le quart est tracé en ABCD, deux poutres principales E étaient posées. Quatre cours de poutrelles F, formant entretoises, venaient s'assembler à repos dans ces poutres et des cours de solives G s'assemblaient de même dans les poutrelles. En H nous donnons la coupe de ce plancher faite sur ab. Les poutrelles reposaient le long des murs sur des corbeaux I, et des lambourdes K engagées dans une rainure, remplissaient les intervalles entre les poutrelles et recevaient les abouts des solives. Les assemblages des pièces de ce plafond sont tracés en L. La poutre est profilée en P, avec les repos des poutrelles en M. Celles-ci, N, possèdent un tenon à queue-d'aronde qui s'embrève dans le repos M, et des repos R qui reçoivent les tenons S des solives également taillés à queue-d'aronde. Des planches d'un pouce et demi étaient posées en long sur les solives et maintenues par les languettes T. Ce système d'embrévements à queue-d'aronde donnait beaucoup de rigidité au plancher, empêchait l'écartement et le chantournement des bois. Les pièces moulurées formaient une suite de caissons d'une apparence très-riche et très-agréable. Nous avons vu des plafonds ainsi construits dans des maisons des petites villes de Saint-Antonin et de Cordes, qui n'avaient souffert aucune altération. Ces plafonds, en beau chêne ou même en sapin, n'avaient jamais été décorés de peintures et présentaient un lambris d'une belle couleur. Non contents de les décorer de moulures, les architectes les enrichirent encore de sculpture. Il existe dans une maison de la rue du Marc, nº 1, à Reims, un magnifique plafond en bois sculpté du XVe siècle, conçu suivant ce principe, et qui est autant une oeuvre de menuiserie que de charpenterie 145. Il recouvre une salle de 15 mètres de longueur sur 6m,50 de largeur, et se divise en cinq travées séparées par six poutres, les deux d'extrémités formant lambourdes.

La figure 3 donne une partie d'une de ces travées, l'ensemble du plafond étant tracé en A. Entre les poutres P sont posées les solives S avec tenons à leurs extrémités. Les solives sont roidies par des entretoises E. Des panneaux B remplissent les intervalles. Ces panneaux sont décorés de parchemins pliés. Les poutres sont sculptées latéralement et sous leur parement; des culs-de-lampe sont rapportés sous les abouts des solives.

Des détails sont nécessaires pour expliquer l'assemblage et la décoration de ce plafond; nous les donnons dans la figure 4. En A est tracée la moitié du profil des poutres; la ligne ponctuée a indique la portée de la solive B. Les culs-de-lampe C ont leur tailloir pincé en b sous cette portée. Les entretoises D sont arrêtées sur les solives, ainsi que l'indique le tracé perspectif D'; un épaulement E, légèrement incliné, reçoit leur about. En G nous donnons une coupe sur les solives, avec l'about de la poutre près de sa portée. En supposant le solivage enlevé, la poutre présente le tracé H. On voit ainsi que les culs-de-lampe sont indépendants et laissent passer derrière leur extrémité inférieure les moulures sculptées sur les poutres. Ce détail explique assez combien ce plafond, partie charpenterie, partie menuiserie, présente de roideur; son aspect est agréable sans trop préoccuper le regard, ce qui est important, car les architectes du moyen âge et même ceux de la renaissance ne pensaient pas encore à ces compositions, majestueuses aux yeux des uns, grotesques aux yeux de beaucoup d'autres, dont on a couvert les plafonds depuis le XVIIe siècle, compositions qui, à tout prendre, ne sont que des plâtrages peints et dorés sur des lattis, accrochés avec des crampons de fer, des apparences masquant une grande pauvreté de moyens sous une couverte de moulages rapportés, simulant des marbres et des bronzes, voire quelquefois des tentures!

Dans la construction de leurs planchers, et par conséquent de leurs plafonds, les maîtres du moyen âge étaient toujours vrais; ils montraient et paraient la structure. Il y avait plus de mérite à cela, pensons-nous, qu'à mentir sans vergogne aux principes élémentaires de la construction. On se préoccupait d'abord des combinaisons des pièces de charpente, puis on cherchait à les décorer en raison même de cette combinaison.

Dans les provinces méridionales de la France, on employait aussi les plafonds rapportés et cloués sur les solives; c'est-à-dire que sous le solivage on clouait des planches, et sur ces planches des moulures formant des compartiments décorés de peintures. Ces sortes de plafonds étaient d'une grande richesse, et en même temps présentaient la légèreté que l'oeil aime à trouver dans les parties supérieures d'une pièce. Ce procédé a été encore employé pendant la renaissance, et le plafond de la galerie de François 1er, à Fontainebleau, en donne un charmant exemple 146.

Notre siècle, qui est un peu trop pénétré de la conviction qu'il invente chaque jour, ne doute pas que les plafonds composés de voutains en brique posés sur des solivages en bois ou fer sont une innovation; or, voici (fig. 5, en A) un plafond posé dans une maison de la fin du XVe siècle, à Chartres, rue Saint-Père, qui nous donne une combinaison de ce genre. Les solives B sont posées sur l'angle et scellées dans les murs; sur leurs plats b sont hourdés des voutains en brique posés en épi. Ces briques ont 3 centimètres d'épaisseur sur 10 centimètres de côté. Les reins C sont remplis de maçonnerie sur laquelle pose le carrelage D. Les solives ont 32 centimètres de côté (un pied) et placées sur la diagonale, elles offrent une grande roideur. Ce plafond, d'une portée assez faible, produit un très-bon effet, et peut facilement être décoré et maintenu propre. À Troyes, dans l'hôtel de l'Aigle, dit de Mauroy, rue de la Trinité, il existe un plafond du XVe siècle, entièrement en bois (voir le tracé G) qui présente des solives refendues E suivant leur diagonale, et posées comme le fait voir la figure 5. Dans l'angle rentrant formé par la juxtaposition de ces solives sont clouées des chanlattes I, puis sur le tout des madriers K, en travers. Ces solives s'assemblent dans des poutres, dont nous donnons la demi-section en L. Quelquefois les angles saillants de ces solives refendues sont chanfreinés, ce qui donne au plafond une apparence de légèreté peu commune. La mode du majestueux (car le majestueux est une des modes les plus durables en ce pays, qui en change si volontiers) a détruit ou recouvert de lattis beaucoup de ces plafonds du moyen âge ou de la renaissance. Il faut être à la piste des démolitions de nos plus vieux hôtels pour découvrir sous des plâtrages des combinaisons souvent très-ingénieuses. C'est ainsi, par exemple, que lors de la démolition de l'hôtel de la Trémoille, à Paris, nous avons vu sous des lattis recouverts de moulures de plâtre, des solivages très-délicatement travaillés, posés sur des poutres et formant une suite de gracieux caissons carrés. C'était une combinaison analogue à celle donnée dans la figure 3, si ce n'est que les entretoises étaient assemblées à tiers de bois avec les solives et laissaient des intervalles parfaitement carrés. Chacun de ces intervalles était rempli par un panneau sculpté d'arabesques; le tout avait été peint et doré. L'Angleterre, plus conservatrice que nous de ses vieux édifices (ce qui ne l'empêche pas d'être à la tête des idées de progrès), possède encore de beaux plafonds des XVe et XVIe siècles, en bois mouluré et sculpté. Si les portées des poutres étaient très-longues, celles-ci étaient souvent armées, c'est-à-dire composées de deux moises pinçant deux pièces inclinées formant arbalétriers ou surmontées de deux véritables arbalétriers noyés dans l'épaisseur du solivage et du carrelage. Des étriers en fer forgé et orné suspendaient la poutre aux deux arbalétriers; ces étriers contribuaient à la décoration de la poutre, et les moulures entaillées sur ses arêtes-vues s'arrêtaient au droit des ferrures. On voit fréquemment des plafonds figurés ainsi dans des vignettes de manuscrits du XVe siècle.

Comme on se fatigue de tout, même des choses qui ne sont justifiées ni par la raison ni par le goût, nous pouvons espérer voir abandonner un jour les lourds plafonds à voussures et à gros caissons, à figures ronde bosse et à draperies entremêlées de guirlandes et de pots, si fort en vogue depuis le règne de Louis XIV, et revenir aux plafonds dont la forme serait indiquée par la structure, qu'elle soit en bois ou en fer.

Il faut observer ici que dès le XVe siècle, entre les solives des planchers, on faisait souvent des entrevous en plâtre enduits sur bardeaux, posés sur tasseaux cloués aux deux tiers de l'épaisseur de la solive, tant pour empêcher la poussière de tamiser entre les languettes des planches de recouvrement que pour éviter la sonorité des planchers entièrement en bois. Ces entrevous étaient peints et même quelquefois décorés de reliefs en plâtre. On voit quelques plafonds de ce genre dans de vieilles maisons d'Orléans. Au-dessus des entrevous, on laissait un isolement, puis on posait des bardeaux sur les solives, et l'on formait des augets, également en plâtre, dans lesquels on tassait le cran, la marne ou même la terre destinés à recevoir le carrelage.

Note 144: (retour) L'usage des planchers en fer justifie au contraire l'adoption des sous-surfaces planes et enduites.
Note 145: (retour) M. Thiérot, architecte à Reims, a bien voulu relever pour nous ce plafond avec le plus grand soin.
Note 146: (retour) Ce plafond a été malheureusement remanié. Nous parlons de celui qui existait avant 1843. À Venise, on voit encore de beaux plafonds exécutés d'après ce système. On en trouve aussi en Espagne et notamment à Tolède. Les hôtels de Toulouse en présentaient encore quelques-uns il y a peu d'années.


PLATE-BANDE, s. f. On appelle ainsi un linteau appareillé en claveaux. La plate-bande, ou réunion de pierres horizontalement posées sur deux pieds-droits, étant en principe de construction un appareil vicieux, les architectes du moyen âge ne l'ont guère plus employée que les Grecs. Les Grecs n'admettaient pas l'arc, et s'ils avaient à franchir un espace entre deux piliers, deux pieds-droits ou deux colonnes, ils posaient sur les points d'appui verticaux un monolithe horizontal. Les Romains procédèrent de même dans la plupart des cas, bien qu'ils eussent déjà appareillé des linteaux et qu'ils en aient fait ainsi de véritables plates-bandes. Les architectes du moyen âge, sauf de très-rares exceptions mentionnées dans l'article CONSTRUCTION et FENÊTRE, ont toujours repoussé le linteau composé de claveaux. S'ils craignaient une rupture, ils bandaient au-dessus un arc de décharge. Nous sommes moins scrupuleux, et nous posons dans nos édifices publics ou privés autant de plates-bandes qu'il y a de baies ou de travées fermées horizontalement; seulement nous avons le soin de soutenir cet appareil vicieux au moyen de fortes barres de fer.

Alors pourquoi ne pas employer des monolithes? N'omettons pas de mentionner ici, encore une fois, les plates-bandes de nos grands monuments, comme la colonnade du Louvre; le Garde-Meuble, la Madeleine, le Panthéon, dont les claveaux sont enfilés dans des barres de fer suspendues par des tirants à des arcs supérieurs. Les architectes du moyen âge, on le comprend, ne pouvaient s'astreindre à mentir de cette sorte aux principes les plus vrais et les plus naturels de la construction, et c'est pour cela que plusieurs les considérèrent comme des gens naïfs.



PLÂTRE, s. m. Gypse cuit au four, broyé et se combinant rapidement avec l'eau de manière à former un corps solide, léger, assez dur, et très-mauvais conducteur du calorique.

C'est un préjugé de croire que les constructeurs du moyen âge n'ont pas employé le plâtre. Cette matière, au contraire, était admise non-seulement dans les constructions privées, mais aussi dans les édifices publics. C'est qu'en effet le plâtre est une excellente matière, la question est de l'employer à propos.

Le plâtre pur, mélangé avec la quantité d'eau convenable, dès qu'il commence à durcir (ce qui a lieu presque immédiatement après le mélange), gonfle et prend un volume plus considérable que celui qu'il avait à l'état liquide. À mesure que l'eau s'évapore et lorsqu'il se dessèche, il perd au contraire de son volume. Ce retrait, on le comprend, peut être dangereux dans nombre de cas, il produit des tassements. Aussi les constructeurs du moyen âge n'ont-ils jamais employé le plâtre dans la grosse maçonnerie, dans ce que nous appelons la limousinerie, ni (sauf des cas très-rares) pour remplir les lits ou joints des pierres. Ils posaient toujours leurs assises de pierres à bain de mortier, et pour leurs blocages entre les parements, ils n'employaient jamais que le mortier avec du gros sable. Il arrivait cependant parfois qu'il n'était pas possible de poser des claveaux, par exemple, à bain de mortier, lorsque les cintres avaient une très-grande portée et que les arcs étaient très-épais; alors on coulait, dans les joints, du bon plâtre. C'est ainsi qu'avaient été bandés primitivement les claveaux des arcs de la rose occidentale de la cathédrale de Paris; et il faut dire que le plâtre employé était excellent, car les lames de coulis s'enlevaient comme de minces tablettes d'un centimètre d'épaisseur, sans se briser.

C'était principalement dans les intérieurs que les architectes du moyen âge employaient le plâtre, pour faire des entrevous et des aires sur les planchers, pour hourder des pans de bois, des cloisons, pour faire des enduits. La plupart des pans de bois de refend des maisons des XIVe et XVe siècles sont hourdés en plâtre. Nous avons vu même parfois des baies, donnant d'une pièce dans l'autre, découpées dans du plâtre. Dans l'archevêché de Narbonne, sous le passage de la porte d'entrée, il existe une petite rose du XIVe siècle, en plâtre, moulurée sur des fentons de fer et donnant dans la grande salle voisine. On faisait aussi à cette époque des manteaux de cheminée en plâtre mouluré et sculpté (voy. CHEMINÉE), des corniches d'appartements, des clotets 147, des doubles baies que l'on fermait d'étoffes. Très-anciennement, pendant l'époque mérovingienne et carlovingienne primitive, on avait fait des cercueils en plâtre, et dans les fouilles de vieux cimetières on en retrouve de nombreux débris. On employait aussi le plâtre tamisé très-fin pour faire des enduits sur la pierre et même sur le bois, afin de pouvoir y appliquer des peintures. Le moine Théophile parle de nombreux ouvrages de bois dans lesquels le plâtre joue un rôle important. Le plâtre pur non falsifié acquiert une grande dureté, il est brillant dans la cassure, très-blanc et résistant. Or, les gens du moyen âge, naïfs comme chacun sait, n'avaient pas découvert tous les procédés modernes à l'aide desquels on falsifie cette excellente matière, et leurs enduits de plâtre sont d'une beauté remarquable. Toutefois le plâtre, même bon, ne résiste pas aux agents atmosphériques, et il ne peut et ne doit être employé qu'à l'intérieur ou dans des lieux bien abrités.

Note 147: (retour) Le clotet était une séparation établie à demeure ou provisoirement dans une grande salle. Beaucoup de grandes salles de châteaux avaient ainsi des clotets qui formaient autant de cabinets où l'on pouvait se retirer. Ces clotets n'avaient guère que 2 mètres de hauteur, sans plafonds. On les remplaça plus tard par des paravents, empruntés aux divisions que les Chinois établissent instantanément dans leurs logis.


PLOMBERIE, s. f. Ouvrages en plomb battu ou fondu, destinés à couvrir les édifices, à conduire les eaux, à revêtir des charpentes exposées à l'air. La plomberie remplit un rôle important dans l'architecture du moyen âge; c'était d'ailleurs une tradition antique, et l'on ne peut fouiller un édifice gallo-romain sans découvrir, dans les décombres quelques débris des lames de plomb employées pour le revêtement des chéneaux et même des combles. Sous les rois mérovingiens, on couvrait des édifices entiers, églises ou palais, en plomb. Saint Éloi passe pour avoir fait couvrir l'église de Saint-Paul des Champs de lames de plomb artistement travaillées. Eginhard 148 écrit, dans une de ses lettres, qu'il s'occupe de la couverture de la basilique des martyrs Marcellin et Pierre: «Un achat de plomb, dit-il, moyennant une somme de cinquante livres, fut alors convenu entre nous. Quoique les travaux de l'édifice, ajoute-t-il, ne soient pas encore assez avancés pour que je doive m'occuper de la couverture, cependant la durée incertaine de cette vie semble nous faire un devoir de toujours nous hâter, afin de terminer, avec l'aide de Dieu, ce que nous avons pu entreprendre d'utile. Je m'adresse donc à votre bienveillance dans l'espoir que vous voudrez bien me donner des renseignements sur cet achat de plomb...» Frodoard, dans son histoire de l'église de Reims 149, rapporte que l'archevêque Hincmar fit couvrir de plomb le toit de l'église Notre-Dame. Plus tard, à la fin du XIIe siècle, l'évêque de Paris, Maurice de Sully, laisse par testament cinq mille livres pour couvrir de plomb le comble du choeur de l'église cathédrale actuelle. L'industrie du plombier remonte donc aux premiers siècles du moyen âge et se perpétua jusques à l'époque de la renaissance, sans déchoir. Cette industrie cependant présente dans l'exécution certaines difficultés sérieuses dont nous devons entretenir nos lecteurs avant de faire connaître les divers moyens qui ont été employés pour les résoudre. Le plomb, comme chacun sait, est un métal très-lourd, très-malléable, doux, se prêtant parfaitement au martelage; mais par cela même qu'il est malléable et lourd, il est disposé toujours à s'affaisser ou à déchirer les attaches qui le retiennent à la forme de bois qu'il est destiné à couvrir. Le travail du plombier doit donc tendre à maintenir les lames de plomb qu'il emploie d'une façon assez complète pour résister à l'affaissement causé par la pesanteur. À ce point de vue, les anciennes couvertures sont très-judicieusement combinées. De plus, la chaleur fait singulièrement dilater ce métal, de même que l'action du froid le rétrécit. S'il n'est pas laissé libre, s'il est attaché d'une manière fixe, il se boursoufle au soleil et arrache les attaches pendant les grands froids. Il faut donc: 1 qu'en raison de son poids, il soit maintenu énergiquement pour ne pas s'affaisser; 2º qu'il soit libre de se dilater ou de se resserrer, suivant les changements de température. D'autres difficultés se présentent lors de l'emploi du plomb dans les couvertures. Autrefois on n'employait que le plomb coulé sur sable en tables plus ou moins épaisses; ce procédé a l'avantage de laisser au métal toute sa pureté et de ne point dissimuler les défauts qui peuvent se manifester, mais il a l'inconvénient de donner aux tables des épaisseurs qui ne sont pas parfaitement égales, de sorte que la dilatation agit inégalement ou que les pesanteurs ne sont pas partout les mêmes. Le plomb laminé que l'on emploie assez généralement aujourd'hui est d'une épaisseur uniforme, mais le laminage dissimulé des brisures ou des défauts qui se manifestent bientôt sous l'action de l'air, et qui occasionnent des infiltrations. De plus, le plomb laminé est sujet à se piquer, qui n'arrive pas habituellement au plomb coulé. Ces piqûres sont faites par des insectes qui perforent le plomb de part en part et forment ainsi autant de trous d'un millimètre environ de diamètre, à travers lesquels l'eau de pluie se fait jour. Nous n'avons jamais eu à signaler de ces sortes de perforations dans des vieux plombs coulés, tandis qu'elles sont très-fréquentes dans les plombs laminés. Nous laissons aux savants le soin de découvrir la cause de ce phénomène singulier. Un autre phénomène se produit avec l'emploi du plomb pour revêtir du bois. Autrefois les bois employés dans la charpente et le voligeage avaient longtemps séjourné dans l'eau et étaient parfaitement purgés de leur séve; aujourd'hui, ces bois (de chêne) sont souvent mal purgés ou ne le sont pas du tout 150, il en résulte qu'ils contiennent une quantié considérable d'acide pyroligneux (particulièrement le bois de Bourgogne), qui forme avec le plomb un oxyde, de la céruse, dès que le métal est en contact avec lui. L'oxydation du plomb est si rapide dans ce cas, que, quelques semaines après que le métal a été posé sur le bois, il est réduit à l'état de blanc de céruse, et est bientôt percé. Nous avons vu des couvertures, faites dans ces conditions, qu'il a fallu refaire plusieurs fois en peu de temps, jusqu'à ce que le plomb eût absorbé tout l'acide contenu dans les fibres du bois. Des couches de peinture ou de brai interposées entre le bois et le métal ne suffisent même pas pour empêcher cette oxydation, tant le plomb est avide de l'acide contenu dans le chêne. Les constructeurs du moyen âge n'avaient pas été à même de signaler ce phénomène chimique, puisque leurs bois n'étaient jamais mis en oeuvre que purgés complétement de leur séve, et leurs couvertures ne présentent point trace de blanc de céruse lorsqu'on en soulève les tables.

Il en est de la couverture en plomb comme de beaucoup d'autres parties de la construction des bâtiments; nous sommes un peu trop portés à croire à la perfection de nos procédés modernes, et trop peu soucieux de nous enquérir de l'expérience acquise par nos devanciers. La plomberie est d'ailleurs si intimement liée à l'art de la charpenterie, que si l'on veut couvrir en planches, il est nécessaire, avant tout, de s'enquérir de la qualité et de la provenance du bois à employer. Les gens du moyen âge, peut-être par suite des traditions de l'antiquité, apportaient un soin minutieux dans l'approvisionnement et la mise en oeuvre du bois; ils n'éprouvaient pas, par conséquent, les désappointements que nous éprouvons aujourd'hui en mettant au levage des bois verts et qui n'ont jamais été baignés dans l'eau courante. On reconnaîtra du moins que cette expérience, raisonnée ou non, est bonne et qu'il faut en tenir compte.

Les plombs employés pendant le moyen âge contiennent une assez notable quantité d'argent et d'arsenic; les nôtres, parfaitement épurés, n'ont pas la qualité que leur donnait cet alliage naturel, et sont peut-être ainsi plus sujets à se piquer et à s'oxyder. Nous avons encore vu en place, en 1835, avant l'incendie des combles de la cathédrale de Chartres, les plombs qui en formaient la couverture datant du XIIIe siècle. Ces plombs étaient parfaitement sains, coulés en tables d'une épaisseur de 0m,004 environ, revêtus extérieurement par le temps d'une patine brune, dure, rugueuse, brillante au soleil. Ces plombs étaient posés sur volige de chêne, et les tables n'avaient pas plus de 0m,60 de largeur. Elles étaient d'une longueur de 2m,50 environ, clouées à leur tête sur la volige avec des clous de fer étamé, à très-larges têtes; les bords latéraux de chacune de ces tables s'enroulaient avec ceux des tables voisines, de façon à former des bourrelets de plus de 0m,04 de diamètre; leur bord inférieur était maintenu par deux agrafes de fer, afin d'empêcher le vent de le retrousser. Voici (fig. 1) un tracé de cette plomberie.

Ainsi les tables étaient fixées invariablement à la tête en A; leurs bords, relevés perpendiculairement au plan, ainsi qu'on le voit en B, étaient enroulés l'un avec l'autre et très-solidement maintenus latéralement par les bourrelets C. Ces bourrelets enroulés n'étaient pas tellement serrés, qu'ils empêchassent la dilatation ou le retrait de chaque feuille. Le bord inférieur des tables était arrêté par les agrafes G, dont la queue était clouée sur la volige. Au droit de chaque recouvrement de feuilles, l'ourlet était doublé, bien entendu, et formait un renflement I. En D, nous donnons, au quart de l'exécution, la section d'un bourrelet. C'est suivant ce principe que le comble de l'église Notre-Dame de Châlons-sur-Marne est couvert, et cette couverture date, dans ses parties anciennes, de la fin du XIIIe siècle. Ici les feuilles de plomb étaient gravées de traits remplis d'une matière noire formant des dessins de figures et d'ornements; on voit encore quelques traces de cette décoration. Des peintures et des dorures rehaussaient les parties plates entre ces traits noirs; car il faut observer que presque toutes les plomberies du moyen âge étaient décorées de peintures appliquées sur le métal, au moyen d'un mordant très-énergique.

Les chéneaux de plomb du moyen âge sont également posés à dilatation libre, sans soudures et à ressauts. Leur bord extérieur n'est pas toujours maintenu, comme cela se pratique de nos jours, par des madriers de chêne, mais il s'appuie sur des tringles horizontales de fer rond, portées à distances assez rapprochées par des équerres-à-tiges forgées. Voici (fig. 2) en A, le profil d'une de ces armatures, et, en B, sa face vue sur la corniche de couronnement. Les équerres C sont scellées dans la tablette de corniche sous la sablière S du comble; les tigettes sont rivées sur la tringle. La feuille de plomb du chéneau fixée en a suit le contour a'a'', et vient s'enrouler en b, laissant voir extérieurement les équerres qui lui servent de soutien.

Ces feuilles de plomb de chéneau sont d'une forte épaisseur, d'une longueur qui n'excède guère 1m,30 (4 pieds), et sont réunies par des ourlets, ainsi que le fait voir le tracé perspectif G. À chaque ourlet, au fond du chéneau, est un ressaut, afin d'empêcher les eaux de passer entre les joints des feuilles, ou d'être arrêtées par les saillies des ourlets. D'ailleurs, les gargouilles d'écoulement sont toujours très-rapprochées; de deux en deux feuilles, par exemple. Les constructeurs du moyen âge avaient probablement observé que le bois entièrement enfermé dans des lames de plomb, sans air, ne tarde pas à s'échauffer et à se réduire en poussière. S'ils faisaient, dans des habitations, des chéneaux de bois, ils laissaient apparents la face extérieure du chéneau en la recouvrant seulement d'un fort relief, ainsi que l'indique la figure 3, pour la préserver de l'action directe de la pluie. Les faces des chéneaux de bois étaient habituellement moulurées, quelquefois même sculptées et couvertes de peinture 151.

Si les plombiers du moyen âge apportaient une attention scrupuleuse dans la façon des couvertures, ils excellaient à revêtir les bois d'ouvrages de plomberie, à repousser les plombs au marteau, et faisaient de cette industrie une des décorations principales des couronnements d'édifices. Les articles ÉPI et CRÊTE donnent quelques exemples de ces ouvrages de plomberie repoussée, qui rappellent les meilleurs modèles d'orfévrerie de l'époque. Il est facile de voir, par l'irrégularité même de ces sortes d'ouvrages, qu'ils étaient exécutés sans modèles; on les composait en découpant les ornements dans des tables de plomb d'une bonne épaisseur, et en donnant un modelé à ces découpures plates, au moyen de petits marteaux de bois de différentes formes. Des ornements anciens, que nous avons examinés avec le plus grand soin, nous ont mis sur les traces de cette fabrication très-simple, mais qui exige le goût d'un artiste et la connaissance des développements de surfaces.

Voulant, par exemple, exécuter en plomb repoussé un ornement de fleuron ou d'épi, tel que celui qui est présenté achevé, en A, dans la figure 4, il fallait se rendre compte du développement de ces surfaces sur plan droit, tracer leur contour sur une feuille de plomb, le découper, ainsi que le montre la figure 4 bis, et donner peu à peu à cette surface découpée, plane, le modelé convenable.

Ces feuilles (voy. la fig. 4) se rapportaient agrafées et soudées sur une âme de plomb, indiquée dans la section B faite sur ab. Des boucles de plomb, soudées à l'intérieur de la tige (voy. le détail C), entraient dans des goujons doubles D soudés à l'âme et placés en d. Des tigettes de fer rond e, soudées en dehors dans le canal formé par le modelé des tiges des feuilles, donnaient à celles-ci de la solidité et se terminaient en fleurette de plomb, comme on le voit en E. L'épi présenté ici ayant une section triangulaire, le développement de chacune des trois feuilles devait se renfermer dans l'angle BGH. Dès lors les trois feuilles étant présentées agrafées et soudées à la base de leur tige de g en h, on écartait les feuilles K, de manière qu'elles se touchassent par le bout, et on les réunissait par un point de soudure, ce qui donnait de la solidité et du roide à la partie supérieure. Il fallait une grande habitude des développements de surfaces et des effets que l'on pouvait obtenir par le modelé d'un objet plan, pour découper ces feuilles à coup sûr et sans gâcher du plomb. Mais jamais gens de bâtiment ne se sont mieux rendu compte des développements que les artisans du moyen âge. Ces travaux, qui nous semblent si difficiles à nous qui n'avons acquis à aucune école l'habitude de ces effets, étaient un jeu pour eux et un jeu attrayant, car ils cherchaient sans cesse de nouvelles difficultés à vaincre 152. Epargnant les soudures dans ces sortes de travaux, ils modelaient la feuille de métal avec un goût charmant, comme on modèlerait de l'argile, et lui laissaient l'apparence qui convient à cette matière, sans prétendre simuler de la pierre ou du bois sculpté.

Avaient-ils, par exemple, un chapiteau à faire, ils formaient la corbeille A (fig. 5), puis la revêtaient de crochets, de feuillages modelés à part, soudés et agrafés au corps principal, ainsi qu'on le voit dans la section B. Mais tout cela, léger, vif, détaché, comme il convient à du métal. La corbeille était alors déprimée à sa partie moyenne, et présentait un diamètre moindre que celui de la colonne, afin que les tiges rapportées, par leur épaisseur sur l'âme n'excédassent pas le diamètre du fût. Souvent ces ornements n'étaient qu'agrafés, ce qui évitait toute brisure et facilitait les réparations. De petites tiges de fer soudées à l'intérieur des feuilles, ou crochets, leur donnaient du roide et les empêchaient de s'affaisser.

Dans tous les ouvrages de plomberie, il est nécessaire de prévoir les cas de réparation, et de disposer les attaches, les agrafes, les ourlets, de telle façon qu'il soit toujours possible d'enlever facilement une partie détériorée et de la remplacer. La dilatation du plomb, un défaut dans une feuille, les coups de bec des corneilles, qui parfois s'acharnent à percer une table, peuvent nécessiter le remplacement d'un morceau de plomb. Les plombiers du moyen âge avaient prévu ces accidents, car tous leurs plombs sont disposés de telle façon qu'on les peut enlever par lames ou par fragments, comme on enlève des tuiles, des faîtières ou des arêtiers d'une couverture en terre cuite, sans attaquer les portions en bon état. Si les plombs revêtent immédiatement des bois façonnés, comme ceux d'une lucarne, d'une flèche, les lames ne sont jamais réunies par des soudures; mais par des ourlets adroitement placés, par des recouvrements et des agrafes.

Une colonne, par exemple, sera revêtue ainsi que l'indique, en A, la figure 6; des profils seront garnis ainsi qu'on le voit en B B'. Le plomb, suivant les contours, prendra du roide par suite de ces retours fréquents; il sera attaché à la tête seulement en b, recouvert par les feuilles supérieures, avec agrafures, et recouvrant de la même façon les feuilles inférieures. Si des ornements doivent être adaptés à ces moulures, ils seront attachés par-dessus la feuille, comme on le voit en B', c'est-à-dire par des agrafes c et par des points de soudure d.

S'il s'agit de poser des feuilles sur des plans verticaux, comme des jouées de lucarnes, des souches de flèches, etc., afin que leur poids n'arrache pas les clous de tête, ces feuilles s'agraferont obliquement les unes avec les autres, ainsi qu'on le voit en D. Des agrafes de fer ou de cuivre G maintiendront la table à sa partie inférieure et l'empêcheront de se soulever. Des agrafures de plomb, clouées sur le bois, seront prises par les ourlets et empêcheront les tables de flotter. Des grands poinçons décorés se composeront d'une suite de cylindres ou de prismes, qui se recouvriront les uns les autres sans soudures. Ainsi ces poinçons pourront être démontés et remontés sans difficulté. Une barre de fer emmanchée à fourchette sur le poinçon de charpente maintiendra verticalement les divers membres. Dans les plombs repoussés formant décoration, la soudure ne sera employée que pour réunir des ornements formés de deux coquilles, comme des bagues, des fleurs ronde-bosse, ou pour attacher des feuilles, des tigettes, des fleurons.

Vers la fin du XVe siècle, on remplaça quelquefois les ornements de plomb repoussé par des ornements de plomb coulé dans des moules de pierre ou de plâtre 153. Mais ces ornements coulés sont très-petits d'échelle et sont loin d'avoir l'aspect décoratif des plombs repoussés. Les repousseurs de plomb faisaient des statues de toutes dimensions; on en voit encore sur les combles des cathédrales à Amiens et de Rouen, qui datent du commencement du XVIe siècle. Ces figures étaient presque toujours embouties, c'est-à-dire frappées sur un modèle de bois ou de métal par parties, puis soudées. On avait le soin alors de tenir le modèle très-maigre et sec, pour que l'épaisseur de la feuille du plomb lui rendît le gras qui lui manquait.

Ce qui donne à la plomberie du moyen âge un charme particulier, c'est que les moyens de fabrication qu'elle emploie, les formes qu'elle adopte, sont exactement appropriés à la matière. Comme la charpente, comme la menuiserie, la plomberie est un art à part, qui n'emprunte ni à la pierre, ni au bois, les apparences qu'il revêt. La plomberie du moyen âge est traitée comme une orfévrerie colossale, et nous avons trouvé des rapports frappants entre ces deux arts, sinon quant aux moyens d'attache, du moins quant aux formes admises. L'or et les couleurs appliquées remplaçaient les émaux. On a fait encore de belle plomberie pendant le XVIe siècle, bien que les moyens d'attache, de recouvrement, fussent alors moins étudiés et soignés que pendant les siècles précédents. La flèche de la cathédrale d'Amiens, en partie recouverte en plomb au commencement du XVIe siècle, en partie réparée au XVIIe, permet d'apprécier la décadence de cet art pendant l'espace d'un siècle.

Les plomberies du château de Versailles et du dôme des Invalides se recommandent plutôt par le poids que par le soin apporté dans l'exécution; tandis que les plomberies, malheureusement rares, qui nous restent des XIIIe, XIVe et XVe siècles, sont remarquables par leur légèreté relative et par une exécution très-soignée. Il suffit, pour s'en convaincre, de voir les anciennes plomberies de l'église de Notre-Dame de Châlons-sur-Marne, de la cathédrale de Reims, de celle d'Amiens, de l'hôtel de Jacques Coeur, de l'Hôtel-Dieu de Beaune, de la cathédrale de Rouen, de celle d'Évreux 154, les nombreux fragments épars sur plusieurs monuments ou hôtels. Il existait encore avant la fin du dernier siècle beaucoup d'édifices du moyen âge qui avaient conservé leurs couvertures de plomb. Ces plomberies ont été enlevées par mesure générale. Il ne faut donc pas s'étonner si nous n'en trouvons aujourd'hui qu'un petit nombre d'exemples. Constatons toutefois que c'est grâce aux études, si fort attaquées, des arts du moyen âge, qu'on a pu de nos jours faire revivre une des plus belles industries du bâtiment.

Note 148: (retour) Einhardi epistolæ XLVI, ad abbatem.
Note 149: (retour) Cap. V.
Note 150: (retour) Autrefois tous les bois, outre leur séjour dans l'eau, n'arrivaient sur les chantiers qu'après avoir flotté; aujourd'hui, les transports par chemins de fer nous amènent des bois qui n'ont pas séjourné du tout dans l'eau et qui contiennent toute leur séve. De là des inconvénients très-graves.
Note 151: (retour) Nous avons vu des restes de chéneaux de ce genre dans des maisons de Rouen, d'Orléans, de Bourges.
Note 152: (retour) Sans trop de vanité, nous pouvons dire que nous avons été des premiers, dès 1847, à essayer de faire revivre cette industrie, complétement abandonnée depuis le XVIe siècle, car les plomberies de Versailles, par exemple, sont fondues. Nous avons été secondé par un homme intelligent et, chose plus rare, disposé à laisser de côté les routines, M. Durand, mort depuis, après avoir le premier rendu à cette belle industrie une partie de sa splendeur.
Note 153: (retour) Il existe encore plusieurs de ces moules; on en voyait quelques-uns dans l'Hôtel-Dieu de Beaune, qui avaient servi à couler les ornements des épis des combles.
Note 154: (retour) Les plomberies de la flèche de la cathédrale d'Évreux ont été très-maladroitement restaurées à diverses époques; on ne découvre au milieu de ces reprises que des fragments, exécutés d'ailleurs avec finesse.


POINÇON, s. m. Pièce de charpente verticale qui reçoit les extrémités supérieures des arbalétriers d'une ferme ou les arêtiers d'un pavillon et d'une flèche. (Voy. CHARPENTE, FLÈCHE.)



POITRAIL, s. m. Pièce de bois d'un fort équarrissage posée horizontalement sur des piles ou des poteaux, et portant une façade de maison. (Voy. MAISON, BOUTIQUE, PAN DE BOIS.)



PONT, s. m. (punz, ponz). Nous diviserons cet article en plusieurs parties: il y a les ponts de pierre ou de bois fixes, les ponts torneïs (mobiles), les ponts levis et les ponts de bateaux, flottants, de charrettes.

Les Romains ont été grands constructeurs de ponts, soit de pierre, soit de charpenterie, et dans les Gaules on se servit longtemps des ponts qu'ils avaient établis sur les rivières.

Grégoire de Tours rapporte que le roi Gontran «envoya une ambassade à Childebert, son neveu, pour lui demander la paix, et le prier de venir le voir. Childebert vint le trouver avec ses grands, et tous deux, s'étant réunis près du pont appelé le Pont de pierre, se saluèrent et s'embrassèrent 155.» Ce pont était un pont bâti par les Romains. Toutefois ceux-ci, en raison de l'abondance des bois dans les Gaules, durent établir un grand nombre de ponts de charpente qui subsistaient encore pendant les premiers siècles du moyen âge, car les ponts de pierre bâtis par les Romains, encore apparents, sont rares; s'ils eussent été nombreux, on en trouverait les traces sur nos rivières.

Les Romains établissaient presque toujours des arcs ou portes monumentales, soit aux extrémités des ponts, soit au milieu de leur longueur. Ces arcs étaient devenus, pendant les siècles de paix qui suivirent la conquête définitive du sol des Gaules, plutôt des motifs de décoration que des défenses. Mais dès les premières invasions, ces portes furent munies de crénelages, et peuvent être considérées comme le point de départ de ces châtelets ou forteresses qui garnissaient toujours les ponts du moyen âge, qu'ils fussent de pierre ou de bois.

Il ne nous reste pas de ponts de pierre du moyen âge antérieurs au XIIe siècle 156; mais à cette époque on en construisit un assez grand nombre et dans des conditions extrêmement difficiles. Un des plus beaux et des plus considérables est le pont de Saint-Bénezet, à Avignon. La légende prétend qu'un jeune berger, nommé Petit Benoît, né en 1165 dans le Vivarais, inspiré d'en haut, s'en vint à Avignon, en 1178, et fut l'instigateur et l'architecte du pont qui traversait le Rhône à la hauteur du rocher des Doms. De ce pont, il reste encore quatre arches et quelques piles d'une très-remarquable structure. Commencé en 1178, il était achevé en 1188; sa longueur est de 900 mètres, et la largeur de son tablier de 4 mètres 90 centimètres, compris l'épaisseur des parapets. Pour résister au courant du Rhône et aux débâcles des glaces, les piles ont 30 mètres d'une extrémité à l'autre, et se terminent en amont comme en aval par un éperon très-aigu. Il faut observer que sur ce point le Rhône est très-rapide et se divise en deux bras: l'un beaucoup plus large que l'autre; le plus étroit, qui côtoie le rocher des Doms, est d'une assez grande profondeur. Les difficultés d'établissement de ce pont étaient donc considérables, d'autant qu'au moins une fois l'an, les crues du Rhône atteignent en moyenne 5 mètres au-dessus de l'étiage. Sans discuter sur le plus ou moins de réalité de la légende relative au berger Petit Benoît, il paraît certain que ce personnage fut le chef de la confrérie des Hospitaliers pontifes qui entreprit la construction du pont d'Avignon. Cette confrérie, au XIIe siècle, était instituée pour bâtir des ponts, établir des bacs, et donner assistance aux voyageurs sur les bords des rivières 157. Quoi qu'il en soit, le pont de Saint-Bénezet, savamment construit, existerait encore, n'étaient les guerres et l'incurie des gens d'Avignon.

Clément VI en fit reconstruire quatre arches. Les Catalans et les Aragonais le coupèrent en 1395, pendant le siége du palais des Papes.

En 1418, les Avignonais firent rétablir l'arche coupée; mais soit que l'ouvrage ait été mal fait, soit que les autres parties du pont ne fussent pas entretenues, une arche s'affaissa et entraîna la chute de trois autres en 1602. En 1633, il en tomba deux autres, et pendant l'hiver de 1670, sur le grand bras, on constate encore la chute de deux arches 158. Ces arches furent tant bien que mal réparées par des ouvrages de charpenterie, mais depuis plus d'un siècle ce beau monument est réduit aux quatre arches qui tiennent au châtelet du côté de la ville. Ce pont était la seule voie permanente de communication qui existât entre le territoire papal d'Avignon et le territoire français du Languedoc. Dans des temps reculés, la ville avait étendu sa juridiction dans les îles du Rhône et en face de son territoire, sur tout le littoral de la rive droite du fleuve. Ses justiciers avaient fait dresser leurs fourches patibulaires, les unes devant la fontaine de Montaud, les autres sur le rocher, au nord du lieu des Angles, qu'on appelle encore la Justice. Tant que les rois de France possédèrent la ville d'Avignon indivisément avec les comtes de Provence, ils n'apportèrent aucun obstacle à cette extension de la juridiction de la cité; mais lorsqu'au mois de septembre 1290, Philippe le Bel, par suite du mariage de Charles, son cousin, avec Marguerite, fille du roi de Sicile, comte de Provence, lui eut cédé les droits de suzeraineté qu'il avait sur Avignon, il prétendit faire respecter dans l'avenir ses limites territoriales; en conséquence, ses officiers firent jeter, en 1307, les fondations de la tour de Villeneuve, qui ferme le pont du côté de la rive droite. Charles II, roi de Sicile, se plaignit de cet acte qu'il considérait comme un empiétement sur des droits consacrés par l'usage, en alléguant que le territoire d'Avignon s'étendait au littoral de la rive droite du Rhône. Le roi de France commit son sénéchal de Beaucaire pour faire une enquête au sujet de cette réclamation; celui-ci se transporta sur les lieux, et se disposait à entendre des témoins, lorsque les magistrats d'Avignon intervinrent, disant: Que le sénéchal ne pouvait agir au nom du roi de France dans un lieu qui était du domaine de la juridiction du roi de Sicile, comte de Provence. Rodolphe de Meruel, architecte de la tour de Villeneuve, n'en poussa qu'avec plus d'activité la construction de cette défense, et il ne paraît pas que le roi de France, une fois bien assis sur ce point, ait toléré sur la rive droite du fleuve l'exercice de la juridiction avignonaise. Cette juridiction fut exercée néanmoins pendant quelque temps dans les îles; mais après avoir si bien établi ce qu'ils considéraient comme un droit, les officiers du roi de France n'eurent garde de s'arrêter en si beau chemin, et s'opposèrent à tout acte de juridiction dans les îles 159. Si nous avons rapporté tout au long cette histoire du pont d'Avignon et des bâtiments qui le fermaient du côté de la France, c'est afin de faire connaître que les difficultés opposées par la nature n'étaient pas les seules qu'il y avait à surmonter dans les temps féodaux, s'il s'agissait de bâtir un pont. En effet, les fleuves, et souvent même de minces rivières, formaient la limite entre des territoires appartenant à divers seigneurs, et l'établissement d'un pont détruisait cette limite; chacun alors cherchait à fermer cette communication d'un territoire à l'autre par un châtelet, ou bien s'opposait simplement à son établissement. La division féodale, bien plus encore que l'impuissance des constructeurs; devenait un obstacle à l'établissement des ponts.

On ne pouvait établir des forteresses sur les ponts que sur l'autorisation des fondateurs; mais il faut croire que la nécessité fit souvent enfreindre cette condition, car nous ne connaissons pas de pont important du moyen âge qui ne soit défendu. On ne pouvait non plus y établir des péages que du consentement des fondateurs 160. Guillaume le Grand, duc d'Aquitaine, par une charte de 998, défend pour toujours de percevoir des péages au passage du Pont royal. «Eudes, comte de Chartres, de Tours et de Blois, fit une défense analogue en 1036. Il déclara qu'ayant fait bâtir un pont à Tours dans le seul but de faire une action méritoire pour le salut de son âme, il ne voulait pas qu'il y fût perçu des droits d'aucune espèce 161.» Il n'entrait vraisemblablement pas dans la pensée des fondateurs du pont d'Avignon d'y établir des défenses, au moins du côté de la rive droite, et cependant nous voyons qu'un siècle après sa construction, le roi de France plante sur cette rive une forteresse qui en défend l'entrée ou la sortie, et que les papes, cinquante ans après, bâtissent un châtelet sur la rive gauche. Ainsi ce pont, d'utilité publique s'il en fut, vit ses deux issues fermées par les deux seigneurs qui occupaient chacune des rives.

Les péages perçus au passage des ponts étaient ordinairement affectés à leur entretien; mais on comprend que ces ressources étaient souvent détournées de leur emploi; aussi la plupart de ces ponts étaient mal entretenus. La plupart de ceux qui nous restent accusent des dégradations profondes, et qui datent de plusieurs siècles: «En temps de guerre, le seigneur d'épée avait, dans bien des provinces de France, le droit de faire démolir les ponts, même ceux à la construction desquels il n'avait pas contribué; mais il fallait un cas de salut commun. Cependant il était nécessaire d'obtenir une permission spéciale du seigneur d'épée pour pouvoir réédifier ce pont démoli dans un but d'utilité momentanée 162.» C'est ainsi que beaucoup de ponts du moyen âge furent coupés, et ne furent réparés que provisoirement, ce qui contribua encore à leur ruine. Le pont de Saint-Bénezet se trouvait précisément dans ce cas. Ce qu'il en reste nous permet d'en étudier et d'en décrire la construction. Les arches avaient de 20 à 25 mètres d'ouverture, et étaient au nombre de dix-huit. Dans l'île qui sépare les deux bras du Rhône, la chaussée était percée d'arches, aussi bien que sur les deux cours d'eau. Sur le grand bras, le pont, du côté de Villeneuve, formait un angle obtus, comme pour mieux résister à l'effort du courant. Mais nous reviendrons tout à l'heure sur cette disposition générale.

Voici, figure 1, en A, le géométral d'une des arches, avec deux des piles. Il est à remarquer que sur quatre piles qui existent encore entières, il en est deux qui sont construites suivant le tracé B et deux suivant celui C. Sur l'une de celles conformes au profil C, la plus rapprochée de la ville, est bâtie la petite chapelle dédiée à Saint-Nicolas, dans laquelle étaient déposées les reliques de saint Bénezet. Le sol de cette chapelle est placé à 4m,50 au-dessous du tablier du pont, et l'on y descend par un escalier pratiqué partie en encorbellement, partie aux dépens de l'épaisseur du pont, ainsi que le fait voir le plan D 163. Pour passer devant la chapelle, il n'était laissé au tablier en E qu'une largeur de 2 mètres, compris l'épaisseur du bahut. Par une arcade on pouvait voir du tablier l'intérieur de la chapelle, et une autre arcade en contre-bas ouvrait celle-ci vers l'aval, sur l'éperon. L'autre pile, construite de même avec des trompes, ne semble pas avoir été destinée à recevoir un autre édicule 164; peut-être ne formait-elle qu'une gare bien nécessaire sur un point aussi étroit et aussi long. Ces piles avec trompes alternaient probablement avec celles qui n'en possédaient pas, et qui sont conformes au profil B. Les arches ne sont pas tracées suivant un arc de cercle, mais forment une ellipse, ainsi que le montre la figure, obtenue au moyen de trois centres. C'était un moyen de donner plus de puissance aux reins des arcs, et de permettre l'établissement des trompes avec escaliers. Les piles qui possèdent des trompes étaient percées de trois arcades, au lieu d'une seule, au-dessus des éperons (la chapelle bouchant l'arcade centrale dans la pile C). Cette précaution était bien nécessaire pour donner une issue aux crues du fleuve, car les eaux s'élèvent parfois jusqu'au niveau G 165.

En H nous donnons la section d'une arche, avec le profil en travers de la pile B. Ces arches sont construites au moyen de quatre rangées de claveaux de 70 centimètres de hauteur juxtaposés. Ce sont de véritables arcs-doubleaux parfaitement appareillés, dont les lits se suivent, mais qui ne se liaisonnent point entre eux. Ils ne sont rendus solidaires que par le massif de maçonnerie qui les surmonte et les charge. Il est à croire que les maîtres pontifes avaient voulu en cela copier un monument romain assez voisin, l'aqueduc du Gard, dont les arches maîtresses sont construites suivant ce système. En K nous présentons un tracé perspectif des trompes posées en a à deux des quatre piles existantes, avec l'arrangement de l'escalier en encorbellement qui permet de descendre dans la chapelle.

Nous ne savons aujourd'hui comment le pont d'Avignon se terminait du côté de la ville, lorsqu'il fut construit à la fin du XIIe siècle. Très-élevé au-dessus du sol des rues, il aboutissait déjà probablement à une défense d'où l'on descendait dans la cité. Au XIVe siècle, les papes le terminèrent par un nouveau châtelet très-fort qui défendait l'entrée de la ville; mais si l'on ne voulait pas entrer dans la cité, ou si les portes du châtelet se trouvaient fermées, on pouvait du tablier du pont, descendre sur le quai qui longe le rempart, par un large emmarchement placé en amont.

Du côté du Languedoc on se heurtait, en traversant le pont, contre la tour formidable de Villeneuve et ses défenses accessoires; on entrait dans l'enceinte de la forteresse, ou bien, tournant à droite et passant par une porte, on entrait dans l'enceinte extérieure de Villeneuve. La figure 2 présente un aspect général du pont d'Avignon, avec le coude qu'il formait vers le milieu du grand bras. Au bas de la figure est le châtelet actuel bâti par les papes. En A est l'île traversée par le pont, et souvent inondée; à l'extrémité supérieure, la tour de Villeneuve. Toute la construction du pont, sauf les revêtements des éperons et les arches, est faite en très-petit appareil assez semblable à celui qui revêt les tympans de l'étage supérieur de l'aqueduc du Gard. Les massifs sont bien pleins et maçonnés avec soin, le mortier excellent. La pierre provient des carrières de Villeneuve et n'est pas d'une très-bonne qualité. Il est à croire que si ce pont eût été entretenu comme le pont Saint-Esprit bâti peu après, il se fût conservé jusqu'à nos jours, car il était établi dans d'excellentes conditions, et presque toutes ses piles posaient sur le roc vif; mais, ainsi qu'on l'a vu plus haut, les hommes contribuèrent autant que les eaux terribles du Rhône à le détruire. Depuis l'époque où l'on dut renoncer à se servir de ce moyen de traverser le fleuve, on a établi en aval un pont de bois souvent endommagé par les crues du Rhône, et sur le petit bras, depuis trente ans, un pont suspendu dont la durée est fort compromise. En jetant les yeux sur notre figure 2, on observera que le pont d'Avignon ressemble assez à une passerelle de planches posée sur des bateaux. Les frères pontifes, pour résister à l'action puissante du courant du Rhône sur ce point, surtout pendant les crues, n'avaient rien imaginé de mieux que d'établir en pierre et à demeure ce que le sens vulgaire indique de faire lorsqu'on établit un pont de bateaux, et ce n'était pas trop mal imaginé.

Dans le pays de Saint-Savourin-du-Port, sur le Rhône, appartenant à l'abbaye de Cluny, un abbé de cet ordre, Jean de Tensanges, fit commencer en 1265 le pont Saint-Esprit, sur lequel on passe encore aujourd'hui. Trente années furent employées à sa construction. La largeur de son tablier est de 5 mètres, et sa longueur de 1000 mètres environ; le nombre de ses arches est de vingt-deux. Celles-ci sont plein cintre, et n'offrent pas la particularité dans leur tracé que l'on observe au pont de Saint-Bénezet. Elles sont cependant construites au moyen de rangs de claveaux juxtaposés. Dans les tympans, des arcades permettent aux crues du fleuve de trouver passage. Le pont Saint-Esprit fut la dernière oeuvre des frères hospitaliers pontifes. Dès lors le relâchement de cet ordre contribua à sa complète décadence. Il faut dire qu'à dater du XIIIe siècle, dans les constructions civiles et religieuses, les écoles des maîtres des oeuvres laïques avaient remplacé partout les corporations religieuses, les villes comme les seigneurs n'avaient plus besoin de recourir aux frères constructeurs de ponts et autres. Le pont Saint-Esprit forme un coude à l'opposite du courant sur le grand bras du Rhône, comme le pont d'Avignon. Il était encore fermé à ses deux extrémités par des portes au XVIIe siècle, et aboutissait du côté du bourg à une défense assez importante du XIVe siècle, qui, plus tard, fit corps avec la citadelle qui commandait le cours du fleuve en amont. On peut prendre une idée de ces défenses en jetant les yeux sur la gravure donnée dans la Topographie de la Gaule 166.

Parmi les ponts du XIIe siècle que nous possédons encore en France, il faut citer le vieux pont de Carcassonne, bâti par les soins de la ville en 1184. Le péage de ce pont était destiné à son entretien. Ses arches sont plein cintre, bâties par claveaux reliés, mais non juxtaposés comme ceux du pont d'Avignon. Ses éperons aigus en aval comme en amont s'élèvent jusqu'au tablier, et forment des gares fort utiles, ce tablier n'ayant pas plus de 5 mètres de largeur. Il était autrefois défendu du côté opposé à la cité (rive gauche) par une tête de pont formidable qui enveloppait à peu près tout le faubourg actuel. Une chapelle du XVe siècle est accolée à sa première culée, en amont de ce côté. Sur la rive de la cité, il se reliait aux défenses de cette forteresse par une ligne de courtines flanquées. Ce pont sert encore aujourd'hui, bien qu'il soit depuis longtemps fort mal entretenu.

Le pont vieux de Béziers date à peu près de la même époque. Les arches sont plein cintre, celle du milieu plus élevée que les autres, de sorte que le tablier forme deux pentes peu prononcées. Les tympans de ce pont sont évidés par des arcades en prévision des crues de l'Hérault, et ses piles, plates du côté d'aval, sont en éperon du côté d'amont.

Nous donnons (fig. 3) l'arche centrale de ce pont, avec son plan en A, et un détail B, indiquant la construction des avant-becs et des arches du côté d'amont. Son tablier a 5m,60 de largeur. Les tabliers des ponts d'Avignon et de Saint-Esprit sont de niveau, ce qu'explique d'ailleurs l'énorme longueur de ces ponts; mais les ponts du moyen âge, d'une longueur ordinaire, présentent ordinairement deux pentes, l'arche centrale étant plus élevée et plus large que les arches latérales, afin de faciliter la navigation, et de laisser au milieu des rivières un débouché plus large et plus élevé aux crues. Cependant il est clair que les architectes cherchaient, autant que faire se pouvait, à éviter ces pentes, et beaucoup de leurs tabliers sont presque de niveau du moment que la situation des lieux leur permettait d'établir des quais et des culées élevés. Toutefois, alors qu'ils n'étaient pas forcés d'évider les tympans en prévision de fortes crues, ils se servaient des éperons des piles pour former des gares d'évitement, et ce programme leur a fourni de bons motifs d'architecture. Les exèdres du Pont-Neuf à Paris sont une tradition de cette disposition, qui, du reste, date de l'antiquité.

Il était pourvu à l'entretien des ponts, dit M. le baron de Girardot 167, «au moyen des péages appelés pontage, pontonage, pontenaye, pontonatge, enfin billette ou branchiette, à cause du billot ou de la branche d'arbre où l'on attachait la pancarte indicative des droits à payer. Le péage se percevait pour le passage en dessus, ou pour le passage en dessous. Un droit sur le sel transporté par bateaux fournissait à l'entretien coûteux du pont Saint-Esprit et des enrochements, sans cesse renouvelés, qui préservaient les piles des affouillements à redouter, à cause de la rapidité du fleuve. Les péages sur les ponts très-anciens avaient été établis de l'autorité des seigneurs; mais, lorsque le pouvoir royal eut avancé son oeuvre de centralisation, le roi seul put en établir à son profit ou à celui des engagistes du domaine, soit des cessionnaires à titre d'inféodation ou d'octroi. Les seigneurs hauts justiciers ne furent maintenus dans leur droit, à cet égard, qu'en justifiant d'une très-ancienne possession.»

Le seigneur était tenu, moyennant le péage, d'entretenir les ponts; mais souvent le pont détruit, on continuait à percevoir le droit, sinon sur le pont, du moins sur la navigation; de sorte que des ponts en ruine qui devenaient déjà un obstacle pour les mariniers, étaient encore pour eux une occasion de payer un droit de passage. «Dans l'origine, ajoute M. le baron de Girardot, le droit de péage emportait l'obligation d'assurer aux voyageurs la sûreté de leurs personnes et de leurs effets; en cas de vol ou de meurtre, le seigneur était tenu d'indemniser la victime ou ses ayants droit. On cite les arrêts rendus dans ce sens contre le sire de Crèvecoeur en 1254, le seigneur de Vicilon en 1269, et d'autres de cette même époque; quelques-uns même contre le roi, pour des vols commis sur sa justice (1295). Toutefois cette responsabilité n'avait lieu que pour le jour et non pour la nuit.» Ceci explique comment tous les ponts du moyen âge sont munis de postes qui permettaient d'abord de percevoir le péage, puis de maintenir la police sur leur parcours et dans les environs. Beaucoup de ces tours et châtelets qui munissent les issues des ponts, et quelquefois leur milieu, sont donc de véritables corps de garde et bureaux de péage. Cependant, le plus habituellement, il faut voir dans ces logis de véritables défenses, si, par exemple, les ponts donnent accès dans des bourgs ou villes défendus. C'est ainsi que le vieux pont de Saintes, démoli aujourd'hui, mais que nous avons vu à peu près entier il y a vingt-cinq ans, formait, sur la Charente, un obstacle formidable, soit contre les bateaux arrivant avec une intention hostile, soit contre des partis se présentant par la rive droite. Ce pont était bâti sur des piles romaines, et présentait même encore sur l'une d'elles, vers la rive droite, une porte antique formant arc triomphal à deux ouvertures 168.

La vue, figure 4, donne une idée de la disposition générale de ce pont défendu par une suite d'ouvrages importants. D'abord, du côté du faubourg des Dames, situé sur la rive droite de la Charente, se présentait une première porte; puis venait l'arc romain crénelé dans sa partie supérieure pendant le moyen âge; puis, du côté de la ville, une tour à section ovale à travers laquelle il fallait passer 169; puis, enfin, la porte de la ville, flanquée de tourelles. De la porte sur le faubourg des Dames à l'arc antique, le pont était construit en bois, ainsi que de la grosse tour à la porte de la ville, de sorte que le tablier de ces fragments de pont pouvant être facilement enlevé, toute communication entre la ville et le faubourg, ou la ville et la grosse tour, était interrompue. Les arches du pont reconstruit au moyen âge sur des piles romaines étaient en tiers-point, et le tablier du pont peu relevé au centre. La grosse tour, non-seulement défendait le pont, mais commandait la porte de la ville en cas qu'elle fût tombée au pouvoir d'un ennemi débarquant sur la rive gauche, et dominait le cours du fleuve. Le parapet du pont était autrefois crénelé, afin de permettre à la garnison de la tour de barrer absolument la navigation. Ces défenses ne remontaient pas au delà de la fin du XIVe siècle. Quant au pont lui-même, il datait de plusieurs époques, autant que les reprises successives faites dans les arches permettaient de le reconnaître 170. Le pont de Saintes, bien que privé de sa grosse tour et de ses défenses vers la ville, ne laissait pas, il y a vingt ans, de présenter un véritable intérêt; il a été démoli sans raison sérieuse et remplacé par un pont suspendu qui, bien entendu, devra bientôt être refait, la durée de ces sortes de ponts ne dépassant guère un demi-siècle.

Nos vieilles villes françaises, qui la plupart présentaient, il y a peu de temps, un caractère particulier, et qu'on aimait à visiter ainsi parées encore de leurs monuments, ont laissé détruire, sous l'influence d'un engouement passager, bien de précieux débris. Espérons que leurs conseils municipaux, mieux instruits de leurs véritables intérêts, conserveront religieusement les restes de leur ancienne splendeur, respectés par le temps, quand ces restes d'ailleurs ne peuvent en aucune façon entraver les développements de l'activité moderne, et sont un attrait pour les voyageurs. L'arc romain de Saintes, si précieux sur le pont, fait aujourd'hui sur la rive la plus étrange figure, et semble être un édifice échoué là par hasard.

La ville de Cahors n'a heureusement pas encore détruit son merveilleux pont de la Calendre, l'un des plus beaux et des plus complets que nous ait légués le XIIIe siècle. La construction du pont de la Calendre remonte à l'année 1251, et mérite une étude spéciale. Ce pont se reliait aux murailles de la ville, commandait le cours du Lot, et battait les collines qui sont situées sur la rive opposée. La ville de Cahors possédait trois ponts à peu près bâtis sur le même modèle; le pont de la Calendre est celui des trois qui est le mieux conservé.

Il se compose de six arches principales en tiers-point, fort élevées au-dessus de l'étiage. Sur la pile centrale et les deux piles extrêmes (fig. 5), s'élèvent trois tours: celle du centre carrée et les deux extrêmes sur plan barlong. Du tablier du pont des escaliers crénelés permettent de monter au premier étage de ces tours. La ville est située en A. Sur la rive opposée en B se dressent, abruptes, des collines calcaires assez hautes. On arrivait au pont latéralement, en suivant le cours du Lot, soit en amont, soit en aval, ainsi qu'on le voit en C. Il fallait alors franchir une porte défendue par un châtelet D, qui commandait la route et les escarpements inférieurs de la colline B. Cette porte double donnait entrée à angle droit sur le tablier du pont, en avant de la première tour E. Les parapets de cette première travée étaient crénelés, et communiquaient, d'un côté, par un escalier également crénelé F, avec les défenses supérieures du châtelet. Il fallait alors franchir la tour E, bien défendue dans sa partie supérieure par des mâchicoulis, et par une porte avec mâchicoulis intérieur. La porte E franchie, on entrait sur la première moitié du pont commandée par la tour centrale G, à laquelle on montait par un escalier contenu dans un ouvrage construit sur l'un des avant-becs. Cette tour centrale était de même fermée par une porte. Celle-ci franchie, on entrait sur la seconde moitié du tablier, commandée par la troisième tour H, munie à son sommet de mâchicoulis. Du côté de la ville une dernière porte I défendait les approches de cette troisième tour, à laquelle on montait par un escalier crénelé posé sur un arc-boutant. Les avant-becs servaient de gares d'évitement, et étaient crénelés de manière à flanquer le pont et à battre la rivière. Tous ces ouvrages, sauf le châtelet D 171 et les crêtes crénelées des parapets des avant-becs, sont encore intacts, et présentent, comme on le voit, un fort bel ensemble. La construction est faite en bons matériaux; les claveaux des arches sont extradossés, ce qui est une condition de solidité et d'élasticité. Nous observerons, à ce propos, que les ponts romains, aussi bien que ceux du moyen âge, présentent toujours des arcs extradossés, et ce n'est pas sans raison. En effet, lorsque de lourds fardeaux passent sur les arches, pour peu qu'elles aient une assez grande portée, il se produit dans les reins un mouvement sensible de trépidation: si les claveaux sont indépendants de la construction des tympans, ils conservent leur élasticité et ne peuvent répercuter au loin l'ébranlement; mais si au contraire ces claveaux sont à crossettes ou inégaux, c'est-à-dire s'ils sont plus épais dans les reins qu'à la clef, le mouvement oscillatoire se produit sur toute la longueur du pont, et fatigue singulièrement les piles. On peut observer ce fait sur le pont Louis XV, à Paris, bâti par le célèbre ingénieur Perronnet. Lorsqu'un chariot lourdement chargé passe sur l'arche centrale, on en ressent un ébranlement sensible sur toute la longueur du pont. Pour obvier au danger de cette oscillation, l'ingénieur Perronnet avait pour habitude de cramponner en fer les queues des claveaux; mais s'il assurait ainsi la solidarité de toutes les parties du pont, il plaçait un agent destructeur très-actif dans la maçonnerie, agent qui tôt ou tard causera des désordres notables. Les arcs extradossés, suivant la méthode romaine et du moyen âge, ont au contraire l'avantage de rendre chaque arche indépendante, d'en faire un cerceau élastique qui peut se mouvoir et osciller entre deux piles sans répercuter cette oscillation plus loin. Nos ingénieurs modernes, mieux avisés, en sont revenus à cette méthode; mais cela prouve que les constructeurs du moyen âge avaient acquis l'expérience de ces sortes de bâtisses. On pourra leur reprocher d'avoir multiplié les piles et resserré d'autant les voies de navigation; mais il faut considérer que si les ponts du moyen âge étaient faits pour établir des communications d'une rive d'un fleuve à l'autre, ils étaient aussi des moyens de défense, soit sur la voie de terre, soit sur la voie fluviale, et que la multiplicité de ces piles facilitait singulièrement cette défense. D'ailleurs ces ponts ne s'élevaient pas, comme les nôtres, dans l'espace de deux ou trois ans. La pénurie des ressources faisait qu'on mettait dix et vingt ans à les construire; dès lors il ne fallait pas que la fermeture d'une arche pût renverser les piles voisines, et celles-ci devaient être assez fortes relativement et assez rapprochées, pour résister aux poussées. C'est la nécessité où l'on se trouvait de bâtir ces ponts par parties qui faisait adopter dans quelques cas la courbe en tiers-point pour les arches, cette courbe poussant moins que la courbe plein cintre.

Le pont de la Calendre, à Cahors, possède des avant-becs en aval comme en amont, et par conséquent des gares flanquantes et d'évitement sur les deux côtés du tablier. C'est encore une raison de défense qui a motivé cette disposition, car partout où les ponts n'ont pas cette importance au point de vue militaire, s'il est pratiqué des avant-becs aigus en amont, les piles sont plates du côté d'aval, comme par exemple au pont de Saint-Étienne, à Limoges, décrit par M. Félix de Verneilh dans les Annales archéologiques 172. Ce savant archéologue, auquel nous devons des travaux si précieux sur les monuments français du moyen âge, a observé aussi que dans plusieurs de ces ponts du Limousin, dont les piles sont très-épaisses relativement aux travées des arches, ces piles ne sont souvent composées que d'un parement de granit, au milieu duquel est pilonné un massif de terre. C'était là un moyen économique dont nous avons pu constater l'emploi, et qui remonte, pensons-nous, à une assez haute antiquité, car des restes de piles romaines nous ont présenté la même particularité. Les avant-becs de plusieurs ponts du Limousin donnent en section horizontale, non point un angle aigu ou droit, mais une courbe en tiers-point, ce qui avait l'avantage de permettre le glissement de l'eau courante et de donner plus de force à ces éperons; car il est clair (fig. 6), que la section A présente une plus grande surface que la section B, par conséquent plus de poids et de résistance.

Revenons au pont de Cahors. On remarquera (fig. 5) que les escaliers extérieurs conduisant aux tours sont ouverts du côté de la ville, le long du parapet, de telle sorte que si le châtelet D était pris, fermant la porte de la tour E, les défenseurs pouvaient accabler les assaillants et recevoir des renforts de la ville. Seul l'escalier de la tour centrale G est pratiqué dans un exhaussement de l'avant-bec; son entrée étant placée sous le passage, mais masquée, bien entendu, par la porte qui fermait ce passage. L'escalier de la dernière tour H est en communication avec le crénelage du poste I, et le poste, fermé du côté de la ville, était destiné à présenter un premier obstacle aux assaillants qui auraient pu faire une descente sur la rive de ce côté.

Nous donnons (fig. 7) une vue perspective à vol d'oiseau de la tour E sur la rive opposée à la ville et de ses dépendances. Outre le châtelet extérieur A, une défense basse formait tête de pont sur cette rive, empêchait de débarquer près de la tour, et présentait un premier obstacle sur la route B. On remarquera dans cette figure la disposition des mâchicoulis avec petits arcs plein cintre. Chacun de ces arcs est porté par une console composée de quatre assises en encorbellement qui reçoivent une languette de maçonnerie dans la hauteur du coffre, de sorte que chaque arc fait un assommoir séparé s'ouvrant par une baie dans l'étage supérieur. Au-dessus des mâchicoulis, couverts par de grandes dalles, sont percés quatre créneaux très-rapprochés, permettant le tir de l'arbalète suivant un angle plus ou moins ouvert. Le premier et le second étage sont chacun percés d'une seule archère sur chaque face. L'avant-bec que l'on voit dans notre figure indique le système adopté par le maître de l'oeuvre pour élever la construction. Ces avant-becs sont percés parallèlement au tablier, à la hauteur de la naissance des arches, de passages au-dessous desquels on voit trois trous destinés à poser des sapines en travers, et un petit plancher formant passerelle. Les cintres des arches étaient eux-mêmes posés dans des trous de scellement restés apparents. Ainsi le service des maçons se faisait par cette passerelle à travers les avant-becs. Sur cette passerelle les matériaux étaient bardés, enlevés par des grues mobiles et posés sans nécessiter aucun autre échafaudage. Comme le fait observer M. Félix de Verneilh, dans la notice citée plus haut, les ponts du moyen âge étaient sujets à être coupés pendant les guerres continuelles de ces temps; c'était là encore une raison qui obligeait les constructeurs de donner aux piles une forte épaisseur, car il ne fallait pas, si l'on était dans la nécessité de couper une arche, que les autres vinssent à fléchir. Mais aussi en prévision de cette éventualité, beaucoup de ponts de pierre avaient des travées mobiles en bois. Nous avons vu tout à l'heure que le pont de Saintes possédait deux portions de tabliers de charpente: l'un du côté du faubourg, l'autre du côté de la ville. Certains ponts de pierre étaient munis de véritables ponts-levis: tels étaient ceux de Poissy, d'Orléans, de Charenton, de la Guillotière à Lyon, de Montereau, etc. Parfois aussi les ponts ne se composaient que de piles de maçonnerie avec tabliers de charpente couverts ou découverts.

Les exemples que nous venons de donner démontrent assez l'importance des ponts pendant le moyen âge comme moyen de communication et comme défense. Certains ponts plantés au confluent de deux rivières se reliaient à de véritables forteresses: tel était, par exemple, le pont de Montereau. Vers l'an 1026, un comte de Sens avait fait construire sur l'extrémité de la langue de terre qui se trouve au confluent de l'Yonne et de la Seine un donjon carré très-fort qui servit de point d'appui à un vaste châtelet, auquel aboutissait le pont traversant les deux rivières. Ce pont était en outre fermé à ses deux extrémités par des portes fortifiées. Cet ensemble de défenses existait encore au XVIIe siècle, ainsi que le démontre la gravure de Mérian 173.

Le pont d'Orléans, sur la disposition duquel il reste de curieux documents, est, au point de vue de la défense, un exemple à consulter. Tout le monde sait de combien de faits d'armes il fut le témoin lors du siége entrepris en 1428 par les Anglais. Or voici, au moment de ce siége, quels étaient les ouvrages qui faisaient de ce pont une défense importante. Placé sur la route qui reliait le nord au midi de la France à la distance la plus rapprochée de Paris, il était essentiel de le bien munir.

À l'époque donc où les Anglais vinrent assiéger Orléans, ceux-ci, suivant la rive gauche, se présentèrent, le 12 octobre 1428, par la Sologne, devant le boulevard des Tourelles (fig. 8, situé en A). Ce boulevard n'était alors qu'un ouvrage de terre et de bois. Le 22, ils s'en emparèrent, et les habitants d'Orléans abandonnèrent le fort des Tourelles B, pour se retirer dans la bastille Saint-Antoine F, située dans l'île, après avoir eu la précaution de couper l'arche I de cette partie du pont. Les Anglais, de leur côté, coupèrent l'arche K. Les gens d'Orléans établirent à la hâte un boulevard de bois à la Belle-Croix, en C. Ce fut dans cet espace étroit qu'eurent lieu quelques-uns des faits d'armes de ce siége mémorable. La bastille Saint-Antoine F était précédée d'une chapelle D placée sous le vocable de ce saint, et d'une aumônerie E destinée à recevoir les pèlerins et voyageurs attardés. En H était la porte de la ville, et en G le châtelet. Après la levée du siége, l'ouvrage des Tourelles fut réparé, ainsi que le boulevard A. Cette fois, ce boulevard fut revêtu en pierre, ainsi que le fait connaître un plan sur parchemin dressé par un sieur Fleury, arpenteur, en 1543, et reproduit en fac-simile par M. Jollois, dans son Histoire du siége d'Orléans 174.

Un second pont-levis était pratiqué en avant de la porte H de la ville. Une vue perspective à vol d'oiseau (fig 9) présente l'entrée du pont d'Orléans, avec son boulevard sur la rive gauche, du côté de la Sologne, après les réparations faites depuis le siége de 1428. Plus tard, en 1591 et 1592 175, on reconstruisit ce boulevard A avec casemates en forme de ravelin à doubles tenailles, ainsi que des fouilles récentes l'ont fait reconnaître. Mais alors la porte des Tourelles existait encore. Le boulevard reproduit dans notre figure 9 était entouré d'un fossé rempli par les eaux de la Loire, et muni d'un pont-levis s'abattant parallèlement à la rivière.

Un second pont-levis séparait (comme au temps du siége) le boulevard du fort des Tourelles. Ce fut en effet, en voulant défendre ce pont-levis, attaqué par les gens d'Orléans, après la prise du boulevard, que périt le capitaine anglais et quelques hommes d'armes avec lui. Jeanne Darc y fit mettre le feu au moyen d'un bateau chargé de matières combustibles. L'existence de ce pont-levis en 1428 ne saurait donc être douteuse. Ce qu'on appelait la Belle-Croix, située en C sur l'avant-bec d'une des piles du pont, était un monument de bronze, consistant en un crucifix érigé sur un piédestal orné de bas-relief représentant la sainte Vierge, saint Pierre, saint Paul, saint Jacques, saint Étienne, et les évêques saint Aignan et saint Euverte. Il était en effet d'un usage général de placer une croix sur le milieu des ponts, pendant le moyen âge. En avant du boulevard des Tourelles était situé le couvent des Augustins, que les habitants d'Orléans jetèrent bas à l'arrivée des Anglais, pour débarrasser les abords du châtelet. Cependant ce monastère était lui-même entouré d'une clôture et d'un fossé, et pouvait servir de défense avancée. On n'arrivait donc devant l'entrée du pont d'Orléans, comme devant l'entrée du pont de la Calendre à Cahors, que latéralement.

On conçoit quelles difficultés le régime féodal devait apporter dans la construction des ponts. Ce n'était ni la science pratique, ni la hardiesse, ni même les ressources qui manquaient lorsqu'il était question d'établir un pont sur un large cours d'eau, mais bien plutôt le bon vouloir d'autorités intéressées souvent à rendre les communications d'un pays à l'autre difficiles. On reconnaît, par les exemples déjà donnés, que si les ponts réunissaient deux rives d'un fleuve, on cherchait à accumuler sur leurs parcours le plus d'obstacles possible. On possède sur la construction du pont de Montauban des documents complets et étendus qui démontrent assez quels étaient les obstacles de toute nature opposés à ces sortes d'entreprises. Dès 1144, le comte de Toulouse, Alphonse Jourdain, en donnant aux bourgeois de Montauriol l'autorisation de fonder la ville de Montauban sur les bords du Tarn, insère dans la charte de fondation cette clause: «Les habitants dudit lieu construiront un pont sur la rivière du Tarn, et, quand le pont sera bâti, le seigneur comte s'entendra avec six prudhommes, des meilleurs conseillers, habitants dudit lieu, sur les droits qu'ils devront y établir, afin que ledit pont puisse être entretenu et réparé 176» Mais la ville naissante était trop pauvre pour pouvoir mettre à exécution une pareille entreprise. Puis vinrent les guerres des Albigeois qui réduisirent ce pays à la plus affreuse détresse. Ce n'est qu'en 1264 que les consuls de Montauban prennent des mesures financières propres à assurer la construction du pont sur le Tarn. En 1291, la ville achète l'île des Castillons ou de la Pissotte, pour y asseoir plusieurs des piles de l'édifice. C'était à l'un des rois qui ont le plus fait pour établir l'unité du pouvoir en France, qu'il était réservé de commencer définitivement cette entreprise 177. Philippe le Bel, étant venu à Toulouse pour terminer les différends qui existaient entre le comte de Foix et les comtes d'Armagnac et de Comminges, chargea de la construction du pont de Montauban deux maîtres, Étienne de Ferrières, châtelain royal de la ville, et Mathieu de Verdun, bourgeois, en soumettant tous les étrangers passant à Montauban à un péage dont le produit devait être exclusivement réservé au payement des frais de construction, et en accordant aux consuls, aux mêmes fins, une subvention (1304). Le roi toutefois imposa comme condition de bâtir sur le pont trois bonnes et fortes tours «dont il se réservait la propriété et la garde». Deux de ces tours devaient s'élever à chaque extrémité, la troisième au milieu 178.

Ce ne fut cependant qu'après des vicissitudes de toutes sortes que l'entreprise put être achevée; les sommes destinées à la construction ayant été, à diverses reprises, détournées par les consuls. Les travaux furent terminés seulement vers 1335. Ce pont est entièrement bâti de brique; sa longueur est de 250m,50 entre les deux culées. Son tablier est parfaitement horizontal et s'élève de 18 mètres au-dessus des eaux moyennes du Tarn. Il se compose de sept arches en tiers-point de 22 mètres d'ouverture en moyenne, et de six piles dont l'épaisseur est de 8m,55, munies d'avant-becs en amont comme en aval, et percées au-dessus de ces éperons de longues baies en tiers-point pour faciliter le passage des eaux pendant les crues. Les briques qui ont servi à la construction de ce pont sont d'une qualité excellente, et portent 5 centimètres d'épaisseur sur 40 centimètres de longueur et 28 centimètres de largeur 179.

La tour la plus forte était située du côté opposé à la ville; ces tours extrêmes étaient carrées, et couronnées de plates-formes avec mâchicoulis et créneaux. La tour centrale, bâtie sur l'arrière-bec, d'aval était triangulaire, et possédait un escalier à vis descendant jusqu'à une poterne percée au niveau de la rivière du côté de la ville. Cet escalier donnait en outre accès sur l'avant-bec de la même pile, au niveau du seuil des baies ogivales posées à travers les autres piles. Là était disposée une bascule qui portait une cage de fer destinée à plonger les blasphémateurs dans le Tarn. Suivant l'usage, une chapelle avait été disposée au niveau du tablier dans la tour centrale, et était placée sous le vocable de sainte Catherine.

Nous ne ferons que citer ici un certain nombre de ponts de pierre du moyen âge qui méritent de fixer l'attention. Ce sont les ponts: de Rouen, rebâti à plusieurs reprises, et démoli pendant le dernier siècle; de l'Arche, démoli depuis peu, et qui datait de la fin du XIIIe siècle, bien qu'il eût été coupé et réparé plusieurs fois pendant les XIVe et XVe siècles; de Poitiers, avec deux portes fort belles à chacune de ses extrémités, et dont on possède de bonnes gravures; de Nevers, démoli il y a peu d'années; de Tours; d'Auxerre, qui possédait une belle tour à l'une de ses extrémités, et que l'abbé Lebeuf a encore vue; de Blois, de Tonnerre; de Sens, terminé du côté de la ville par une tour considérable; de Mâcon, etc. Il est certain que le système féodal était le plus grand obstacle à l'établissement des ponts, au moins sur les larges cours d'eau, mais que le cas échéant, les maîtres du moyen âge savaient parfaitement se tirer d'affaire lorsqu'une volonté souveraine et que des ressources suffisantes les mettaient à même de construire ces édifices d'utilité publique. L'établissement des grands ponts était habituellement dû à l'intervention directe du suzerain, et c'était en effet un des moyens matériels propres à rendre effective l'autorité royale dans les provinces. Ainsi voyons-nous qu'à Montauban, le roi Philippe le Bel, en accordant des subsides pour la construction du pont, met pour condition que les trois tours demeureront en la possession de ses gens.

Bien entendu, entre toutes les villes du royaume, Paris possédait plusieurs ponts dès une époque très-reculée. Du Breul 180 nous a laissé l'histoire de ces ponts modifiés, détruits, refaits bien des fois, soit en bois, soit en pierre. Une des causes de la ruine des ponts de Paris, était ces maisons et ces moulins dont on permettait l'établissement sur les piles et les arches. Les plus anciens de ces ponts étaient le pont au Change et le Petit-Pont, le premier ayant une bastille vers la rue Saint-Denis, appelé le grand Châtelet, l'autre vers la rue Saint-Jacques, appelée le petit Châtelet. Bien que les deux châtelets existassent déjà du temps de Philippe-Auguste, puisque les comtes de Flandre et de Boulogne y furent tenus prisonniers après la bataille de Bouvines, cependant ces deux défenses avaient été rebâties en grande partie, sinon en totalité, à la fin du XIIIe siècle et au commencement du XIVe siècle, après les crues terribles de 1280 et de 1296, qui ruinèrent les deux ponts.

À la suite de ce désastre, le Petit-Pont fut refait en pierre, en 1314, au moyen d'amendes prélevées sur des juifs. Quant au pont au Change, on se contenta de le réédifier en bois. Le pont Notre-Dame, dont quelques historiens font remonter la construction vers le milieu du XIVe siècle, fut refait aux frais de la ville, en 1413. Cette reconstruction, probablement en bois, menaçait ruine en 1440, puisque, le 13 février de cette année, le parlement, par un arrêt, décida que ce pont serait entièrement rétabli. Ce projet ne fut point suivi d'exécution, et en 1498 le pont Notre-Dame s'écroula avec toutes les maisons qui le bordaient. «Ce pont de bois, dit un chroniqueur 181, contenoit dix-huit pas en largeur et estoit soutenu sur dix-sept rangées de pilotis, chacune rangée ayant trente pilliers; l'espoisseur de chacun de ces pilliers estoit un peu plus d'un pied, et avoient en hauteur quarante-deux pieds. Ceux qui passoient par-dessus ce pont, pour ne point voir d'un costé ny de l'autre la rivière, croyoient marcher sur terre ferme, et sembloient estre au milieu d'une rue de marchands, car il y avoit si grand nombre de toutes sortes de marchandises, de marchands et d'ouvriers sur ce pont, et au reste la proportion des maisons estoit tellement juste et égale en beauté, et excellence des ouvrages d'icelle, qu'on pouvoit dire avec vérité que ce pont méritoit avoir le premier lieu entre les plus rares ouvrages de France.»

À la suite du sinistre du 15 octobre 1498, le peuple de Paris accusa ses magistrats d'incurie et de malversation, et ceux-ci furent menés en prison; après quoi la plupart furent condamnés à des amendes plus ou moins fortes. Il fallut songer à reconstruire le pont Notre-Dame. Les deux maîtres des oeuvres de l'hôtel de ville, Colin de la Chesnaye pour la maçonnerie, et Gautier Hubert pour la charpente, furent chargés de l'entreprise, et on leur adjoignit Jean de Doyac, Didier de Félin, Colin Biart, André de Saint-Martin, ainsi que deux religieux, Jean d'Escullaint et Jean Joconde. Ces deux derniers étaient chargés du contrôle de la pierre de taille. Toutefois et contrairement à l'opinion de Sauval, Colin de la Chesnaye et Jean de Doyac avaient été commis à la superintendance de l'oeuvre. «Seize hommes, pris dans les différents quartiers de la ville, travaillaient sous leurs ordres, et comme marque du pouvoir souverain qu'ils exerçaient, Colin de la Chesnaye et Jean de Doyac portaient un bâton blanc 182

Le 28 mars 1499, les premières pierres du pont Notre-Dame furent posées par le gouverneur de Paris et les magistrats municipaux. Les travaux furent terminés au mois de septembre 1512. Deux rangs de maisons régulières d'aspect garnissaient les deux côtés de ce pont, et celles-ci ne furent démolies qu'en 1786.

Beaucoup trop de gens avaient été appelés à participer à la construction du pont Notre-Dame; il en résulta des changements dans la direction de l'oeuvre et des avis différents qui retardèrent l'entreprise. Il faut lire à ce sujet la curieuse notice publiée par M. Le Roux de Lincy, laquelle donne tout au long les avis demandés par les magistrats municipaux à diverses personnes considérées comme compétentes: les unes sont pour les pilotis, les autres les considèrent comme inutiles; naturellement les charpentiers penchent pour les pilotis, les maçons pour les blocages. Cependant ce pont était fort bon et fort beau, il y a encore quelques années, et il ne semble pas qu'il fût très-nécessaire de le reconstruire 183.

Au moment de la reconstruction du pont Notre-Dame, c'est-à-dire au commencement du XVIe siècle, on prenait cette habitude, si fort en honneur aujourd'hui, de consulter quantité de gens de métier ou d'amateurs officieux en matières de travaux publics; on accumulait ainsi des avis, des procès-verbaux qui ont certes un grand intérêt pour nous aujourd'hui, mais qui, au total, n'étaient guère profitables à l'oeuvre et entraînaient souvent en des dépenses inutiles. En cela l'histoire de la construction du pont Notre-Dame rappelle passablement celle de beaucoup de nos édifices modernes. On faisait évidemment moins de bruit et l'on noircissait moins de papier autour de nos vieux ponts du moyen âge, commencés presque tous avec des ressources infimes et continués sans bruit, avec persistance, jusqu'à leur achèvement. Cependant ces ponts étaient solides et parfois très-hardis, puisque plusieurs d'entre eux, comme celui de Saint-Esprit par exemple, excitent notre admiration. Les piles des ponts du moyen âge étaient élevées au moyen de bâtardeaux et rarement sur pilotis. On cherchait au fond du fleuve un lit solide, et l'on bâtissait dessus. Si l'on enfonçait des pilotis, c'était en amont des avant-becs, lorsque les fonds étaient sablonneux et pour éviter les affouillements. C'est ainsi que sont construites les piles du pont de la Guillotière à Lyon, qu'étaient fondées celles du Petit-Pont à Paris, du pont de l'Arche et du pont de Rouen. Quant aux arches, nous avons vu que celles des ponts Saint-Bénezet et Saint-Esprit sont composées de rangs de claveaux juxtaposés, non liaisonnés. Quelques arches de pont, d'une ouverture médiocre, notamment dans le Poitou, sont construites au moyen d'arcs-doubleaux séparés par un intervalle rempli par un épais dallage au-dessous du tablier, ainsi que l'indique la figure 10.

Ces arcs-doubleaux sont alors posés en rainure dans les piles et conservent une parfaite élasticité. Les eaux pluviales qui s'infiltrent toujours à travers le pavage passent facilement entre les joints des dalles, et ne salpêtrent pas les reins des arches, comme cela n'a que trop souvent lieu lorsque celles-ci sont pleines 184. Ce système d'arches a encore l'avantage d'être léger, de moins charger les piles, et d'être économique, puisqu'il emploie un tiers de moins de matériaux clavés. Les tympans au-dessus de ces arcs-doubleaux sont élevés en moellon ou en pierre tendre, et peuvent être très-facilement remplacés sans qu'il soit nécessaire d'interrompre la circulation. Les exemples de ponts construits d'après ce système paraissent appartenir au commencement du XIIIe siècle, ou peut-être même à la fin du XIIe.

Pour diminuer la dépense considérable que nécessite un pont construit avec des arches de pierre, on prenait quelquefois le parti de n'élever que des piles en maçonnerie sur lesquelles on posait un tablier de bois. Tel avait été construit le pont traversant la Loire à Nantes (fig. 11).

Sur les avant-becs de ce pont s'élevaient de petites maisons louées à des marchands 185. Entre quelques-unes des piles avaient été établis des moulins; car il est à observer que presque tous les ponts bâtis très-proches des cités populeuses, ou compris dans leur enceinte, étaient garnis de maisons, de boutiques et de moulins. La place était rare dans les villes du moyen âge, presque toutes encloses de murs et de tours, et les ponts étant naturellement des passages très-fréquentés, c'était à qui cherchait à se placer sur ces parcours. Les ponts de Paris étaient garnis de maisons, et formaient de véritables rues traversant le fleuve. Ce fut même l'établissement de ces maisons dont la voirie, ne se préoccupait pas assez, qui contribua à la ruine de ces ponts. S'il fallait se maintenir sur l'alignement des deux côtés de la voie, sur la rivière, on posait des bâtisses en encorbellement, on creusait des caves et des réduits dans les piles, et les parois de ces ponts devaient bientôt se déverser. Lorsque la démolition des maisons qui garnissaient les ponts Notre-Dame et Saint-Michel à Paris fut effectuée, il fallut réparer les parements extérieurs et les tympans des arches jusqu'au droit des piles, chaque habitant ayant peu à peu creusé ces tympans ou altéré ces parements.

Les ponts de bois jouent un rôle important dans l'architecture du moyen âge, leur établissement étant facile et peu dispendieux. Nous trouvons encore la tradition des ponts de bois gaulois en Savoie. Dans cette contrée, pour traverser un torrent, sur les pentes escarpées qui forment son encaissement, on amasse quelques blocs de grosses pierres en manière de culées, puis (fig. 12), sur cet enrochement on pose des troncs d'arbres, alternativement perpendiculaires et parallèles à la direction du ravin, en encorbellement. On garnit les intervalles laissés vides entre ces troncs d'arbres, de pierres, de façon à former une pile lourde, homogène, présentant une résistance suffisante. D'une de ces piles à l'autre on jette deux, trois, quatre sapines, ou plus, suivant la largeur que l'on veut donner au tablier, et sur ces sapines on cloue des traverses de bois. Cette construction primitive, dont chaque jour on fait encore usage en Savoie, rappelle singulièrement ces ouvrages gaulois dont parle César, et qui se composaient de troncs d'arbres posés à angle droit par rangées, entre lesquelles on bloquait des quartiers de roches. Ce procédé, qui n'est qu'un empilage, et ne peut être considéré comme une oeuvre de charpenterie, doit remonter à la plus haute antiquité; nous le signalons ici pour faire connaître comment certaines traditions se perpétuent à travers les siècles, malgré les perfectionnements apportés par la civilisation, et combien elles doivent toujours fixer l'attention de l'archéologue.

Ces sortes d'ouvrages devaient sembler barbares aux yeux des Romains, si excellents charpentiers, et nous les voyons encore exécuter de nos jours au milieu de populations en contact avec notre civilisation. C'est que les travaux des hommes conservent toujours quelque chose de leur point de départ, et que dans l'âge mûr des peuples on peut encore retrouver la trace des premiers essais de leur enfance. C'est ainsi, par exemple, que, dans un ordre beaucoup plus élevé, nous voyons les charpentiers à Rome exécuter des charpentes considérables à l'aide de bois très-courts. C'était là une méthode adoptée par les armées romaines. Ne pouvant en campagne se procurer des engins propres à mettre au levage de très-grandes pièces de bois, ils avaient adopté des combinaisons de charpenterie qui leur permettaient de construire en peu de temps des ouvrages d'une grande hauteur ou d'un grand développement. Ces traditions romaines s'étaient encore conservées chez nous pendant les premiers siècles du moyen âge, où les difficultés de transport et de levage faisaient qu'on employait des bois courts pour exécuter des travaux de charpente, surtout en campagne. Villard de Honnecourt donne le croquis d'un pont fait avec des bois de vingt pieds 186. «Ar chu,» écrit-il au bas de son croquis, «fait om ou pont desor one aive de fus de xx pies d lonc 187.» Le moyen indiqué par Villard de Honnecourt est très-simple, et rappelle les ouvrages de charpenterie que nous voyons exprimés dans les bas-reliefs de la colonne Trajane et de l'arc de Septime Sévère.

Villard élève deux culées en maçonnerie (fig. 13), auxquelles il scelle d'abord les chapeaux B des deux potences A. Les contre-fiches de ces potences assemblées dans les poteaux D sont roidies par les moises E. Sur les chapeaux de ces potences, il élève les poteaux G, H, maintenus dans tous les sens par des croix de Saint-André. Des seconds chapeaux K réunissent la tête de ces poteaux et sont soulagés par des contre-fiches L moisées comme celles du dessous; puis, sur ces derniers chapeaux, il pose des pièces horizontales qui réunissent les deux encorbellements et les empêchent de donner du nez. Il suffisait de clouer des madriers sur les longrines. En ne prenant, pour exécuter cet ouvrage, comme le dit Villard, que des bois de 20 pieds, on peut avoir facilement un tablier de 50 pieds de long, parfaitement rigide. Cela paraît être pour notre auteur un ouvrage de campagne, qu'il surmonte d'une porte à chaque bout.

Quant aux ponts de bois plantés en travers de grands cours d'eau, ils se composaient de rangées de pieux, ordinairement simples, moisés et armés de fortes contre-fiches en aval et en amont. Sur ces pieux, on posait des chapeaux qui réunissaient leur tête, puis le tablier soulagé par des liens. Les piles, composées de rangs simples de pieux, avaient cet avantage de n'opposer aucun obstacle au courant. Des gardes triangulaires fichées en amont faisaient dévier les glaçons ou les corps flottants qui auraient pu entamer les piles.

Comme les armées romaines, celles du moyen âge ne se faisaient pas faute d'établir des ponts fixes sur les rivières pour passer leurs gens et leur arroi. Dans la Chanson des Saxons, Charlemagne fait faire un pont sur le Rhône: «Barons, dit-il, aux chefs assemblés:

«Trop est Rune parfonde por mener tel bustin:

N'i porroient passer palefroi ne roncin;

Mès . i . chose esgart an mon cuer et destin,

Par coi de nostre guerre trarrons ançois à fin:

. i . pont ferons sor Rune par force et par angin,

Les estaches de chasnes, les planches de sapin;

. xxx . toises aura an travers de chemin.

Puis passerons outre tuit ansamble à . i . brin,

Et ferons la bataille c'on le verra dou Rin,

Et conquerrons Soissoigne sor la gent Guiteclin 188

C'est un poëte qui parle, et nous ne citons ses vers que comme l'expression d'un fait général, admis dans les armées du moyen âge.

Les ponts de bois n'ayant jamais qu'une durée assez limitée, il ne nous reste aucun ouvrage de ce genre qui soit antérieur au XVIe siècle, et nous ne pouvons en prendre une idée que par des vignettes de manuscrits ou des gravures des XVIe et XVIIe siècles. Si l'on veut établir des ponts de bois, ou il faut rapprocher beaucoup les piles, afin de ne donner aux portées des travées du tablier qu'une longueur très-réduite, et éviter ainsi leur fléchissement; ou il faut armer ces tabliers de contre-fiches assez inclinées pour résister à la flexion, et alors élever beaucoup les têtes des piles au-dessus du niveau de l'eau; ou il faut suspendre les tabliers à un système de fermes. Ce dernier parti semble avoir été adopté fréquemment pendant le moyen âge.

Soient (fig. 14) des piles de trois rangs de pieux espacés de 12m,00 d'axe en axe; la tête de ces pieux, ne s'élevant pas à plus de 2m,00 au-dessus du niveau de l'eau, on posait sur ces têtes de pieux des longrines, soulagées en A par les fermes B. Ces fermes, légèrement inclinées l'une vers l'autre, étaient rendues solidaires au moyen des traverses supérieures C et des croix de Saint-André D. Sur ces longines E on posait de fortes solives F, puis les madriers formant le tablier. Ces ouvrages présentaient une grande rigidité, mais ne pouvaient subsister fort longtemps sans se détériorer, et n'étaient guère jetés que sur des cours d'eau dont les crues n'étaient pas considérables.

Du Breul 189, parlant du pont Saint-Michel à Paris, dit qu'il était de bois et avait été construit en 1384 par Hugues Aubriot, alors prévost de Paris. Ce pont était garni de plusieurs maisons. Le pont Notre-Dame, bâti en 1414, suivant le même auteur 190, d'après le rapport de Robert Gaguin «n'étoit que de bois, ayant en longueur 70 pas 4 pieds, et en largeur 18 pas: de deux costez et sur lequel estoient basties 60 maisons esgales en structure et haulteur, lequel après avoir subsisté 92 ans seulement, tumba en la rivière l'an 1499, le vendredi 25 octobre...»

Ainsi que nous l'avons vu précédemment, certains ponts de pierre possédaient des travées de bois mobiles, soit pour intercepter la communication d'une rive à l'autre, soit pour laisser passer les bateaux. Ces portions de tabliers en charpente étaient relevées au moyen de châssis à contre-poids, ainsi que cela se pratique encore aujourd'hui, ou bien roulaient sur des longrines: on appelait les premiers des ponts torneïs, et les seconds des postis 191. Les premiers étaient de véritables ponts-levis. Il est à remarquer que le pont-levis, tel qu'on l'entend aujourd'hui, adapté à une porte de ville ou de château, n'a été mis en pratique que vers le commencement du XIVe siècle, jusqu'alors les ponts torneïs étaient disposés en manière de bascule 192.

Si, vers la fin du XIIIe siècle, on établissait déjà des ponts-levis, ceux-ci étaient isolés et ne tenaient pas aux portes mêmes, ainsi que cela s'est pratiqué depuis. Ils faisaient partie des ouvrages avancés en bois, tenaient à la barrière, mais n'étaient point disposés dans la maçonnerie des portes. Cependant, dès une époque reculée, on employait souvent les ponts ou passerelles roulant sur des longrines, particulièrement dans les provinces méridionales.

Ces sortes de ponts, dont nous donnons un géométral latéral en A (fig. 15), se composaient de deux pièces de bois parallèles B, au-dessous desquelles étaient adaptés des rouleaux. Un tablier de madriers était cloué sur ces pièces de charpente. Quatre poulies C, dont les essieux étaient fortement scellés à deux murs latéraux, recevaient deux chaînes fixées à des anneaux D tenant aux poutres. Ces chaînes s'enroulaient sur un treuil E dont le pivot tournait dans des douilles fixées de même à ces murs latéraux. Sous les pièces de bois B mobiles étaient scellées deux poutres G fixes, sur lesquelles roulaient les petits rouleaux. En tournant le treuil de a en c, on faisait avancer le tablier mobile qui franchissait le fossé F, et venait s'appuyer sur la pile en H; en le tournant de a en b, on faisait rentrer ce tablier sous le passage de la porte. La queue I du tablier servait de contre-poids, et permettait toujours de passer sur la chambre du treuil lorsque la passerelle était avancée. Un tracé perspectif P fera mieux saisir ce mécanisme très-simple. Pour le rendre plus intelligible, nous avons supposé que le mur latéral M, dans lequel sont scellées les poulies et les douilles du treuil, est démoli; nous avons enlevé de même la maçonnerie supérieure de l'une des tours flanquantes N, entre lesquelles s'avance la passerelle. Dans la figure perspective, le tablier est supposé rentré. On établissait beaucoup de ces sortes de ponts dans les ouvrages italiens du XVe siècle, ainsi que le constate l'ouvrage si curieux de Francesco di Giorgio Martini 193, et dans nos fortifications faites au moment de l'application de l'artillerie à feu.

On reconnaît l'emploi de divers systèmes de ponts à bascule devant les portes du moyen âge. Quelquefois ces ponts sont disposés de manière à s'abaisser, d'autres fois ils se relèvent. Dans les provinces de l'Est, et sur les bords du Rhin, on adoptait fréquemment les ponts à bascule présentant la disposition indiquée dans la figure 16.

Ces ponts se composaient de deux poutres principales A, reliées par des traverses et des croix de Saint-André. La partie antérieure B du tablier était garnie de madriers.

Deux rainures R ménagées dans la maçonnerie; ainsi que l'indique la figure 16 bis, permettaient à la partie postérieure des poutres A de s'abaisser au niveau du tablier de maçonnerie C pratiqué sous le passage de la porte. Alors le tablier B était horizontal, et pour le maintenir dans cette position sous chacune des poutres étaient disposées deux solives D, glissant sur deux rouleaux E. Lorsqu'on voulait arrêter le tablier et l'empêcher de basculer, il suffisait de pousser le levier de fer F, pivotant sur un bouton en G, et dont la fourchette était engagée entre deux chevilles. Le levier amené à la ligne verticale, ainsi que notre figure l'indique, les solives D allaient s'engager dans deux entailles I pratiquées à la tête de la dernière pile. Le tracé K indique la disposition de la fourchette du levier en coupe. Si l'on voulait faire basculer le pont, en tirant sur la vingtaine L, on amenait le levier F en f. Alors la solive D quittait son entaille I, et en lâchant sur le treuil M, la pesanteur de la partie antérieure du tablier mobile faisait incliner celui-ci suivant la ligne NO; l'extrémité P des poutres s'élevait en p, et le passage était coupé. Pour ramener le pont à la ligne horizontale, on appuyait sur le treuil M, et avec la main, en montant sur le gradin H, et en repoussant les leviers, on calait le pont. Les rainures R (voy. la figure 16 bis) étaient assez larges pour permettre aux poutres de pivoter, et pour faciliter la manoeuvre des leviers. On voit encore à Bâle une porte disposée pour recevoir un pont combiné suivant ce système. Une herse S (voy. fig. 16) descendait jusqu'au tablier, soit placé horizontalement, soit incliné.

D'autres ponts basculaient en se relevant, ainsi que le fait voir la figure 17. L'extrémité A du tablier antérieur, si l'on voulait donner passage, tombait sur la dernière pile, et pour caler le pont dans cette position, une solive B, roulant sur une poutrelle scellée C, se manoeuvrait au moyen du levier D. En attirant à soi le levier en d, on décalait le tablier, et en lâchant sur le treuil T, les contre-poids G faisaient basculer le pont, amenant l'extrémité B en b. Un tablier incliné fixe E conduisait au tablier mobile, lorsque celui-ci était abaissé au moyen du treuil T.

Ces ponts avaient été adoptés au moment de l'emploi de l'artillerie à feu, afin d'éviter les bras et chaînes des ponts-levis que l'assiégeant pouvait détruire avec le canon. Ils remplissaient le même office, et ne laissaient rien voir de leur mécanisme à l'extérieur. Le pont à bascule (fig. 17) se composait de deux poutres avec traverses et madriers, chacune des extrémités postérieures des deux poutres étant munies d'une chaîne s'enroulant sur un treuil. Nous avons l'occasion, dans l'article PORTE, de revenir sur ces ponts mobiles, et particulièrement sur les ponts-levis adaptés à la maçonnerie.

L'usage des ponts de bateaux remonte aux premiers temps du moyen âge; c'était là une tradition antique qui ne s'était jamais effacée. Éginhard, dans la Vie de Charles et de Karloman, raconte que le premier de ces princes avait fait établir un pont de bateaux sur le Danube pour s'en servir pendant la guerre contre les Huns 194.

Au siége du Château-Gaillard, Philippe-Auguste fit faire un pont sur la Seine, composé de pieux inclinés contre le courant, et sur lesquels on posa un tablier de charpente. Trois grands bateaux, surmontés de hautes tours, défendaient ce pont 195. Dans sa chronique, Guillaume Guiart parle d'un pont de bateaux jeté sur la Lis et retenu par des cordages:

«A main, ne sai, droite ou esclenche,

Au plus vistement qu'il puet trenche

Les cordes à quoi l'on le hale;

Li ponz comme foudre dévale;

Bas descent ce qui iert deseure 196

Au siége de Tarascon, le duc d'Anjou et du Guesclin firent faire un pont de bateaux sur le Rhône.

Froissart raconte comment les Flamands avaient établi un pont de nefs et de clayes sur l'Escaut, devant Audenarde 197.

Philippe de Commines dit comment le comte de Charolais et ses alliés jetèrent un pont de bateaux et de tonneaux sur la Seine, près de Moret.

«Il faisoit (le comte de Charolais) mener sept ou huit petits bateaux sur charrois, et plusieurs pippes, par pièces, en intention de faire un pont sur la rivière de Seine, pour ce que ces seigneurs n'y avoient point de passage 198.» Plus loin le même auteur décrit ainsi la façon d'un large pont jeté par le comte de Charolais sur la Seine, près de Charenton. «Il fut conclu en un conseil, que l'on feroit un fort grand pont sus grands bateaux: et couperoit-on l'estroit du bateau, et ne s'asserroit le bois que sur le large: et au dernier couplet y auroit de grandes ancres pour jeter en terre..., et fut le pont achevé, amené et dressé, sauf le dernier couplet, qui tournoit de costé, prest à dresser, et tous les bateaux arrivés 199...» C'était là un pont de bateaux avec partie mobile, que le courant faisait dévaler au besoin, sur la rive occupée par l'ennemi.

Quand le duc de Bourgogne attaqua les Gaulois, en 1452, il fit établir un pont flottant sur l'Escaut, devant Termonde; il fit mander «ouvriers de toutes pars pour faire un pont sur tonneaux, à cordes et à planches; et, pour deffendre ledict pont, fit, outre l'eaue, faire un gros bolovart de bois et de terre 200...»

Dans son Histoire du roy Charles VII, Alain Chartier rapporte qu'un parti de Français et d'Écossais, près de la Flèche, fit sur la Loire un pont de charrettes attachées les unes aux autres, et garnies de madriers par-dessus 201.

Ces exemples suffisent pour démontrer que les ponts de bateaux ont été usités pendant le moyen âge 202, soit pour servir à poste fixe, soit pour faciliter le passage des armées. Ces sortes de ponts préoccupèrent fort les ingénieurs militaires pendant le XVIe siècle; les ouvrages qu'ils nous ont laissés présentent quantité de moyens plus ou moins pratiques employés pour rendre l'établissement de ces ponts facile, et pour les jeter rapidement sur une rive ennemie. On cherchait alors à rendre les pontons transportables, et, à cet effet, on les composait de plusieurs caisses étanches qui s'accrochaient les unes aux autres.

Note 155: (retour) Lib. V, cap. XVIII. Pont-pierre, aujourd'hui Pompierre, est un village sur le Mouzon, près de la Meuse (Vosges).
Note 156: (retour) Dans son ouvrage sur les Droits et usages, M. A. Champollion Figeac cite un pont gothique du XIe siècle, dépendant du château des comtes de Champagne, à Troyes; mais ce pont, comme le château dont il dépendait, est démoli depuis bien des années, et la reproduction qui en est donnée dans le Voyage archéologique de M. Arnaud est due à l'imagination de cet auteur.
Note 157: (retour) La confrérie religieuse des Frères hospitaliers pontifes prit naissance et s'établit d'abord à Maupas, au diocèse de Cavaillon, dès l'année 1164, d'après les Recherches historiques de l'abbé Grégoire. Petit Benoît, ou saint Bénezet, fut le chef de cette institution, et aurait commencé ses travaux à Maupas; ce serait après cette première oeuvre qu'il aurait entrepris la construction du pont d'Avignon.
Note 158: (retour) Dans le recueil des Plans et profils des principales villes et lieux considérables de France, par le sieur Tassin, 1652, est donnée une vue d'Avignon avec le pont Saint-Bénezet. Deux arches manquent dans l'île et trois sur le grand bras.
Note 159: (retour) Archives municipales d'Avignon; procès du Rhône, t. I, p. 65. Nous devons ces renseignements au savant archiviste de la préfecture de Vaucluse, M. Achard, qui possède sur Avignon et le comtat Venaissin des notes précieuses dont il a bien voulu nous permettre de faire usage.
Note 160: (retour) «Une charte», dit M. A. Champollion-Figeac, dans son recueil intitulé Droits et usages (Paris, 1860), «une charte de l'empereur Frédéric, de l'année 1158, et un acte relatif à l'abbaye de Saint-Florent (coll. de Camps), de l'année 1162, pour un pont bâti sur la Loire, constatent encore ces deux faits» (la défense d'élever des forteresses sur les ponts ou d'y percevoir un péage quelconque sans autorisation des fondateurs)...
Note 161: (retour) Ibid., p. 125.
Note 162: (retour) Droits et usages. M. A. Champollion-Figeac, p. 131.
Note 163: (retour) Ce plan est fait à la fois, et sur le tablier, et sur la chapelle en contre-bas.
Note 164: (retour) Il n'est fait mention que d'une chapelle sur le pont d'Avignon dans tous les documents que nous avons pu consulter.
Note 165: (retour) Notamment en 1856.
Note 166: (retour) Édit. de Francfort, gravures de Mérian.--Deux arches du pont Saint-Esprit ont été détruites depuis peu pour être remplacées par une arche en fonte de fer, afin de faciliter le passage des bateaux. Il a fallu arracher à grand'peine la pile supprimée, dont la maçonnerie était excellente.
Note 167: (retour) Voyez l'article substantiel sur les ponts, publié par ce savant archéologue, dans les Annales archéologiques, t. VII, p. 17 et suiv.
Note 168: (retour) Cet arc de triomphe, déposé pièce à pièce, lorsque la démolition du pont fut définitivement résolue, a été remonté sur les bords mêmes du fleuve, par les soins de la commission des monuments historiques et sons la direction de M. Clerget, architecte.
Note 169: (retour) Cette tour, à la fin du XVIe siècle, servait de prison municipale.
Note 170: (retour) La grosse tour et la porte de la ville furent démolies après les guerres de religion, elles sont parfaitement indiquées dans une vue cavalière du Recueil de 1574: Civitates orbis terr.
Note 171: (retour) De ce châtelet il ne reste que les parties basses.
Note 172: (retour) Tome XX, p. 100.
Note 173: (retour) Topogr. Galliæ.
Note 174: (retour) Histoire du siége d'Orléans, par M. Jollois, ingénieur en chef des ponts et chaussées, 1833, petit in-folio, avec la Lettre à MM. les membres de la Société des antiquaires de France, 1834.
Note 175: (retour) Comptes de la ville.
Note 176: (retour) Art. 24 de la charte de fondation de Montauban, Archives de Montauban, livre Rouge, fol. verso 105.
Note 177: (retour) Voyez l'excellente notice sur le pont de Montauban, donnée par M. Devals aîné, dans les Annales archéologiques, t. XVI, p. 39.
Note 178: (retour) Archives de Montauban, liasse D, nº 16, liv. des Serments, folio 102.
Note 179: (retour) Nous devons ces détails à M. Olivier, architecte du département.
Note 180: (retour) Le Théâtre des antiquités de Paris, 1612, p. 235 et suiv.
Note 181: (retour) Gaguin, De gestis Francorum. Paris, 1522, in-8, folio 303, verso. C. Malingre, p. 219 des Annales générales de la ville de Paris, 1640, in-folio.
Note 182: (retour) Registres de l'hôtel de ville, II 1778, fol. 28, rº. (Voyez les Recherches historiques sur la chute et la reconstruction du pont Notre-Dame à Paris, par M. Le Roux de Lincy, Biblioth. de l'école des chartes, 2e série, t. II, p. 32.)
Note 183: (retour) S'il faut s'en rapporter à une note écrite sur la couverture du livre Rouge du Châtelet de Paris, la dépense du pont Notre-Dame à Paris se serait élevée à 205 380 livres 4 sous 4 deniers tournois. Sauval, contestant ce chiffre, sans d'ailleurs donner ses preuves, prétend que la dépense s'éleva à 1 160 684 livres.
Note 184: (retour) On remarquera que la plupart des vieux ponts présentent des altérations très-profondes dans les claveaux intermédiaires, tandis que ceux de tête sont intacts, parce qu'ils sont plus facilement séchés par l'air.
Note 185: (retour) Ce pont existait encore dans cet état vers le milieu du XVIIe siècle; nous ne savons précisément à quelle époque il avait été élevé. (Voyez la Topographie de la Gaule, grav. de Mérian.)
Note 186: (retour) Album de Villard de Honnecourt, manuscrit publié en fac-simile. J. B. Lassus et A. Darcel, 1858, pl. XXXVIII.
Note 187: (retour) «Par ce moyen fait-on un pont par dessus une eau avec des bois de vingt pieds de long.»
Note 188: (retour) La chanson des Saxons, chap. CXVIII.
Note 189: (retour) Le Théâtre des antiquités de Paris, p. 241.
Note 190: (retour) Page 243.
Note 191: (retour) Du mot latin positus.
Note 192: (retour)

Moult s'esforce li forsenez

De faire fossez et tranchiées,

Tot entor lui à sis archiées

Fait un fossé d'eve parfont,

Riens n'i puet entrer qui n'afont.

Desor fu li ponz tornéiz

Moult bien tornez toz coléiz.

(Roman du Renart, vers 18474 et suiv.)


Clos fu de murs et de fossez

Dont l'eve coroit tot entor,

Un pont tornéiz par desor

(Ibid., vers 21994 et suiv.)


Chevauchant lez une rivière

S'an vindrent jusqu'au herberjage,

Et an lor ot par le passage

Un pont tornéiz avalé.

...

(Li romans de la charrette.)


En la chaucie fu grans li féréis,

Li quens Guillaumes moult durement le fist,

Il s'aresta sor le pont tornéis

Et vit Begon, moult fièrement li dist:

(Li romans de Garin le Loherain, t. II, p. 175, édit. Techener, 1833.)

Note 193: (retour) Trattato di archit. civ. e milit. di Francisco di Giorgio Martini, archit. senese del secolo XV, publié pour la première fois par le chevalier Cesare Saluzzo. Turin, 1841.
Note 194: (retour) «Rex autem, propter bellum cum Hunis susceptum in Bajoaria sedens, pontem navalem quo in Danubio ad id bellum uteretur, ædificavit...» (Karolus, DCCXCII).
Note 195: (retour) Guillaume le Breton, la Philippide, chant VIIe.
Note 196: (retour) Branche des royaux lignages, vers 4883 et suiv.
Note 197: (retour) Chronique de Froissart, livre II, chap. LVIII et chap. CLXX.
Note 198: (retour) Mém. de Ph. de Commines, liv. I, chap. VI.
Note 199: (retour) Ibid., liv. I, chap. x.
Note 200: (retour) Mém. d'Olivier de la Marche, liv. I, chap. XXV.
Note 201: (retour) Alain Chartier, Hist. de Charles VII, 1421.
Note 202: (retour) Voyez quelques-uns de ces ponts de bateaux et de barriques reproduits dans le traité De re militari, de Robertus Valturius (Paris, 1534).


PORCHE, s. m. Les plus anciennes églises chrétiennes possédaient, devant la nef réservée aux fidèles, un porche ouvert ou fermé, destiné à contenir les catéchumènes et les pénitents. Cette disposition avait été empruntée aux basiliques antiques, qui étaient généralement précédées d'un portique ouvert. Lorsqu'il n'y eut plus de catéchumènes en Occident, c'est-à-dire lorsque le baptême étant donné aux enfants, il ne fut plus nécessaire de préparer les nouveaux convertis avant de les introduire dans l'église, l'usage des porches n'en resta pas moins établi, et ceux-ci devinrent même, dans certains cas, des annexes très-importantes, de vastes vestibules souvent fermés, pouvant contenir un grand nombre de personnes et destinés à divers usages. Il faut reconnaître même que l'habitude de construire des porches devant les églises alla s'affaiblissant à dater du XIIIe siècle; beaucoup de monuments religieux en sont dépourvus depuis cette époque, notamment la plupart de nos grandes cathédrales, tandis que jusque vers le milieu du XIIe siècle, on ne concevait pas une église cathédrale, conventuelle ou paroissiale, sans un porche au moins, devant l'entrée majeure.

Les porches paraissent avoir été adoptés dans nos plus anciennes églises du moyen âge. C'était, dans l'Église primitive, sous les porches ou vestibules des basiliques que l'on enterrait les personnages marquants, les empereurs 203, les évêques. Aussi l'usage d'encenser ces lieux et d'y chanter des litanies s'était-il conservé dans quelques diocèses, car il faut observer qu'avant le XIIe siècle, les lois ecclésiastiques interdisaient d'enterrer les morts dans l'intérieur même des églises. Sous les porches étaient alors placés les fonts baptismaux, des fontaines dans lesquelles les fidèles faisaient leurs ablutions avant d'entrer dans la nef; les exorcismes se pratiquaient aussi sous les porches. Il était défendu d'y tenir des plaids et de s'y rassembler pour affaires temporelles. On y exposait, à certaines occasions, des reliques et de saintes images. «Les porches des églises, dit Thiers, sont des lieux saints: 1º à cause des reliques ou des images qui y sont; 2º à cause qu'ils sont le lieu de la sépulture des fidèles; 3º à cause qu'ils sont destinés à de saints usages; 4º à cause qu'ils font partie des églises; 5º à cause qu'ils sont ainsi appelés par les conciles et par les auteurs ecclésiastiques 204

Guillaume Durand observe «que le porche de l'église signifie le Christ par qui s'ouvre pour nous l'entrée de la Jérusalem céleste; il est appelé aussi portique (porticus), de la porte (a porta), ou de ce qu'il est ouvert à tous comme un port (a portu) 205

Toutefois les porches des églises ne conservèrent pas toujours, pendant le moyen âge, ce caractère sacré; nous en avons la preuve dans les réclamations des chapitres ou des religieux au sujet des usages profanes auxquels on les faisait servir. Dans le recueil des arrêts du parlement de 1292, nous trouvons une plainte du doyen et du chapitre de Roye contre le châtelain, lequel tenait depuis longtemps ses plaids sous le porche de l'église. Il est enjoint au bailly de Vermandois de défendre audit châtelain de tenir à l'avenir ses assemblées dans ce lieu, nonobstant qu'il les y eût tenues depuis longtemps, s'il est bien constaté que ce porche fait partie de l'église et sert de cimetière 206.

C'est probablement pour prévenir ces abus que les grands établissements de Cluny et de Cîteaux élevèrent devant leurs églises des porches absolument fermés dès le commencement du XIIe siècle; d'ailleurs ces porches devaient servir à des cérémonies ou à des usages qui nécessitaient une clôture, comme nous le verrons bientôt. Quantité de porches d'églises cathédrales et paroissiales servaient même de marchés, et les auteurs ecclésiastiques élèvent trop souvent contre cet abus pour qu'il n'ait pas été fréquent. Encore aujourd'hui voyons-nous qu'on y établit des boutiques volantes, en certains lieux, les jours de foire, et que des chapitres y tolèrent la vente d'objets de piété.

Les porches primitifs du moyen âge, en Occident, c'est-à-dire ceux bâtis du VIIIe au XIe siècle, se présentent généralement sous la forme d'un portique tenant toute la largeur de l'église et ayant peu de profondeur. Cependant certains porches d'églises dépendant de monastères ou même de collégiales sont disposés sous une tour plantée devant la nef. Tel était le porche de l'église abbatiale de Saint-Germain des Prés à Paris, dont il ne reste que bien peu de traces, et qui datait de l'époque carlovingienne; tels sont encore ceux de l'église abbatiale de Saint-Savin près Poitiers, de la cathédrale de Limoges et de la collégiale de Poissy, qui tous trois appartiennent aux IXe et Xe siècles. Alors ces porches formaient une entrée défendue, et étaient quelquefois précédés d'un fossé, comme celui de Saint-Savin, par exemple. Les porches des églises de Notre-Dame du Port à Clermont, de Chamaillières (Puy-de-Dôme), de Saint-Étienne de Nevers, de la cathédrale de Clermont, sont bâtis sur plan barlong et sont fermés; ils devaient être couronnés par deux tours. Quelques églises carlovingiennes, comme la basse oeuvre de Beauvais, étaient précédées de porches non voûtés, de portiques couverts de charpentes apparentes, et sur lesquels la nef et ses bas côtés s'ouvraient largement. Vers la fin du XIIe siècle, la plupart de ces dispositions primitives furent profondément modifiées, et la tendance générale était de supprimer les porches plantés devant la façade principale pour les réunir aux nefs, ce qui ferait croire qu'alors les cérémonies auxquelles les porches étaient réservés tombèrent en désuétude. Un peu plus tard, vers le milieu du XIIIe siècle, on bâtit au contraire beaucoup de porches devant les entrées latérales des églises, et notamment des cathédrales, comme à Chartres, à Bourges, à Châlons-sur-Marne, puis on se mit, vers la fin de ce siècle et pendant le XIVe, à en élever devant les entrées majeures; mais tous ces porches sont alors ouverts et ne sont que des abris destinés aux fidèles à l'entrée ou à la sortie de l'église. Ils n'ont plus le caractère sacré que l'on observe dans les porches primitifs et ne servent que rarement de lieux de sépulture.

Pour suivre un ordre méthodique, nous diviserons cet article en porches d'églises fermés, ant-églises ou narthex, porches ouverts sous des clochers, porches annexes ouverts, porches de constructions civiles.

Note 203: (retour) Voy. Eusèbe, lib. IV, cap. LX, De vita Constantini.
Note 204: (retour) Dissert. sur les porches des églises..., chap. VII, p. 67, sommaire.
Note 205: (retour) Rational, lib. I, cap. I, § XX.
Note 206: (retour) Les Olim, ann. MCCXCII, ann. 2.


PORCHES FERMÉS. Nous ne pensons pas qu'il y ait en France de porches antérieurs à celui de l'église latine de Saint-Front de Périgueux, dont on reconnaît encore les traces. Ce porche, de forme carrée, avait 10m,30 de longueur sur 0m,65 de largeur. Il était couvert par une charpente à deux égouts, avec pignon en maçonnerie sur la face antérieure. Une large arcade plein cintre en formait l'entrée. De sa décoration extérieure, très-simple d'ailleurs, il ne reste que des fragments. Ce porche, antérieur au Xe siècle, est décrit et gravé dans l'ouvrage de M. Félix de Verneilh sur l'architecture byzantine en France 207. Cette disposition de salle précédée d'un pignon sur la face, contraire à la forme adoptée pour les portiques des premières basiliques latines, indique une modification déjà fort ancienne dans le plan des porches sur le sol de la France, modification dont malheureusement nous ne pouvons connaître le point de départ, faute de monuments existants; elle n'en est pas moins très-importante à constater, puisque nous voyons qu'à partir du Xe siècle, la plupart des églises abbatiales sont précédées de vastes porches fermés, présentant une véritable ant-église souvent à deux étages et devant répondre à des besoins nouveaux.

L'ordre de Cluny s'empara de cette disposition et en fit le motif de monuments remarquables à tous égards. L'un des porches fermés les plus anciens appartenant à cet ordre, est celui de l'église de Tournus; il se compose (fig. 1) à rez-de-chaussée d'une nef centrale à trois travées avec bas côtés. Cette nef centrale est fermée par des voûtes d'arête avec arcs-doubleaux; les nefs latérales sont couvertes par des berceaux perpendiculaires aux murs latéraux, reposant sur les arcs-doubleaux A. On entrait dans ce narthex par une porte B, donnant sur une cour précédée d'une enceinte fortifiée. La façade elle-même du porche était défendue. Deux tours s'élèvent sur les deux premières travées C. Du narthex, on pénètre dans l'église par la porte D et les deux arcades E. De gros piliers cylindriques isolés et engagés reçoivent les sommiers des voûtes. Au premier étage, ce vaste narthex forme une église avec nef élevée, voûtée en berceau et collatéraux voûtés en demi-berceaux (fig. 2).

Des meurtrières s'ouvrent à la partie inférieure de cette salle éclairée, par des fenêtres percées dans les murs de la haute nef et dans le pignon antérieur. La coupe transversale que nous donnons ici est prise en regardant vers l'entrée. En A sont les souches des deux tours 208. Toute la construction est élevée en moellon smillé ou enduit. Du côté de l'église, une arcade est percée dans le mur pignon, au niveau du sol du premier étage, et permet de voir ce qui se passe dans la nef. La même disposition se retrouve à Vézelay. Dans les églises abbatiales de l'ordre de Cluny, ces narthex supérieurs, ces chapelles placées au-dessus du grand porche fermé, étaient habituellement placés sous le vocable de l'archange saint Michel. Mais quelle était la destination de cette salle ou chapelle placée au-dessus des narthex? Dans l'ancien pontifical de Châlon-sur-Saône, on lisait: «In quibusdam ecclesiis sacerdos in aliquo altari foribus proximiori celebrat missam, jussu episcopi, poenitentibus ante fores ecclesiæ constitutis.» Cette chapelle supérieure était-elle destinée aux pénitents? À Vézelay, le premier étage du porche ne règne qu'au fond et sur les collatéraux; il était possible alors aux pénitents ou aux pèlerins placés sur l'aire du rez-de-chaussée d'entendre, sinon de voir l'office divin qui se disait sur la tribune; à Tournus, il eût fallu que les pénitents montassent dans le narthex haut pour ouïr la messe. À Cluny, le porche ou l'ant-église, qui n'avait pas moins de 35 mètres de longueur sur 27 mètres de largeur, mais dont la construction ne remontait pas au delà du commencement du XIIIe siècle, ne possédait pas de premier étage ni de tribune, mais un autel et une chaire à prêcher se trouvaient placés près de la porte d'entrée de la basilique; de cette chaire, comme de la tribune du narthex de Vézelay, ne préparait-on point les nombreux pèlerins qui remplissaient le porche, ou même les pénitents, à se pénétrer de la sainteté du lieu, avant de leur permettre d'entrer dans l'église? L'affluence était telle au XIIe siècle dans les églises de l'ordre de Cluny, à certaines occasions, que l'on comprend assez comment les religieux n'ouvraient pas tout d'abord les portes du temple à la foule qui s'y rendait, afin d'éviter le désordre qui n'eut pas manqué de s'élever au milieu de pareilles cohues. Ces grands narthex nous paraissent être un lieu de préparation; peut-être aussi servaient-ils à abriter les pèlerins qui, venus de loin, arrivaient avant l'ouverture des portes, et n'avaient ni les moyens ni la possibilité de se procurer un asile dans la ville. Ne voit-on pas, la nuit qui précède certaines grandes fêtes à Rome, les gens venus de la campagne passer la nuit sous les portiques de Saint-Pierre?

Le porche de l'église abbatiale de Tournus date du XIe siècle; c'est le plus ancien parmi ceux appartenant à l'ordre de Cluny.

La nef de l'église clunisienne de Vézelay actuelle, bâtie vraisemblablement par l'abbé Artaud et consacrée en 1104, ne possédait primitivement qu'un porche bas, peu profond, dont on voit encore des traces du côté du nord. Cette nef fut restaurée et reconstruite même en grande partie par l'abbé Renaud de Semur, vers 1120 209. Le porche dut être construit peu après la mort de cet abbé, soit par l'abbé Albéric, soit par l'abbé Ponce, de 1130 à 1140 210, car, à dater de cette époque, le monastère de Vézelay eut, jusqu'en 1160 environ, des luttes si cruelles à soutenir, soit contre les comtes de Nevers, soit contre ses propres vassaux, qu'il n'est pas possible d'admettre que, pendant ces temps calamiteux, les religieux aient eu le loisir d'entreprendre une aussi vaste construction. D'ailleurs les caractères archéologiques de l'architecture de ce porche lui assignent la date de 1130 à 1140.

La construction du porche de Vézelay est certainement une des oeuvres les plus remarquables du moyen âge. Ce porche est fermé, et présente, comme celui de Tournus, une ant-église de 25 mètres de largeur sur 21 mètres de longueur dans oeuvre.

Nous en donnons le plan (fig. 3) en A au niveau du rez-de-chaussée, en B au niveau des tribunes, car l'espace CD monte de fond; seuls, les collatéraux E E E forment galeries et l'espace F, large tribune au-dessus de l'ancienne porte de la nef. On ne pouvait monter aux galeries et à la tribune que par deux escaliers G, partie de bois, partie pratiqués dans l'épaisseur du mur de face. Deux tours s'élèvent sur les deux premières travées des collatéraux H. À partir du niveau des galeries, vers 1240, on refit la grande claire-voie K (voy. PIGNON, fig. 9), pour mieux éclairer probablement cette grande salle. Au niveau de la tribune, trois baies L s'ouvrent sur la nef de l'église (voy. ARCHITECTURE RELIGIEUSE, fig. 21). Un autel était autrefois placé en O sur cette tribune. Les instructions aux pèlerins ou pénitents rassemblés à rez-de-chaussée pouvaient se faire du haut de la balustrade qui clôt la tribune en M 211. Avant la construction du porche, les trois baies ouvertes sur la tribune étaient des fenêtres sans vitraux comme toutes les autres fenêtres de l'église; celle du milieu se terminait en cul de four, et peut-être recevait-elle une statue. La porte principale C de ce porche est surmontée d'un grand bas-relief représentant: le Christ entouré des vingt-quatre vieillards et des élus dans le tympan, la Madeleine parfumant les pieds de Jésus, et la résurrection de Lazare dans le linteau. Les chapiteaux intérieurs sont très-richement sculptés et d'une finesse d'exécution remarquable.

Autrefois les grandes voûtes ainsi que celles des tribunes étaient entièrement peintes. Nous présentons (fig. 4) une vue perspective de l'intérieur de ce porche, prise de la galerie qui traverse la façade. On observera que la voûte sur la tribune possède des arcs ogives. C'est peut-être le premier exemple qu'il y ait en France de ce genre de structure, les autres voûtes du narthex étant d'arêtes très-surhaussées (voy. OGIVE, fig. 3, 4 et 5). L'ensemble de cet intérieur est d'une proportion admirable et les travées étudiées par un maître consommé (voy. TRAVÉE). Il ne paraît pas qu'on ait jamais enseveli personne sous ce porche, et les fouilles que nous avons été à même d'y pratiquer n'ont laissé voir nulle trace de sépulture.

Le vestibule, narthex ou porche fermé de l'église abbatiale mère de Cluny était plus vaste encore que celui de Vézelay, mais ne possédait ni tribune ni galeries voûtées supérieures. C'était une grande salle avec bas côtés à laquelle on arrivait par deux degrés de 13 mètres de largeur. Deux tours s'élevaient en avant des cinq travées que contenait le narthex, et laissaient entre elles un porche ouvert. Le porche fermé de Cluny avait 35 mètres de longueur sur 27 mètres de largeur dans oeuvre; des piliers cannelés, suivant la méthode de la haute Bourgogne, du Lyonnais et de la haute Marne, portaient les voûtes des collatéraux. Au-dessus s'élevait un triforium également à pilastres, puis les hautes voûtes en arcs ogives, avec fenêtres plein cintre dans les tympans. Les clefs de la haute voûte étaient à 33 mètres au-dessus du pavé. Ce fut le vingtième abbé de Cluny, Roland Ier, qui éleva en 1220 212 ce magnifique narthex dont notre vue perspective (fig. 5) ne peut donner qu'une faible idée.

Tous les arcs de cette construction sont en tiers-point, seules les fenêtres sont fermées par des plein cintres. Au fond, on voyait apparaître l'ancienne façade de l'église, avec sa porte principale et sa petite galerie aveugle supérieure, au milieu de laquelle étaient percées les baies qui éclairaient la chapelle de Saint-Michel, prise aux dépens de l'épaisseur du mur et portée sur un cul-de-lampe du côté de la nef. Quatre figures d'apôtres en bas-relief décoraient le tympan sous le formeret de la grande voûte du porche.

Pourquoi ce vaste porche ne fut-il élevé qu'en 1220? Doit-on voir ici l'exécution d'un nouveau programme, ou bien un ajournement d'un programme primitif? Près d'un siècle auparavant, l'église abbatiale de Vézelay élève un narthex fermé dans des dimensions à peu près semblables à la place d'un porche bas et étroit. Ces grands porches fermés n'étaient donc pas prévus dans les dispositions premières des églises clunisiennes, et cependant, à Tournus, le narthex est de construction primitive ou peu s'en faut. Ce n'est que pendant la seconde moitié du XIIe siècle que les clunisiens de la Charité-sur-Loire élèvent de même un porche fermé sur des dimensions aussi vastes au moins que celui de l'église mère de Cluny. Il y a donc lieu de croire que ce programme ne fut adopté chez ces religieux que pendant le XIIe siècle, et qu'il était destiné à pourvoir à l'affluence extraordinaire des fidèles dans les églises de cet ordre; ce qui n'a pas lieu de surprendre, lorsque l'on songe qu'à cette époque, les églises clunisiennes étaient les lieux les plus vénérés de toute la chrétienté, et, comme le dit le roi Louis VII, dans une charte donnée au monastère de Cluny, les membres les plus nobles de son royaume. L'étendue, la richesse des porches fermés des grandes églises clunisiennes ne furent dépassées ni même atteintes dans les autres églises cathédrales ou monastiques.

Les cisterciens établirent aussi des porches fermés devant leurs églises, mais ceux-ci sont peu étendus, bas, et affectent autant la simplicité que ceux de l'ordre de Cluny manifestent les goûts luxueux de leurs fondateurs. D'ailleurs les porches des églises cisterciennes ne sont pas absolument clos comme ceux des églises clunisiennes; ils présentent généralement des ouvertures à l'air libre comme des arcades d'une galerie de cloître, et ressemblent plutôt à un portique profond qu'à une salle. Il paraîtrait ainsi que saint Bernard voulait revenir aux dispositions des églises primitives et retrouver le narthex des basiliques de l'antiquité chrétienne. Ces porches cisterciens sont écrasés, couverts en appentis et ne sont jamais flanqués de tours comme les porches des églises bénédictines (voy. ARCHITECTURE RELIGIEUSE). Percés d'une seule porte en face de celle de la nef, ils sont ajourés sur la face antérieure par des arcades non vitrées et non fermées, s'ouvrant au-dessus d'un bahut assez élevé. Tel est encore le porche parfaitement conservé de l'église cistercienne de Pontigny (Yonne), dont nous donnons le plan fig. 6.

Ce porche, bâti pendant la seconde moitié du XIIe siècle 213, se compose de trois travées en largeur et de deux en profondeur; il n'occupe que la largeur de la grande nef. Des deux côtés, en A, sont deux salles fermées qui étaient destinées aux besoins de l'abbaye. Des voûtes d'arête sans nervures couvrent ce porche et viennent reposer sur deux colonnes. Une porte extérieure B correspond à la porte principale C de la nef, et des deux côtés, en D, s'ouvrent, sur un large et haut bahut, deux arcades divisées par des colonnettes accouplées. Tout cet ensemble, y compris les deux salles, est couvert par un comble en appentis avec demi-croupes aux deux extrémités. Au-dessus du comble du porche est percée une énorme fenêtre dans le grand pignon; elle éclaire la nef. À l'extérieur, la construction de ce porche est d'un aspect froid et triste. À l'intérieur, les chapiteaux des colonnes sont ornés de sculptures d'une simplicité toute puritaine, et le tympan de la porte de l'église n'est décoré que d'une croix en relief.

La figure 7 présente la coupe longitudinale du porche de l'église de Pontigny, et fait assez voir combien les moines de l'ordre de Cîteaux s'étaient, en plein XIIe siècle, éloignés des programmes splendides adoptés par les clunisiens. Dans le département de l'Aube, l'église du village de Moussey possède un porche complet établi sur les données cisterciennes. Il forme un appentis bas, non voûté, au milieu duquel s'ouvre la porte; deux arcades à droite et à gauche, posées sur un bahut, éclairent cet appentis. Ces arcades sont plein cintre, jumelles, reposant sur une pilette ou une colonne. Une cinquième baie pareille s'ouvre du côté sud. La construction est d'une extrême simplicité, et paraît remonter à l'origine de l'ordre de Cîteaux 214. Cependant la sécheresse et la froideur de ces exemples ne furent pas longtemps imitées, et dès le commencement du XIIIe siècle, les porches des églises élevées sous l'inspiration des moines de Cîteaux étaient déjà empreints d'un goût plus élégant. Il existe encore à Moutier (Yonne) un de ces porches fermés en manière de portique, élevé sur les données de porches cisterciens. Comme à Pontigny, le porche de l'église de Moutier, qui date du commencement du XIIIe siècle, s'ouvre extérieurement par une porte centrale accompagnée de quatre arcades, deux à droite, deux à gauche, posées sur un bahut. Ces arcades ont été fermées au XVe siècle par des claires-voies de pierre. Un joli porche offrant une disposition analogue précède encore aujourd'hui la façade de l'église de Toury (Loiret).

Il date de 1230 environ. Ce porche (fig. 8) n'est qu'un portique étroit, rappelant assez une galerie de cloître; il est percé de trois portes entre lesquelles s'ouvre une arcature posée sur un bahut. En A, nous donnons le plan de détail de cette arcature. Trois archivoltes en tiers-point reposent sur les piles B et les colonnettes jumelles C. De petits arcs plein cintre avec tympans forment la claire-voie et sont portés sur les colonnettes D simples.

La figure 9 donne la moitié le l'élévation de ce porche, ainsi que sa coupe E faite sur la claire-voie 215. Beaucoup de ces porches, en forme de portiques et en appentis, ont été établis pendant les XIIIe, XIVe et XVe siècles, devant des façades de petites églises paroissiales plus anciennes; mais habituellement ils sont d'une extrême simplicité, ne se composent que de pilettes de pierre ou de poteaux posés sur un bahut et portant un comble à une seule pente. Ces églises étaient toujours entourées de cimetières, et les porches servaient alors à donner l'absoute et à mettre à l'abri les personnes qui assistaient aux enterrements. Ils ne formaient d'ailleurs, comme le montre le dernier exemple, qu'une clôture facile à franchir, d'autant que les portes ne paraissent pas, dans beaucoup de cas, avoir été jamais munies de vantaux. Un des plus vastes parmi ces sortes de porches clos, est certainement celui qui précède la façade de la petite église conventuelle de Saint-Père-sous-Vézelay, et qui fut élevé vers la fin du XIIIe siècle, remanié pendant les XIVe et XVe. Ce porche s'ouvre sur la face antérieure par trois baies qui ne paraissent pas disposées pour recevoir des grilles ou des vantaux de bois; latéralement il était ajouré par des baies vitrées posées sur un bahut, de manière à garantir les fidèles contre le vent et la pluie.

Cette construction est couverte par six voûtes en arcs ogives reposant sur des piles engagées et sur deux piliers isolés. Un tombeau, qui date de l'époque la plus ancienne de sa construction, est placé à la gauche de la porte centrale de l'église. D'autres sépultures étaient disposées sous son dallage. Les figures en bas-relief des donateurs sont sculptées en dedans de l'entrée: c'est un noble personnage de la localité et sa femme. Malheureusement cette construction, qui, dans l'origine, devait être très-riche et très-gracieuse, a été fort mutilée et ne présente que des débris remaniés. Le porche de Saint-Père est comme une transition entre les porches absolument clos des clunisiens et les porches ouverts. Il participe plutôt de l'église que de l'extérieur: c'est évidemment encore un lieu sacré. Il nous amène à parler des porches franchement ouverts, bien qu'ayant encore une importance considérable par rapport aux édifices religieux qu'ils précèdent. Mais, avant de nous occuper des porches ouverts, nous ne devons pas omettre ici un monument d'un grand intérêt, quoique d'une date assez récente. Il s'agit du porche de l'église de Ry 216. Cette église est totalement dépourvue de style, c'est un vaisseau barlong du XVe siècle, sans caractère. Latéralement à la nef, est bâti du côté sud un porche en bois, clos, richement sculpté et d'une conservation parfaite.

Nous en donnons le plan (fig. 10) et une vue perspective (fig. 11) 217

.

Ce joli porche date de la première moitié du XVIe siècle; il est entièrement construit en bois de chêne et repose sur un bahut de pierre. La charpente du comble est lambrissée en tiers-point avec entraits apparents seulement au droit de la croupe, ainsi que le fait voir le plan. La baie d'entrée ne paraît pas avoir jamais été munie de vantaux, ni les claires-voies de grilles. C'est donc un abri donnant sur le cimetière, et qui semble avoir été élevé par un seigneur du lieu, peut-être pour servir de sépulture. La sculpture en est très-délicate et des meilleures de l'époque de la renaissance normande. Ce petit monument, qui compte aujourd'hui plus de trois cents ans d'existence, et qui, bien entretenu, pourrait encore durer plus d'un siècle, fait assez voir combien les ouvrages de charpenterie établis avec soin et dans de bonnes conditions se conservent à l'air libre.

En examinant les vignettes des manuscrits du XVe siècle, il est facile de constater qu'il existait beaucoup de ces porches en charpente, principalement dans les villes du Nord. Ces porches en bois étaient toujours peints et rehaussés de dorures. Habituellement ils ne se composent que de deux bahuts latéraux portant des poteaux et une couverture lambrissée. Quelquefois aussi paraissent-ils suspendus au-dessus des portes comme des dais et soutenus seulement par des consoles.

Note 207: (retour) Paris, 1851.
Note 208: (retour) Voyez, pour de plus amples détails, les gravures faites d'après les relevés de M. Questel, dans les Archives des monuments historiques, publiées sous les auspices de S. Exc. le Ministre d'État.
Note 209: (retour) Cet abbé était neveu de saint Hugues, abbé de Cluny; il fut fait archevêque de Lyon vers 1126, et fut inhumé à Cluny. Sa tombe, placée près de la colonne la plus proche du maître autel, portait cctte inscription: «Hic: requiescit: Renald: II: quondam: abbas: et: reparator Vezeliacencis: et: postea: archiepisc...»
Note 210: (retour) Voyez la notice de M. Chérest, Congrès scientif. d'Auxerre, 1859, t., II, p. 193. D'après cette notice, le porche de Vézelay aurait été consacré en 1132.
Note 211: (retour) Voyez les coupes transversale et longitudinale de ce porche dans les Archives des monuments historiques, publiées sous les auspices de S. Exc. le Ministre d'État. Voyez aussi la coupe transversale réduite du porche de Vézelay, dans l'article ARCHITECTURE RELIGIEUSE, fig. 22.
Note 212: (retour) Voyez Mabillou, Annales ordin. S. Benedicti, t. V, p. 252.
Note 213: (retour) L'église de Pontigny fut en grande partie élevée aux dépens de Thibault le Grand, comte de Champagne, de 1150 à 1190.
Note 214: (retour) Le plan de cette église est donné dans l'ouvrage de M. Arnaud, voyage archéologique dans le département de l'Aube, 1837.
Note 215: (retour) Ces dessins nous ont été fournis par M. Sauvageot, l'un de nos plus habiles graveurs d'architecture. Ils ont été relevés avec une exactitude minutieuse.
Note 216: (retour) Ry est un village situé à 20 kilomètres de Rouen.
Note 217: (retour) C'est encore à l'obligeance de M. Sauvageot que nous devons les dessins de ce porche.


PORCHES OUVERTS.--On sait les querelles qui, pendant le XIIe siècle, s'élevèrent entre les abbés de Vézelay, et les évêques d'Autun. Ces derniers construisaient alors la belle cathédrale que nous admirons encore aujourd'hui, et qui, par son caractère, son style particuliers, résume cette architecture religieuse de la haute Bourgogne, de la Haute-Marne et d'une partie du Lyonnais.

La cathédrale d'Autun était à peine achevée, vers 1140, que l'on élevait un porche vaste devant sa façade principale. Ce porche couvre un emmarchement comprenant la largeur de la nef et des collatéraux. Il est surmonté de deux tours et d'une salle au premier étage, couverte jadis par une charpente apparente. Clos latéralement, le porche de Saint-Lazare d'Autun s'ouvre devant l'entrée centrale de l'église par un énorme berceau qui enveloppe l'archivolte de la porte. Cette disposition est d'un effet grandiose, d'autant que les linteaux et le tympan de cette porte sont couverts de figures sculptées d'un style étrange, énergique et d'une exécution remarquable.

La figure 12 donne le plan de ce porche à rez-de-chaussée, en A, tel qu'il avait été conçu et très-probablement exécuté primitivement, et en B, tel qu'il fut reconstruit vers 1160. Actuellement le mur de clôture latéral faisant pendant au mur C est percé d'arcs en tiers-point avec arcature portée sur des colonnettes, surmontés de fenêtres non vitrées. Deux tours s'élèvent sur les deux premières travées des collatéraux. Dans l'origine (voy. le plan A), le porche ne devait pas s'étendre devant les portes latérales D, et le berceau qui le couvrait portait sur deux murs épais, ouverts latéralement par deux baies E. Aujourd'hui les travées des collatéraux sont couvertes par des voûtes d'arête.

Deux escaliers à vis, s'ouvrant sur la nef des deux côtés de la porte centrale, montent à la salle supérieure. La coupe transversale faite sur ab, cd (fig. 13), indique, en A, la disposition primitive du porche, et en B, la disposition actuelle. On remarquera la grande niche voûtée en cul-de-four réservée dans le pignon, au premier étage, et flanquée de deux portes.

Cette salle du premier étage mérite un examen attentif, car elle indique un programme particulier aux églises de cette partie de la France. Nous avons vu qu'à Vézelay il existe de même, au-dessus de la grande porte, une niche assez profonde pour recevoir une statue colossale assise, ou même un petit autel. À Cluny, il y avait au-dessus de la porte centrale une niche s'ouvrant à l'intérieur, avec cul-de-lampe en façon de balcon saillant, dans laquelle était un petit autel placé sous le vocable de saint Michel archange. À l'intérieur de la façade de l'église Saint-Andoche de Saulieu, on voit encore une disposition analogue, et cette église est contemporaine de la cathédrale d'Autun. Le soubassement de la grande niche de la façade de la cathédrale d'Autun est engagé aujourd'hui dans l'épaisseur de la voûte du porche, et les deux portes qui l'accompagnent à droite et à gauche, donnant la sortie des deux petits escaliers à vis, ont leurs seuils en contre-bas du sol de la salle. Évidemment ces deux portes ne pouvaient s'ouvrir dans le vide, elles devaient donner sur un sol; donc, lors de la construction de la nef, on avait déjà projeté un porche plus ou moins profond avec premier étage. Cette hypothèse est d'autant plus admissible, qu'il existe encore au-dessus de la niche les rampants d'un comble bas qui devait couvrir la salle de ce porche projeté, non achevé, ou bientôt remplacé par le porche actuel. Le porche primitif, d'après la disposition du rampant du comble ancien, ne devait couvrir que la grande porte et ne s'étendait pas devant les collatéraux. Lorsqu'on se décida à construire le grand porche actuel, qui comprend la largeur totale de la façade, il fallut élever les rampants du comble et boucher la partie inférieure des trois fenêtres qui éclairent la voûte de la nef et qui sont percées dans le grand pignon. Notre coupe transversale (fig. 13) indique donc, en A, la disposition présumée du porche primitif, et en B, celle du porche actuel. Après cette modification, la grande niche, en partie engagée dans la voûte, perdant une partie de sa hauteur, ne paraît plus avoir été utilisée, car la partie supérieure du porche ne fut jamais achevée; mais cette niche, décorée de jolis pilastres cannelés, percée d'une seule ouverture très-petite donnant sur la nef, accompagnée de ces deux portes communiquant aux deux escaliers à vis, avait certainement une destination. Devait-elle contenir un autel, comme la niche intérieure de la façade de Cluny, ou comme celle extérieure du porche de Vézelay? Cela paraît probable. Mais à quelles cérémonies étaient réservés ces autels placés au premier étage au-dessus des porches, ou sur une tribune intérieure? Voilà ce qu'aucun texte ne nous apprend jusqu'à ce jour.

Dans notre coupe, la ligne ponctuée C indique le niveau du sol extérieur en avant du porche; on se rendra compte de l'effet grandiose que produit ce vaste emmarchement couvert, terminé par ce portail si largement composé. Le porche actuel est évidemment une oeuvre d'imitation, inspirée peut-être du porche de Vézelay, mais qui altère le caractère primitif du monument, rappelant ces charmantes constructions romano-grecques du Ve siècle, découvertes par M. le comte Melchior de Vogué entre Antioche et Alep. Il n'est pas douteux que les maîtres du XIIe siècle, de certaines provinces de France, avaient vu ces monuments et qu'ils les imitaient non-seulement dans les profils et l'ornementation, mais aussi dans certaines dispositions générales. Quelques-unes de ces églises romano-grecques possèdent d'ailleurs des porches avec tribune au-dessus et clochers latéraux.

Nous croyons devoir donner (fig. 14) le plan de la salle supérieure du porche d'Autun, avec ses deux escaliers et portes. L'arcature aveugle portée sur des pilastres à l'intérieur, derrière la niche, et qui règne avec le triforium de la nef, est percée de deux baies A au droit des escaliers. Pourquoi ces baies? Quant aux portes B, elles s'ouvrent sous les combles des bas côtés de la nef. Ces singularités nous prouvent que nous ignorons sous quelles données religieuses ont été érigés les porches de nos églises du XIIe siècle, qui subissaient plus ou moins l'influence de l'ordre de Cluny; il y a là un sujet d'études que nous recommandons à nos archéologues et qui nous paraît digne de fixer leur attention. Évidemment, à cette époque, les porches ont eu une importance considérable, et l'on n'aurait pas construit devant un grand nombre d'églises conventuelles, cathédrales ou paroissiales, des appendices aussi importants, s'ils n'avaient pas dû répondre à un besoin sérieux. Observons d'ailleurs que ces porches s'élèvent, sauf de rares exceptions, dans un espace de temps assez limité, de 1130 à 1200.

En F, est tracé le plan de la salle supérieure du porche primitif d'Autun, et en G, le plan de cette salle après la reconstruction du porche actuel; construction qui, comme nous l'avons dit, ne fut point terminée. La cathédrale d'Autun n'est pas la seule qui ait été précédée de porches importants avec premier étage. Ce n'est qu'au XIIIe siècle, lors de la reconstruction de ces grands monuments de nos cités, que l'on a renoncé complétement à ces dépendances. La cathédrale du Puy en Velay possède un porche ouvert, du XIIe siècle, avec grand emmarchement, ou plutôt l'église elle-même n'était qu'un immense porche, dont le degré arrivait au pied de l'autel. La partie antérieure de la cathédrale de Chartres laisse voir encore le plan et la disposition d'un porche profond, avec salle supérieure, qui ne fut supprimé qu'au XIIIe siècle.

L'église abbatiale de Saint-Denis possédait un vaste narthex très-ouvert du côté de la nef, et fermé du côté extérieur, mais surmonté d'une salle voûtée. La petite église de Saint-Leu d'Esserent, conserve encore son porche fermé du XIIe siècle, avec salle supérieure; or, ces constructions datent de 1140.

Mais voici (fig. 15) un porche plus ancien que le porche actuel de la cathédrale d'Autun, et qui présente une disposition plus franche encore et non moins monumentale. C'est le porche de l'église de Châtel-Montagne (Allier). La construction de ce porche est très-peu postérieure à celle de l'église; elle date de 1130 environ 218, et conserve une apparence entièrement romane. Planté sur le sommet d'un escarpement, le porche de l'église de Châtel-Montagne est précédé d'un degré de 5 mètres de largeur, avec parvis; il présente, au droit de la nef, une grande arcade, et au droit des collatéraux, deux arcades étroites ouvertes de côté pour donner plus de force, en a, à la maçonnerie qui reçoit la charge du pignon. Latéralement sont ouvertes deux autres arcades larges laissant entiers les contre-forts qui butent les constructions de la nef. Un escalier b, pris aux dépens du collatéral méridional de la nef, permet de monter à une salle élevée sur le porche, et qui s'ouvre sur l'intérieur en manière de tribune.

La figure 16 présente l'élévation extérieure de ce porche, qui, avec ses constructions supérieures, forme la façade de l'édifice. Le caractère de cette architecture est tout empreint d'un bon style dont nous retrouvons les éléments dans l'architecture romano-grecque des environs d'Antioche. Mais ici les matériaux (granit) sont petits, tandis que ceux qui ont servi à élever les monuments byzantins de Syrie sont grands et largement appareillés. Les fenêtres ouvertes dans les arcs supérieurs de cette façade éclairent la tribune; l'arc milieu forme le tracé du berceau intérieur.

Nous donnons (fig. 17) la coupe longitudinale de ce porche, avec l'amorce de la nef, et (fig. 18) sa face latérale 219. Si la construction est simple et bien ordonnée, on remarquera que les proportions sont des plus heureusement trouvées. On reconnaît, dans ce joli édifice, la trace d'un art très-avancé, délicat, étudié; et cependant l'église de Châtel-Montagne est située au milieu d'une des contrées les plus sauvages de la France. Aujourd'hui, dans ces montagnes, on a peine à réunir quelques ouvriers capables d'exécuter la bâtisse la plus vulgaire. Mais les provinces du Centre, au XIIe siècle, étaient un foyer d'art, actif, développé, possédaient une école d'architectes qui nous ont laissé de charmantes compositions, des constructions bien entendues, solides et d'un excellent style.

Ces architectes étaient certainement alors des religieux, et leur école suivit la décadence à laquelle ne purent se soustraire les anciens ordres monastiques vers la fin du XIIe siècle.

La salle du premier étage du porche de Châtel-Montagne forme une tribune de laquelle on peut voir ce qui se passe dans la nef, tandis que dans les exemples précédemment donnés, ces salles supérieures sont presque entièrement closes du côté de la nef. À quel usage était destinée cette tribune? Nous pensons qu'elle donnait, comme les salles fermées, une chapelle spéciale, et qu'un autel était disposé contre la balustrade, car nous voyons encore, sur la tribune de l'église de Montréale, en Bourgogne, un autel de la fin du XIIe siècle ainsi disposé (voy. TRIBUNE). Mais (au XIIe siècle) les orgues n'étaient pas des instruments d'une assez grande dimension pour occuper ces espaces; les chantres se tenaient dans le choeur ou sur les jubés, mais non sur des tribunes élevées près de l'entrée. Quelques auteurs ont prétendu que ces tribunes étaient réservées aux femmes; mais les femmes, en nombre relativement considérable à l'église, n'auraient pas trouvé là une place suffisante; d'ailleurs tous les textes sont d'accord pour dire qu'elles occupaient un des côtés de la nef depuis les premiers temps du moyen âge. La tradition, dans quelques localités, affecte ces tribunes aux pénitents, et nous croyons que la tradition s'approche de la vérité. Nous admettons qu'un autel était habituellement placé dans ces salles ouvertes sur la nef ou sur le dehors, ou complétement fermées; que ces autels étaient orientés comme l'est celui de la tribune de Montréale, et qu'il était réservé à des cérémonies spéciales auxquelles assistaient des pénitents ou des fidèles recevant une instruction préparatoire. Mais nous devons avouer que ce sont là des hypothèses, et que nous n'avons point de preuves positives à fournir pour les appuyer.

Non loin d'Autun est une église conventuelle du XIIe siècle, Paray-le-Monial, possédant un porche qui parait être antérieur à la construction de l'église actuelle.

Le plan de ce porche (fig. 19) est régulier; il présente sur sa face, à rez-de-chaussée, trois arcades ouvertes, et sur ses côtés, deux arcades. Deux piliers composés chacun de quatre colonnes portent les six voûtes d'arête qui ferment ce rez-de-chaussée. Deux tours, comme à Autun, surmontent les deux premières travées B, et portent assez imprudemment sur ces deux faisceaux de colonnes 220. On voit que ce porche n'est pas placé dans l'axe de la nef A, rebâtie sur un autre plan. Il est surmonté, au premier étage, d'une salle voûtée en berceaux reposant sur des archivoltes, ainsi que le fait voir la coupe (fig. 20).

Cette salle ne fait pas tribune sur la nef, elle est fermée et ne s'ouvre de ce côté que par une fenêtre G dont l'appui est posé à 2 mètres au-dessus du sol.

Les porches établis sur ce plan ont donc été adoptés assez fréquemment dans cette partie de la France, c'est-à-dire dans le voisinage de l'abbaye de Cluny; nous voyons que ces plans persistent pendant le XIIIe siècle. Le beau porche de l'église de Notre-Dame de Dijon fut élevé vers 1230, sur ces données, c'est-à-dire avec trois arcades ouvertes sur la façade, deux piles isolées intérieures portant six voûtes d'arête, une salle supérieure et deux tours qui n'ont point été achevées.

La disposition de ce porche est remarquable. Bâti en bons matériaux, bien qu'avec économie, il est peut-être l'expression la plus franche de l'architecture bourguignonne de la première moitié du XIIIe siècle, si originale, si audacieusement combinée. Il n'a manqué aux architectes de cette école que de pouvoir mettre en oeuvre des matériaux d'une rigidité absolue, comme le granit ou même la fonte de fer. Telle était la hardiesse de ces artistes, qu'ils osaient, avec des pierres calcaires, d'une grande résistance il est vrai, mais cependant susceptibles d'écrasement, parce qu'elles étaient basses entre lits, élever des maçonneries d'un poids considérable sur des piles très-grêles; suppléant à l'insuffisance de ces matériaux par la combinaison savante des pressions et des résistances.

L'architecte du porche de Notre-Dame de Dijon s'était posé un problème nouveau. Ayant été à même, par les exemples précédents, d'observer le mauvais effet que produisaient les deux contre-forts séparant les trois arcades des façades de porches, il supprima ces contre-forts et les remplaça par un système de chevalement en pierre. L'idée était ingénieuse, hardie et sans précédents. De cette manière aucun obstacle ne séparait les trois arcades, la poussée des arcs-doubleaux intermédiaires était butée par le chevalement, et le poids des angles internes des deux tours reposait sur deux piles jumelles comme sur un chevalet. Quelques défauts dans l'exécution firent rondir ces piles vers les deux arcs latéraux; et soit que ce mouvement se fût produit pendant la construction, soit que les ressources aient fait défaut, on n'acheva point les deux tours. Elles ne s'élèvent aujourd'hui que jusqu'à la hauteur de la nef. Quoi qu'il en soit, et laissant de côté les imperfections de détail qui produisirent ces mouvements, en théorie l'idée était neuve et féconde en résultats. Aussi ce porche est-il un des plus beaux qu'on ait élevés à cette époque et bien supérieur comme conception aux porches romans que nous avons donnés dans les exemples précédents. Telle se montre souvent cette architecture du XIIIe siècle à son origine, pleine de ressources, abondante en idées, mais parfois incomplète dans l'exécution. Aussi n'est-ce pas par une imitation irréfléchie que l'on doit en faire l'application de nos jours, mais par une recherche attentive des idées qui ont produit son développement si rapide et de ses théories fertiles en déduction. Du porche de Notre-Dame de Dijon il serait aisé, avec quelques modifications de détail et en employant des matériaux plus rigides que ceux mis en oeuvre, de faire un édifice aussi gracieux d'aspect, aussi léger, mais irréprochable sous le rapport de la structure. Pour cela, il suffirait de baisser la naissance des archivoltes latérales et d'élever les piliers en hauts blocs de pierre très-résistante. Atteindre un résultat avec des moyens imparfaits, mais laisser deviner l'idée nouvelle, l'invention, c'est déjà beaucoup pour ceux qui observent et veulent mettre leurs observations à profit: car il est plus facile de perfectionner des moyens d'exécution en architecture que de trouver un principe neuf et fournissant des conséquences étendues.

La salle supérieure du porche de Notre-Dame de Dijon forme tribune sur la nef.

Le plan de ce porche, dont la figure 21 donne la moitié, montre comment l'architecte a su éviter, en A, les contre-forts extérieurs. Les deux piles D forment le chevalement qui reçoit le mur de face de la tour plantée sur la travée B au droit du contre-fort C, et qui contrebute les voûtes du porche. En G, sont ouvertes de grandes fenêtres dont l'appui est très-relevé au-dessus du sol. Dans la hauteur du premier étage, une galerie (voy. GALERIE, fig. 6) se dresse au devant du mur de la tour, de E en F, et vient aboutir à des tourelles H disposées en encorbellement sur les contre-forts C et contenant les escaliers qui permettent de monter aux étages supérieurs de ces tours. La disposition des voûtes de ce porche est très-savamment combinée. Nous en avons indiqué le système à l'article CONSTRUCTION (voy. fig. 52 et 53). Sur les extrados des archivoltes L et J portées par les piles isolées formant chevalement, sont bandés des berceaux M et N qui viennent retomber sur un linteau-sommier K. On remarquera que l'architecte a posé le mur de la tour, non pas à l'aplomb de ces berceaux, mais un peu en retraite, ainsi que l'indique la plantation du contre-fort C, afin de faire des piles A et P de véritables éperons. En effet, ces piles ne sont pas sorties de leur aplomb sur le nu de la façade; les piles A et P se sont légèrement inclinées vers les travées latérales par suite de la poussée des grands arcs L, D, et parce que les naissances des arcs J n'étaient pas placées assez bas. Quant aux piles R, bien que chargées par les angles des tours, elles ont conservé leur aplomb, grâce à la disposition ingénieuse des arcs des voûtes.

L'effet extérieur et intérieur de ce porche est des plus heureux; les profils, la sculpture sont du meilleur style.

Il faut citer aussi parmi les grands porches ouverts, bâtis en Bourgogne pendant le XIIIe siècle, celui de l'église Notre-Dame de Beaune. Ce porche est ouvert sur la face par trois arcades, et latéralement, de chaque côté, par deux autres. Deux colonnes isolées portent, comme à Notre-Dame de Dijon, les six voûtes. Le porche de Notre-Dame de Beaune n'a pas été achevé dans sa partie supérieure et ne devait pas être surmonté de tours. Sur la façade occidentale de l'église Notre-Dame de Semur en Auxois est planté un porche ouvert par trois arcades, mais ne possédant que trois voûtes en arcs ogives, et étant par conséquent dépourvu de colonnes isolées. Ce porche, fermé latéralement, date du commencement du XIVe siècle et n'a été achevé qu'au XVe siècle.

Le porche de la sainte Chapelle du Palais à Paris doit être classé parmi les grands porches ouverts. Comme le bâtiment auquel il est accolé, ce porche est à deux étages, et forme une sorte de vaste loge ouverte sur l'une des cours du Palais 221.

Note 218: (retour) Le style roman s'est conservé dans cette partie de la France beaucoup plus tard que dans les provinces du Nord et de l'Est. Arrivé rapidement, dès la fin du XIe siècle, à une très-grande perfection, il n'est pas mélangé d'influences gothiques vers le milieu du XIIe siècle, comme le roman de Bourgogne, de la Haute-Marne, de la Champagne et du Berry. Pendant la seconde moitié du XIIe siècle, les monuments de l'Auvergne retardent de cinquante ans.
Note 219: (retour) Les dessins de ce porche nous ont été fournis par M. Millet, chargé de la restauration de l'église de Châtel-Montagne.
Note 220: (retour) M. Millet, chargé de la restauration du charmant édifice, a dû remplacer les colonnes qui s'étaient écrasées; il a placé au milieu de leur groupe une colonne de granit, et a pu ainsi conserver à ce narthex toute son élégance. (Voyez les Archives des monuments historiques, publiées sous les auspices de Son Exc. le ministre d'État.)
Note 221: (retour) Voyez CHAPELLE, fig. 1 et 2; PALAIS, fig. 2 et 3.


PORCHES OUVERTS SOUS CLOCHERS.--Il était assez naturel, lorsqu'on prétendait élever un clocher sur la façade principale d'une église, de pratiquer un porche à rez-de-chaussée. Dans les provinces de l'Ouest, du Centre et du Midi, dès le XIe siècle, on avait pour habitude de construire de grosses tours carrées devant l'entrée occidentale des églises; la partie inférieure de ces tours servait de porche 222. À l'article CLOCHER (fig. 41 et 42) nous donnons le grand porche élevé sur la façade occidentale de l'église abbatiale de Saint-Benoît-sur-Loire. Ce porche, qui date du XIe siècle, se compose d'un quinconce de piles épaisses, portant des voûtes d'arête romaines223 . Il occupe une surface considérable et est surmonté d'une grande salle ouverte, comme le rez-de-chaussée, sur trois de ces faces et présentant de même un quinconce de piles. Le clocher devait s'élever sur les quatre piles centrales. Dans le même article (fig. 7), on voit aussi le plan du porche de la cathédrale de Limoges, qui date du XIe siècle, ouvert primitivement sur les faces et supportant un clocher. La partie inférieure du clocher de l'église de Lesterps (Charente) présente un porche dont la disposition rappelle le porche de Saint-Benoît-sur-Loire (voy. CLOCHER, fig. 43 et 44), mais qui date du XIIe siècle.

Ces programmes ne se retrouvent pas dans l'Île-de-France, dans la Normandie, dans la Bourgogne et la Champagne. Les porches sous clochers de l'Île-de-France sont généralement fermés latéralement, comme le porche occidental de l'église abbatiale de Saint-Germain des Prés, et comme celui de l'église de Créteil près Paris 224. Le porche de l'église de Créteil était, il y a peu de temps, parfaitement conservé; son aspect était monumental. Il était ouvert par une arcade sur sa face antérieure et voûté en berceau. Ce n'est qu'un abri devant l'entrée de l'église; long, étroit, fermé latéralement, il tient lieu d'un de ces tambours que l'on érige de notre temps derrière les portes. Sa construction remonte à la seconde moitié du XIe siècle. Nous en donnons le plan (fig. 22) et la coupe longitudinale (fig. 23).

Les arcades uniques de ces porches, ouvertes sur le dehors, étaient fermées par des voiles, si l'on s'en rapporte à d'anciennes peintures et à des bas-reliefs antérieurs au XIIIe siècle; et l'on voit encore les corbelets saillants ou les trous qui servaient à poser la tringle de bois à laquelle étaient suspendues ces sortes de portières d'étoffes.

Sous le clocher de l'église de Saint-Savin, près de Poitiers, il existe un porche de la même époque, entièrement revêtu à l'intérieur de peintures remarquables. Ce porche, plus simple comme architecture que celui de Créteil, présente d'ailleurs une disposition analogue 225. Le clocher occidental de l'église collégiale de Poissy s'élève sur un porche d'une date ancienne (commencement du XIe siècle); il s'ouvre de même sur la voie publique par une seule arcade et est voûté en berceau plein cintre 226.

Si l'on pénètre dans les provinces du centre, à Tulle, à la Châtre, on voit des porches sous clochers avec trois arcades ouvertes, l'une en face de l'entrée, deux latéralement. Ces porches datent de la fin du XIIe siècle et participent des dispositions admises pour les porches sous clochers du Limousin et du Périgord.

Parmi les porches les plus remarquables élevés sous l'influence de ces deux écoles, mais qui ne possèdent pas cependant les piles intérieures que nous voyons dans les porches de Limoges, de Lesterps et de Saint-Benoît-sur-Loire, il faut citer celui de l'église abbatiale de Moissac (Tarn-et-Garonne).

La structure de ce porche est d'un grand intérêt pour l'histoire de l'art. Elle date de deux époques assez rapprochées l'une de l'autre, du commencement et du milieu du XIIe siècle.

La figure 24 en retrace le plan à rez-de-chaussée. Primitivement, ce porche s'ouvrait du côté du midi, en C, par une large arcade en tiers-point. Du côté de l'ouest, en D, et du côté du nord, en E, il s'ouvrait sur des dépendances de l'abbaye, sur les cloîtres, et était fermé par des vantaux.

Une troisième porte F, avec trumeau central, donnait accès dans la nef de l'église. Peu après sa construction, c'est-à-dire vers 1150, on ajouta, au grand porche portant un gros clocher, un second porche ou abri extérieur G, richement décoré de bas-reliefs et de sculptures d'un très-grand style (voy. STATUAIRE). On éleva les piliers H et les contre-forts I. Ces constructions accolées servirent à porter un chemin de ronde crénelé qui défendait l'entrée de l'église.

La figure 25 donne le plan de la salle bâtie au-dessus du porche, et sur les piles de laquelle devait s'élever un clocher qui ne fut pas terminé. La différence des teintes du plan indique la construction première et les adjonctions faites au milieu du XIIe siècle pour recevoir les crénelages à deux étages sur le porche extérieur en K, et à un seul chemin de ronde sur les côtés L et M. C'était une tentative assez hardie, au commencement du XIIe siècle, que de couvrir une salle de 10 mètres de côté par une seule voûte qui ne fût pas une coupole, et l'architecte du porche de Moissac résolut ce problème en constructeur habile. La voûte du rez-de-chaussée est en arcs d'ogives, c'est-à-dire composée de formerets et de deux arcs diagonaux larges, à section rectangulaire, sur lesquels reposent les quatre triangles de la voûte maçonnés en moellons smillés. La voûte de la salle haute est composée de douze arcs tendant à un oeil central réservé pour le passage des cloches.

Notre coupe (fig. 26), faite sur la ligne AB du plan du rez-de-chaussée, explique cette structure. Le détail N indique l'appareil des pierres composant la clef de la voûte du rez-de-chaussée (car les arcs diagonaux sont maçonnés en pierres d'un faible échantillon). Quant aux arcs de la voûte du premier étage, qui peut bien passer déjà pour une voûte dans le mode gothique, les diagonaux sont plein cintre, et les huit autres, partant des piles intermédiaires, sont des portions de cercle. On observera que ces huit arcs intermédiaires sont posés obliquement sur les chapiteaux des piles, tandis que les tailloirs de ces chapiteaux ont leurs faces parallèles aux côtés du carré. Déjà cependant les tailloirs des arcs diagonaux sont posés suivant la direction de ces arcs (voy. le plan, fig. 25). Ces deux salles basse et haute sont d'un effet monumental qui produit une vive impression. La construction, quoique rude, en est bien exécutée et n'a subi aucun mouvement. Les adjonctions faites au milieu du XIIe siècle, si intéressantes qu'elles soient, ont altéré la physionomie grandiose de l'extérieur de ce porche et ont assombri cette belle salle supérieure, dont nous ne connaissons pas la destination, et qui s'ouvrait si largement sur les dehors. La nef de l'église ayant été rebâtie au commencement du XVe siècle sur un plan analogue à celui de la cathédrale d'Alby, il est difficile aujourd'hui de savoir comment cette salle supérieure s'arrangeait avec la nef primitive. Toutefois les trois arcades P, bouchées en brique lors de la reconstruction du XVe siècle, s'ouvraient nécessairement sur la nef ancienne, et mettaient la salle haute en communication directe avec celle-ci sans interposition de vitraux. Mais nous avons déjà vu, par quelques-uns des exemples de porches surmontés de salles, donnés dans cet article, que les nefs n'étaient guère fermées par des vitraux, surtout dans les provinces du Centre et du Midi, avant la fin du XIIe siècle.

Les porches sous clochers sont rares à dater du commencement du XIIIe siècle dans l'architecture française. Cependant nous citerons celui de l'église de Larchant (Seine-et-Marne) 227. La Normandie en présente quelques-uns qui datent des XIVe et XVe siècles; nous mentionnerons comme l'un des plus remarquables celui de la tour de l'église Saint-Pierre, à Caen 228.

Sur les bords du Rhin et dans les contrées environnantes, cette disposition se continue assez tard. Le porche de la cathédrale de Fribourg ouvert sous le clocher occidental est fort beau. Intérieurement il est orné de bonnes figures représentant les arts libéraux, de grandeur naturelle, le Christ, les vierges sages, les vierges folles, le sacrifice d'Abraham, saint Jean-Baptiste, sainte Marie l'Égyptienne, etc. Ce porche n'est ouvert que par une arcade sur la face, les côtés sont clos et décorés par ces statues dont nous venons de citer les principales.

Parlant des porches sous clochers, on ne saurait passer sous silence les porches si bien disposés sous les tours projetées de la façade de l'église de Saint-Ouen, à Rouen.

Ces tours, qui devaient être d'une dimension colossale, ne furent élevées que jusqu'à la hauteur de 20 mètres environ au-dessus du sol. Lorsqu'il fut question d'achever la façade de l'église de Saint-Ouen en 1840, on n'osa continuer l'oeuvre commencée sur des dimensions aussi considérables; on rasa donc les souches des deux clochers, et l'on perdit ainsi une des dispositions des plus originales et des plus ingénieuses parmi toutes celles qu'avait conçues le moyen âge à son déclin, car ces tours dataient du XVe siècle.

Elles s'élevaient sur deux porches posés diagonalement et donnant entrée de biais dans les deux collatéraux. Le plan de ces porches est gravé dans l'ouvrage de Pugin sur les monuments de la Normandie, auquel nous renvoyons nos lecteurs 229. La position oblique des porches de l'église de Saint-Ouen avait permis de les ouvrir sur l'extérieur par deux baies abritées, tendant au centre d'un large parvis formé par la saillie des tours. On évitait ainsi les courants d'air dans l'église, les portes extérieures des porches et celles donnant dans les collatéraux n'étant pas placées en face l'une de l'autre. La foule des fidèles, en sortant par les deux portes latérales et la porte centrale, se trouvait naturellement réunie sur l'aire de ce parvis, sans qu'il pût en résulter de l'encombrement. Il y a lieu de s'étonner que cette disposition si bien trouvée et d'un si heureux effet, n'ait pas été suivie dans la construction de quelques-unes de nos églises modernes, d'autant qu'elle peut s'accommoder à tous les styles d'architecture.

Note 222: (retour) Voyez, à l'article CLOCHER, la carte des diverses écoles de clochers (fig. 61), dans laquelle il est démontré que deux prototypes de ces clochers, à Périgueux, à Brantôme, envoient des rameaux jusqu'à Cahors, Toulouse, le Puy, Loches, Saint-Benoit-sur-Loire, etc.
Note 223: (retour) Voyez les ensembles et les détails de ce porche dans l'Architecture du Ve au XVIe siècle, par Gailhabaud.
Note 224: (retour) Cet édifice a été fort altéré il y a peu d'années.
Note 225: (retour) Voyez Monographie de l'église de Saint-Savin, publiée par les soins du ministre de l'instruction publique.
Note 226: (retour) Il faut citer aussi un de ces porches conservé sous le clocher occidental de l'église Saint-Séverin de Bordeaux, et qui date du commencement du XIIe siècle.
Note 227: (retour) Voyez les Monuments de Seine-et-Marne, par MM. Aufauvre et Fichot.
Note 228: (retour) Voyez Pugin, Specimens of the architectural ant. of Normandy.
Note 229: (retour) Voyez, à l'article ARCHITECTURE RELIGIEUSE, la figure 62.


PORCHES D'ÉGLISES ANNEXES. C'est à dater de la fin du XIIe siècle que les porches accolés aux façades principales ou latérales des églises deviennent très-fréquents. Pourquoi? Avant cette époque, les églises les plus importantes étaient celles qui dépendaient d'établissements monastiques. Ces églises, comme nous l'avons vu, possédaient des porches très-vastes si elles relevaient de l'ordre de Cluny, en forme de portiques si elles relevaient de l'ordre de Cîteaux, plus ou moins étendus si elles ne dépendaient ni de l'un ni de l'autre de ces deux ordres, mais faisant partie du plan primitif ou complété de l'édifice religieux. Lorsque ces porches avaient été annexés, ils achevaient, pour ainsi dire, un ensemble de constructions conçues d'après une idée dominante. Les églises paroissiales antérieures à 1150 étaient petites, pauvres, et copiaient plus ou moins les grandes églises monastiques. Avant cette époque, les cathédrales elles-mêmes avaient peu d'étendue, et s'élevaient également sous l'influence prédominante des édifices dus aux ordres religieux. Mais lorsque, vers 1160, les évêques surent recueillir ces immenses ressources qui leur permirent d'élever des églises qui pussent rivaliser avec celles des ordres religieux et même les dépasser en étendue et en richesse, ils adoptèrent des plans qui différaient sur bien des points de ceux admis par les moines. Plus de chapelles, plus de porches ou de narthex. Les cathédrales prirent généralement pour type un plan de basilique, avec nef centrale et bas côtés; des portes largement ouvertes se présentaient sur la façade, sans vestibule. Il semblait que le monument de la cité, la cathédrale, voulût être surtout accessible à la foule, qu'elle évitât tout ce qui pouvait faire obstacle à son introduction. C'était un forum couvert, dans lequel chacun était appelé sans préparation, sans initiations. Mais bientôt, ainsi que nous l'expliquons ailleurs 230, l'espoir que les évêques avaient conçu de devenir les chefs politiques et religieux de la cité s'évanouit en face de l'attitude nouvelle prise par le pouvoir royal. Les cathédrales durent se renfermer dans leur rôle purement religieux: elles élevèrent des chapelles, des clôtures autour des choeurs; elles crevèrent leurs longues nefs pour y installer des transsepts, et enfin elles ajoutèrent des porches devant les entrées. Mais cependant, comme si l'idée première qui les avait fait élever dût laisser une trace perpétuelle, ces porches se dressèrent principalement devant les entrées secondaires ou latérales; et les façades principales, les portails, ouvrirent, comme dans les conceptions primitives de ces monuments, leurs larges portes sur un parvis sans porches ou vestibules extérieurs. Nous voyons même que certaines cathédrales dont le plan, au XIIe siècle, avait été conçu avec un porche antérieur, comme à Chartres par exemple, suppriment ce porche au commencement du XIIIe siècle pour ouvrir les portes directement sur la place publique. Si quelques cathédrales, ce qui est rare d'ailleurs, possèdent des porches devant leur façade principale, comme celle de Noyon, par exemple, ces porches datent de la fin du XIIIe siècle ou même du commencement du XIVe; car nous ne pouvons considérer comme des porches les larges ébrasements qui précèdent les portes occidentales des cathédrales d'Amiens et même de Laon 231. Ce sont là des portails, c'est-à-dire des portes abritées.

Vers le milieu du XIIIe siècle, nous voyons au contraire élever des porches bien caractérisés devant les portes secondaires des cathédrales. C'est à cette époque, vers 1245, que l'on bâtit les porches latéraux des cathédrales de Chartres, de Bourges, de Châlons-sur-Marne, du Mans, de Bayeux, et qu'on élève souvent ces porches devant des portes qui n'avaient pas été destinées à être abritées. Bientôt cet exemple est suivi dans les églises conventuelles. Pendant les XIVe et XVe siècles, on élève quantité de porches sur les flancs de ces édifices. Quant aux églises paroissiales, dès le XIIIe siècle, leurs portes principales comme leurs portes latérales s'ouvrent fréquemment sous des porches.

À la fin du XIIe siècle et au commencement du XIIIe siècle, deux porches, l'un du côté du nord et l'autre du côté méridional, s'implantent devant les portes secondaires de la cathédrale romane du Puy en Velay, et ces deux porches sont surmontés de salles; mais ce sont des hors-d'oeuvre, ne se raccordant en aucune façon avec l'édifice auquel ils se soudent, tandis qu'il faut voir dans les porches latéraux de la cathédrale de Chartres des conceptions mises en harmonie avec le monument déjà construit. Les porches nord et sud plantés devant les portes du transsept de la cathédrale de Chartres passent, à juste titre, pour des chefs-d'oeuvre. Ils sont composés évidemment par des artistes du premier ordre et offrent l'un des plus beaux spécimens de l'architecture française du milieu du XIIIe siècle. Leur plan, leur structure, leur ornementation, la statuaire qui les couvre, sont des sujets d'étude inépuisables, et leur ensemble présente cette harmonie complète si rare dans les oeuvres d'architecture. Celui du nord, plus riche de détails, plus complet comme entente de la sculpture, plus original peut-être comme composition, produirait plus d'effet, s'il était, ainsi que celui du sud, élevé sur un grand emmarchement et exposé tout le jour aux rayons du soleil. Dans l'origine, ces deux porches étaient peints et dorés; leur aspect, alors, devait être merveilleux. C'est lorsqu'on examine dans leur ensemble et leurs détails ces compositions claires, profondément étudiées, d'une exécution irréprochable, qu'on peut se demander si depuis lors nous n'avons pas désappris au lieu d'apprendre; si nous sommes les descendants de ces maîtres dont l'imagination féconde était soumise cependant à des règles aussi rigoureuses que sages; et s'il n'y a pas plus d'art et de goût dans un de ces chefs-d'oeuvre que dans la plupart des pâles et froids monuments élevés de nos jours.

La somme d'intelligence, de savoir, de connaissance des effets, d'expérience pratique, dépensée dans ces deux porches de Notre-Dame de Chartres, suffirait pour établir la gloire de toute une génération d'artistes; et ce que l'on ne saurait trop admirer dans ces oeuvres, c'est combien alors les arts de l'architecture et de la sculpture avaient su faire une alliance intime, combien ils se tenaient étroitement unis.

Nous ne croyons pas nécessaire de donner ici des figures de ces porches publiés dans maints ouvrages 232, gravés, lithographiés et photographiés bien des fois. Nous passerons à l'étude d'exemples non moins remarquables, mais peu connus. L'église de Saint-Nicaise de Reims avait été bâtie par l'architecte Libergier, mort en 1263 233; c'était un des plus beaux monuments religieux de la Champagne. D'une construction savante, l'église de Saint-Nicaise montrait ce qu'était devenue cette architecture champenoise au milieu du XIIIe siècle, un art mûr. Sur la façade de cette église s'ouvraient trois portes: l'une centrale, dans l'axe de la grande nef, les deux autres dans l'axe de chacun des bas côtés. Nous reviendrons tout à l'heure sur ces portes secondaires. La porte centrale était précédée d'un porche peu profond, élevé entre les deux contre-forts butant les archivoltes de la nef, et recevant le poids des angles des deux clochers.

La figure 27 nous montre en A le tracé du plan de ce porche, avec l'échelle en pieds. D'un axe d'un contre-fort à l'autre on comptait 40 pieds. Les contre-forts avaient 8 pieds de face; on comptait également 8 pieds pour l'ouverture des arcades B, et 16 pieds pour l'ouverture de l'arcade centrale; pour la profondeur du porche, qui n'était qu'un abri, 4 pieds. Ainsi les quatre colonnes isolées et engagées a, b, c, d, divisaient l'espace ad en trois parties égales, et ces quatre colonnes portaient trois archivoltes surmontées de gâbles (voy. l'élévation G). Chacune de ces archivoltes inscrivait un triangle équilatéral, et les gâbles eux-mêmes étaient tracés suivant les deux côtés d'un triangle équilatéral. Si l'arcade centrale était entièrement à jour, celles des deux côtés étaient à moitié occupées par l'épaisseur des contre-forts, ainsi que le montre notre plan en E et en E'. Quant à l'ébrasement de la porte, il était disposé de telle façon, qu'en K il existait une boiserie formant tambour ou double porte. En C, est tracée la coupe du porche sur l m.

La figure 28 donne la vue perspective du porche central de l'église de Saint-Nicaise de Reims. Si simple par son plan, cette composition était, en élévation, d'une grande richesse, mais sans que les détails nuisissent en rien à l'ensemble des lignes. D'abord l'architecte avait eu l'idée nouvelle de donner à ses porches l'aspect d'une de ces décorations que l'on dispose devant les façades d'églises les jours de grandes cérémonies. Sans contrarier la structure principale de l'architecture, ces arcades surmontées de gâbles forment une sorte de soubassement décoratif occupant toute la largeur de l'église et percé de baies au droit des portes. C'était comme un large échafaudage tout garni de tapisseries; car on remarquera que les nus de ce soubassement sont ornés de fins reliefs fleurdelisés qui leur donnent l'aspect d'une tenture. Derrière cette architecture légère, et qui semble élevée pour une fête, se voyaient les portes richement décorées de bas-reliefs. Celle centrale, dont nous donnons la vue perspective (fig. 28), portait sur son trumeau la statue de saint Nicaise; dans son tympan, le Christ assis sur le monde au jour du jugement, avec la Vierge et saint Jean à ses côtés et des anges adorateurs; au-dessous, d'un côté, les élus; de l'autre, les damnés, dont quelques-uns sont emmenés en enfer dans un chariot. Dans les écoinçons, deux anges sonnent de la trompette. Les douze apôtres étaient placés, non comme des statues dans des niches, mais comme des groupes de personnages dans les deux enfoncements pratiqués des deux côtés des pieds-droits de la porte. On voit comme, d'une disposition extrêmement simple comme plan, l'architecte Libergier avait su faire un ensemble très-décoratif et facile à suivre d'un coup d'oeil 234. Les deux porches donnant dans l'axe des collatéraux ne se composaient chacun que d'une seule arcade percée entre les deux gros contre-forts des clochers. Cette arcade, surmontée d'un gâble, comme celles du porche central, avait 12 pieds d'ouverture (2 toises). Mais comme ces portes latérales étaient celles qui servaient habituellement (la porte centrale n'étant ouverte que pour les processions ou pour laisser écouler la foule), leurs porches avaient plus de profondeur (1 toise), et à l'intérieur étaient disposés des tambours à demeure, très-ingénieusement combinés.

Le plan (fig. 29) fait voir la disposition de ces tambours en A, et l'entrée des escaliers des clochers, entrée qui se trouvait aussi en dehors de l'église, quoique garantie par la porte extérieure. Les espaces A, B, étaient couverts par des berceaux en tiers-point comme les archivoltes, et les tympans des portes décorés de bas-reliefs dans des quatre-feuilles et des lobes, comme celui de la porte centrale. Les nus D étaient couverts des mêmes semis fleurdelisés en petit relief. Libergier paraît être le premier qui ait eu l'idée de faire ainsi des porches, des hors-d'oeuvre rappelant ces ouvrages provisoires que l'on élève devant les portails des églises à l'occasion de certaines solennités. Cette idée fut développée plus tard avec plus ou moins de bonheur, mais sans qu'on ait, nous semble-t-il, dépassé ce premier essai. Cependant à Troyes, dans la même province, il existe encore deux porches d'une disposition très-remarquable devant les portes du transsept de l'église de Saint-Urbain 235. Ces porches sont de véritables dais soutenus par des arcs-boutants reportant la poussée et la charge de leurs voûtes sur des contre-forts extérieurs isolés. Le plan de l'un de ces porches, en tout semblables entre eux (fig. 30), indique cette disposition. L'espace A, B, C, D est voûté.

Ces deux voûtes reposent sur le mur du transsept et sur les trois piles B, E, C. Trois arcs-boutants G, E, H reportent la poussée extérieure de ces voûtes sur les trois contre-forts I, K, L. La légèreté de cette construction, élevée en liais de Tonnerre d'une excellente qualité, est surprenante. Ces deux voûtes ont réellement l'apparence d'un dais suspendu, car leur saillie laisse à peine voir les frêles colonnes qui les reçoivent. Quant aux contre-forts I, K, L, malgré leur importance relative, ils sont tellement hors-d'oeuvre (les deux contre-forts I, L, étant d'ailleurs au droit de ceux de l'église O, M), qu'ils ne paraissent pas appartenir au porche et que l'oeil ne s'y arrête pas. En P, nous avons tracé à l'échelle de 0m,05 par mètre l'une des colonnes d'angle BC, et en R, le détail à la même échelle du pilier S avec sa niche T.

Une coupe faite sur XV (fig. 31.) rend compte de cette singulière structure dont le géométral ne peut donner qu'une idée très-incomplète. En perspective, les contre-forts et les arcs-boutants ne se projettent pas comme dans le géométral, ils se séparent du porche, le laissent indépendant. L'arc-boutant A, par exemple, à un plan éloigné et butant le premier contre-fort du choeur, ne participe pas de la construction du porche 236; les contre-forts marqués I et L dans le plan paraissent se rattacher eux-mêmes à l'église et non au porche. Il y a dans cette composition une entente de l'effet que ne peut rendre un géométral et qu'exprime difficilement même une vue perspective. Mais ce qui doit attirer l'attention des architectes dans les porches de l'église de Saint-Urbain, c'est la grandeur du parti. Malgré leur excessive légèreté et la ténuité des divers membres de l'architecture réduits à leur plus faible dimension, ces porches sont grands d'échelle et n'ont pas la maigreur que l'on reproche à beaucoup d'édifices élevés à la fin du XIIIe siècle et au commencement du XIVe.

L'élévation faite sur la ligne ab du plan (fig. 32) fait assez voir combien cette composition est large, claire et comme les détails sont soumis aux masses. Sur les deux archivoltes latérales sont élevés des gâbles, comme sur la face; et les combles en ardoises suivent les pentes de ces gâbles, de sorte que les eaux s'écoulent par des caniveaux posés sur les arcs-boutants et par les gargouilles posées au devant des contre-forts (voy. la coupe). Par derrière, ces combles forment croupe avec chéneau, afin de dégager les grandes fenêtres du transsept. Les gâbles indiquent donc la forme des combles, ce qui est rationnel. Au-dessus des deux portes percées sous le porche s'ouvrent deux fenêtres, ainsi que le fait voir la figure 32, fenêtres dont les meneaux se combinent adroitement avec les gâbles à jour qui surmontent ces deux portes.

La construction des porches de saint-Urbain est conçue comme celle de toutes les autres parties de cette jolie église; c'est-à-dire qu'elle se compose de grands morceaux de pierre de Tonnerre formant une véritable devanture pour les archivoltes, gâbles, balustrades, claires-voies et clochetons, et d'assises basses pour les contre-forts. Quant aux remplissages des voûtes, ils sont faits en petits matériaux 237. Ces porches, comme toute la construction de l'église de Saint-Urbain, élevée d'un seul jet, datent des dernières années du XIIIe siècle, et sont une des oeuvres les plus hardies et les plus savantes du moyen âge. Le XIVe siècle n'atteignit pas cette légèreté, et surtout cette largeur de composition, dans les oeuvres du même genre qu'il eut à élever. Ainsi le porche méridional de l'église Saint-Ouen de Rouen, bâti vers la fin du XIVe siècle, est loin d'avoir cet aspect ample et léger; il est plus lourd et surchargé de détails, qui nuisent à l'ensemble. Le porche occidental de l'église de Saint-Maclou, à Rouen, est certainement un des plus riches qu'ait élevés le XVe siècle, mais il prend toute l'importance d'une façade, et ne semble pas avoir cette destination spéciale si bien indiquée à Saint-Urbain de Troyes 238. La disposition du porche de Saint-Maclou a cela d'intéressant cependant, qu'elle se prête à la configuration des voies environnantes, et que les arcs latéraux forment en plan deux pans coupés très-obtus avec l'arc central, pour donner à la foule des fidèles un accès plus facile.

L'église de Saint-Germain l'Auxerrois, à Paris, possède un porche du commencement du XVe siècle, qui est parfaitement conçu. Il s'ouvre sur la face par trois arcades principales qui comprennent la largeur de la nef, et par deux arcades plus étroites et plus basses, au droit des collatéraux; une arcade semblable de chaque côté, en retour, donne des issues latérales. Les voûtes fermées sur les deux travées extrêmes plus basses sont surmontées de deux chambres couvertes par des combles aigus et éclairées par de petites fenêtres percées dnns les tympans rachetant la différence de hauteur entre les grands et les petits arcs. Une balustrade couronne cette construction couverte en terrasse, sous la rose, dans la partie centrale.

La sculpture et les détails de ce porche, bien des fois retouchés et depuis peu grattés à vif, manquent de caractère, sont mous et pauvres. Le porche de l'église de Saint-Germain l'Auxerrois n'est bon à étudier qu'au point de vue de l'ensemble et de ses heureuses proportions. La porte centrale qui s'ouvre sur la nef date en partie du XIIIe siècle, c'est le seul fragment de cette époque que l'on retrouve dans tout l'édifice rebâti pendant les XIVe, XVe et XVIe siècles. Le parti adopté dans la construction de ce porche nous paraît remplir assez bien les conditions imposées par les besoins d'une grande église paroissiale, pour que nous en présentions ici (fig. 33) l'aspect général.

On observera que les arcades d'extrémités, étant plus basses que celles centrales, les fidèles réunis sous ce vestibule extérieur, profond d'ailleurs, sont parfaitement abrités du vent et de la pluie, bien que la circulation soit facile. On n'en saurait dire autant des portiques, péristyles ou porches, prétendus classiques, établis au devant des églises bâties depuis deux siècles. Les péristyles de Saint-Sulpice, de la Madeleine, de Saint-Vincent de Paul, de Notre-Dame de Lorette, présentent peut-être une décoration majestueuse, mais ils sont, contre le vent, la pluie ou le soleil, un obstacle insuffisant.

Sur la face méridionale de l'église collégiale de Poissy, on remarque encore les restes d'un joli porche du XVIe siècle; mais cet appendice, reconstruit vers 1821, a perdu son caractère. Un des plus beaux porches élevés à cette époque est sans contredit celui qui abrite la porte méridionale de la cathédrale d'Alby 239. Ce porche est un véritable dais porté sur des piliers en avant de l'entrée de l'église. Il s'élève au sommet d'un grand emmarchement autrefois défendu, à sa partie inférieure, par un ouvrage fortifié dont on voit des restes assez importants.

Nous donnons (fig. 34) le plan du porche de la cathédrale d'Alby avec l'emmarchement qui le précède et la défense antérieure. Les arcades A et B s'ouvraient sur une vaste plate-forme entourée de murs crénelés.

La figure 35 présente une vue perspective de ce porche prise du côté de l'emmarchement.

Le porche de la cathédrale d'Alby est une des compositions des dernières écoles du moyen âge, et produit un merveilleux effet: bâti de pierre blanche, il se détache sur le ton de brique de l'église et sur le ciel de la manière la plus pittoresque; sa position, si bien choisie au sommet d'un long degré, en fait l'entrée la plus imposante qu'on puisse imaginer. Autrefois une longue et haute claire-voie vitrée s'ouvrait au-dessus de la porte, sous la voûte du porche, et donnait une grande lumière dans l'église, d'ailleurs très-sombre 240.

Nous n'avons pu, dans cet article, donner tous les exemples de porches d'églises qui méritent d'être mentionnés; nous nous sommes bornés à reproduire ceux qui présentent un caractère bien franc, qui accusent clairement leur destination, et dont la composition offre cette originalité due à des artistes de talent. Les églises de France sont certainement celles qui présentent les exemples les plus variés, les mieux entendus et les plus grandioses de porches du moyen âge. En Allemagne, ils sont rares; en Angleterre, habituellement bas et petits. Mais certainement, nulle part en Europe, ni en Italie, ni en Espagne, ni en Allemagne, ni en Angleterre, on ne voit des porches qui puissent être comparés, même de loin, à ceux de Chartres, de Saint-Urbain, de Saint-Maclou, de la cathédrale d'Alby, de Saint-Ouen de Rouen, et de Saint-Germain l'Auxerrois.

Note 230: (retour) 1 Voyez l'article CATHÉDRALE, t. II, p. 280 et suiv.--Voyez aussi les Entretiens sur l'architecture, t. I, p. 263 et suiv.
Note 231: (retour) Il faut noter ici (voy. CATHÉDRALE, fig. 19) que le portail de la cathédrale d'Amiens n'a pas été élevé conformément à son tracé primitif. Mais en admettant même ce plan primitif, nous ne pouvons voir, non plus qu'à la cathédrale de Laon, dans ces ébrasements prononcés des portes, ce qui constitue un porche, c'est-à-dire un vestibule ouvert ou fermé.
Note 232: (retour) Voyez la Monographie de la cathédrale de Chartres, par M. Lassus.--L'ouvrage de M. Gailhabaud, sur l'architecture du Ve au XVIe siècle.--Les exemples de décoration de M. Gaucherel.
Note 233: (retour) La tombe de l'architecte Libergier est aujourd'hui placée dans la cathédrale de Reims; elle était, avant la démolition de l'église de Saint-Nicaise, placée dans ce monument.
Note 234: (retour) L'église de Saint-Nicaise a été démolie depuis la fin du dernier siècle. En ordonnant cette démolition, les gens de Reims ont privé leur ville et la France d'un des plus beaux monuments de l'art au XIIIe siècle. Heureusement les documents sur cet édifice ne font pas trop défaut; on en possède des plans et quelques gravures, entre autres celle de la façade, qui est un véritable chef-d'oeuvre et qui est due au graveur rémois De-Son. Cette pièce rare date de 1625.
Note 235: (retour) Nous avons très-souvent l'occasion de parler de cette jolie église, qui présente le développement le plus complet et le plus extraordinaire de cette architecture champenoise du XIIIe siècle (voy. ARCHITECTURE RELIGIEUSE, CONSTRUCTION, fig. 102, 103, 104, 105, 106; FENÊTRE, PILIER).
Note 236: (retour) C'est l'arc-boutant marqué Y sur le plan (fig. 30).
Note 237: (retour) Pour le système de construction adopté à Saint-Urbain de Troyes, voyez, à l'article CONSTRUCTION, les figures 103, 104, 105 et 106.
Note 238: (retour) Voyez les belles photographies que MM. Bisson frères ont faites de ce porche.
Note 239: (retour) Voyez CATHÉDRALE, fig. 50.
Note 240: (retour) M. Daly, architecte diocésain d'Alby, a été depuis peu chargé de restaurer ce porche, et s'est acquitté de cette tâche difficile avec un talent remarquable.


PORCHES ANNEXES À DES CONSTRUCTIONS CIVILES.--Les articles ESCALIER, PERRON, donnent quelques exemples de porches combinés avec les degrés principaux des palais et châteaux. Sur la voie publique, il n'était pas possible d'établir des porches en avant des maisons. Celles-ci possédaient parfois des portiques continus ou des saillies en encorbellement formant abri, ou encore de véritables auvents à demeure (voy. AUVENT, MAISON). Les porches proprement dits eussent gêné la circulation, surtout dans les villes du moyen âge, dont les rues sont généralement étroites. Quelquefois, dans les cours, un pavillon portant son angle saillant sur un seul pilier formait un petit porche devant une entrée ou à l'issue d'une allée, ainsi que le fait voir la figure 36 241.

À l'angle d'une place publique ou d'un carrefour, on laissait aussi, dans certains cas, sous une maison, un espace couvert et ajouré sur la voie publique; mais ces abris étaient des loges plutôt que des porches, on en établissait près des marchés: c'étaient des parloirs, ce qu'on appelle aujourd'hui des bourses, sur une petite échelle 242.

Cependant les vignettes des manuscrits du XVe siècle présentent fréquemment des porches assez importants devant des hôtels, sur la voie publique; et ces porches sont toujours figurés comme étant relativement très-ornés. Un beau manuscrit de cette époque, appartenant à la bibliothèque de Troyes (nº 178), donne un porche d'hôtel dont voici en plan la disposition (fig. 37).

Le porche A est placé à l'angle du bâtiment et forme tambour dans l'intérieur. L'élévation perspective fournie par le manuscrit est reproduite par notre figure 38.

Ce porche est très-petit d'échelle, ce n'est qu'un abri pouvant contenir quatre personnes. C'était ce qui convenait à l'entrée d'une habitation. Au-dessus de la console portant la retombée du gâble de face, est placée une de ces statues de la sainte Vierge, si fréquentes dans les carrefours des villes du moyen âge et aux angles des rues.

Mais la forme des porches la plus habituellement adoptée devant les constructions civiles, telles que hospices, maladreries, maisons de réunion de bourgeois, habitations rurales, est celle que retrace notre figure 39.

Ces annexes se composaient d'un bahut avec pilettes de pierre sur lesquelles des sablières de bois portaient une charpente lambrissée dont l'écartement n'était maintenu que par des entraits retroussés. La légèreté de ces sortes de constructions n'a pas permis qu'elles arrivassent jusqu'à nous, et s'il en reste encore quelques débris, c'est qu'ils ont été engagés au milieu de bâtisses plus récentes. Dans les contrées du Nord, en Suède, en Angleterre même, on a continué fort tard à élever des porches suivant ce système; aussi en trouve-t-on encore quelques-uns debout, d'autant que les charpentes mises en oeuvre étaient, dans ces pays, beaucoup plus épaisses que celles adoptées en France. Il était d'usage aussi, dans la Flandre, d'élever des porches en bois en avant des ponts-levis des châteaux et manoirs, afin de mettre à couvert les gens qui attendaient qu'on leur permît d'entrer; mais, chez nous, ces sortes d'ouvrages ont toujours l'apparence d'un châtelet, ou tout au moins d'un corps de garde défendu (voy. PORTE).

Nous n'avons donné qu'un petit nombre des exemples que fournissent les porches du moyen âge, relativement à leur abondance, car, ces annexes devant être élevées sur des programmes non uniformes, il était naturel de varier leur aspect, autant que leur structure et leur disposition générale. Il est beaucoup de porches importants que nous avons mentionnés, et qui demanderaient une étude toute spéciale: tels sont les porches de Notre-Dame de Chartres, ceux de la cathédrale de Bourges, ceux de Saint-Maclou de Rouen, de l'église de Louviers, et, parmi les porches beaucoup plus anciens, ceux de Saint-Front de Périgueux, des églises de l'Auvergne, celui de Notre-Dame des Doms à Avignon, etc. Quant aux annexes en dehors des portes, qui, pour nous, à cause de leur peu de saillie, ou plutôt à cause de leur liaison intime avec l'édifice auquel elles appartiennent, ne sauraient être considérées comme des porches, nous les classons dans les portails.

Note 241: (retour) Voyez, à l'article MAISON, le plan et l'élévation de l'hôtel de la Trémoille (fig. 36 et 37), la tourelle formant porche à rez-de-chaussée, à l'entrée de l'allée conduisant au jardin. Voyez aussi l'article TOURELLE.
Note 242: (retour) Voyez LOGE.


PORT, s. m. Il ne nous reste que peu de traces des ports maritimes établis pendant le moyen âge. Les dispositions des ports changeant sans cesse par suite des développements du commerce, on ne doit point être surpris de ne plus trouver des ports datant de plusieurs siècles, conservés entiers. Cependant, dès le XIe siècle, les côtes de France possédaient des ports assez importants. Sans parler des ports de la Méditerranée, qui, comme celui de Marseille, dataient d'une époque très-reculée, on comptait encore à cette époque ceux de Fréjus, d'Agde, de Narbonne, d'Antibes, qui pouvaient réunir un grand nombre de navires. Tout porte à croire que le port antique de Marseille, pratiqué encore pendant le moyen âge, occupait la place du vieux port de cette ville. Sur les côtes de l'Océan, il y avait, au XIIe siècle, des ports à Bordeaux, à la Rochelle, à l'embouchure de la Loire, à Brest, et dans la Manche, à Saint-Malo, à Granville, à Cherbourg, à Caen, à Dieppe, à Boulogne, à Wissant.

Ces ports furent, la plupart, étendus et protégés par des travaux importants pendant les XIIIe et XIVe siècles. On voit encore à l'entrée des ports de Marseille une des tours qui défendaient le goulet du port, et qui date du XIVe siècle. À l'entrée du port de la Rochelle, il existe aussi une belle tour, dont les soubassements sont fort anciens et dont le couronnement date du XIVe siècle, qui défendait le chenal. Elle se reliait à un ouvrage élevé de l'autre côté du goulet fermé par une sorte de herse. M. Lisch, architecte, a découvert des traces très-intéressantes de ces défenses, et doit en faire le sujet d'un travail qui sera rendu public. La même ville possède un beau phare datant des XIVe et XVe siècles, lequel est encore entier; bien qu'il ne soit plus employé à cet usage. À Aigues-Mortes, le roi Louis IX fit tout d'abord établir à l'entrée du port qui lui servit de base d'opérations pour ses expéditions d'outre-mer, une tour très-importante qui était couronnée par un feu, et qui est connue aujourd'hui sous le nom de tour de Constance.

Les ports étaient fermés, pendant le moyen âge, par des chaînes et même quelquefois par des herses qui étaient suspendues entre deux tours séparées par le chenal. Il faut dire qu'à cette époque, les navires du plus fort tonnage n'avaient que 6 à 7 mètres de largeur entre bordages.

L'emploi des jetées était dès lors habituel, comme il l'est de nos jours, soit pour abriter les passes pendant les gros temps, soit pour maintenir la profondeur d'un chenal et empêcher son ensablement. Les soubassements de la jetée occidentale de Dieppe sont fort anciens et existaient avant le XVIe siècle, puisque à cette époque cette jetée fut reconstruite en partie. Mais le peu de ressources dont on pouvait disposer alors pour entreprendre les travaux dispendieux, devenus si fréquents aujourd'hui, faisait, toutes les fois que la disposition des côtes le permettait, qu'on profitait d'une embouchure de cours d'eau ou d'un étang pour faire un port; et alors, au besoin, on établissait des canaux de communication avec la mer lorsque, comme cela est fréquent pour les étangs salés, les goulets naturels étaient ensablés ou même bouchés totalement. C'est ainsi que les étangs qui formaient le port d'Aigues-Mortes avaient été mis en communication avec la haute mer. C'est ainsi que saint Louis avait fait creuser le canal de Bouc, qui permettait de faire entrer des navires dans l'étang de Berre, près de Marseille.



PORTAIL, s. m. Avant-porte. Ébrasements ménagés extérieurement en avant des portes principales des églises pour former un abri. Ce qui distingue le portail du porche, c'est que le portail ne présente pas, comme le porche, une avancée en hors-d'oeuvre, mais dépend des portes elles-mêmes. Bien que les portes des cathédrales de Paris, de Bourges, d'Amiens, de Reims, de Rouen, de Sens, de Senlis, soient abritées par des voussures profondes surmontées même de gâbles, comme à Amiens et à Reims, cependant on ne saurait donner à ces saillies le nom de porches.

Les portails de nos grandes églises ont fourni aux architectes du moyen âge des motifs splendides de décoration. Ils sont ornés habituellement de nombreuses statues, de figures et de bas-reliefs, sur les pieds-droits en ébrasement, sur les voussures et dans les tympans au-dessus des portes. Cette disposition des portails d'églises appartient à notre pays, à l'architecture issue de l'Île-de-France au XIIe siècle, et certainement on y reconnaît la marque d'un sentiment vrai et grand de l'art décoratif. Entourer ainsi les portes principales des églises d'un monde de statues et de bas-reliefs formant parfois une suite de scènes dramatiques, c'est une idée hardie, neuve, et qui produit un grand effet, car on ne saurait fournir une place plus favorable au statuaire. Les ébrasements obliques, éclairés par le soleil de la manière la plus variée, donnent aux sculptures un relief qui semble leur prêter la vie. Aussi la plupart de ces grands portails, tels que ceux de Notre-Dame de Paris, de Reims, d'Amiens, forment de véritables poëmes en pierre qui attirent toujours l'attention de la foule (Voy. CATHÉDRALE, PORTE.)



PORTE, s. f. Baie servant d'issue, au niveau d'un sol. Toute porte se compose de deux jambages, d'un linteau ou d'un cintre. Les jambages possèdent un tableau et une feuillure destinée à recevoir les vantaux. Nous diviserons cet article en portes fortifiées de villes et châteaux; en portes de donjons et tours; en poternes; en portes d'abbayes; en portes d'églises, extérieures et intérieures; en portes de palais et maisons, extérieures et intérieures.



PORTES FORTIFIÉES tenant aux enceintes de villes, châteaux, manoirs.--Il existe encore en France quelques portes romaines et gallo-romaines qui présentent les caractères d'une issue percée dans une enceinte et protégée par des défenses. Telles sont les portes de Nîmes, d'Arles, de Langres, d'Autun: les premières antérieures à l'établissement du christianisme; celles d'Autun datant du IVe ou Ve siècle. Ces portes sont toutes dressées à peu près sur un même plan. Elles consistent en deux issues, l'une pour l'entrée, l'autre pour la sortie des chariots, et en deux passages pour les piétons; elles sont flanquées extérieurement de deux tours semi-circulaires formant une saillie prononcée. Les portes d'Arroux et de Saint-André, à Autun, sont surmontées, au-dessus des deux arcs donnant passage à travers l'enceinte, d'un chemin de ronde à claire-voie, qui pouvait servir au besoin de défense. Les baies, s'ouvrant sur la voie publique, n'étaient fermées que par des vantaux de menuiserie, sans herses ni ponts mobiles 243.

La porte de Saint-André, à Autun, est l'une des plus complètes de toutes celles que nous possédons en France, et se rapproche de l'époque du moyen âge 244. Elle est d'ailleurs entièrement tracée sur le modèle antique, et possède deux voies A (fig. 1), deux issues pour les piétons B, deux tours C, servant de postes militaires, avec leurs deux escaliers D montant aux étages supérieurs 245. On retrouve encore sur la voie en A des fragments nombreux de ce pavé romain en gros blocs irréguliers. Au droit des deux poternes B étaient établis des trottoirs, et en E était creusé un large fossé dont on aperçoit encore le profil. La voie formait une chaussée qui s'étendait extérieurement assez loin dans la vallée, comme pour mettre en évidence les arrivants.

L'ouvrage principal (fig. 2) est construit en gros blocs de grès posés jointifs, sans mortier, suivant la méthode romaine. On voit, dans notre figure 2, le chemin de ronde supérieur percé d'arcades d'outre en outre et communiquant avec le premier étage des tours et le chemin de ronde des courtines. Ces tours possédaient encore au-dessus deux autres étages, réservés à la défense, l'un couvert par une voûte, et le dernier à ciel ouvert. On y arrivait par les escaliers à double rampe indiqués sur le plan.

Nous nous sommes souvent demandé, en voyant les portes des villes de Pompéi, de Nîmes, d'Autun, de Trèves, toutes si bien disposées pour l'entrée des chariots et des piétons, pourquoi, depuis qu'on a prétendu revenir aux formes de l'antiquité grecque et romaine, on n'avait jamais adopté ce parti si naturel des issues jumelles? La réponse à cette question, c'est que l'on s'est fait une sorte d'antiquité de convention, lorsqu'on a prétendu en prescrire l'imitation. Placer un pilier dans le milieu d'une voie paraîtrait, aux yeux des personnes qui ont ainsi faussé l'esprit de l'antiquité, se permettre une énormité. Beaucoup d'honnêtes gens considèrent les portes Saint-Denis et Saint-Martin à Paris, si peu faites pour le passage des charrois, comme étant ce qu'on est convenu d'appeler une heureuse inspiration d'après les données de l'antiquité. Mais pour l'honneur de l'art antique, jamais les Romains, ni les Grecs byzantins, ni les Gallo-romains, n'ont élevé des portes de ville aussi mal disposées. Leurs portes sont larges, doubles, et n'ont jamais, sous clef, une hauteur supérieure à celle d'un chariot très-chargé. Elles sont accompagnées de poternes, ou portes plus petites pour les piétons, profondes; c'est-à-dire formant un passage assez long, plus long que celui des baies charretières, afin de permettre au besoin un stationnement nécessaire. Quelquefois même ces poternes sont accompagnées de bancs et d'arcades donnant sur le passage des chariots. Telle est, par exemple, la disposition de la porte dite d'Auguste, à Nîmes.

Les tours et remparts touchant à la porte de Saint-André d'Autun sont construits en blocages revêtus extérieurement et intérieurement d'un parement de petits moellons cubiques, suivant la méthode gallo-romaine. Bien que les détails de cette porte soient médiocrement tracés et exécutés, l'ensemble de cette construction, ses proportions, produisent l'effet le plus heureux.

Mais on conçoit que ces portes n'étaient pas suffisamment couvertes, fermées et défendues pour résister à une attaque régulière. Il est vrai, qu'en temps de siége, on établissait, en avant de ces entrées, des ouvrages de terre et bois, sortes de barbacanes qui protégeaient ces larges issues. Ces ouvrages de terre, avec fossés et palissades, s'étendaient même parfois très-loin dans la campagne, formaient un vaste triangle dont le rempart de la ville était la base et dont le sommet était protégé par une tour ou poste en maçonnerie. À Autun même, on voit encore, de l'autre côté de la rivière d'Arroux, un de ces grands ouvrages triangulaires de terre, dont les deux côtés aboutissaient à deux ponts et dont le sommet était protégé par un gros ouvrage carré en maçonnerie, connu aujourd'hui sous le nom de temple de Janus, et qui n'était en réalité qu'un poste important tenant l'angle saillant d'une tête de pont. Ce qui reste de cette tour carrée fait assez voir qu'elle était dépourvue de portes au niveau du rez-de-chaussée, et qu'on ne pouvait y entrer que par une ouverture pratiquée au premier étage et au moyen d'une échelle ou d'un escalier de bois mobile.

Quand le sol gallo-romain fut envahi par les hordes venues du nord-est, beaucoup de villes ouvertes furent fortifiées à la hâte. On détruisit les grands monuments, les temples, les arènes, les théâtres, pour faire des remparts percés de portes flanquées de tours. On voit encore à Vesone (Périgueux), près de l'ancienne cathédrale du Xe siècle, une de ces portes. Il n'y a pas longtemps qu'il en existait encore à Sens, à Bourges, et dans la plupart des villes de l'est et du sud-est du sol gaulois. Beaucoup de ces ouvrages furent même construits en bois, comme à Paris, par exemple.

Quand plus tard les Normands se jetèrent sur les pays placés sous la domination des Carlovingiens, les villes durent de nouveau établir à la hâte des défenses extérieures, afin de résister aux envahisseurs. Ces ouvrages ne devaient pas avoir une grande importance, car il ne paraît pas qu'ils aient opposé des obstacles bien sérieux aux assaillants; les récits contemporains les présentent aussi généralement comme ayant été élevés en bois; et d'ailleurs l'art de la défense des places n'avait pas eu l'occasion de se développer sous les premiers Carlovingiens.

Ce n'est qu'avec l'établissement régulier du régime féodal que cet art s'élève assez rapidement au point où nous le voyons arrivé pendant le XIIe siècle. Les restes des portes d'enceintes de villes ou de châteaux antérieures à cette époque, toujours modifiées postérieurement, indiquent cependant déjà des dispositions défensives bien entendues. Ces portes consistent alors en des ouvertures cintrées permettant exactement à un char de passer: c'est dire qu'elles ont à peine 3 mètres d'ouverture sur 3 à 4 mètres de hauteur sous clef. Il n'était plus alors question, comme dans les cités élevées pendant l'époque gallo-romaine, d'ouvrir de larges ouvertures au commerce, aux allants et venants, mais au contraire de rendre les issues aussi étroites que possible, afin d'éviter les surprises et de pouvoir se garder facilement. De grosses tours très-saillantes protégeaient ces portes.

Nous ne trouvons pas d'exemple complet de portes de villes ou châteaux avant le commencement du XIIe siècle. Un de ces exemples, parvenu jusqu'à nous sans altération aucune, se voit au château de Carcassonne, et il remonte à 1120 environ.

Nous donnons (fig. 3) le plan de cette porte à rez-de-chaussée. On arrive à l'entrée par un pont défendu lui-même par une large barbacane bâtie au XIIIe siècle 246. Le tablier de ce pont A, dont les parapets sont crénelés 247, est interrompu en B, et laisse en avant de l'entrée une fosse de 3 mètres environ de longueur sur 3 mètres de largeur. Un plancher mobile, que l'on enlevait en cas de siége, couvrait ce vide. La porte, qui n'a pas 2 mètres de largeur sur 2m,30 de hauteur, est surmontée d'un large mâchicoulis, fermée par une herse C, un vantail D et une seconde herse E. Un poste placé dans la salle F de la tour de gauche avait son entrée en G, sous le passage. Un second poste H, placé dans la tour de droite, avait son entrée sous un portique donnant sur la cour intérieure du château. En K, est un très-large fossé. Des meurtrières disposées dans les deux salles F et H commandent l'entrée et les dehors. On ne pouvait monter aux étages supérieurs de cette porte que par des escaliers de bois posés le long du parement intérieur de l'ouvrage en I.

Le plan (fig. 4) est pris au niveau de la chambre O de la seconde herse tombant dans la coulisse P, formant aussi mâchicoulis. On arrive à cette chambre par la salle L et par l'escalier M. Deux trous carrés R, percés dans le sol des deux salles des tours, traversent la voûte des salles du rez-de-chaussée et correspondent à deux autres trous percés dans les voûtes du premier étage, de manière à mettre en communication les défenseurs postés à l'étage supérieur avec les servants de la seconde herse et avec les gens des postes inférieurs. Ces trous, qui ont 0m,63 de largeur sur 0m,50 de large, permettaient même au besoin de placer des échelles. Mais ils étaient surtout percés pour faciliter le commandement, qui partait toujours de la partie supérieure des défenses.

La figure 5 présente la coupe longitudinale de la porte faite sur l'axe. On voit, en B, l'interruption du tablier du pont; en C, la coulisse de la première herse, et en D, la coulisse de la seconde. La première herse est manoeuvrée de l'étage supérieur, en E, placé immédiatement sous le plancher réservé aux défenseurs. La seconde herse est manoeuvrée de la chambre dont nous avons donné le plan (fig. 4). Les trous des hourds de la défense supérieure sont apparents en G 248. Devant la première herse est disposé un grand mâchicoulis; un second mâchicoulis est percé devant la seconde herse. En H, nous donnons la coupe de la chambre de la herse faite sur la ligne abcd du plan (fig. 4), avec les salles voûtées du rez-de-chaussée et du premier étage. La coupe (fig. 5) montre également les escaliers de bois qui permettent de monter de la cour du château, soit à la chambre de la herse, soit à l'étage supérieur. Une première porte de bois était disposée en avant de la fosse, sur le pont, en I, afin de commander le tablier de celui-ci. Cet espace en avant de la première herse était abrité des traits qu'auraient pu lancer les assaillants, par un petit comble en appentis, laissant d'ailleurs passer les projectiles tombant du premier mâchicoulis. Ainsi, en cas d'attaque, une garde postée sur le tablier mobile couvrait d'abord le tablier du pont fixe de projectiles. Si l'on prévoyait que la porte I allait être forcée, on faisait tomber le tablier mobile. Du haut de la tour d'où l'on pouvait facilement voir les dispositions de l'attaque, on laissait couler la herse, on fermait le vantail derrière elle, et l'on commandait, au besoin, de laisser tomber la seconde herse. Alors toute la défense agissait du haut, soit par les hourds, soit par les meurtrières, soit par le grand mâchicoulis. Si l'on voulait prendre l'offensive et faire une sortie, on commandait du haut de lever la seconde herse, on massait son monde sous le passage de la porte, on préparait une passerelle, on faisait lever la première herse et l'on ouvrait le vantail. Était-on repoussé, on rentrait quelquefois ayant l'ennemi derrière soi; mais en laissant du haut tomber la première herse, on séparait ainsi les assaillants les plus avancés de la colonne massée sur le pont et on les faisait prisonniers.

La figure 6 est une vue perspective de la porte prise du pont, en supposant la défense de bois et son appentis enlevés. Sur les flancs des tours on voit les deux corbeaux destinés à porter la traverse postérieure de cet appentis. La première herse est supposée levée et la fosse non fermée par son tablier mobile. Sauf les herses qui ont été supprimées, mais dont toutes les attaches et les moyens de suspension sont apparents, cette porte n'a subi aucune dégradation. Il faut ajouter que la fosse a été remplacée par une voûte moderne. Cette construction est faite de petites pierres de grès jaune et est exécutée avec grand soin. Les salles sont voûtées en calotte avec de petits moellons bien taillés. Les combles qui recouvrent cette entrée ont été refaits depuis peu dans la forme indiquée sur la coupe longitudinale.

Les moyens d'attaque des places fortes de cette époque admis, moyens qui ne consistaient qu'en un travail de sape, fort long et périlleux puisqu'il était impossible de battre en brèche des tours et courtines dont les murs avaient une forte épaisseur, faisaient que les assaillants cherchaient toujours à brusquer un assaut ou à surprendre l'ennemi. Si les tours et courtines avaient trop de relief pour qu'il fût possible de tenter unc escalade, surtout lorsque les parapets étaient garnis de hourds, on essayait de s'introduire dans la place par surprises ou par une attaque brusquée sur les portes. Dès lors les assiégés accumulaient autour de ces portes les moyens de défense; on doublait les herses, les vantaux, les obstacles, et l'on séparait les treuils de ces herses afin de rendre les trahisons plus difficiles. Ainsi, dans l'exemple que nous venons de présenter, on voit que la première herse, celle qui ferme l'issue à l'extérieur, est manoeuvrée du haut; c'est-à-dire de l'étage où tous les défenseurs de la porte sont réunis, où se trouve nécessairement le capitaine. Les gens chargés de cette manoeuvre, ainsi entourés du gros du poste, sous les yeux du commandant, pouvaient difficilement trahir. La chambre de la seconde herse est totalement séparée du premier treuil. Les hommes chargés de manoeuvrer cette seconde herse ne voyaient pas ce qui se passait à l'extérieur, et ne pouvaient s'entendre avec ceux postés au premier treuil. Ils pouvaient même être enfermés dans cette chambre. On évitait ainsi les chances de trahison: car il faut dire qu'alors les défenseurs comme les assaillants d'une place étaient recrutés partout, et ces troupes de mercenaires étaient disposées à se vendre au plus offrant; beaucoup de places étaient prises par la trahison d'un poste, et toutes les combinaisons des architectes militaires devaient tendre à éviter les relations des postes chargés de la manoeuvre des fermetures avec les dehors, à les isoler complétement ou à les placer sous l'oeil du capitaine.

Les surprises des places par les portes étaient si fréquentes, que non-seulement on multipliait les obstacles, les fermetures dans la longueur de leur percée, mais qu'on plaçait, au dehors, des barbacanes, des ouvrages avancés qui en rendaient l'approche difficile, qui obligeaient les entrants à des détours et les faisaient passer à travers plusieurs postes.

Aujourd'hui, lorsqu'on assiége régulièrement une place, on établit la première parallèle à 600 ou 800 mètres, et en cheminant peu à peu vers le point d'attaque par des tranchées, on établit les batteries de brèche le plus près possible de la contrescarpe du fossé; les assiégeants, avec l'artillerie à feu, ne se préoccupent guère des portes que pour empêcher les assiégés de s'en servir pour faire des sorties. Mais lorsque l'attaque d'une place ne pouvait être sérieuse qu'au moment où l'on attachait les mineurs aux remparts, on conçoit que les portes devenaient un point faible. L'attaque définitive étant extrêmement rapprochée, toute ouverture, toute issue devait provoquer les efforts de l'assiégeant.

En étudiant les portes fortifiées des places du moyen âge, il est donc très-important de reconnaître les dehors et de chercher les traces des ouvrages avancés qui les protégeaient; car la porte elle-même, si bien munie qu'elle soit, n'est toujours qu'une dernière défense précédée de beaucoup d'autres.

La porte de Laon à Coucy-le-Château est, il ce point de vue, l'une des plus belles conceptions d'architecture militaire du commencement du moyen âge. Bâtie, ainsi que les remparts de la ville et le château lui-même, tout au commencement du XIIIe siècle par Enguerrand III, sire de Coucy 249, elle donne entrée dans la ville en face du plateau qui s'étend du côté de Laon. Cette porte, placée en face de la langue de terre qui réunit le plateau à la ville de Coucy, donnait une entrée presque de niveau dans la cité; mais à cause de cette situation même, elle demandait à être bien défendue, puisque cette langue de terre est le seul point par lequel on pouvait tenter d'attaquer les remparts, dominant, sur tout le reste de leur périmètre, des escarpements considérables. Au commencement du XIIIe siècle, voici quel était le système défensif des abords de cette porte (fig. 7).

En A, était tracée la route de Laon, reportée aujourd'hui en B; en C, une voie descendant dans la plaine et allant vers Chauny 250. En D, était une grande barbacane dans laquelle se réunissaient les deux voies pour atteindre un viaduc E, admirablement construit sur arcades en tiers-point. Ce viaduc aboutissait à une tour G, bâtie dans l'axe de la porte H. Du point de jonction F des routes au point E, ce viaduc s'élevait par une pente sensible vers la ville. Il était de niveau du point E au seuil de la porte, du seuil de cette porte au point H sous le couloir de l'entrée, il existait encore une pente. Des salles inférieures de la porte, par un souterrain d'abord, percé sous le passage, et par des baies percées dans chacune des piles du viaduc, on arrivait au niveau D de la barbacane, sous la voie supérieure. Ainsi, de la ville, et sans ouvrir aucune des herses et vantaux de la porte elle-même, sans abaisser le pont à bascule, sans ouvrir les vantaux des baies de la tour G, les défenseurs pouvaient se répandre dans l'enceinte de la barbacane, se porter aux issues L et K, à la tour du coin P et sur les chemins de ronde terrassés garnis de palissades. Si la barbacane était forcée, les défenseurs pouvaient rentrer dans la ville, sous le viaduc, sans qu'on fût obligé d'ouvrir les vantaux des portes de la tour G, non plus que les herses de l'ouvrage principal. Plus tard, vers la fin du XVe siècle, un beau boulevard revêtu et encore entier fut construit sur l'emplacement de la tour G, dont les substructions restèrent engagées ainsi au milieu du terre-plein; le viaduc fut maintenu et en partie englobé dans les maçonneries du boulevard.

Le plan (fig. 8) donne l'ensemble de ces constructions successives. Ce plan est pris au niveau de l'étage inférieur de la porte. De la ville on descend, par deux escaliers A, dans deux salles basses B, et de ces salles dans le souterrain C. On suivait le viaduc dans sa longueur sur des ponts volants D, posés d'une pile à l'autre jusqu'à la grande barbacane et en traversant l'étage inférieur de la tour G. Nous verrons tout à l'heure le détail de l'amorce de ce passage avec la porte, et du pont à bascule placé en E. Notre plan donne, en teinte plus claire, le boulevard construit vers la fin du XVe siècle, et qui est d'un grand intérêt pour l'histoire des défenses appliquées à l'artillerie à feu 251. Alors les ingénieurs se servirent du passage souterrain pour permettre d'arriver aux galeries inférieures de ce boulevard. Ils fermèrent seulement les arcades I par de la maçonnerie et comblèrent le passage des ponts volants. Vers la partie détournée, le viaduc ne servit plus que de pont passant sur un fossé, pour atteindre, du plateau, le niveau de la plate-forme du boulevard 252. Les espaces K formaient fossé séparant le plateau de la ville et déclinant à droite et à gauche vers les escarpements naturels. Les galeries inférieures du boulevard, indiquées sur le plan, étaient percées de nombreuses meurtrières couvrant le fond de ce fossé de feux croisés. Cet aperçu de l'ensemble des défenses de la porte de Laon à Coucy fait assez connaître l'importance de ce poste militaire, et comme il était puissamment défendu. Examinons maintenant la porte en elle-même, assez bien conservée encore aujourd'hui pour que l'on puisse juger du système adopté par le constructeur 253. Le plan (fig. 8) est pris au-dessous du pavé de la ville, de sorte que le sol des deux salles formant caves non voûtées et des deux salles rondes V est au-dessus du niveau du fond du fossé K. On ne descendait dans ces salles, destinées à servir de magasins, que par des trappes percées dans le plancher et dans la niche P.

La figure 9 donne le plan de la porte, au niveau du pavé de la ville. Ce plan montre le passage pour les chariots et les piétons, se rétrécissant vers l'entrée extérieure.

Ce passage est voûté en berceau tiers-point en A, en B et en C; il est couvert par un plancher en D. En E, est un large mâchicoulis entre deux herses. L'entrée F se fermait par le pont G relevé, et en I était une porte à deux vantaux avec barres. Du couloir D, vers la ville, on entrait par deux portes détournées dans deux salles J, servant de corps de garde. On observera que les deux entrées dans ces salles sont disposées de telle façon que, du passage, on ne puisse voir l'intérieur des postes, ni reconnaître, par conséquent, le nombre d'hommes qu'ils contiennent. Ces postes sont chauffés par deux cheminées K, et éclairés par deux fenêtres L placées au-dessus des deux descentes de caves marquées A sur le plan souterrain. De ces deux postes J, on passe dans les salles circulaires M, percées chacune de trois meurtrières, deux sur le fossé, une sur le passage.

En N, est une des trappes donnant dans une trémie qui correspond à l'étage en sous-sol. Deux escaliers, pris dans l'épaisseur des murs des tours, permettent de monter au premier étage, dont le plan (fig. 10) présente une disposition peut-être unique dans l'art de fortifier les portes au moyen âge. Les deux escaliers que nous venons de signaler arrivent en A dans deux couloirs donnant sur le chemin de ronde R des courtines, et dans les salles rondes B. De ces salles rondes on monte au mâchicoulis M percé entre les deux herses, par deux degrés D. Les salles rondes sont percées de trois meurtrières chacune, donnant sur le dehors 254, et d'une fenêtre F donnant sur la ville. Elles sont, en outre, munies de cheminées C. Par les couloirs E, on arrive, soit à la grande salle S, largement éclairée du côté de la ville par cinq fenêtres, soit aux escaliers à vis qui montent aux défenses supérieures. Des latrines sont disposées en L, et une vaste cheminée s'ouvre en K. On conviendra que ces dispositions, soit comme défenses, soit comme postes, sont remarquablement entendues. La grande salle S, ayant 22 mètres de longueur sur 8 mètres de largeur, pouvait servir de dortoir ou de lieu de réunion à une garde de vingt-cinq hommes, sans compter les défenseurs veillant dans les corps de garde du rez-de-chaussée et dans les trois étages de salles rondes. Ainsi un poste de cinquante à soixante hommes pouvait facilement tenir dans cet ouvrage en temps ordinaire, et, en cas d'attaque, il était aisé de doubler ce nombre de défenseurs sans qu'il y eût encombrement.

Si l'on continue à gravir les deux escaliers à vis, on arrive au second étage (fig. 11), et l'on pénètre, soit dans les deux salles circulaires A, soit dans les deux échauguettes B, donnant entrée sur un chemin de ronde crénelé C, du côté de la ville, et permettant aux défenseurs de surveiller les abords de la porte à l'intérieur. Les salles A sont percées chacune de deux meurtrières, d'une fenêtre F, et communiquent au jeu de la herse, situé en H, et au hourd situé en D, par les deux couloirs G. En montant encore par les escaliers à vis, on arrive au troisième étage (fig. 12), qui est l'étage spécialement consacré à la défense.

Par les couloirs A, on entre dans les salles circulaires B, 0n passe dans les chemins de ronde munis de hourds C, ou sur le chemin de ronde intérieur P. Des salles circulaires, ou du chemin de ronde extérieur C, on arrive au jeu du pont-levis situé au-dessus du hourd protégeant la porte.

Faisant une coupe sur l'axe de la porte, c'est-à-dire sur la ligne ac de la dernière figure, on obtient la figure 13.

Cette figure indique les principales dispositions de cet ouvrage. A est le sol de la ville. On observera que le sol du passage est très-incliné vers l'entrée, afin de donner plus de puissance à une colonne de défenseurs s'opposant à des assaillants qui auraient pu franchir le pont et soulever les herses. En B, on voit, en coupe, le couloir souterrain aboutissant à la poterne de sortie C, laquelle est mise en communication avec les passages pratiqués à travers les piles du pont. Un pont à bascule, pivotant en C et muni de contre-poids, permettait, une fois abaissé, de descendre les degrés D. De ce point il fallait faire manoeuvrer un second pont à bascule, pour franchir les intervalles E, F entre les piles D, G, H. Et ainsi, soit par des ponts à bascule, soit par des passerelles de planches, que l'on pouvait enlever facilement, arrivait-on, à travers la tour G du plan général (fig. 7), jusqu'à la grande barbacane D. Le tablier I du pont (fig. 13) était interrompu en J et remplacé par un pont-levis, non point combiné comme ceux de la fin du XIIIe siècle et des siècles suivants, mais composé d'un tablier pivotant en K, de deux arbres L pivotants, et de deux chaînes passant à travers les mâchicoulis du hourd M; là ces chaînes se divisaient chacune en deux parties, dont l'une s'enroulait sur un treuil et l'autre était terminée par des poids. C'était donc du niveau des hourds N que l'on manoeuvrait le pont-levis, c'est-à-dire au-dessus des mâchicoulis du hourd M. Quant aux deux herses, on les manoeuvrait par un treuil unique; les chaînes enroulées en sens inverse sur ce treuil permettaient, au moyen d'un mécanisme très-simple, de lever l'une des deux herses avant l'autre, mais jamais ensemble. Il suffisait pour cela, quand les herses étaient abaissées, et ne tiraient plus sur le treuil par conséquent, de décrocher les chaînes de la herse qu'on ne voulait pas lever, et de manoeuvrer le treuil, soit dans un sens, soit dans l'autre. L'une des herses levée, on la calait, on décrochait ses chaînes, on rattachait celles de la seconde, et l'on manoeuvrait le treuil dans l'autre sens. Il n'est pas besoin de dire que des contre-poids facilitaient comme toujours le levage. Pour baisser les herses, on raccrochait les chaînes, et on laissait aller doucement sur le treuil l'une des herses, puis l'autre. L'obligation absolue de ne lever qu'une des deux herses à la fois était une sécurité de plus, et nous n'avons vu ce système adopté que dans cet ouvrage.

Mais il est nécessaire d'examiner en détail le mécanisme des ponts et des herses.

En A (fig. 14), nous donnons le plan de la chambre de levage des herses au niveau a de la coupe, et en B, le plan de la plate-forme de levage du pont, au niveau b de la même coupe. On observera d'abord que l'intervalle qui sépare les deux tours, et qui couvre l'entrée, donne en plan une portion de cercle. Deux consoles c forment saillie sur cette portion de cylindre et portaient un hourd de bois d, dont il existe en place des fragments. Ce hourd était posé sur deux pièces de bois horizontales e, et consistait en un empilage d'épais madriers courbes figurés en E dans la coupe. De chaque côté, sur les flancs des tours, étaient fixées deux poulies F destinées à diriger les deux chaînes du pont et à les empêcher de frotter, soit contre le hourd, soit contre la maçonnerie. Au-dessus de ces poulies, en G, les chaînes se partageaient en deux branches: l'une, celle H, allait s'enrouler sur le treuil T, au moyen de la poulie de renvoi h; l'autre, celle I, était tendue par un contre-poids K. En appuyant sur le treuil de fen g, on enroulait la chaîne et l'on soulevait le pont. Cette manoeuvre était facilitée par les contre-poids K. Lorsque ce contre-poids était descendu en l, le pont était complétement relevé. Pour l'abaisser, on appuyait sur le treuil en sens inverse. Sur le plan B est indiquée la position du treuil, et par des lignes ponctuées la projection horizontale des chaînes; la ferme de charpente M étant posée en m sur ce plan. Un deuxième mâchicoulis existait en p. Pour manoeuvrer les deux herses, il était posé à droite et à gauche deux solives jumelles n (voy. le plan B) sur les traverses q (voy. la coupe), reposant elles-mêmes sur les deux épaulements s (voy. le plan A). Ces solives jumelles recevaient chacune deux poulies doubles t t' destinées à recevoir, celle t, les deux chaînes de levage et de contre-poids de la herse extérieure; celle t', les deux chaînes de levage et de contre-poids de la herse intérieure. La coupe fait voir le treuil V, avec la chaîne de levage de la herse intérieure accrochée et la herse O levée, son contre-poids étant par conséquent descendu; la chaîne de levage de la herse extérieure décrochée, celle-ci abaissée et son contre-poids R à son point supérieur, les deux chaînes de levage s'enroulaient sur le treuil en X (voy. le plan A), et les manivelles étaient fixées en Y. Aujourd'hui la construction étant conservée jusqu'au niveau N, les scellements, les corbeaux sont visibles, et pour la partie supérieure nous avons retrouvé les fragments qui en indiquent suffisamment les détails.

Il n'y a rien, dans ce mécanisme, qui ne soit très-primitif; mais ce qu'il est important de remarquer ici, ce sont les dispositions si parfaitement appropriées au besoin, et conservant par cela même un aspect monumental, qui certes n'a point été cherché. Il est évident que les architectes auteurs de pareils ouvrages étaient des gens subtils et réfléchissant mûrement à ce qu'ils avaient à faire. Sur tous les points, les passages, les issues, sont disposés exactement en vue du service de la défense, n'ont que les largeurs et hauteurs nécessaires, et l'architecture n'est bien ici que l'expression exacte du programme. Cependant, à l'extérieur, l'aspect de cette défense est imposant, et rappelle sous une autre forme ces belles constructions antiques des populations primitives.

La figure 15 donne l'élévation extérieure de la porte de Laon, à Coucy, les ponts étant supposés abattus et les herses levées. Les hourds de bois de cet ouvrage étaient évidemment permanents et portés sur des consoles de pierre, comme ceux du donjon du château.

Toute la maçonnerie est élevée en assises de pierres calcaires du bassin de l'Aisne, d'une excellente qualité. Parementées grossièrement, ces assises sont séparées par des joints de mortier épais, et l'aspect rude de ces parements ajoute encore à l'effet de cette structure grandiose. Quand on compare ces ouvrages de Coucy, le donjon, le château, la porte de Laon, les remparts et les tours, aux travaux analogues élevés vers la même époque en Italie, en Allemagne et en Angleterre, c'est alors qu'on peut reconnaître chez nous la main d'un peuple puissant, doué d'une séve et d'une énergie rares, et qu'on se demande, non sans quelque tristesse, comment il se fait que ces belles et nobles qualités soient méconnues, et qu'un esprit étroit et exclusif ait pu parvenir à répudier de pareilles oeuvres en les rejetant dans les limbes de la barbarie?

Une coupe transversale, faite sur l'axe des tours, sur les passages ouverts sur le mâchicoulis et sur la chambre du levage des herses (fig. 16), montre l'intérieur des salles circulaires de ces tours, les passages A sur le chemin de ronde des courtines, la coupe B des hourds et tout le système de la défense à l'intérieur.

Une dernière figure complétera cet ensemble, sur lequel on pourrait publier un volume: c'est l'élévation de la face intérieure de la porte du côté de la ville (fig. 17). L'arcade large, à doubles claveaux, qui donne entrée dans le passage, est d'un effet grandiose. La grande salle du premier étage est bien accusée par ces cinq fenêtres carrées à meneaux, et les deux échauguettes d'angle épaulent de la façon la plus heureuse cette structure si simple.

Cette façade, crénelée à son sommet, fait assez voir que les portes des places bien défendues pouvaient à la rigueur tenir lieu de petites citadelles et se défendre au besoin contre les citoyens qui eussent voulu capituler malgré la garnison. Alors la porte est toujours un poste isolé, commandé par un chef sûr, et pouvant encore résister en cas de trahison ou d'escalade du rempart. Nous faisons ressortir, à l'article ARCHITECTURE MILITAIRE, l'importance de ces postes isolés dans le système défensif du moyen âge, et il ne paraît pas nécessaire de revenir ici sur ce sujet.

Laissant de côté, pour le moment, des ouvrages d'une moindre importance, mais de la même époque, c'est-à-dire du commencement du XIIIe siècle, nous allons examiner comment, dans l'espace d'un siècle, ces dispositions avaient pu être modifiées dans la construction de portes d'une force semblable.

Sur le flanc oriental de la cité de Carcassonne, il existe une porte défendue d'une manière formidable, et désignée sous le nom de porte Narbonnaise 255. Cette porte et tout l'ouvrage qui s'y rattache avaient été bâtis par Philippe le Hardi, vers 1285, lorsque ce prince était en guerre avec le roi d'Aragon.

Nous présentons (fig. 18) le plan général de cette entrée, avec sa barbacane et ses défenses environnantes 256. La porte Narbonnaise, indiquée en E, n'est pas munie d'un pont-levis; elle s'ouvre sur le dehors de plain-pied, suivant une pente assez roide de l'extérieur à l'intérieur et d'après la méthode défensive de ces ouvrages. Les ponts mobiles n'existaient qu'en B, sur des piles traversant un large fossé en dehors de la barbacane A. L'arrivant, ayant traversé ce pont, se présentait obliquement devant la première entrée C de la barbacane, fermée seulement par des vantaux. Cette entrée C était flanquée pnr un redan D de l'enceinte extérieure, qui la commandait complétement. Un autre redan L, avec forte échauguette sur le rempart intérieur, commandait en outre, à portée d'arbalète, cette entrée C 257. Se détournant vers sa gauche, l'arrivant se trouvait en face de la porte Narbonnaise, défendue par une chaîne, un mâchicoulis, une herse, des vantaux, un grand mâchicoulis intérieur G, un troisième mâchicoulis I, une seconde herse et une porte de bois. Deux meurtrières H sont percées sur le passage entre les deux herses, et dépendent de deux salles à rez-de-chaussée F, dans lesquelles on entre par les portes V. Ces salles sont encore percées chacune de cinq meurtrières. La partie attaquable des tours de la porte est renforcée par des éperons ou becs N, percés chacun d'une meurtrière O. Nous avons expliqué ailleurs 258 la destination spéciale de ces éperons ou becs. Ils obligeaient l'assaillant à s'éloigner de la tangente, et le plaçaient sous les traits des assiégés. Ils rendaient nulle l'action du bélier sur le seul point où l'assiégeant pouvait le faire agir avec succès. Percer la pointe de ces becs par des meurtrières au ras du sol extérieur, était encore un moyen d'empêcher l'attaque rapprochée.

Des salles F, on prenait deux escaliers à vis qui montaient au premier étage, d'où se faisait la manoeuvre des herses. Sous ces salles sont pratiqués de beaux caveaux pour les provisions.

Des palissades de bois P empêchaient le libre parcours des lices entre les remparts extérieur et intérieur, et ne permettaient pas d'approcher du pied des courtines intérieures en M et en K. Les rondes seules pouvaient passer par les barrières N, afin de faire leur service de nuit. Une énorme tour, indiquée au bas de notre figure, et dite tour du Trésau 259, commandait ces lices, et servait encore d'appui à la porte Narbonnaise en battant les dehors par-dessus l'enceinte extérieure.

La figure 19 donne le plan du premier étage de la porte Narbonnaise. Les deux escaliers à vis que nous avons vus indiqués à rez-de-chaussée débouchent dans les deux salles A. Ces deux salles, voûtées comme celles du rez-de-chaussée, possèdent une cheminée C chacune, avec four. De ces deux salles on peut sortir par les deux portes B, sur le chemin de ronde D, s'élevant jusqu'au niveau des coursières E des courtines, par de grands emmarchements. Par les deux passages G on entre de plain-pied dans la salle centrale F, au milieu de laquelle s'ouvre le grand mâchicoulis carré I. En supposant que les assaillants aient pu pénétrer jusqu'à la seconde herse, en forçant les premiers obstacles, on pouvait les accabler de projectiles et de matières enflammées; les défenseurs chargés de cet office se tenaient en arrière dans les deux réduits K, et étaient ainsi parfaitement à l'abri des traits qui auraient pu être lancés par les ennemis, ou soustraits à la fumée et aux flammes des matières accumulées dans le passage. Par les deux couloirs détournés L, les assiégés se rendaient au côté du mâchicoulis antérieur M. De cette salle F, on manoeuvrait la première herse N et l'on servait le troisième mâchicoulis O. En continuant à monter les escaliers H, au-dessus du premier étage, on ne débouche nulle part et l'on arrive à un précipice; de telle sorte que des assaillants ayant pu pénétrer dans ces escaliers à rez-de-chaussée, trouvant les portes fermées et barrées au premier étage et continuant à gravir les degrés comme pour atteindre l'étage supérieur, se trouvaient pris dans une véritable souricière. Pour monter au deuxième étage, celui de la défense, il faut traverser les salles A, et aller chercher les escaliers à vis R qui seuls montent aux crénelages. Pour servir la seconde herse, il fallait franchir les portes B et se rendre sur la plate-forme P. Les servants de cette seconde herse recevaient des ordres du dedans par une petite fenêtre percée au-dessus des mâchicoulis O. Les deux salles A sont percées, sur les dehors, l'une de trois meurtrières, l'autre de quatre, et éclairées du côté de la ville par deux fenêtres. Cette description fait assez connaître le soin minutieux apporté dans l'établissement de cette porte. Mais la coupe longitudinale faite sur ab, que nous présentons (fig. 20), rendra encore cette description plus claire.

Cette coupe nous montre en A la chaîne suspendue d'un côté de la porte à un anneau scellé au flanc de la tour, passant dans l'autre tour par un orifice et retenue par une barre à l'intérieur, lorsqu'on voulait la tendre. La chaîne était un obstacle que l'on apportait en temps ordinaire, lorsque les herses étaient levées et les vantaux ouverts, à une troupe de cavalerie qui aurait voulu se jeter dans la ville. Même en temps de paix on craignait et l'on avait lieu de craindre les surprises. En H, est le premier mâchicoulis percé en avant de la herse et figuré dans le plan du premier étage en M. En C, coule la première herse, servie dans la chambre carrée centrale. En D, est la première porte de bois, à un vantail, ferrée, barrée, ainsi que le fait voir la figure. En E, la meurtrière commandant le passage, et au-dessus le grand mâchicoulis carré, central, avec l'un des réduits décrits dans la figure précédente. En F, le troisième mâchicoulis percé en avant de la deuxième herse; en G, cette seconde herse, manoeuvrée du dehors et abritée par un auvent P. Enfin en H, les derniers vantaux. De la salle du deuxième étage, par l'oeil I, on pouvait commander la manoeuvre des herses; car il ne faut pas oublier que le commandement se faisait toujours du haut. Un formidable système de mâchicoulis doubles en bois et de hourds, défendait en outre, en temps de guerre, les approches de la porte. Les scellements de cet ouvrage de charpenterie sont aujourd'hui parfaitement visibles. En cas de siége, on établissait donc en avant du mâchicoulis H un double hourdage, avec premier mâchicoulis K et second mâchicoulis L. Ce double hourd était couvert et crénelé d'archères. Il formait un auvent au-dessus d'une niche dans laquelle est placée une fort jolie statue de la sainte Vierge. On ne pouvait descendre dans ce double hourd que par la haie N et des échelles; de telle sorte que si ces hourds étaient pris par escalade, ou brûlés, l'assaillant n'était pas pour cela maître de la défense. Dans la partie supérieure, nous avons figuré les hourds posés. Toute la défense active s'organisait à l'étage supérieur M, l'étage O ne servant que de dépôt et de salle de réunion pour la garnison. Cette salle O est largement éclairée par de belles fenêtres 260 du côté de la ville.

Nous donnons (fig. 21) le plan de l'étage M supérieur, dont le plancher était de bois. En WN, sont les chemins de ronde de la défense, et en X une partie des hourds en place 261.

La figure 22 présente l'élévation extérieure de la porte Narbonnaise, avec son grand hourdage de bois au-dessus de l'entrée et les hourds de couronnement posés sur la tour et la courtine de droite. La tour de gauche est présentée avec ses créneaux à volets, en temps de paix 262. Toute la maçonnerie de cet ouvrage est entièrement élevée en belles pierres de grès, gris verdâtre, d'une bonne qualité. Les assises sont ciselées sur les arêtes des lits et joints avec bossage brut sur la face; les lits, très-bien dressés et posés sur couche de mortier excellent, ont 0m,01 d'épaisseur en moyenne. L'aspect extérieur et intérieur de cette porte est des plus imposants et les salles intérieures admirablement construites avec beaux parements layés. Il ne manquait à cette construction, pour être complète, que les combles, qui ont été rétablis depuis peu, sous la direction de la commission des monuments historiques 263.

Avant de quitter cet édifice si remarquable à tous égards, il est nécessaire de rendre compte du jeu des herses, parfaitement visible encore.

Nous prenons pour exemple la seconde herse, celle qui est manoeuvrée extérieurement sur le chemin de ronde du côté de la ville (fig. 23). En A, la herse est supposée levée. En a, sont les trous de scellement des deux jambettes du treuil figuré en a' dans la coupe C. On voit encore en place les deux gros pitons b dans lesquels était enfilée une barre de fer ronde qui était destinée à maintenir les contre-poids c, lorsqu'ils étaient abaissés. En outre, deux cales e, figurées en e', dans la coupe, et entrant dans deux trous disposés à cet effet, soutenaient la herse levée. Les scellements des deux pièces de bois f qui étaient destinées à supporter les poulies sont intacts. Lorsqu'on voulait baisser la herse (voyez en B), on appuyait un peu sur le treuil de manière à enlever facilement les cales e et à faire glisser la barrette de fer passant dans les pitons b; puis on laissait aller, en lâchant, sur les deux manivelles du treuil. La herse tombée, on décrochait les deux barres de fer g, et on laissait entrer leurs oeils h dans deux goujons de fer encore scellés dans la muraille. Ainsi devenait-il impossible, du bas, de soulever la herse. Deux grands crochets de fer scellés en l supportaient une traverse de bois à laquelle était suspendu l'appentis tracé dans la coupe (fig. 20), et dans laquelle venaient s'assembler les pièces de charpente f. Les contre-poids rendaient la manoeuvre facile à deux hommes appuyant sur le treuil. Voulait-on relever la herse, on faisait sortir les oeils h des barres d'arrêt g de leurs goujons, on accrochait ces barres aux mailles de la chaîne, et l'on appuyait sur le treuil. Cette manoeuvre était simple et rapide. La première herse s'enlevait par les mêmes moyens. Il s'agissait seulement d'avoir des contre-poids bien équilibrés, de façon à empêcher la herse de gauchir au levage ou à la descente.

Il ne paraît pas que cet ouvrage ait jamais été attaqué, et depuis l'époque de sa construction, l'histoire ne signale aucun siége en règle de la cité de Carcassonne, bien qu'à plusieurs reprises le pays ait été envahi, soit par les troupes du prince Noir, soit par les troupes de l'Aragon, soit dans des temps de guerres civiles. C'est qu'en effet, avec les moyens d'attaque dont on disposait au moyen âge, la cité était une place imprenable, et la porte Narbonnaise, la seule accessible aux charrois, eût pu défier toutes les attaques.

Lorsqu'on visite cette porte dans tous ses détails, outre la beauté de la construction, la grandeur des dispositions intérieures, on est émerveillé du soin apporté par l'architecte dans chaque partie de la défense. Rien de superflu, aucune forme qui ne soit prescrite par les besoins; tout est raisonné, étudié, appliqué à l'objet. Nous ne connaissons aucun édifice qui ait un aspect plus grandiose que cette large façade plate donnant du côté de la ville. Ce n'est qu'un mur percé de fenêtres et de meurtrières; mais cela est si bien construit, cela prend un si grand air, qu'on ne peut se lasser d'admirer, et qu'on se demande si la scrupuleuse observation des nécessités en architecture n'est pas un des moyens les plus puissants de produire de l'effet.

Le mode d'attaque des places devait nécessairement influer sur les dispositions données aux portes fortifiées. Lorsque les armées assiégeantes n'avaient pas encore adopté des moyens réguliers, méthodiques, pour s'emparer des places, il est clair que leurs efforts devaient se porter sur les issues. La première idée qui venait au commandant d'une armée assiégeante, dans des temps où l'on ne possédait pas des moyens destructifs organisés, était naturellement d'entrer dans la place assiégée par les portes, et de concentrer tous ses moyens d'attaque sur ces points faibles; aussi, par contre, les assiégés apportaient-ils alors à la défense de ces portes un soin minutieux, accumulaient-ils sur ces points tous les obstacles, toutes les ressources que leur suggérait leur esprit subtil. Cependant, déjà vers la fin du XIIe siècle, Philippe-Auguste avait su faire des siéges réguliers, conduits avec méthode et à l'instar de ce que faisaient les Romains en pareil cas. Pendant le XIIIe siècle, quelques siéges bien conduits indiquent que l'art d'attaquer les places se maintenait au point où Philippe-Auguste l'avait amené 264; mais les progrès sont peu sensibles, tandis que l'art de la défense se perfectionne d'une manière remarquable. À la fin du XIIIe siècle, la défense des places avait acquis une supériorité évidente sur l'attaque, et lorsque les places sont bien munies, bien fortifiées, elles ne peuvent être réduites que par un blocus étroit. Mais dès le commencement du XIVe siècle, les engins s'étant très-perfectionnés, les armées agissant avec plus de méthode et d'ensemble, on voit apparaître dans l'art de la fortification des modifications importantes. D'abord les ouvrages de bois, qui occupent une si large place dans les forteresses jusqu'alors, disparaissent; et en effet, à l'aide d'engins puissants, surtout après l'expérience acquise en Orient pendant les dernières croisades, on mettait le feu à ces hourds, si bien garnis qu'ils fussent de peaux fraîches ou de feutres mouillés. On renonça donc d'abord aux hourds de bois mobiles, établis seulement en temps de guerre, et on les remplaça par des hourds de pierre, des mâchicoulis 265. Puis les perfectionnements apportés dans l'attaque étaient assez notables pour qu'on ne s'attachât plus à forcer les portes; on pratiquait des galeries de mine, on affouillait les fondations des tours, on les étançonnait avec du bois, et en mettant le feu à ces soutiens, on faisait tomber des ouvrages entiers. On possédait des engins destructifs assez puissants pour battre en brèche des points saillants, ou pour jeter dans une place une si grande quantité de projectiles de toutes sortes, des matières enflammées, infectantes, qu'on la rendait inhabitable. Dès lors la défense des portes prenait moins d'importance. Il ne s'agissait plus que de les mettre à l'abri d'un coup de main, de les bien flanquer et de leur donner assez de largeur pour qu'une troupe pût rentrer facilement après, une sortie, ou prendre l'offensive en cas d'un échec essuyé par l'assiégeant.

Ces portes étroites et basses des XIIe et XIIIe siècles, si prodigieusement garnies d'obstacles, prennent de l'ampleur; les petites chicanes accumulées sous leurs passages disparaissent, mais en revanche les flanquements et les ouvrages avancés sont mieux et plus largement conçus; les défenses extérieures deviennent parfois ce qu'on appelait alors des bastilles, c'est-à-dire de véritables forteresses à cheval sur un passage.

Philippe le Bel fit élever, pendant les dernières années du XIIIe siècle, en face d'Avignon, une citadelle importante 266, ouverte par une seule porte, du côté accessible, c'est-à-dire au midi, en face de la petite ville de Villeneuve-lez-Avignon. Cette porte est flanquée de deux grosses tours couronnées de mâchicoulis. Son ouverture, au point le plus étroit, est de 4m,20, largeur inusitée pour les portes des XIIe et XIIIe siècles. Nous en donnons le plan à rez-de-chaussée (fig. 24).

Entre deux arcs en tiers-point, coule une première herse A, derrière laquelle, en B, roulait une porte à deux vantaux. En C, est un mâchicoulis, devant la seconde herse D, derrière laquelle également était suspendue une seconde porte à double vantail. Les mâchicoulis de couronnement défendent la première herse. On pénètre dans les deux tours par les portes E, fermées par des vantaux à coulisse, manoeuvrés des salles du premier étage. Les deux herses A et D se manoeuvraient d'une salle voûtée située directement au-dessus du passage; deux escaliers à vis montent du rez-de-chaussée aux salles du premier et à la plate-forme supérieure, qui est dallée sur voûtes. Sur cette plate-forme, au-dessus de la salle de manoeuvre des herses, s'élève un châtelet carré voûté en berceau, sur la plate-forme dallée duquel on arrivait par une échelle de meunier passant par une trappe ménagée au centre du berceau. Dans cette construction tout ouvrage de charpenterie avait été exclu, afin de soustraire cette défense aux chances d'incendie. La construction est traitée avec un soin extrême; élevée en excellente pierre de Villeneuve, par assises réglées de 0m,27 de hauteur, elle n'a subi aucune altération. Les voûtes sont faites avec la plus grande perfection, épaisses, bien garnies dans les reins par une maçonnerie excellente. Les deux escaliers à vis donnent dans des chambres, cachots et latrines, placés dans les épaulements qui réunissent ces tours aux deux courtines voisines. Sur le flanc de l'épaulement de gauche, on voit l'une de ces descentes de latrines, tombant sur les dehors. Un pont-levis, d'une époque plus récente, avait été disposé en avant de la première herse. Les abords de cette porte étaient primitivement défendus par un ouvrage avancé, sorte de barbacane qui est représentée dans la figure 25, donnant l'élévation extérieure de la porte de Villeneuve-lez-Avignon.

Cette élévation fait voir, au centre, le châtelet carré qui surmonte la plate-forme et les couronnements crénelés des escaliers à vis qui, à droite et à gauche, servaient de guette et complétaient la défense des deux pans coupés. Le châtelet, par sa position dominante, commandait les abords et pouvait recevoir un ou deux engins à longue portée. Des engins, pierriers, mangonneaux, pouvaient également être dressés sur les plates-formes dallées des tours. Par la suppression des combles en charpente on évitait donc les incendies, et l'on rendait, par l'installation des machines de jet, les approches plus difficiles; car ces engins remplissaient alors l'office de nos pièces de rempart. Tout porte à croire que les deux pans coupés qui unissent les tours aux courtines étaient principalement destinés à recevoir de ces formidables machines qui, dans cette position, battaient les assaillants qui eussent voulu s'approcher de la porte par les flancs des deux tours. C'était ainsi, en effet, qu'on attaquait les portes pendant les siéges, depuis le XIIe siècle. Les assiégeants se gardaient de se présenter en face de ces portes, toujours munies sur leur front. Ils formaient leur attaque, suivant une ligne oblique, en se couvrant par des mantelets, des épaulements et des galeries de bois, contre les projectiles des courtines; laissant les barbacanes dont ils occupaient les défenseurs par des attaques rapprochées, ils les prenaient latéralement, et arrivaient ainsi à la base des tours des portes, au point le plus difficile à défendre 267. C'était en prévision de ce genre d'attaque que les constructeurs militaires faisaient ces becs saillants, ces éperons renforçant les tours des portes au point attaquable et obligeant l'assaillant à s'éloigner de la tangente; mais dès l'instant que l'on pouvait munir les couronnements des tours de machines de jet à longue portée, ce moyen de défense rapprochée devenait superflu.

Une coupe faite suivant l'axe du passage de la porte de Villeneuve-lez-Avignon (fig. 26), complétera l'intelligence de ce bel ouvrage d'un aspect vraiment imposant. Cette coupe B indique la coulisse de la première herse en C, les premiers vantaux en f, la coulisse de la seconde herse en D et les seconds vantaux en e. On observera que, conformément à l'usage admis, autant que la configuration du terrain le permettait, le sol du passage s'élève de l'extérieur à l'intérieur. Au-dessus du passage, se voit la chambre de manoeuvre des deux herses, et au-dessus de cette salle le châtelet supérieur, surmonté d'un engin à longue portée. Devant la seconde herse D, s'ouvre un mâchicoulis. La figure A donne la coupe transversale du passage fait sur ab en regardant du côté de l'entrée. En E, sont encore scellés les trois anneaux de fer, de 0m,25 de diamètre, qui servaient à suspendre les poulies nécessaires à la manoeuvre des chaînes de la première herse.

Mais la place de Villeneuve-lez-Avignon est située sur une colline de roches abruptes, et sa porte s'ouvre en face d'un contre-fort descendant vers la plaine. Dans une pareille situation, il n'est besoin ni de fossés, ni d'ouvrages avancés très-forts, car l'assiette du lieu offre déjà un obstacle difficile à vaincre. La circulation des allants et venants se borne à des sorties et à des rentrées d'une garnison. La porte que nous venons de présenter ci-dessus est donc plutôt l'entrée d'un château que d'une ville populeuse et dont les issues doivent être laissées libres tout le jour. Les portes de la ville d'Avignon étaient bien, au XIVe siècle, des ouvrages disposés pour une cité fortifiée, mais contenant une population nombreuse et active.

Les remparts d'Avignon furent élevés de 1348 à 1364. Ils étaient percés, soit du côté du Rhône, soit du côté de la plaine, de plusieurs portes, parmi lesquelles nous choisirons la porte Saint-Lazare, l'une des mieux conservées et sur laquelle nous possédons des documents complets 268.

La porte Saint-Lazare d'Avignon fut détruite, ou du moins fort endommagée par une inondation formidable de la Durance en 1358. Elle fut reconstruite sous Urbain V, vers 1364, avec toute la partie des remparts qui s'étend de cette porte au rocher des Doms, par l'un des architectes du palais des Papes, Pierre Obreri, si l'on en croit la tradition.

Voici (fig. 27) le plan général de cette porte, avec le châtelet qui la couvrait. Il ne reste plus aujourd'hui de ces constructions que la porte A et les soubassements d'une partie du châtelet, mais des dessins complets des ouvrages avancés nous sont conservés 269.

Les arrivants se présentaient par une voie B sur le flanc du châtelet; ils devaient franchir un premier pont-levis C, traverser l'esplanade du châtelet diagonalement, se faire ouvrir une barrière D; passer sur un second pont-levis E, entrer dans un ouvrage avancé F fermé par le pont-levis et défendu par deux échauguettes avec mâchicoulis; se présenter devant la porte protégée par une ligne de mâchicoulis supérieurs, par une herse et par un second mâchicoulis percé devant les vantaux. Le châtelet était complétement entouré par un fossé G rempli d'eau, de même que le grand fossé H protégeait les remparts. Ces fossés étaient alimentés par les cours d'eau naturels qui cernent la ville sur toute l'étendue des murailles ne faisant pas face au Rhône.

Trois tours peu élevées flanquaient le châtelet. On montait à l'étage supérieur de ces tours et aux crénelages des courtines par les escaliers K. Une vue cavalière (fig. 28), prise du point X de notre plan, fera saisir l'ensemble de cette porte avec ses défenses antérieures.

Les trois tours du châtelet étaient voûtées et couvertes par des plates-formes dallées à la hauteur du crénelage.

Il est facile de voir que le châtelet était ouvert à la gorge et commandé par l'avant-porte, de même que cette avant-porte était commandée par la tour carrée couronnant la dernière entrée. Cet ouvrage était donc déjà construit suivant cette règle de fortification, que ce qui défend doit être défendu.

La coupe longitudinale faite sur la porte A du plan et l'avant-porte (fig. 29) fait saisir les détails de cette défense. En B, est le pont-levis abaissé; en C, la porte qui conduit par un degré pris dans l'épaisseur de la muraille au crénelage de l'avant-porte; en D, la coulisse de la herse; en G, le mâchicoulis qui protége les vantaux H; en I, le passage couvert par un plancher. La herse se manoeuvrait du palier K, auquel on montait par un escalier L posé sur la saillie du mur inférieur; car il faut noter que le mur supérieur M est beaucoup moins épais que le mur du rez-de-chaussée. Cet escalier L servait d'ailleurs à dégager l'escalier marqué I sur le plan général, et qui aboutissait en retour à côté de l'arcade plein cintre portant le jeu de la herse. Du palier K, en prenant un escalier de bois, on montait à l'étage supérieur sous la couverture, et l'on entrait sur le chemin de ronde du crénelage par la porte P ménagée dans un tambour de pierre posé à l'angle du crénelage. Chacune des portes des remparts d'Avignon était munie d'une cloche, afin de pouvoir prévenir les défenseurs ou les habitants en cas d'attaque ou de surprise. Si nous faisons une section transversale sur la ligne ab de la figure 29 et du plan général, en regardant l'entrée de l'avant-porte, nous obtenons le tracé S. Le pont-levis étant relevé, son tablier fermait l'issue T, et ses bras, passant à travers les deux rainures V, ainsi qu'il est marqué en V' sur la coupe longitudinale, ne gênaient nullement la défense. Le créneau milieu, ses deux meurtrières, restaient libres, et les deux échauguettes latérales J flanquaient la porte. De la salle du premier étage de la tour on passait sur les chemins de ronde des courtines par les portes N. Du côté de la ville, un simple pan de bois Y percé de baies fermait les étages supérieurs de la tour.

La figure 30 donne, en A, la face de l'ouvrage avec l'avant-porte, et en B, la face de la tour, en faisant une section sur l'ouvrage avancé.

La porte Saint-Lazare d'Avignon est remarquable déjà par la simplicité des constructions. Ici on ne voit plus cette accumulation d'obstacles dont la disposition compliquée devait souvent embarasser les défenseurs. Les portes d'Avignon ne sont pas, il est vrai, très-fortes, mais elles ont bien le caractère qui convient à l'enceinte d'une grande ville. La porte Saint-Lazare, avec son boulevard ou barbacane extérieure, protégeait efficacement un corps de troupes voulant tenter une sortie ou étant obligé de battre en retraite. On pouvait, sur l'esplanade du boulevard, masser facilement cinq cents hommes, protéger leur sortie au moyen des flanquements que fournissaient les tours; et eussent-ils été repoussés, ils trouvaient dans cette enceinte un refuge assuré, sans que le désordre d'une retraite précipitée pût compromettre la défense principale, celle de la porte tenant aux courtines. Enfin, le boulevard fût-il tombé aux mains de l'assiégeant, les défenses étant ouvertes complétement du côté de la ville, les assiégés, au moyen surtout de l'avant-porte crénelée, pouvaient contraindre l'assaillant à se renfermer dans les trois tours rondes et à laisser l'esplanade et les courtines libres, ce qui facilitait un retour agressif.

La disposition des portes ouvertes à travers une simple tour carrée, sans flanquements, appartient plus particulièrement à la Provence. Il existait à Orange, à Marseille, et il existe encore à Carpentras, à Aigues-Mortes, des portes de la fin du XIIIe et du commencement du XIVe siècle, percées à travers des tours carrées sans échauguettes ou tourelles flanquantes; tandis que les ouvrages de ce genre qui appartiennent au domaine royal sont, sauf de très-rares exceptions, munis de tours rondes ou de flanquements prononcés.

La petite ville de Villeneuve-sur-Yonne possède encore une très-jolie porte du commencement du XIVe siècle, qui, par la disposition de ses flanquements, mérite d'être signalée entre beaucoup d'autres.

Cette porte, modifiée au XVIe siècle, dans sa partie supérieure, par de nouvelles toitures, laisse cependant voir toutes ses dispositions primitives. La figure 31 en donne le plan.

En A, était un pont-levis flanqué par deux tourelles angulaires formant éperons et pleines dans leur partie inférieure. En B, était un large mâchicoulis, bouché aujourd'hui, qui protégeait la première herse C. Des vantaux de bois fermaient le passage en E. En G, est la seconde herse précédée d'un second mâchicoulis, et en I une seconde paire de vantaux. On montait aux étages supérieurs de la porte et aux courtines par les deux escaliers extérieurs H. En P, se présentaient obliquement, à l'extérieur, deux grands mâchicoulis qui battaient le pont-levis et à travers lesquels passaient les chaînes servant à enlever le tablier. Le tracé M donne le plan de la partie supérieure de la porte. On voit les deux échauguettes flanquantes crénelées qui commandent le pont et les dehors; en N, les deux mâchicoulis obliques à travers lesquels passent les chaînes O du pont-levis; en S, le treuil servant à manoeuvrer les chaînes; en T, la défense supérieure dominant tout l'ouvrage.

La figure 32 présente l'élévation extérieure de la porte de Villeneuve-sur-Yonne. Cette élévation fait saisir la double fonction des mâchicoulis obliques. Toute cette construction est élevée en cailloux de meulière avec chaînes de pierre aux angles. Elle est bien traitée et les mortiers en sont excellents. C'est peut-être à la bonté de cette construction et au peu de valeur des matériaux que nous devons sa conservation.

Une coupe longitudinale faite sur la partie antérieure de la porte (fig. 33) fait voir la manoeuvre du pont-levis et son mécanisme. Des contre-poids, suspendus en arrière des deux longrines du tablier, facilitaient son relèvement, lorsqu'on appuyait sur le treuil T. La première herse abaissée, le mâchicoulis qui la protége était ouvert aux défenseurs. Dans cet exemple, comme dans tous ceux précédemment donnés, la défense n'agit que du sommet de la porte, et par la disposition des échauguettes et des grands mâchicoulis obliques, le fossé ainsi que les abords du pont pouvaient être couverts de projectiles.

On comprend qu'un pareil ouvrage, si peu étendu qu'il soit, devait être très-fort. D'ailleurs les courtines avaient un grand relief, et étaient renforcées sur le front opposé à la rivière par un gros donjon cylindrique qui existe encore. Toute l'enceinte de cette petite ville, si gracieusement plantée sur les bords de l'Yonne, n'était percée que de quatre portes semblables, deux sur les fronts d'amont et d'aval, et deux autres, l'une près du donjon, l'autre en face du pont jeté sur l'Yonne. Six tours cylindriques plantées aux angles formés par les courtines complétaient les défenses. Quant au donjon, il est séparé de la courtine, qui s'infléchit en demi-cercle pour lui faire place, par un fossé. Il ne se reliait au chemin de ronde que par un pont volant et était percé, vers les dehors, d'une poterne au niveau de la contrescarpe du fossé.

En 1374, le roi Charles V fit refaire l'enceinte de Paris sur la rive gauche, en reculant les murs fort au delà des limites établies sous Philippe-Auguste. Cette nouvelle enceinte suivait à peu près la ligne actuelle des boulevards intérieurs et était percée de six portes, qui étaient, en partant d'amont, les portes Saint-Antoine, du Temple, Saint-Martin, Saint-Denis, Montmartre, Saint-Honoré. La plupart de ces portes étaient établies sur plan carré ou barlong avec tourelles flanquantes. L'une des plus importantes, et dont il nous reste des gravures, était la porte Saint-Denis 270. «Nos roys, dit Du Breul 271, faisans leurs premières entrées dans Paris, entrent par cette porte, qui est ornée d'un riche avant-portail, où se voyent par admiration diverses statues et figures qui sont faictes et dressées exprès, avec plusieurs vers et sentences pour explications d'icelles... C'est aussi par cette porte que les corps des défuncts rois sortent pour être portez en pompes funèbres à Saint-Denys en France...» La porte Saint-Denis de Paris était bâtie fort en saillie sur les courtines et formait un véritable châtelet, dans lequel on pouvait faire loger un corps de troupes. En 1413, le duc de Bourgogne se présenta devant Paris vers Saint-Denis, dans l'intention, disait-il, de parler au roi; mais, dit le Journal d'un bourgeois de Paris sous le règne de Charles VI 272, «on lui ferma les portes, et furent murées, comme autreffois avoit esté, avecques ce très grant foison de gens d'armes les gardoient jour et nuyt...»

Et en effet, la plupart de ces portes furent murées plusieurs fois pendant les guerres des Armagnacs et Bourguignons. Ainsi, à cette époque encore, au commencement du XVe siècle, on ne se fiait pas tellement aux fermetures ordinaires des portes de villes qu'on ne se crût obligé de les murer en cas de siége. Il faut dire que ce moyen était particulièrement adopté lorsqu'on craignait quelque trahison de la part des habitants. Alors les portes devenaient des bastilles, des forts, permettant de réunir des postes nombreux sur l'étendue des remparts.

Les portes bâties à Paris sous Charles V se prêtaient parfaitement à ce service, ainsi qu'on peut le reconnaître en examinant la vue cavalière que nous donnons de la porte de Saint-Denis (fig. 34).

La grande saillie que présentait cet ouvrage sur les courtines donnait un bon flanquement pour l'époque, et avait permis l'établissement d'une fausse braie, avec petit fossé intérieur entre ces courtines et le large fossé qui était alimenté par des cours d'eau, aujourd'hui en partie perdus sous les constructions modernes de la ville 273.

Cette porte fut restaurée ou plutôt modifiée au XVIe siècle. Les crénelages supérieurs furent remplacés par des parapets destinés à recevoir de l'artillerie. Elle fut démolie sous Louis XIV, pour être remplacée par l'arc triomphal qui existe encore aujourd'hui et qui se reliait à un système de courtines et de bastions non revêtus.

Notre vue cavalière fait voir la petite cour intérieure, qui était nécessairement entourée de meurtrières au premier étage, de façon à couvrir de projectiles les assaillants qui auraient pu forcer le pont-levis. Le premier étage contenait ainsi des salles sur les quatre côtés de la cour, pouvant renfermer une assez nombreuse garnison. Deux escaliers pratiqués dans les tourelles en arrière-corps desservaient ces salles et l'étage supérieur crénelé, couvert en terrasse. Probablement les arcades latérales étaient percées de larges mâchicoulis, et dans leurs murs de fond donnant sur la cour s'ouvraient des meurtrières enfilant l'intervalle entre la fausse braie et la courtine.

En dehors, des barrières et palissades défendaient les approches du ponceau 274, protégé lui-même par un crénelage et deux échauguettes.

Comme tous les ouvrages élevés à Paris pendant le moyen âge, ces portes étaient bien exécutées en maçonnerie revêtue de pierres de taille, et possédaient ce caractère grandiose, monumental, qui indiquait la grande ville.

Cette enceinte, percée de belles portes, s'appuyait à l'est sur la Bastille, construite en même temps, mais achevée seulement au commencement du règne de Charles VI 275.

Vers le commencement du XVe siècle, l'art de la fortification des places tendait à se modifier. Du Guesclin avait pris de vive force un si grand nombre de places sans recourir à la méthode régulière des siéges, que l'on devait chercher dorénavant à éloigner les assaillants par des ouvrages avancés étendus, particulièrement en dehors des portes; ouvrages qui formaient de larges boulevards quelquefois reliés entre eux par des caponnières en terre ou de simples palissades. On reconnaissait, au moment où l'artillerie à feu commençait à jouer un rôle dans les siéges, qu'il était important de couvrir les approches des portes par des terrassements ou des murs épais, peu élevés, commandés par les courtines et les tours.

Il existe encore à Nevers une belle porte de la fin du XIVe siècle ou des premières années du XVe, qui possède les restes très-apparents du grand ouvrage avancé qui la protégeait. La porte du Croux (c'est ainsi qu'on la nomme) se compose (fig. 35) d'un boulevard A, avec épaisse muraille basse B sur les chemins de ronde, de laquelle on montait par un escalier C, pris dans l'épaisseur d'un mur de contre-garde D, qui flanque la porte extérieure E, protégée par un fossé F et fermée par un pont-levis. Cette première entrée était enfilée par la courtine D'. Un corps de troupes pouvait être massé dans l'espace A, qui avait à peu près la forme d'un bastion et qui n'était mis en communication directe avec le chemin G que par la poterne H. Si l'assaillant parvenait à forcer la première porte E, il se trouvait pris en flanc par les défenseurs logés en A. Peut-être existait-il autrefois un pont volant mettant le boulevard A en communication avec les remparts de la ville. L'espace I n'était qu'une berge, et en K était creusé le fossé entourant les murs de la place. La porte L, peu étendue, flanquait les épaisses courtines M. Elle était fermée par des ponts-levis et des vantaux en P. Outre l'issue destinée aux chariots, cette défense possède une poterne latérale, avec petit pont-levis particulier, suivant un usage généralement admis depuis le XIVe siècle. Le couloir de cette poterne, détourné, bien que permettant le jeu du bras du petit pont-levis, était mis en communication avec la ville par la porte R, et avec le grand passage charretier par la porte S. Des barres étaient encore placées en T, de sorte que si l'on voulait faire entrer des piétons ou une ronde dans la ville, on abaissait seulement le pont-levis de la poterne, et ces gens devaient se faire reconnaître par la garde postée en L avant de pouvoir pénétrer dans la cité. Le couloir de la poterne, par sa configuration irrégulière, rendait le passage des piétons plus difficile, et faisait que, toutes les petites portes étant ouvertes, un homme placé sur le pont-levis ne pouvait voir ce qui se passait au delà de la défense, dans l'intérieur de la ville. On arrivait au premier étage de la porte par l'escalier O, et de ce premier étage aux crénelages et mâchicoulis supérieurs par un escalier intérieur de bois.

La figure 36 donne l'élévation extérieure de l'ouvrage principal. On voit, dans cette élévation, les deux rainures du grand pont-levis et celle unique du pont-levis de la poterne. Les faces de la tour sont défendues, sur les trois côtés extérieurs, par des mâchicoulis crénelés, et les angles par deux échauguettes dont le sol est un peu relevé au-dessus de celui des mâchicoulis. Ceux-ci ne se composent que de consoles de pierre avec mur mince crénelé posé sur leur extrémité. Des planches placées sur les consoles permettaient aux défenseurs de se servir des créneaux et meurtrières, et de jeter des pierres, entre ces consoles, sur les assaillants.

Nous allons indiquer quels étaient la disposition et le mécanisme de ces ponts-levis des XIVe et XVe siècles. Soit (fig. 37) une porte d'une largeur et d'une hauteur suffisantes pour permettre le passage des cavaliers et des chariots, c'est-à-dire ayant environ, suivant l'usage admis au XIVe siècle, 3m,50 de hauteur sur 3m,50 de largeur. Cette porte est présentée en A vue extérieurement, et en B vue intérieurement, suivant une coupe transversale faite sur le passage. En C, est l'une des rainures du pont-levis telle qu'elle se montre sur le dehors, et en C', masquée par le parement intérieur de la salle du premier étage. Le plan D fait au niveau ab explique la position de ces rainures. Sur les élévations A, B, le pont-levis est supposé abaissé. La coupe longitudinale G explique le jeu du pont-levis. Celui-ci est relevé en appuyant sur les chaînes E; alors la partie postérieure F des bras I, entraînée par des poids, tombe en F', après avoir décrit un arc de cercle, et les bras I viennent se loger en I'. Le tablier K, en décrivant un arc de cercle sur ses tourillons, s'élève en K' et bouche l'entrée; les bras étant en retraite, les chaînes se tendent suivant un angle, et obligent ainsi le tablier à s'appuyer sur les montants et l'arc de la porte. Il faut, bien entendu, que la longueur des chaînes soit calculée pour obtenir ce résultat et pour laisser aux bras une inclinaison qui facilite le premier effort de relèvement. Le tablier est composé d'un châssis de fortes solives avec croix de Saint-André, sur lesquelles sont cloués les madriers. Une autre croix de Saint-André et des traverses rendent solidaires les deux bras à l'intérieur.

En L, nous montrons l'un des tourillons des bras, et en M l'entaille ferrée dans la pierre, destinée à recevoir ces tourillons.

On a de nos jours rendu la manoeuvre des ponts-levis plus facile et plus sûre, au moyen de treuils, de poulies avec chaînes à la Vaucanson, mais le principe est resté le même.

Les ponts-levis des poternes se relevaient au moyen d'un seul bras, à l'extrémité extérieure duquel était suspendue une fourche de fer recevant les deux chaînes. Mais nous aurons l'occasion de parler de ces ponts-levis en nous occupant spécialement des poternes 276.

L'emploi de l'artillerie à feu contre les places fortes obligea de modifier quelques-unes des dispositions défensives des portes dès le XVe siècle: mais alors l'artillerie de siége était difficilement transportable 277, et le plus souvent les armées assiégeantes n'avaient que des pièces de petit calibre; ou bien si elles parvenaient à mettre en batterie des bombardes d'un calibre très-fort, ces sortes de pièces n'envoyaient que des boulets de pierre en bombe, comme les engins à contre-poids. Si ces gros projectiles, en passant par-dessus les murailles d'une place assiégée, pouvaient causer des dommages, ils ne faisaient pas brèche et rebondissaient sur les parements des tours et courtines, pour peu que les maçonneries fussent épaisses et bien faites. Les ingénieurs militaires ne se préoccupaient donc que médiocrement de modifier l'ancien système défensif, quant aux dispositions d'ensemble, et n'avaient guère apporté de changements que dans les crénelages, afin de pouvoir y poster des arquebusiers. Nous avons un exemple de ces changements dans une des portes antérieures de la petite ville de Flavigny (Côte-d'Or).

Cette porte (fig. 38) est encore flanquée de deux tours cylindriques percées de meurtrières à la base, à mi-hauteur et au sommet. Ces meurtrières, faites pour de très-petites bouches à feu, sont circulaires. La porte elle-même, ainsi que sa poterne, est surmontée d'un mâchicoulis avec parapet percé également de meurtrières circulaires. Cet ouvrage précède une porte du XIVe siècle, en partie démolie aujourd'hui et qui était fermée par une herse et des vantaux.

La figure 39 donne en A la face intérieure de la porte présentée en perspective extérieurement dans la figure 38. On remarquera que chaque console de mâchicoulis porte une séparation en pierre qui donne de la force au parapet. Cette disposition est d'ailleurs expliquée par la coupe B. Il faut ajouter que cette porte s'ouvre au sommet d'un escarpement, et que le chemin qui y conduit a une très-forte pente. Il n'était besoin, dans une telle situation, ni de fossés, ni de pont-levis par conséquent; l'assaillant qui se présentait devant cette entrée ayant à dos un précipice. Toute simple qu'elle est, cette porte est un joli exemple des constructions militaires de l'époque de transition, au moment où les architectes se préoccupent de l'emploi des bouches à feu.

Olivier de Clisson, le frère d'armes de du Guesclin, qui fit aux Anglais une guerre si désastreuse, était un général d'un rare mérite, et qui fortifia un assez grand nombre de châteaux en Poitou, sur les frontières de la Bretagne et de la Guienne. Il adopta, pour les défenses des portes, un système qui paraît lui appartenir. Il élevait une tour ronde sur un pont, et la perçait d'un passage fermé par des herses et des vantaux. Sur le pont de Saintes, il existait une porte de ce genre 278, et l'on en voit encore quelques-unes dans les provinces de l'Ouest. Une des portes de l'enceinte du château de Montargis présentait cette disposition, et le vide central de cette tour, à ciel ouvert, permettait d'écraser, du sommet de l'ouvrage, les assaillants qui se seraient introduits entre les deux portes percées dans les parois opposées du cylindre 279. Les tours rondes servant de portes, qui paraissent appartenir à l'initiative du connétable Olivier de Clisson, sont habituellement très-hautes, c'est-à-dire donnant un commandement considérable sur les alentours. Elles sont isolées et ne se relient pas aux courtines des enceintes. Ce sont de petites bastilles à cheval sur un pont, de sorte que les assiégés enfermés dans ces postes, n'ayant que des moyens de retraite très-peu sûrs, étaient plus disposés à se défendre à outrance. Il arrivait assez fréquemment, en effet, que les portes se reliant aux courtines, si bien munies qu'elles fussent, devenant l'objet d'une attaque très-vive et tenace, étaient abandonnées peu à peu par les défenseurs, qui trouvaient, par les chemins des courtines voisines, un moyen de quitter facilement la partie, sous le prétexte d'étendre le champ de la défense. Enfermée dans une tour isolée servant de porte, la garnison n'avait d'autre ressource que de lutter jusqu'à la dernière extrémité. La disposition qui semble avoir été systématiquement adoptée par le connétable Olivier de Clisson est, d'ailleurs, conforme au caractère énergique jusqu'à la férocité de cet homme de guerre 280. C'est ainsi que beaucoup des ouvrages militaires du moyen âge prennent une physionomie individuelle, et qu'il est bien difficile, par quelques exemples, de donner un aperçu de toutes les ressources trouvées par les constructeurs. Aussi ne prétendons-nous ici que présenter quelques-unes des dispositions les plus généralement admises ou les plus remarquables. Il n'est pas douteux, d'ailleurs, que dans les constructions militaires du moyen âge, les idées personnelles des seigneurs qui les faisaient élever n'eussent une influence particulière considérable sur les dispositions adoptées, et que ces seigneurs, en bien des circonstances, fournissent eux-mêmes les plans mis à exécution, tant est grande la variété de ces plans. Il est bon d'observer encore que si, pendant le moyen âge, les constructions des églises et des monastères sont souvent négligées; que s'il est évident, dans ces constructions, que la surveillance a fait défaut, on ne saurait faire le même reproche aux travaux militaires. Ceux-ci, bien que très-simples, ou élevés à l'aide de moyens bornés parfois, sont toujours faits avec un soin extrême, indiquant la surveillance la plus assidue, la direction du maître. C'est grâce à cette bonne exécution que nous avons conservé en France un aussi grand nombre de ces ouvrages, malgré les destructions entreprises d'abord par la monarchie, à dater du XVIe siècle, pendant la révolution du dernier siècle, et enfin par les communes, depuis cette époque.

Avant de passer à l'examen des poternes, nous devons dire quelques mots des portes de barbacanes, c'est-à-dire appartenant à de grands ouvrages avancés, portes qui présentent des dispositions particulières.

Ce ne fut guère qu'au XIIIe siècle que l'on se mit à élever des barbacanes en maçonnerie. Jusqu'alors ces ouvrages avancés, destinés à faciliter les sorties de troupes nombreuses, ou à pratiquer des retraites, étaient généralement élevés en bois, et ne consistaient qu'en des terrassements avec fossés et palissades. Mais les assiégeants, mettant le feu à ces ouvrages, rendaient leur défense impossible; on prit le parti, en dehors des places importantes, de construire des barbacanes en maçonnerie, et de les appuyer par des tours, au besoin. Toutefois on cherchait toujours à ouvrir ces défenses du côté opposé aux remparts formant le corps de la place, afin d'empêcher les assiégeants qui s'y seraient logés de pouvoir s'y maintenir. Les portes des barbacanes sont conçues suivant ces principes, et les défenses qui les composent sont ouvertes à la gorge.

Vers la fin de son règne, le roi Louis IX fit relever l'enceinte extérieure et réparer le château de la cité de Carcassonne. Du côté de la ville, il fit construire une barbacane sur plan semi-circulaire, qui défendait l'approche de la porte du château, porte que nous avons donnée figures 3, 4, 5 et 6 281. La barbacane du château de Carcassonne, en forme de demi-lune, s'ouvre, sur les rues de la cité, par une porte d'une construction aussi simple que bien entendue; et cette porte, ne débordant pas le nu du mur circulaire composant la barbacane, est ouverte entièrement du côté de l'intérieur, de sorte que les défenseurs de l'entrée du château pouvaient voir complétement ceux de la porte de la barbacane et même leur donner des ordres. Si les assiégeants s'emparaient de cette première entrée, il était facile de les couvrir de projectiles.

Voici, figure 40, en A, le plan de cette porte au niveau du sol, l'extérieur de la barbacane étant en B. Un mâchicoulis C défend les vantaux se fermant en D. En E, est l'entrée de l'escalier à ciel ouvert qui monte à l'étage supérieur; en F, une armoire destinée à renfermer les falots et autres ustensiles nécessaires au service. Le plan G est pris à l'étage supérieur crénelé, auquel on arrive par l'escalier I et le degré J. Les chemins de ronde K de la courtine circulaire sont placés à un mètre en contre-bas du sol L. On voit en M l'ouverture du mâchicoulis qui protége les vantaux. Des créneaux latéraux enfilent les chemins de ronde, qui sont isolés de l'étage défensif de l'ouvrage par deux portes O. Cet étage supérieur, comme l'entrée à rez-de-chaussée, est commandé par les défenses de la porte du château.

La figure 41 présente l'élévation extérieure de cette porte, et la figure 42 sa coupe faite sur son axe. L'aspect de l'ouvrage, pris de l'intérieur de la barbacane, est reproduit dans la vue perspective, figure 43. Il est aisé de reconnaître, en examinant cette dernière figure, que les défenses supérieures, comme l'entrée, sont ouvertes du côté du château, et qu'il était dès lors difficile à un assiégeant de s'y maintenir en face de la grande défense qui protége la porte que nous avons donnée figures 3, 4 et 5.

Assez généralement, cependant, les portes des barbacanes s'ouvraient latéralement dans des rentrants, afin d'être bien couvertes par les saillants, et alors elles n'étaient que des issues ne se défendant pas par elles-mêmes 282. Ces barbacanes, vers le commencement du XIVe siècle, prirent une importance plus considérable au point de vue de la défense; elles se munirent de tours, ainsi que nous l'avons montré plus haut en nous occupant de la porte Saint-Lazare d'Avignon; elles prirent le nom de châtelets, de bastilles, de boulevards, et leurs portes, tout en étant commandées par les ouvrages intérieurs, furent souvent flanquées de tourelles ou d'échauguettes. Telles étaient défendues la porte des deux moulins, à la Rochelle, située derrière la tour du phare 283; celles de Saint-Jean-d'Angély, de Saint-Jacques, à Paris; d'Orléans, etc.

Parmi ces portes précédées de bastilles, une des plus remarquables, était celle du château de Marcoussis, qui datait de la fin du XIVe siècle, et dont la destruction est si regrettable. Là le système défensif était complet. L'avant-porte s'ouvrait sur le côté d'un châtelet carré, défendu par deux tours. Du châtelet on communiquait à l'entrée de la forteresse par un pont fixe, de bois, jeté sur un large fossé plein d'eau, et un pont-levis. Cette entrée était flanquée de deux grosses tours, puis s'élevait au delà la tour du coin, surmontée d'une guette très-élevée qui permettait de voir tout ce qui se passait dans le châtelet et au dehors. La porte du château et ses ouvrages de défense commandaient absolument le châtelet à très-petite portée 284.

Note 243: (retour) Les traces de herses apparentes dans les pieds-droits de ces portes datent du moyen âge.
Note 244: (retour) Ainsi que nous l'avons dit plus haut, cette porte paraît ne pas remonter au delà du Ve siècle.
Note 245: (retour) La tour de droite seule existe jusqu'au niveau du sommet de la porte, mais son escalier, dont on ne voit plus que les traces, a été détruit.
Note 246: (retour) Nous donnons plus loin la porte de cette barbacane.
Note 247: (retour) Ce pont date du XIIIe siècle.
Note 248: (retour) Voy. HOURD, fig. 1.
Note 249: (retour) La porte de Laon à Coucy est d'une date un peu antérieure à la construction du château. Naturellement l'enceinte de la ville dut précéder l'édification du château et du fameux donjon; cette porte, par son style et sa structure, appartient aux premières années du XIIIe siècle. Enguerrand III prit possession de sa seigneurie vers 1183, et mourut en 1242.
Note 250: (retour) Cette voie est encore apparente.
Note 251: (retour) Voy. MEURTRIÈRE, fig. 11.
Note 252: (retour) Nous n'avons, sur la tour G, aujourd'hui enterrée dans le boulevard et sous la route actuelle de Laon, que des données vagues, n'ayant pu faire des fouilles étendues. Quant au viaduc, il est complet et se distingue même au milieu des adjonctions du XVe siècle.
Note 253: (retour) Cette porte avait été terrassée au XVIe siècle, au moment des guerres de religion, pour pouvoir placer de l'artillerie au sommet des tours. Ces remblais ont été enlevés, il y a quelques années, par les soins dc la Commission des monuments historiques, et ce déblaiement a permis de découvrir les dispositions anciennes que nous présentons dans cette suite de gravures.
Note 254: (retour) Voy. MEURTRIÈRE, fig. 6.
Note 255: (retour) Voyez l'article ARCHITECTURE MILITAIRE, fig. 11, et les Archives des monuments historiques.
Note 256: (retour) Ce plan est à l'échelle de 2 millimètres pour mètre.
Note 257: (retour) Voyez ÉCHAUGUETTE, fig. 6.
Note 258: (retour) Voyez ARCHITECTURE MILITAIRE, fig. 24.
Note 259: (retour) Voyez CONSTRUCTION, fig. 149, 150, 151, 152, 153 et 154.
Note 260: (retour) Voyez FENÊTRE, fig. 40.
Note 261: (retour) Ce plan est à 0m,002 pour mètre.
Note 262: (retour) Cette élévation est à 0m,0025 pour mètre.
Note 263: (retour) Pour de plus amples détails, voyez les Archives des monuments historiques publiées sous les auspices du ministre de la Maison de l'Empereur et des Beaux-Arts.
Note 264: (retour) Voyez l'article SIÉGE.
Note 265: (retour) Voyez HOURD, MÂCHICOULIS.
Note 266: (retour) Voyez l'article PONT, où il est parlé de ces ouvrages à propos du pont Saint-Bénézet d'Avignon.
Note 267: (retour) Voyez l'article SIÉGE.
Note 268: (retour) C'est à l'obligeance de M. Achard, le savant archiviste de la préfecture de Vaucluse, que nous devons la plus grande partie des renseignements qui nous ont aidé à restituer cette porte dans son état primitif.
Note 269: (retour) Les dessins appartiennent à M. Achard, qui a bien voulu nous les laisser copier.
Note 270: (retour) Voyez la tapisserie de l'hôtel de ville, le grand plan à vol d'oiseau de Mérian, les gravures d'Israël Sylvestre.
Note 271: (retour) Liv. III, p. 1062, édition de 1612.
Note 272: (retour) Coll. Michaud, t. II, p. 641.
Note 273: (retour) La gravure d'Israël Sylvestre fait voir la place de la fausse braie avec son fossé en arrière.
Note 274: (retour) Voyez BARRIÈRE.
Note 275: (retour) Voyez BASTILLE.
Note 276: (retour) Voyez aussi, à l'article PONT, divers systèmes de pont à bascule.
Note 277: (retour) Voyez ARCHITECTURE MILITAIRE, ENGIN.
Note 278: (retour) Voyez PONT, fig. 4.
Note 279: (retour) Voyez Androuet du Cerceau, Des plus excellens bastimens de France.
Note 280: (retour) Olivier de Clisson était surnommé par les contemporains, le Boucher.
Note 281: (retour) Voyez, pour le plan de cette barbacane, la figure 11, en E (ARCHITECTURE MILITAIRE).
Note 282: (retour) Voyez BARBACANE, fig. 2 et 3.
Note 283: (retour) Voyez Topographie de la Gaule, Mérian.
Note 284: (retour) Voyez Topographie de la Gaule, Mérian.


PORTES DE DONJONS. POTERNES.--Les donjons possédaient des portes défendues d'une façon toute spéciale. Ces portes étaient souvent relevées au-dessus du niveau du sol extérieur, afin de les mettre à l'abri d'une attaque directe; des échelles de bois étaient alors disposées par la garnison pour pouvoir entrer dans ces réduits ou en sortir. Mais on comprend que cette disposition présentait de graves inconvénients. Si les défenseurs du château ou de la ville étaient obligés de se réfugier précipitamment dans le donjon, ce moyen d'accès était insuffisant, et il advenait (comme cela s'est présenté pendant la dernière phase du siége du château Gaillard par Philippe-Auguste 285) que les défenseurs, pris de court, n'avaient pas le temps de rentrer dans le réduit. Aussi chercha-t-on à rendre les portes de donjons aussi difficiles à forcer que possible, en laissant aux assiégés les moyens de se réfugier en masse serrée dans la défense extrême, s'ils étaient pressés de trop près. Beaucoup de donjons possédaient deux poternes, l'une apparente, l'autre souterraine, qui communiquait avec les dehors, de telle sorte que si une garnison pensait ne pouvoir plus tenir dans la place, soit par suite de la vigueur de l'attaque, soit par défaut de vivres, elle pouvait se dérober et ne laisser aux assaillants qu'une forteresse vide. Les gros donjons normands sur plan-carré étaient habituellement ainsi disposés 286. Mais cependant, une fois les garnisons enfermées dans leurs murs, il leur devenait bien difficile de les franchir devant un ennemi avisé, soit pour s'échapper, soit pour tenter des sorties offensives, car les poternes souterraines n'étaient pas tellement secrètes que l'assiégeant ne pût en avoir connaissance, et les portes relevées au-dessus du sol extérieur étaient difficiles à franchir en présence de l'assiégeant. Ces problèmes paraissent avoir préoccupé le constructeur de l'admirable donjon de Coucy. Ce donjon possède une porte percée au niveau de la contrescarpe du fossé creusé entre la tour et sa chemise, et une petite poterne relevée au niveau du chemin de ronde de cette chemise, chemin de ronde qui est mis en communication, par un escalier, avec une poterne aboutissant aux dehors de la place 287. La porte du donjon de Coucy, percée à rez-de-chaussée, est combinée avec un soin minutieux; elle permet à la garnison, soit de franchir rapidement ce fossé, soit de descendre sur le sol dallé qui en forme le fond, et de joindre la poterne extérieure, soit de protéger un corps de troupes pressé de très-près par des assaillants; de plus, cette porte est, contrairement aux habitudes du temps, très-richement décorée de sculptures d'un beau style.

La figure 44 donne en A le plan de cette porte, et en B sa coupe longitudinale. Elle se fermait (voy. la coupe) au moyen d'un pont à bascule, d'une herse, d'un vantail avec barres rentrant dans l'épaisseur de la maçonnerie 288, et d'un second vantail également barré. Le pont à bascule était relevé au moyen du treuil C posé dans une chambre réservée au-dessus du couloir, chambre à laquelle on arrive par l'unique escalier du donjon 289. Ce treuil était disposé de manière qu'on pût en même temps abaisser le pont et relever la herse, les deux chaînes du pont et celles de la herse s'enroulant en sens inverse sur son tambour. Mais c'est dans la disposition du tablier du pont que l'on constate le soin apporté par les constructeurs sur ce point de la défense. Le tablier du pont roulait sur un axe, sa partie postérieure décrivant l'arc de cercle ab. Lorsqu'il était arrivé au plan horizontal, il était maintenu fixe par une jambe mobile c', qui tombait dans une entaille pratiquée dans l'assise en saillie e; alors son plancher se raccordait à niveau avec un tablier fixe de bois G qui traversait le fossé, tablier dont les deux longrines latérales H s'appuyaient sur deux corbeaux I. Ce tablier fixe pouvait être lui-même facilement démonté, si les assiégés voulaient se renfermer absolument dans le donjon. En effet, un chevalet K incliné, dont les pieds entraient dans trois entailles L, était arrêté à sa tête par des chantignoles M maintenues par des clefs m. En faisant tomber ces clefs par un déchevillage facile à opérer de dessus le pont, le chevalet s'abattait; on enlevait, dès lors, facilement les longrines, et toute communication avec le dehors était interrompue en apparence. Cependant, si nous examinons le tablier du pont à bascule indiqué séparément en N, on remarquera qu'une partie O de ce tablier est disposée en façon d'échelle. Cette partie était mobile et roulait sur l'axe D. En enlevant une cheville de fer, marquée sur notre figure, la partie mobile O tombait et venait s'abattre en n (voy. la coupe). À cette partie mobile du tablier était suspendu un bout d'échelle P, qui, le tablier abattu, pendait en P'; dès lors les assiégés pouvaient descendre dans le fossé par cette échelle, et là ils étaient garantis par le petit ouvrage R en maçonnerie percé d'archères. De ce réduit, ils descendaient par quelques marches sur le sol dallé formant le fond du fossé, et pouvaient se diriger vers la poterne de la chemise qui communique avec les dehors de la place. Le tablier mobile du pont étant relevé, la partie O servant d'échelle pouvait être abattue, et la garnison trouvait ainsi un moyen de sortie sans avoir besoin d'abaisser le pont; il suffisait alors d'ouvrir les vantaux intérieurs et de lever la herse, ce qu'on pouvait faire sans abattre le pont, en décrochant les chaînes du tambour du treuil. La partie mobile O du pont était relevée au moyen de la chaîne S. Le plan A indique la charpente du pont à bascule et celle du tablier fixe, ses longrines étant tracées en d. On voit que, d'un côté, en f, il reste, entre la longrine et le tablier du pont à bascule, un espace vide assez large. Cet espace se trouve réservé du côté où l'assiégeant pouvait plus facilement se présenter au fond du fossé. C'était un mâchicoulis, car de ces longrines aux barres d'appui g, indiquées sur la coupe, on devait établir, en cas d'attaque, des mantelets percés d'archères, pour battre le fossé. De ce côté, il existe également au-dessous des corbeaux h (voy. le plan) un épaulement en pierre qui masquait le dessous du pont et les défenseurs descendant par les échelles. En T, nous avons tracé la coupe transversale du passage fait sur la chambre de levage et regardant vers l'entrée.

La figure 45 complète cette description; elle donne l'élévation de la porte du donjon de Coucy, avec toutes les traces existantes du mécanisme du pont à bascule. On voit en a les trois entailles recevant les pieds du chevalet; en b, le petit terre-plein défendu descendant au fond du fossé; en c, l'entaille recevant la jambette du pont à bascule, pour le maintenir horizontal; en d, l'épaulement formant garde; en e, les corbeaux recevant les longrines du pont fixe; en f, les entailles des barres d'appui; en g, les poulies de renvoi des chaînes du pont à bascule. Le niveau dallé du fond du fossé est en h. En l, est tracée la coupe du pont à bascule, avec sa partie mobile servant d'échelle, en i.

Le tympan de la porte est décoré d'un bas-relief représentant le sire de Coucy combattant un lion, conformément à la légende. Des personnages en costumes civils ornent la première voussure, des crochets feuillus la seconde. On observera que des deux barres d'appui f', la barre f' seule est placée à l'aplomb de la longrine isolée du tablier et laissait un mâchicoulis ouvert: c'est que cette barre d'appui, étant placée du côté attaquable, se trouvait réunie, comme nous l'avons dit, à la longrine par un mantelet en bois percé d'archères. Par la même raison, de ce côté, l'épaulement d était destiné à empêcher les traits qui auraient pu être lancés par les assiégeants obliquement, de frapper, en ricochant, les défenseurs descendant par l'échelle au fond du fossé.

Tout est donc prévu avec une subtilité rare dans cet ouvrage; mais il faut reconnaître que le donjon de Coucy est une oeuvre incomparable, conçue et exécutée par des hommes qui semblent appartenir à une race supérieure. Dans cette forteresse, l'art le plus délicat, la plus belle sculpture, se trouvent unis à la puissance prévoyante de l'homme de guerre, comme pour nous démontrer que l'expression de l'utile ne perd rien à tenir compte de la beauté de la forme, et qu'un ouvrage militaire n'en est pas moins fort parce que l'ingénieur qui l'élève est un artiste et un homme de goût. À côté de cette oeuvre vraiment magistrale, la plupart des portes de donjons ne sont que des issues peu importantes. Leurs fermetures consistent en des herses ou des ponts à bascule, ou de simples vantaux protégés par un mâchicoulis. Nous devons mentionner cependant les portes étroites munies d'un pont-levis à un seul bras, et qui se voient dans les ouvrages militaires des XIVe et XVe siècles.

Voici (fig. 46) quelle est la disposition la plus générale de ces portes.

Elles se composent d'une baie d'un mètre de largeur au plus et de 2 mètres à 2m,50 de hauteur, surmontée d'une rainure destinée à loger le bras unique supportant une passerelle mobile. En A, est présentée la face de la porte extérieurement; en B, sa coupe; en C, son plan. L'unique bras D, suspendant la passerelle, pivote sur les tourillons a, et vient, étant relevé, se loger dans la rainure E. Alors le tablier G entre dans la feuillure g et ferme hermétiquement l'entrée. Ce tablier est suspendu au moyen d'une chaîne à laquelle est attaché un arc de fer K, qui reçoit deux autres chaînes L, lesquelles portent le bout de la passerelle M. Le bras relevé, l'arc de fer vient se loger en l, et les chaînes, étant inclinées en retraite, forcent le tablier à entrer en feuillure; presque toujours une herse ferme l'extrémité postérieure du passage de la porte, comme l'indique notre figure. Nous avons donné quelques exemples de portes de villes qui possèdent, à côté de la porte charretière, une de ces poternes à pont-levis, mue par un seul bras (voy. fig. 34 et 35). Lorsqu'il s'agissait de faire sortir ou rentrer une ronde ou une seule personne la nuit, on abaissait la passerelle de la poterne; on évitait ainsi de manoeuvrer le grand pont-levis, et l'on n'avait pas à craindre les surprises. Quelquefois, pour les entrées des donjons, la passerelle consistait en une échelle qui s'abattait jusqu'au sol, alors la chaîne était mue par un treuil et un bras.

Mais il est une série de poternes de places fortes qui présentent une disposition toute spéciale. Il fallait, lorsque ces places contenaient une garnison nombreuse, pouvoir les approvisionner rapidement, non-seulement de projectiles, d'armes et d'engins, mais aussi de vivres. Or, si l'on considère que la plupart de ces places sont situées sur des escarpements; que leur accès était difficile pour des chariots; que les entrées en étaient étroites et rares; qu'en temps de guerre, l'affluence des charrois et des personnes du dehors devenait un danger; que les gardes des portes devaient alors surveiller avec attention les arrivants; que parfois on s'était emparé de villes et de châteaux en cachant dans des charrettes des hommes armés et en obstruant les passages des portes, on comprendra pourquoi les approvisionnements se faisaient du dehors sans que la garnison fût obligée d'abaisser les ponts et de relever les herses. Alors ces approvisionnements étaient amenés à la base d'une courtine, en face d'une poterne très-relevée au-dessus du sol extérieur, dans un endroit spécial, bien masqué et flanqué; ils étaient hissés dans la forteresse au moyen d'un plan incliné, disposé en face de cette poterne. Il y avait au Mont-Saint-Michel en mer une longue trémie ainsi pratiquée sur l'un des flancs de la forteresse supérieure, en face de la porte de mer. Cette trémie, en maçonnerie, aboutissait à une poterne munie d'un treuil, et ainsi les vivres et tous les fardeaux étaient introduits dans la place, sans qu'il fût nécessaire d'ouvrir la porte principale. Cette trémie fonctionne encore, et les approvisionnements de la forteresse ne se font que par cette voie. Le château de Pierrefonds possédait aussi sa poterne de ravitaillement. Nous avons indiqué sa position dans le plan de ce château (voy. CHÂTEAU, fig. 24, et DONJON, fig. 41 et 44). Le château de Pierrefonds pouvait facilement contenir une garnison de 1200 hommes; il fallait donc trouver les moyens de la munir d'une quantité considérable de vivres et d'objets de toutes sortes, d'armes et de projectiles, en un court espace de temps, si comme il arrivait souvent pendant le moyen âge, on se trouvait tout à coup dans la nécessité de se mettre en défense. Eût-il fallu introduire les chariots, les bêtes de somme et les gens du dehors dans la cour du château, pour compléter le ravitaillement, que l'encombrement eût été extrême, que la place eüt été ouverte à tout ce monde, et qu'il eût été impossible à l'intérieur, pendant ce temps, de préparer la défense et d'adopter les mesures d'ordre nécessaires en pareil cas. La cour, embarrassée par tous ces chariots, ces ballots, ces bêtes et ces gens, n'eût présenté que confusion; impossible alors de faire entrer et sortir des gens d'armes, de disposer des postes, et surtout de cacher ses moyens de défense. On conçoit alors pourquoi l'architecte du château avait combiné une poterne permettant l'introduction de ces approvisionnements, sans que les gens du dedans fussent gênés ni ralentis dans leurs dispositions, et sans qu'il fût nécessaire de faire entrer ni un chariot, ni un homme étranger à la garnison dans la place. Non-seulement la poterne de ravitaillement du château de Pierrefonds est élevée de 10 mètres au-dessus du chemin extérieur qui pourtourne la forteresse; mais elle donne dans une cour spéciale, séparée elle-même de la cour principale du château par une porte fermée par une herse, par des vantaux, et protégée par les mâchicoulis (voy. CHÂTEAU, fig. 24, et DONJON, fig. 41). Cette poterne de ravitaillement est percée à travers une haute courtine ayant 3 mètres d'épaisseur. Son seuil, comme nous venons de le dire, est placé à 10 mètres au-dessus du niveau du sol extérieur. Un plan incliné, en maçonnerie et charpente, s'élevait du chemin jusqu'à un niveau en contre-bas de 2 mètres du seuil et à 4 mètres de distance de la courtine. Il restait ainsi, entre le sommet du plan incliné et la poterne, une coupure qui était franchie par le pont-levis lorsqu'on l'abattait.

La figure 47 nous aidera à expliquer cet ouvrage. En A, est tracé le plan de la poterne; deux contre-forts a, destinés à masquer le tablier du pont lorsqu'il est relevé s'élèvent à l'aplomb, de la partie inférieure du talus de la courtine; en B, est tracée la coupe longitudinale de la poterne. Cette coupe fait voir en b le tablier du pont abaissé sur le plan incliné C. Les bras mobiles de ce tablier sont marqués en d. Sur le sol du chemin de ronde supérieur D est établi un treuil; une cheminée f, qui s'ouvre sous le berceau en tiers-point g, permet de passer, deux câbles qui, du treuil, viennent frotter sur le rouleau e de renvoi, et de là vont saisir les fardeaux qui doivent être enlevés sur le plan incliné. Les extrémités de ces deux câbles s'attachent à deux crochets i scellés sur les parois des pieds-droits de la poterne. Lorsque l'opération d'approvisionnement est terminée, les câbles sont rentrés, les vantaux l de la poterne fermés et le pont-levis relevé; le tablier entre alors dans le tableau m réservé dans la maçonnerie, et les deux bras se logent dans les rainures d', indiquées par la ligne ponctuée: la face extérieure de cette poterne est tracée en E et sa face intérieure en F. Dans ce dernier tracé, la cheminée des câbles est indiquée par des lignes ponctuées. Des crochets i, les câbles viennent passer sur deux poulies placées à l'extrémité des chantiers de roulement, en p (voy. le plan), car on observera que ces crochets i sont scellés sur la ligne de prolongement des plans inclinés. Le plan incliné fixe et le tablier mobile sont garnis de deux longrines qui servent au roulement des fardeaux et masquent les câbles; latéralement des taquets formant échelons permettaient à des manoeuvres de monter en même temps que les fardeaux pour les empêcher de dévier. Ces taquets facilitaient au besoin la descente ou l'ascension d'une troupe d'hommes d'armes; car cette poterne pouvait aussi servir de porte de secours. Le plan incliné était d'ailleurs masqué par un ouvrage avancé qui était élevé en dehors de la route pourtournant le château (voy. DONJON, fig. 44). Le tracé G montre une portion du tablier du pont, avec ses longrines et ses taquets-échelons. La poterne était surmontée d'une niche décorée d'une statue de l'archange Saint-Michel, que nous avons retrouvée presque entière dans les fouilles pratiquées en O; car il ne reste debout, de cette poterne, qu'une moitié, celle de gauche. En R, est donnée la coupe d'ensemble de l'ouvrage, avec son plan incliné, à l'échelle de 0m,002 pour mètre. Cet ensemble fait voir comment on pouvait décharger les charrettes et hisser les fardeaux jusqu'au seuil de la poterne.

La poterne de ravitaillement du château de Pierrefonds est peut-être une des plus complètes et des plus intéressantes parmi ces ouvrages de défense. La simplicité de la manoeuvre, la rapidité des moyens de fermeture, la beauté de la construction, ne laissent rien à désirer. Le même château possède une poterne basse, du côté du nord, qui était destinée à la sortie et à la rentrée des rondes. Cette poterne, qui s'ouvre dans un souterrain, et n'était fermée que par des vantaux, possède un porte-voix pris dans la maçonnerie, à côté du jambage de gauche et qui correspondait à deux corps de garde, l'un situé à rez-de-chaussée, l'autre au premier étage (voy. la description du château de Pierrefonds). On voit aussi parfois des poternes qui s'ouvrent sur un passage détourné, et dont l'issue est commandée par des meurtrières (voy. le plan du château de Bonaguil, à l'article CHÂTEAU, fig. 28).

Mais nous ne pouvons donner dans cet article tous les exemples si variés de poternes. Il en était de ce détail de la fortification comme de toutes les autres parties des places fortes; chaque seigneur prétendait posséder des moyens de défense particuliers, afin d'opposer à l'assaillant des chicanes imprévues, et il est à croire que, dans les longues heures de loisir de la vie des châtelains, ceux-ci songeaient souvent à doter leur résidence de dispositions neuves, subtilement combinées, qui n'avaient point encore été adoptées.

Note 285: (retour) Voyez CHÂTEAU.
Note 286: (retour) Voyez DONJON.
Note 287: (retour) Voyez CHÂTEAU.
Note 288: (retour) Voyez BARRE.
Note 289: (retour) Voyez DONJON, fig. 35.


PORTES D'ABBAYES, DE MONASTÈRES.--Il est rare que les portes d'établissements religieux, pendant le moyen âge, aient l'importance, au point de vue de la défense, des portes de châteaux. Il paraît que les moines, sans négliger entièrement les précautions adoptées dans les résidences féodales (car ils étaient seigneurs féodaux), voulaient conserver à leurs établissements le caractère pacifique qui convenait à l'institution. Excepté dans quelques abbayes, qui, comme celle du Mont-Saint-Michel en mer, étaient des forteresses du premier ordre, les entrées, tout en présentant quelques signes de défense, n'accumulent pas les obstacles formidables qui font, de la plupart des portes de châteaux, des ouvrages compliqués et étendus. Ces portes de monastères ne sont pas précédées d'ouvrages avancés, de barbacanes, de boulevards; elles s'ouvrent directement sur la campagne, quelquefois même sans fossés ni pont-levis, et leurs défenses sont plutôt un signe féodal qu'un obstacle sérieux. La porte de l'abbaye de Saint-Leu d'Esserent, qui date XIVe siècle, est construite d'après ces données mixtes: c'est autant une porte de ferme qu'une porte fortifiée.

Nous en présentons (fig. 48) la face du dehors. Cet ouvrage consiste en deux contre-forts extérieurs, portant chacun une échauguette cylindrique. Entre les contre-forts qui masquent la courtine, s'ouvrent une porte charretière et une poterne. Trois mâchicoulis sont percés au-dessus de la grande issue et deux au-dessus de la poterne (voy. le plan en a); un crénelage couronnait le tout. En B, est tracé le profil des encorbellements des échauguettes, avec leur larmier.

La figure 49 donne la coupe de cette porte faite sur ab. On reconnaît aisément qu'une entrée pareille ne pouvait présenter un obstacle bien sérieux à des assaillants déterminés; quoi qu'il en soit, cette composition ne laisse pas d'être habilement conçue et d'une très-heureuse proportion. On élevait même pendant les XIIIe et XIVe siècles des portes de monastères qui n'avaient nullement le caractère défensif; alors ces portes étaient plutôt hospitalières, c'est-à-dire qu'elles étaient précédées d'un porche, comme l'entrée d'une église: telle était la jolie porte de l'abbaye de Troarn (Calvados), aujourd'hui transportée dans la propriété de M. le marquis de Banneville 290. Il existe encore une très-jolie porte fortifiée de monastère à Saint-Jean-au-Bois (forêt de Compiègne). Cette entrée, d'une dimension réduite, était munie de ponts-levis et défendue par deux petites tours. Sa construction date de la seconde moitié du XVe siècle; car elle est percée de meurtrières disposées pour des arquebusiers.

Nous en donnons (fig. 50) le plan à rez-de-chaussée en A, l'élévation extérieure en B, et la coupe longitudinale en C. La poterne n'a pas plus de 0m,50 de largeur, et était munie d'un pont-levis à un seul bras. Les tabliers des deux ponts-levis entraient en feuillure et étaient défendus par des mâchicoulis. Les tours seules étaient couvertes, le dessus de la porte ne présentant qu'un chemin de ronde, comme celui des courtines; la construction est faite en pierre et en maçonnerie de moellons. Le ponceau qui précède la porte, et qui passe sur un fossé de 12 mètres de largeur, date de la même époque. Il se compose de deux arches, la plus étroite, du côté du pont-levis, pour diminuer la poussée sur la dernière pile.

Nous craindrions de fatiguer nos lecteurs en ajoutant d'autres exemples à ceux déjà fort nombreux que nous avons donnés touchant les portes fortifiées; mais ce détail de l'architecture militaire du moyen âge est d'une si grande importance, que nous devions réunir au moins les types les plus remarquables. Nous sommes loin d'avoir épuisé ce sujet, et il y aurait à faire sur les portes fortifiées du XIe au XVe siècle un ouvrage tout entier. Nous n'avons pas parlé des portes détruites aujourd'hui entièrement, mais sur les dispositions desquelles il reste des documents précieux. Telles sont, par exemple, les portes de Troyes, de Sens, de Paris. Parmi les portes de villes encore debout et qui méritent d'être étudiées, nous citerons celles de Provins, de Moret, de Chartres, de Gallardon, de Dinan, de Vézelay, qui, bien que d'une médiocre importance, ne sont pas moins des ouvrages remarquables. Les ruines de nos châteaux féodaux présentent aussi de beaux spécimens de portes 291, et jusque vers la fin du XVIe siècle, les dispositions adoptées pendant le moyen âge sont conservées dans ces sortes d'ouvrages.

Note 290: (retour) Voyez la description de cette porte dans le Bulletin monumental, t. IX, p. 300.
Note 291: (retour) Dans son excellent ouvrage sur l'Architecture militaire de la Guyenne, M. Léo Drouyn a présenté un assez grand nombre de ces exemples de portes.


PORTES EXTÉRIEURES D'ÉGLISES.--Il faut distinguer les portes principales des églises des portes secondaires. Les portes principales, placées généralement sur l'axe de la nef centrale, sont larges, décorées relativement avec recherche, et présentent souvent, par la sculpture qui couvre leurs tympans, leurs voussures et leurs pieds-droits, une réunion de scènes religieuses qui sont comme la préface du monument. Nous ne possédons pas de portes d'églises ayant quelque importance, au point de vue de la sculpture, avant le commencement du XIIe siècle. Celles qui existent encore, et qui datent d'une époque plus reculée, sont d'une forme très-simple et ne paraissent avoir été décorées que par des moulures, des tympans imbriqués ou couverts de peinture. Nous aurons l'occasion de parler de ces portes du XIe siècle, remarquables plutôt par leur structure que par leur ornementation. Quand il s'agit d'architecture religieuse, il faut toujours recourir à l'ordre de Cluny, si l'on veut trouver les éléments d'un art complet, formé, affranchi des tâtonnements, étranger aux imitations grossières de l'architecture antique romaine.

La porte principale de la grande église abbatiale de Cluny, dont il ne reste que des gravures, ne datait guère que du milieu du XIIe siècle, tandis que celle de l'église abbatiale de Vézelay fut élevée dès les premières années de ce siècle. Comme composition, c'est certainement une des oeuvres les plus remarquables et des plus étranges du moyen âge, au moment où les artistes abandonnent les traditions antiques gallo-romaines, mêlées d'influences byzantines, pour chercher de nouveaux éléments. Nous croyons donc devoir présenter cette oeuvre en première ligne, car elle a servi de type, évidemment, à un assez grand nombre de compositions du XIIe siècle, en Bourgogne, dans la haute Champagne et une partie du Lyonnais.

La figure 51 donne l'ensemble de cette porte aujourd'hui placée au fond d'un porche profond et fermé 292, mais originairement ouvert sous un portique étroit et à claire-voie. Elle se compose, ainsi que l'indique le plan A, de deux baies jumelles séparées par un trumeau et fermées par deux vantaux roulant sur des gonds scellés dans les feuillures B. Les deux baies, larges dans leur partie inférieure, afin de laisser le plus d'ouverture possible à la foule, se rétrécissent par une ordonnance d'encorbellement portant sur les deux pieds-droits et sur le trumeau central. Ces encorbellements sont décorés de six figures d'apôtres, demi bas-relief, de 1m,50 de hauteur environ. Sur le pilastre saillant du trumeau est placée une statue de saint Jean Précurseur, tenant entre ses mains un large nimbe au milieu duquel était sculpté un agneau 293. Deux linteaux portent sur les pieds-droits et sur le trumeau, et les figures qui décorent ces deux blocs de pierre ont exercé, depuis plusieurs années, la sagacité des archéologues. En effet, les sujets qu'elles représentent sont difficiles à expliquer. Sur le linteau de gauche, on voit une longue suite de figures marchant toutes vers le trumeau; les unes montrent des archers (chasseurs), des personnages parmi lesquels l'un porte un poisson, un autre un sceau de bois rempli de fruits, plusieurs conduisent un boeuf. Adossé au trumeau et semblant recevoir la série des arrivants, est un homme tenant une sorte de hallebarde. Sur le linteau de droite, tout contre le trumeau, sont deux figures plus grandes que celles décorant ce linteau: l'une tient les clefs, et est évidemment saint Pierre; l'autre est une femme. Ces deux personnages se tiennent étroitement unis. À la suite de ces deux personnages viennent des guerriers complétement armés, et qui paraissent combattre; puis un cavalier portant un bouclier; puis une très-petite figure d'homme, vêtu d'un manteau flottant, qui monte à cheval au moyen d'une échelle; puis, à la suite d'un homme, d'une femme et d'un enfant qui paraissent se disputer, une famille composée également d'un homme, d'une femme et d'un enfant dont les têtes sont munies d'oreilles colossales. La tête de l'enfant sort de ses deux oreilles comme de deux coquilles qui l'enveloppent presque entièrement.

Que signifient ces bas-reliefs? Il faut d'abord observer qu'ils tiennent la place occupée dans des tympans de la même époque, ou peu s'en faut (comme celui de la cathédrale d'Autun, par exemple), par les scènes du jugement dernier, de la séparation des élus des damnés. Alors les élus occupent le linteau de gauche (celui qui est à la droite du Christ), et les damnés le linteau de droite. Si l'on se reporte au temps où fut sculptée la porte principale de l'église de la Madeleine, on observera que les moines de Vézelay avaient atteint un degré de puissance et d'influence tel, qu'il fallut près d'un siècle de luttes sanglantes entre ces religieux, les comtes de Nevers et les habitants de la commune de Vézelay, pour amoindrir ce pouvoir exorbitant. Pour les abbés de Vézelay, l'action la plus louable, celle qui devait faire gagner le ciel, était certainement le payement régulier des redevances dues à l'abbaye, l'apport de dons; et, jusqu'au milieu du dernier siècle, bien que l'abbaye de Vézelay fût sécularisée depuis le XVIe, il y avait encore, à Vézelay, une fête dite de l'Apport, et qui consistait à remettre à l'abbé des produits du sol, des bestiaux et des volailles.

Pour nous, le linteau de gauche représente les élus, c'est-à-dire ceux qui apportent à l'abbaye les produits de leur chasse, de leur pêche, de leurs champs. Le linteau de droite représente les damnés, ou plutôt les damnables. On remarquera d'abord, de ce côté, la figure de saint Pierre qui garde les portes du Paradis, et probablement celle de sainte Madeleine, qui intercède pour les pécheurs 294. Les personnages qui remplissent ce linteau représenteraient donc les vices ou les péchés. Les guerriers combattants personnifieraient la discorde, la guerre; le petit homme montant à cheval à l'aide d'une échelle, l'orgueil 295; la famille qui semble se quereller, la colère; et enfin, la famille aux grandes oreilles, peut-être la calomnie. Nous ne prétendons donner cette explication autrement que comme une hypothèse, déduite d'ailleurs de beaucoup d'autres exemples tirés de l'église de Vézelay elle-même. Plusieurs chapiteaux représentent également des vices personnifiés. Et, d'ailleurs nul archéologue n'ignore que, sur les portails de nos cathédrales, sont figurés fréquemment les vices et les vertus en regard. Nous y reviendrons. Au-dessus de ces deux linteaux, si étrangement composés, se développe la grande scène du Christ dans sa gloire, entouré des douze apôtres, tous nimbés, tous tenant des livres ouverts ou fermés, hormis saint Pierre, qui porte deux clefs. Des mains du Christ s'échappent douze rayons qui aboutissent aux têtes des apôtres.

Mais la difficulté de l'interprétation se présente encore pour les sujets de la première voussure. En partant du compartiment de gauche, par le bas, on voit deux personnages assis, tenant chacun un scriptional sur leurs genoux 296. Dans le compartiment suivant, au-dessus, est un homme richement vêtu, et une femme coiffée d'un bonnet conique. Dans le troisième compartiment, des hommes qui paraissent discuter, l'un d'eux est échevelé; et dans le dernier compartiment on remarque deux hommes à tête de chien. De l'autre côté du Christ, le compartiment supérieur contient des personnages dont les nez sont faits en façon de groin de porc. Les trois autres cases sont remplies de figures parmi lesquelles on distingue un groupe de guerriers.

S'il faut donner une explication à ces sujets, nous serions portés à croire qu'ils représentent les divers peuples de la terre. On sait la créance qu'on donnait, pendant le moyen âge, aux fables recueillies par Pline, et corrompues encore après lui, touchant les peuplades de l'Afrique et des contrées hyperboréennes.

Ainsi, sur le tympan de Vézelay, le Christ serait placé au milieu du monde, entouré des peuples de la terre 297. Les médaillons qui remplissent la deuxième voussure, et qui sont au nombre de vingt-neuf, représentent le zodiaque et diverses occupations ou travaux de l'année. Un ornement court sur la dernière voussure.

La sculpture de la porte principale de l'église de Vézelay est traitée de manière à fixer l'attention. Très-découpée, ayant un haut relief, les détails sont exécutés avec une grande finesse. On ne peut méconnaître le style grandiose de ces figures, l'énergie du geste, et souvent même la belle entente des draperies. Mais, à l'article STATUAIRE, nous aurons l'occasion de faire ressortir les qualités singulières de cette école clunisienne. Les profils sont beaux, et la sculpture d'ornement d'une hardiesse et d'une largeur de composition qui produisent un effet saisissant 298. Il faut reconnaître que toutes les portes romanes pâlissent à côté de cette page, conçue d'une façon tout à fait magistrale.

Toutes les figures et les ornements de la porte principale de la Madeleine de Vézelay étaient rehaussés de traits noirs sur un ton monochrome blanchâtre. Nous n'avons pu découvrir, sur ces sculptures, d'autres traces de coloration.

À Autun, la porte principale de la cathédrale présente une disposition analogue à celle de Vézelay, mais sa sculpture, bien que d'une époque un peu plus récente, n'a pas un caractère aussi puissant. La composition manque d'ampleur et d'originalité. À Autun, cette double ordonnance des pieds-droits et du trumeau n'existe plus; les colonnettes s'élèvent jusqu'au niveau du linteau. Les profils sont maigres, la statuaire plate et sans effet. Cependant la porte de la cathédrale d'Autun est encore une oeuvre remarquable. On peut en saisir l'ensemble sur la figure 13 de l'article PORCHE.

Parmi les portes d'églises du XIIe siècle, les plus remarquables, il faut citer aussi celle de Moissac. Cette porte s'ouvre latéralement sur le grand porche dont nous avons donné le plan figure 24, à l'article PORCHE. Elle est élevée sous un large berceau qui forme lui-même avant-porche et qui est richement décoré de sculptures en marbre gris. Son trumeau est couvert de lions entrelacés qui forment une ornementation des plus originales et d'un grand effet. Les pieds-droits se découpent en larges dentelures sur le vide des baies, et le linteau présente une suite de rosaces circulaires d'un excellent style 299. Dans le tympan, est assise une grande figure du Christ bénissant, couronné; autour de lui sont les quatre signes des évangélistes, deux anges colossals, et les vingt-quatre vieillards de l'Apocalypse. Les voussures ne sont remplies que par des ornements. Mais, sur les jambages du berceau formant porche, sont sculptés, à la droite du Christ, les vices punis; à la gauche, l'annonciation, la visitation, l'adoration des mages et la fuite en Égypte.

Il nous serait difficile de présenter les exemples les plus remarquables des portes d'églises du moyen âge. Une pareille collection nous entraînerait bien au delà des limites de cet ouvrage. Nous devons chercher au contraire à circonscrire notre sujet, à donner quelques types principaux, et surtout à étudier les progrès successifs des écoles diverses qui ont abouti aux oeuvres magistrales du XIIIe siècle. Il n'est pas besoin d'être fort versé dans l'étude de nos anciens monuments, pour reconnaître que les portes principales des églises en France présentent une variété extraordinaire dans leur disposition et leur ornementation, tout en se conformant, par leur structure, à un principe invariable. Ainsi, les portes principales, c'est-à-dire qui possèdent de larges baies, se composent toujours d'un arc de décharge sous lequel est posé le linteau, et un remplissage, qui est le tympan. Si ces portes doivent donner accès à la foule, dès le XIIe siècle, elles se divisent en deux ouvertures séparées par un trumeau. Ce trumeau reçoit le battement des deux vantaux et soulage le linteau au milieu de sa portée. C'est là une disposition qui appartient à notre architecture du moyen âge, et qui ne trouve pas d'analogues dans l'antiquité. La porte principale de l'église abbatiale de Vézelay, que nous avons donnée (fig. 51), est certainement une des premières constructions de ce genre et l'une des plus remarquables par l'ordonnance double des pieds-droits et du trumeau, qui a permis de diminuer la portée des linteaux en laissant le plus large passage possible à la foule. En allant chercher les exemples d'architecture byzantine qui ont si puissamment influé au XIIe siècle sur notre art national, nous ne trouvons pas un exemple de portes avec trumeaux et rangées d'arcs de décharge. L'influence de l'art byzantin se fait seulement sentir dans le système d'un arc soulageant un linteau, dans les profils et quelques ornements. On ne saurait donc méconnaître que les portes de Vézelay, d'Autun, de Moissac, appartiennent à l'art français, sinon par tous les détails, au moins par la disposition générale. Une fois admise, cette disposition dut paraître bonne, car elle ne cessa d'être adoptée jusqu'à la fin du XVe siècle. Pendant la seconde période du moyen âge, on ne trouve que bien peu de portes principales qui n'aient leur trumeau central servant de battement aux vantaux et offrant ainsi à la foule, comme les portes de villes de l'antiquité, deux issues, l'une pour les arrivants, l'autre pour les sortants. Ces trumeaux furent souvent enlevés, il est vrai, pendant le dernier siècle, pour donner passage à ces dais de menuiserie recouverts d'étoffe, qui servent lors des processions; mais ces actes de vandalisme furent heureusement assez rarement commis.

Le principe admis, les architectes en surent tirer promptement tout le parti possible. Les arcs de décharge nécessaires pour soulager le linteau furent décorés de moulures, d'ornements, et bientôt de figures qui participaient à la scène représentée sur le tympan. Comme il s'agissait de percer ces portes sous des pignons très-élevés et lourds, on augmenta le nombre des arcs à mesure que les monuments devenaient plus grands. De là ces voussures à quatre, cinq, six et huit rangs de claveaux que l'on voit se courber au-dessus des tympans de nos cathédrales. Les portes formaient alors de profonds ébrasements très-favorables à l'écoulement de la foule, car on remarquera que ces arcs de décharge, ces voussures, se superposent en encorbellement, et que les pieds-droits qui les portent s'élargissent d'autant de l'intérieur à l'extérieur. Il y a encore, dans cette disposition, une innovation sur l'architecture antique de la Grèce et de Rome.

C'est aussi à Vézelay où nous voyons adopter la statuaire dans les voussures. Sur la porte principale de cette église, la tentative est encore timide. Le premier rang de claveaux décoré de sujets fait corps, pour ainsi dire, avec le tympan. Mais déjà à Avallon, l'église Saint-Lazare, qui date du milieu du XIIe siècle, présente des voussures dont chaque claveau est décoré d'une figure sculptée. Dès cette époque, ce système d'ornementation est admis, comme on peut le reconnaître en examinant les portes de l'église abbatiale de Saint-Denis, celles occidentales de la cathédrale de Chartres, et enfin la porte Saint-Marcel de la cathédrale de Paris, dont les fragments furent soigneusement réemployés au commencement du XIIIe siècle, lors de la construction de la façade actuelle. À ce propos, il est bon de signaler ce fait assez fréquent du réemploi des fragments de portes du XIIe siècle pendant le XIIIe. C'est qu'en effet, le XIIe siècle, dont l'art est si élevé, si puissant, avait su composer des portes d'une grande beauté, soit comme entente des proportions, soit comme détails de sculpture. Les architectes du XIIIe siècle, si hardis novateurs qu'ils fussent, si peu soucieux habituellement des oeuvres de leurs devanciers, paraissent avoir été saisis de scrupules lorsqu'il s'agissait de faire disparaître certaines portes élevées pendant le siècle précédent. Ainsi, non-seulement sur la façade occidentale de la cathédrale de Paris, l'architecte replaça habilement le tympan, un linteau, la plus grande partie des voussures et les statues des pieds-droits d'une porte appartenant très-probablement à l'église refaite par Étienne de Garlande, au XIIe siècle; mais, à la cathédrale de Chartres, nous voyons qu'on replace, sous la façade du XIIIe siècle, les trois portes qui autrefois s'ouvraient en arrière des deux clochers, sous un porche; qu'à Bourges, l'architecte réemploie des fragments importants, sous les porches nord et sud, des deux portes du transsept de l'église du XIIe siècle; qu'à la cathédrale de Rouen, on conserve, sur la façade occidentale, au XVIe siècle, deux portes du XIIe.

Ces oeuvres d'art avaient donc acquis une célébrité assez bien établie pour qu'on n'osât pas les détruire dans des temps où cependant on ne se faisait aucun scrupule de jeter bas des constructions antérieures, surtout lorsqu'il s'agissait de cathédrales. Plus tard, on peut signaler le même esprit de conservation, le même respect, lorsqu'il s'agit de portes du XIIIe siècle. Quelques-unes de ces oeuvres paraissaient assez belles pour qu'on les laissât subsister au milieu de constructions plus récentes. Sous le porche de Saint-Germain l'Auxerrois, à Paris, on voit que les architectes ont conservé une porte du XIIIe siècle, bien qu'ils aient entièrement rebâti la façade au XVe. À Saint-Thibaut (Côte-d'Or), une porte fort belle, du XIIIe siècle, reste enclavée au milieu de constructions du XIVe. À la cathédrale de Sens, les constructeurs qui relèvent la façade au commencement du XIVe siècle, conservent la porte principale datant de la fin du XIIe. À l'abbaye de Saint-Denis, la porte nord du transsept de Suger est laissée au milieu des reconstructions du XIIIe. À Auxerre, des portes datant du milieu du XIIIe siècle restent engagées dans les constructions refaites sur la façade au XVe. Et en effet, jamais les architectes des XIVe et XVe siècles, malgré leur savoir, malgré la profusion de leur ornementation, leur recherche des effets, ne purent atteindre à cette largeur de composition, à cette belle entente de la statuaire mêlée à l'architecture, qui étaient les qualités dominantes des artistes des XIIe et XIIIe siècles. Ils se rendaient justice en conservant ces débris qui, très-probablement, passaient avec raison pour des chefs-d'oeuvre.

En nous occupant, avant toute autre, de la porte de l'église abbatiale de Vézelay, nous avons voulu donner un de ces exemples qui servent de point de départ, qui sont une innovation et prennent une influence considérable; mais les principales écoles de la France, dès le commencement du XIIe siècle, avaient adopté, pour les portes des églises comme pour les autres parties de l'architecture, des types assez différents les uns des autres, bien que soumis au principe commun d'arcs et de linteaux indiqués plus haut. L'Auvergne, le Nivernais et une partie du Berry; l'Île-de-France, la Champagne, la Picardie, la Normandie, le Poitou et la Saintonge, le Languedoc, la Bourgogne, présentaient alors huit types distincts qui se confondirent au XIIIe siècle dans l'unité gothique. Nous ne prétendons pas établir que ces provinces élevassent chacune de leur côté des portes d'églises suivant un modèle admis, invariable; nous constatons seulement que l'on trouve, dans chacune de ces écoles, des similitudes, soit dans les proportions, soit dans les décorations, soit dans la construction; qu'il est impossible, par exemple, de confondre une porte romane de la Champagne avec une porte de la même époque appartenant à un monument religieux de l'Auvergne ou du Poitou. C'est en Auvergne et dans le Nivernais, dans cette école romane si avancée dès le commencement du XIIe siècle, que nous trouvons les exemples de portes les plus remarquables par la façon dont elles sont composées et appareillées.

La porte principale de l'église Saint-Étienne de Nevers est un des exemples les plus francs de l'école des provinces du centre, et des plus anciens. Cette porte date des dernières années du XIe siècle. Elle était entièrement peinte. Les chapiteaux de ses colonnes n'étaient ornés que par de la peinture. Les claveaux, appareillés d'une façon remarquable, étaient également couverts de peintures représentant des oiseaux affrontés et des ornements sur fond noir.

Nous donnons (fig. 52) le plan et l'élévation de cette porte. Le linteau et le tympan ont disparu; ils étaient très-probablement décorés seulement par des peintures. On doit signaler, comme appartenant à cette école, la proportion relativement élancée de la baie; la grosseur inusitée des deux premières colonnes qui rappellent les exemples gallo-romains, et enfin cet appareil de claveaux qui est motivé par la nécessité d'employer de très-petits matériaux.

Cependant les colonnes sont monolithes et ont été taillées au tour, conformément à un usage admis dans les provinces du Centre, pendant les XIe et XIIe siècles; les chapiteaux sont également tournés, sauf les tailloirs, qui sont rectangulaires et sont pris dans une autre assise de pierre. En A, est tracé le profil des archivoltes. Cet art roman de l'Auvergne et du Nivernais, déjà délicat vers la fin du XIe siècle, bien étudié quant aux proportions et aux profils, devait promptement produire des résultats remarquables; et en effet, dès le milieu du XIIe siècle, dans la même ville, à Nevers, on élevait la porte de l'église de Saint-Genest, qui peut être considérée comme un chef-d'oeuvre par ses bonnes proportions, la beauté et la sobriété de sa sculpture.

Cette porte (fig. 53), qui n'a que 2 mètres d'ouverture, ne possède, pas plus que la précédente, de trumeau central. Les deux vantaux battaient l'un sur l'autre 300. Sur le linteau sont sculptés les douze apôtres debout 301, et dans le tympan, le Christ entouré des quatre signes des évangélistes. Les boudins des archivoltes sont ornés de délicates sculptures qui ne détruisent pas la masse du profil, et les quatre chapiteaux sont finement travaillés. Le tracé de cette porte a été obtenu au moyen de deux triangles équilatéraux, ainsi que l'indique le géométral A. Le triangle équilatéral inférieur est inscrit entre les trois points a, b, c; le triangle équilatéral supérieur, entre le départ intérieur des boudins de la seconde archivolte et son sommet.

L'ogive est tracée, les centres étant très-relevés et posés sur les points divisant le diamètre de la première archivolte en trois parties égales. Cette disposition a donné une proportion très-heureuse et des courbes complétement satisfaisantes. Il y a évidemment là des combinaisons étudiées, cherchées. On observera encore que comme construction, cette porte est sagement conçue; le linteau et les tympans étant laissés indépendants des archivoltes et soutenus seulement par les saillies des deux corbeaux des pieds-droits. L'un de ces corbeaux, celui de droite, est décoré d'un ornement feuillu, celui de gauche est simplement mouluré.

Il est bon de faire ressortir par plusieurs exemples le caractère propre à quelques-unes de ces écoles dont nous parlions tout à l'heure. Les portes étant, dans les édifices religieux et civils du moyen âge, la partie traitée avec une attention toute spéciale, sont particulièrement empreintes du style admis par chacune de ces écoles. Si nous nous transportons en Picardie, province dans laquelle les monuments de l'époque romane sont devenus rares à cause de la qualité inférieure des matériaux, nous trouverons encore cependant quelques portes du commencement du XIIe siècle qui sont élevées sur un modèle très-différent de ceux de l'Île-de-France, de la Normandie et des provinces du Centre ou de l'Ouest.

Voici (fig. 54) l'ensemble et les détails d'une porte s'ouvrant latéralement sur la nef de l'église de Namps-au-Val, dans les environs d'Amiens. Elle se rapproche du style romano-grec des monuments des environs d'Antioche, et il serait bien étrange que l'architecte qui a bâti cette porte n'eût pas vu, ou tout au moins reçu des tracés de ces édifices du Ve siècle. Les profils, les ornements du tympan, les terminaisons en volute de l'archivolte extérieure, sont des réminiscences de l'architecture romano-grecque de Syrie que les premiers croisés avaient trouvée sur leur passage. Cette baie est richement entourée de profils à l'intérieur. Les profils de l'archivolte et du linteau, que nous donnons en A, à l'échelle de 0m,10 pour mètre, sont très-beaux, et n'ont plus rien de la grossièreté des moulures romanes copiées sur les édifices gallo-romains. Mais cette porte ne ressemble en aucune façon, ni par ses proportions, ni par son style, à celle de l'église de Saint-Étienne de Nevers, qui date à peu près de la même époque 302.

Si nous passons dans le Beauvoisis, nous voyons quelques portes d'églises du commencement du XIIe siècle prenant un tout autre caractère.

Choisissons, entre toutes, celle de l'église Villers-Saint-Paul (fig. 55). Ici ce ne sont plus les proportions élancées admises dans les exemples précédents. Les ébrasements sont profonds, supportent des archivoltes épaisses, décorées de bâtons rompus, de méandres. Un pignon trapu couvre le portail. La sculpture d'ornement est d'un assez beau caractère, quoique sauvage. La sculpture de figures est d'une grossièreté toute primitive et rappelle les monnaies gauloises. Ces figures ne sont guère indiquées d'ailleurs que dans un petit bas-relief carré posé sous la pointe du pignon, et qui représente Samson terrassant le lion. On remarquera l'appareil singulier du linteau, qui s'explique par la difficulté de monter sur les pieds-droits un très-gros bloc de pierre, toute la construction étant élevée en matériaux de petit échantillon. En A, nous donnons l'un des pieds-droits en plan, et en B, la section sur l'archivolte.

Le style de cette porte se rapproche davantage du style adopté en Normandie et en Poitou que de tout autre, mais il est cependant plus lourd, plus massif. Les profils sont moins étudiés, la taille plus grossière. Il est évident que les architectes auteurs de ces oeuvres appartenant à des édifices si voisins de Paris avaient été soustraits aux influences qui avaient agi si puissamment sur les artistes de Picardie, de l'Auvergne, du Berry, de la Bourgogne et du Midi. Les influences directes orientales n'avaient pas pénétré dans l'Île-de-France, le Beauvoisis et la Normandie. Les artistes de ces contrées restaient sous l'empire des traditions gallo-romaines et des objets envoyés de Constantinople ou de Venise, tels que certains meubles et bijoux, des ustensiles et des étoffes. C'est cependant au milieu de cette école de l'Île-de-France et des bords de l'Oise, que l'architecture appelée gothique prend naissance dès le milieu du XIIe siècle et se développe avec une rapidité prodigieuse. Ce qui tendrait à prouver une fois de plus que les croisades n'ont été pour rien dans cet essor de l'art propre à l'école laïque française, vers le milieu du XIIe siècle, et qu'au contraire, si les croisades ont eu une influence sur l'art de l'architecture chez nous, ce n'a été que sur certaines écoles romanes, et particulièrement sur celles de la Bourgogne, du Berry, du Lyonnais, des provinces méridionales et occidentales.

L'exemple que nous avons donné, figure 52, pris sur la porte principale de l'église de Saint-Étienne de Nevers, bien qu'il appartienne aux provinces du Centre et nullement à la Bourgogne, diffère cependant de la plupart des types adoptés à la même époque en Auvergne. Une porte latérale de l'église de Notre-Dame du Port, à Clermont (Puy-de-Dôme), nous fournit un spécimen bien caractérisé de ces baies d'églises auvergnates.

La figure 56 donne l'élévation extérieure de cette porte. La baie est rectangulaire, à vives arêtes, sans ébrasements. Un linteau d'une seule pièce, renforcé dans son milieu, supporte un tympan et est déchargé par un arc plein cintre. Il y a, dans cet exemple, la trace d'une tradition antique évidente. Deux figures, les bras levés comme pour supporter une imposte saillante, reçoivent les extrémités du linteau, très-franchement accusé. Ce linteau est décoré d'un bas-relief représentant l'adoration des mages et le baptême de Jésus. Le tympan représente le Christ dans sa gloire, bénissant, avec deux séraphins. Des deux côtés de l'archivolte, deux groupes représentent l'annonciation, et probablement la naissance du Christ (ce dernier bas-relief étant très-altéré).

Sur l'un des flancs de la cathédrale du Puy en Velay, il existe une porte semblable à celle-ci comme structure, mais dont l'arc de décharge est déjà brisé. Ces portes datent des premières années du XIIe siècle, peut-être de la fin du XIe.

Pendant la première moitié du XIIe siècle, on élevait dans la Saintonge et l'Angoumois un nombre prodigieux d'églises remarquables par leur style et la beauté de leur structure. Les portes principales de ces églises sont toutes conçues, à peu près d'après un type uniforme. Elles sont basses, habituellement dépourvues de linteau et de tympan, et leurs archivoltes plein cintre sont très-richement décorées d'ornements empruntés, la plupart, au style oriental de la Syrie. Voici l'une de ces portes s'ouvrant sur la nef de l'église de Château-Neuf (Charente) (fig. 57).

Sur la première archivolte sont sculptés en plat relief, très-découpés, suivant la méthode de l'école de Saintonge, à la clef, un agneau dans un nimbe, des anges, et les quatre signes des évangélistes; sur la seconde archivolte, des animaux fantastiques au milieu d'entrelacs très-compliqués et délicats; sur la troisième, des feuilles en forme de palmettes, enveloppant un tore sous leur tige. Le cordon extrême est décoré de feuillages entrelacés et retournés. Des entrelacs avec animaux couvrent l'imposte et les chapiteaux 303. Les vantaux de la porte battent intérieurement sur l'archivolte, et s'ouvrent, par conséquent, jusqu'au sommet du cintre. Un peu plus tard les ornements de ces archivoltes consistent en des billettes, des besants, des dents de scie courant sur des moulures très-finement profilées. Telles sont ornées les portes des églises de Surgères, de Jonzac, etc.

Les portes des églises de Sainte-Croix à Bordeaux, de la grande église des Dames à Saintes, ont, avec celle donnée ci-dessous (fig. 57), la plus parfaite analogie. L'influence de ce style se répand jusque dans le Poitou, ainsi qu'on peut le reconnaître en examinant les portes de Notre-Dame la Grande, à Poitiers. Mais dans cette province, comme dans la Haute-Marne, apparaissent parfois, dès le commencement du XIIe siècle, les archivoltes à claveaux présentant chacun un bossage arrondi pareil à celles qui se voient sur le portail méridional de l'église du Saint-Sépulcre, à Jérusalem. Ceci serait encore une preuve de la reconstruction d'une grande partie de l'église du Saint-Sépulcre par les croisés, si M. le comte de Vogué n'avait suffisamment indiqué les dates de cette reconstruction 304.

Bien que très-ornées de sculptures, les portes de la Saintonge, de l'Angoumois et du Poitou sont d'une proportion lourde, et n'ont pas l'élégance des portes des provinces du Centre. Leur ornementation est confuse et ne présente jamais cette large entente de l'effet, si bien exprimée dans la composition des portes de la Bourgogne, de la haute Champagne et du Lyonnais. Cependant, vers le milieu du XIIe siècle, on voit, dans une partie des provinces de l'Ouest, une étude délicate des proportions et de l'effet se développer, lorsqu'il s'agit de la composition des façades, et notamment des portes. L'église de Saint-Pierre de Melle (Deux-Sèvres) nous fournit un excellent exemple du progrès obtenu par les derniers architectes romans.

Cette porte (fig. 58) se recommande plutôt par la manière dont elle est composée que par ses dimensions, puisque la baie n'a pas plus de 1m,70 de largeur. Il semble que l'architecte ait voulu rompre avec les traditions admises. D'abord les archivoltes sont en tiers-point et dépourvues de tout ornement. Afin de faciliter le dégagement, les pieds-droits sont en retraite sur les arcs, et portent ceux-ci au moyen d'encorbellements ornés de sculpture. Un cordon sculpté sertit la dernière archivolte. Il n'y a pas ici de tympan sculpté ni de linteau, conformément à l'usage des provinces occidentales, mais au-dessus d'un couronnement très-riche est posée une niche contenant la statue du Christ dans sa gloire, et celles de la sainte Vierge et de saint Jean. Entre les corbeaux qui soutiennent la corniche intermédiaire, dans des sortes de métopes, sont sculptés quelques signes du zodiaque et un porc, qui, suivant un usage assez fréquent au XIIe siècle, représente un mois de l'année, celui pendant lequel on tue cet animal domestique. Il n'est pas nécessaire de faire ressortir la belle entente de cette composition, que notre gravure permet d'apprécier. La façon dont la sculpture est disposée, les divisions des parties principales, le contraste heureusement trouvé entre les surfaces lisses et les surfaces décorées, font assez connaître que l'architecte de cette oeuvre entendait son art. La sculpture est, d'ailleurs, très-délicate et exécutée avec un soin minutieux. C'était la dernière expression de l'art roman des provinces de l'Ouest, qui devait s'éteindre, quelques années plus tard, sous l'influence de l'art de l'école laïque de l'Île-de-France.

Nous avons vu déjà, par l'exemple tiré de l'église de Notre-Dame du Port, à Clermont, que les portes étaient décorées, dans certaines provinces, au moyen de bas-reliefs accessoires qui étaient comme plaqués à côté ou au-dessus des archivoltes. Peut-être cet usage n'était-il qu'une tradition fort ancienne. Lorsque, pendant la période carlovingienne primitive, l'art de la statuaire était complétement perdu, on recueillait parfois des bas-reliefs provenant de monuments antiques gallo-romains, et on les incrustait dans les nouvelles constructions, notamment au-dessus des portes, comme étant la partie de l'édifice que l'on tenait à décorer. Plus tard, les artistes romans conservèrent cette disposition en incrustant des bas-reliefs neufs, comme on l'avait fait pour les fragments antiques. C'est, en effet, dans les provinces où les restes gallo-romains étaient abondants, que l'on voit ce système d'ornementation persister jusque pendant le XIIe siècle. La grande porte méridionale de l'église de Saint-Sernin, à Toulouse, nous fournit un exemple très-remarquable de ce genre de décoration (fig. 59).

Cette porte, parfaitement conservée jusqu'à la corniche 305, se compose de trois rangs d'archivoltes entourant un linteau et un tympan de marbre gris. Ce tympan représente l'ascension du Christ, suivant la donnée byzantine. Deux anges soulèvent le Sauveur, dont les bras sont tournés vers le ciel. Quatre figures d'anges président, deux à droite, deux à gauche, à cette scène. Les douze apôtres sont sculptés sur le linteau et tournent la tête vers le Christ. Deux anges terminent, à droite et à gauche, cette série. À la droite du cintre est incrustée la statue de saint Pierre foulant sous ses pieds Simon le Magicien, accompagné de deux démons. À la gauche, la statue de saint Paul prêchant. Deux petites figures au-dessus de sa tête semblent écouter. Sous ses pieds sont placés deux dragons, puis deux autres figures assises sur des lions. Des quatre colonnes logées dans les ébrasements, deux sont de marbre; ce sont celles qui sont voisines des pieds-droits. Les chapiteaux, les cordons, les corbeaux portant le linteau et la corniche, sont très-finement sculptés et d'un style remarquable. Mais nous parlerons ailleurs de cette école des sculpteurs toulousains 306, si brillante au XIIe siècle, et qui s'éteignit brusquement pendant les croisades contre les Albigeois, pour ne plus reparaître avec quelque éclat que vers la fin du XVe siècle.

Les exemples que nous venons de donner des portes d'églises appartenant à quelques-unes des principales écoles romanes de France, qu'elles soient ou non pourvues de linteaux, partent tous d'un même principe de structure, simple, rationnel et qui demande à être expliqué.

Une épaisseur de mur étant donnée, lorsque les architectes du XIIe siècle voulaient y percer une porte principale, l'ébrasement intérieur et l'épaisseur du tableau étant réservés, il restait une certaine épaisseur de mur dont on profitait pour placer une, deux, trois, quatre colonnes et archivoltes, et même plus; ces colonnes variant de 0m,33 (un pied) de diamètre à 0m,16 (six pouces), on procédait de cette façon (fig. 60).

A étant le tableau, on lui laissait un champ de face a, puis, prenant la largeur BC pour la base en partie engagée, on traçait la colonne D. On faisait CB' égal à CB. On recommençait l'opération de B' en E, et de E en F, comme ci-dessus, et ainsi autant de fois que l'épaisseur du mur l'exigeait. Alors les carrés CBB'b, B'EFe donnaient la projection horizontale des tailloirs des chapiteaux sous leur saillie.

Cette succession de carrés donnait la trace des sommiers des archivoltes, tracés en P; ces archivoltes se recouvrant pour former un arc plus ou moins profond en décharge. Les colonnettes étaient posées en délit et monolithes, indépendantes de la bâtisse. Ainsi les nus des tailloirs des chapiteaux et les plinthes des bases, suivaient exactement les nus de la maçonnerie pleine, et chaque rangée de claveaux venait reposer sur les colonnettes. Les charges étant reportées sur les parties maçonnées BCB'EF, etc., il n'y avait alors aucune rupture à craindre. Plus tard, vers la fin du XIIe siècle, lorsque les archivoltes furent allégies et décorées de figures, on procéda d'après le même principe. Seulement, les colonnettes s'amaigrirent, les tailloirs s'obliquèrent souvent, suivant l'ébrasement, et les intervalles de ces colonnettes furent évidés, ainsi que l'indique le tracé T. À ces colonnettes s'adossèrent parfois des statues surmontées de dais dans la hauteur de l'assise des chapiteaux ou dans l'assise au-dessus, dais figurés en g sur le tracé T, et alors les claveaux des archivoltes furent appareillés et moulurés, comme le fait voir le tracé M, les épannelages h étant réservés pour les figures et les petits dais qui les séparent. Le principe roman était conservé, mais avec un perfectionnement et un allégissement; les colonnes restaient habituellement indépendantes, c'est-à-dire monolithes. Cette règle présente plutôt des variétés dans l'application du principe, que des exceptions, comme nous le verrons.

Pour peu que l'on ait étudié les divers styles d'architecture antérieurs à cette période et étrangers à ceux de la France, on reconnaîtra qu'il y avait, dans ce principe de composition et de structure des portes, un élément nouveau, sans précédents, et qui se prête singulièrement à la décoration. En effet, lorsqu'il s'agissait d'ouvrir dans des grands murs de façade, épais, des baies assez larges pour faciliter l'entrée et la sortie de la foule, il fallait combiner ces baies de telle sorte, qu'elles pussent sans danger crever ces constructions massives et hautes, et en même temps s'ouvrir largement par des ébrasements. Le système d'archivoltes superposées, et formant comme une succession de cerceaux concentriques allant toujours en s'évasant du dedans au dehors, était très-bien trouvé au point de vue de la solidité et de l'effet. Ces archivoltes ébrasées formaient comme un large cadre autour du tympan, et il était naturel, celui-ci étant orné de bas-reliefs, de couvrir ces archivoltes de figures formant comme le complément de la scène principale, une assemblée de personnages participant à cette scène. Nous avons vu qu'à Vézelay déjà, ce parti est adopté. Nous le voyons développé aux portes occidentales de l'église de Saint-Lazare d'Avallon, au portail royal de la cathédrale de Chartres, et dans beaucoup d'autres églises élevées de 1150 à 1180. Maintenant nous allons examiner comme ce principe roman du XIIe siècle se modifie pour tomber dans la donnée gothique par plusieurs voies.

Évidemment, vers la seconde moitié du XIIe siècle, les architectes cherchaient dans la composition des portes, considérées comme une partie très-importante des édifices religieux, sinon de nouveaux principes, tout au moins des applications variées. La monotonie de composition des portes romanes dans chaque école fatiguait; on voulait tenter du neuf, sans cependant abandonner la donnée première, qui paraissait excellente et qui l'est en effet. C'est ainsi, par exemple, que sur la façade de l'église de la Souterraine (Creuse), surmontée d'un gros clocher, on perçait une porte d'un aspect très-original, bien que son plan soit tracé conformément au mode d'ébrasement admis définitivement.

Cette porte (fig. 61), comme la plupart de celles du Poitou et de la Saintonge, ne possède pas de linteau ni de tympan. La première archivolte, posée sur les pieds-droits, est découpée par une suite de redents très-prononcés, se détachant sur le vide de la baie; les vantaux s'ouvrent par conséquent intérieurement jusqu'au sommet de cette archivolte dentelée. Les autres arcs présentent une suite de boudins alternativement unis et redentés. Ces redents descendent même jusqu'au niveau des bases. La seule sculpture que l'on remarque sur cette porte est celle des chapiteaux, et cependant l'aspect général est très-riche et d'une très-heureuse proportion 307. On remarquera comment l'appareil des claveaux se combine avec le système des redents. Ce système d'appareil était d'ailleurs conforme à celui qui était adopté pour toutes les baies avec archivoltes. Ici les arcs sont déjà en tiers-point, le plein cintre a disparu.

Il est intéressant d'observer comme au sein d'une autre province se faisait la transition entre le style roman et le style gothique. Dans l'Île-de-France, la petite église de Nesles, près l'Isle-Adam (Seine-et-Oise), possède une porte principale qui date des dernières années du XIIe siècle, contemporaine par conséquent de l'exemple précédent, et qui se recommande par la pureté de son style, la sobriété de son ornementation, sans que dans cet ouvrage, d'une physionomie neuve pour cette époque, on signale aucune de ces étrangetés qu'admettent volontiers les artistes en quête d'idées originales.

Entre cette porte (fig. 62) et celle que nous avons donnée (fig. 55), provenant de l'église de Villers-Saint-Paul, il n'y a guère qu'un espace de soixante années. Or, on reconnaît aisément que dans cette province l'art s'est dégagé plus rapidement qu'ailleurs de la tradition romane. La porte de Villers-Saint-Paul est d'un style roman lourd, barbare même, si on le compare à celui des provinces du Centre, de l'Ouest et du Midi; et tandis que dans ces dernières contrées, la transition du roman au gothique se fait péniblement, ou ne se fait pas du tout, nous voyons s'épanouir tout à coup, dans l'Île-de-France, en quelques années, un style délicat, sobre, rompant avec les traditions des âges précédents, tenant compte des proportions, en évitant les bizarreries si fréquentes au moment de la formation d'un art.

À Nesles, les colonnettes sont monostyles, indépendantes de la bâtisse; le tracé du plan est, sauf plus de légèreté, tout roman; mais les archivoltes se profilent de la façon la plus heureuse et la plus logique (voy. en A). La sculpture, rare, tandis qu'elle est prodiguée dans les portes romanes de la même contrée, est répartie par un artiste de goût sur les cordons, sur les pieds-droits, entre les colonnettes, comme pour faire ressortir celles-ci. Il y a évidemment ici réaction contre le style roman. Ce n'est pas une modification, c'est une rupture complète, qui devait amener rapidement les plus beaux résultats, puisque les portes occidentales de la cathédrale de Paris sont à peu près contemporaines de celle-ci, et que les portes des cathédrales d'Amiens et de Reims s'élèvent trente ou quarante ans plus tard 308.

Avant de nous occuper des portes si remarquables de quelques-unes de nos cathédrales françaises, nous croyons nécessaire de faire connaître encore certaines tentatives faites dans les provinces au moment où l'art s'affranchit des traditions romanes.

Pendant qu'on élevait les portes que nous avons figurées dans ces deux derniers exemples, c'est-à-dire de 1190 à 1200, on bâtissait en Bourgogne, près d'Avallon, un très-remarquable monument religieux, dont nous avons souvent l'occasion de parler, la petite église de Montréal (Yonne). Sa façade occidentale, entièrement lisse, n'est décorée que par une porte basse, large, et par une rose. La porte se distingue par la singularité de sa composition et par sa sculpture, qui est du plus beau style. Afin de pouvoir mieux faire apprécier cet ouvrage à nos lecteurs, nous adoptons une échelle qui permettra de prendre une idée plus exacte de son caractère, et nous ne donnons ainsi que la moitié de l'ensemble (fig. 63).

Bien que les murs de l'église de Montréal soient élevés en moellon smillé, les piles intérieures, les contre-forts et la façade sont construits en bel appareil de pierre de Coutarnoux (Champ-Rotard); les joints et lits étant fins et parfaitement dressés. Quant aux ravalements, ils sont faits avec un soin et une précision de taille tout à fait remarquables, et le charme de ce petit édifice consiste principalement dans la manière dont sont traités les profils et les tailles. Tous les parements droits ou unis sont layés à la laye ou au taillant droit, tandis que les moulures fines, comme les bases, les tailloirs, sont polies. Le contraste entre ces tailles donne quelque chose de précieux aux profils et arrête le regard.

Notre figure indique l'appareil, et permet de reconnaître qu'il est entièrement d'accord avec les formes adoptées. Les lits coïncident avec les membres de moulures, la hauteur des chapiteaux, des bandeaux, la division des redents décorant les pieds-droits et la disposition des membres des archivoltes. Les détails de l'architecture sont, de plus, traités avec un soin rare et par un artiste consommé; les colonnettes des ébrasements sont monolithes, et entre elles, les angles des pieds-droits retraités sont ornés de fleurettes, deux dans chaque assise. À l'article CONGÉ (fig. 3), nous avons donné la partie inférieure du trumeau, dont la composition est des plus originales. Mais, suivant l'habitude des architectes de la Bourgogne, vers la fin du XIIe siècle (car cette porte date de 1200 au plus tard), les moulures d'archivoltes, au-dessus du lit inférieur des sommiers, naissent au milieu d'ornements ou de demi-cylindres pris aux dépens de l'équarrissement du profil, ainsi que nous l'avons indiqué en A. Les moulures d'archivoltes ne reposent donc pas brusquement sur les tailloirs des chapiteaux et conservent de la force à leur souche. En B, est tracé le profil des archivoltes à l'échelle de 0m,04 pour mètre. Chaque claveau étant profilé dans un épannelage rectangulaire tracé en a, c'est aux dépens des évidements b que sont taillées les souches feuillues ou composées de demi-cylindres horizontaux. Les vantaux de la porte de l'église de Montréal ont conservé leurs pentures de fer forgé, qui sont d'un dessin très-délicat.

La figure 64 donne en A le plan de cette porte. On observera que la première colonnette a est retraitée de la saillie du profil du socle de la base et du tailloir du chapiteau (qui donnent la même projection horizontale), afin que cette saillie ne dépasse pas le nu b du mur de la façade. Dès lors le membre d'archivolte externe repose sur le nu b, et non sur le tailloir. Tout cela indique du soin, de l'étude, et ne permet pas de supposer, ainsi que plusieurs le prétendent, que cette architecture procède au hasard, qu'elle ne sait pas tout prévoir. À l'intérieur, une tribune de pierre s'élève au-dessus de cette porte; elle est soutenue par de grands encorbellements et par la colonnette B (voy. TRIBUNE), posée sur l'emmarchement qui descend dans la nef; car le sol extérieur est plus élevé que le sol intérieur du côté de la façade occidentale. Deux arcs de décharge en tiers-point surbaissé doublent le linteau à l'intérieur, et portent sur les colonnettes engagées d et sur le trumeau. En C, nous donnons un dessin perspectif des chapiteaux, avec leurs tailloirs, au-dessus desquels on remarquera les naissances des archivoltes plongeant dans les demi-cylindres dont nous venons de parler; car, d'un côté de la porte, sont des ornements, de l'autre ces demi-cylindres. Notre croquis, si insuffisant qu'il soit, montre assez cependant que la sculpture est d'un bon style, grande d'échelle, bien composée; que ces chapiteaux portent franchement les quatre membres de l'archivolte et se combinent adroitement avec les fleurettes qui garnissent les angles des pieds-droits.

L'architecture de Bourgogne, pendant les XIIe et XIIIe siècles, se recommande par l'ampleur et la hardiesse. Les profils, la sculpture, sont traités largement; de plus, les compositions présentent un caractère d'originalité que l'on ne trouve pas développé au même degré dans les autres provinces françaises. La porte principale de l'église de la Madeleine de Vézelay, celle de l'église de Montréal, donnent la mesure de ces qualités particulières, et qui appartiennent au génie de la population établie sur cette contrée. En Bourgogne, l'architecture des XIIe et XIIIe siècles ne s'arrête pas à des types consacrés, elle cherche au contraire la variété, des voies nouvelles et hardies; elle sait profiter des matériaux que fournit le sol, et son école de sculpteurs est puissante. Il existe encore, sous le porche de l'église de Saint-Père, ou plutôt de Saint-Pierre-sous-Vézelay (Yonne), une porte fort dégradée aujourd'hui, mais dont la composition est empreinte à un degré remarquable des qualités que nous venons de signaler.

Cette porte (fig. 65), qui date de 1240 environ, quoique d'une petite dimension, est conçue évidemment par un artiste du premier ordre. Elle se trouvait percée primitivement sous le pignon dont nous avons donné l'élévation 309; le porche ayant été élevé plus tard. Un trumeau sépare les deux baies jumelles terminées par deux grands trilobes d'un trait hardi. Ce trumeau, dégradé aujourd'hui, était décoré par une statue de saint Pierre placée très-près du sol. Au-dessus du dais, qui couronnait cette statue, et dont on retrouve les traces, est sculpté un buste de roi (probablement David), qui supportait une figure du Sauveur assise, accompagnée de deux anges thuriféraires 310. Sur les pieds-droits adossés à deux colonnes, on voyait deux autres statues, détruites aujourd'hui, et couronnées de dais d'un haut style. En A, nous avons tracé le plan de la porte avec la projection horizontale des tailloirs des chapiteaux, du dais et de la naissance des archivoltes. La statuaire remplit, dans cette composition, un rôle important; elle est empreinte d'un caractère libre et puissant, sans contrarier les lignes de l'architecture. Cet ensemble est élevé en matériaux relativement grands et bien appareillés.

Nous sommes obligés de nous borner et de laisser de côté quantité d'exemples de portes remarquables par la variété de leur composition et la beauté de leurs détails. Les exemples que nous venons de donner en dernier lieu, et qui appartiennent à la belle époque du moyen âge, font assez connaître que cette architecture gothique se développait, dans les diverses provinces françaises, avec une liberté d'allures bien éloignée de cet hiératisme dont on a parfois accusé les maîtres de cet art. Il arriva certainement un moment où l'architecture gothique admit des formules et tomba dans la monotonie; mais même alors il se trouva des artistes qui surent conserver leur individualité, tout en profitant des données admises et des types consacrés, ainsi que nous le verrons bientôt. Pendant la période de formation, c'est toutefois par la liberté dans la composition et l'exécution que se recommande l'art gothique, bien qu'alors il restât soumis à des principes définis. C'est en cela que l'étude de cette architecture peut être profitable.

Nous avons vu comme l'école de Toulouse avait su concilier les traditions de l'architecture gallo-romaine avec les données byzantines recueillies en Orient. Une autre école voisine, celle de la Provence, s'était initiée plus intimement encore aux derniers vestiges de l'art gréco-romain, réfugié en Syrie. En examinant les portes de Saint-Gilles et de Saint-Trophime d'Arles, qui datent de la fin du XIIe siècle, on croirait voir les restes de ces monuments semés en si grand nombre sur la route d'Antioche à Alep. En effet, cette contrée fut conquise par les croisés en 1098, sous le commandement de Bohémond Ier, fils de Robert Guiscard; et jusqu'en 1268, la principauté d'Antioche resta aux mains des Occidentaux. Les Provençaux étaient les intermédiaires naturels entre la France et les croisés établis en Syrie; il n'est donc pas surprenant qu'ils aient rapporté, de ces contrées si riches en monuments romano-grecs, les éléments des arts qu'ils pratiquèrent en Occident pendant le XIIe siècle.

Mais les Provençaux possédaient chez eux de nombreux monuments de l'époque romaine; et en s'inspirant du style rapporté d'Orient, ils y mêlaient, à une forte dose, les éléments romains épars sur leur sol. Ainsi, bien que les dispositions générales, les proportions, les profils, l'ornementation, soient presque entièrement empruntés à la Syrie, la statuaire est dérivée du style gallo-romain, avec quelques influences byzantines. Il n'en pouvait être autrement, puisque les édifices des environs d'Antioche sont totalement dépourvus de statuaire. Les belles portes des églises de Saint-Trophime d'Arles et de Saint-Gilles sont couvertes de figures fortement empreintes des traditions gallo-romaines. L'imagerie, abandonnée par les chrétiens d'Orient des Ve et VIe siècles, qui élevèrent les monuments dont nous venons de parler, resta toujours en honneur chez les Occidentaux. Ceux-ci suppléèrent à ce qu'il manquait aux modèles recueillies en Orient, par l'imitation des débris gallo-romains et des nombreuses sculptures que l'on rapportait sans cesse de Constantinople, et qui ornaient des meubles, des coffrets, des diptyques, des couvertures de manuscrits de bois, d'ivoire ou d'orfévrerie. Byzance entretenait un commerce considérable avec tout l'Occident pendant les XIe et XIIe siècles, et la sculpture, malgré les iconoclastes, y avait toujours été pratiquée pour satisfaire au goût des Français, des Italiens et des Allemands. Il faut donc distinguer, dans nos monuments de Provence du XIIe siècle, ces deux éléments: l'un dérivé des formes architectoniques provenant de la principauté d'Antioche, l'autre issu des traditions gallo-romaines et des exportations d'objets fabriqués à Constantinople. Ces éléments connus et appréciés, cette architecture provençale du XIIe siècle s'explique naturellement. Si l'on ne tient compte de ces origines diverses, cette architecture est inexplicable, en ce qu'elle semble surgir tout à coup du milieu de la barbarie, en présentant les caractères d'un art très-avancé et plus près de la décadence que du berceau.

On peut apprécier ces caractères en jetant les yeux sur la figure 66, qui donne une partie de la porte de Saint-Trophime d'Arles. Comme structure, comme profils et ornementation, cette porte est toute romano-grecque syriaque; comme statuaire, elle est gallo-romaine avec une influence byzantine prononcée. Son iconographie mérite d'être étudiée. Au centre du tympan, est le Christ couronné dans sa gloire, tenant le livre des Évangiles et bénissant; autour de lui sont les quatre signes des évangélistes; sous la première voussure, deux rangs d'anges adorateurs à mi-corps. Dans le linteau, sont sculptés les douze apôtres assis; puis à la droite du Christ, sur le pied-droit, Abraham recevant les élus dans son giron. De ce même côté sont figurés, sur une haute frise, les élus vêtus, les femmes étant placées à la suite des hommes; à la tête de cette théorie, sont deux évêques. Dans la frise, en pendant, à la gauche du Christ, sont les damnés, nus, reliés par une chaîne et marchant en sens inverse, conduits par un démon au milieu des flammes. Sur le chapiteau du trumeau est sculpté l'archange saint Michel, appuyé sur une lance. Entre les colonnes des larges pieds-droits de la porte, sont quatre apôtres, et en retour, des saints de la primitive Église. Un évêque, saint Trophime probablement, est sculpté dans un de ces compartiments. En regard, les âmes sortent de terre et sont enlevées par un ange et un diable. Si remarquable que soit l'architecture provençale du XIIe siècle, elle était frappée d'impuissance et ne savait produire autre chose que ces curieux mélanges d'imitations diverses. De ces mélanges il ne pouvait sortir un art nouveau, et en effet il ne sortit rien; dès le commencement du XIIIe siècle, l'architecture provençale était tombée dans une complète décadence, il en fut tout autrement des écoles du Nord, de l'Île-de-France, de la Picardie, de la Bourgogne et de la Champagne. Ces écoles, qui s'étaient moins attachées à l'imitation des arts recueillis en Orient, qui n'en avaient reçu qu'un reflet assez vague, cherchèrent dans leur propre fonds les éléments d'un art; et l'école laïque de la fin du XIIe siècle, s'appuyant sur une structure raisonnée et l'étude de la nature, dépassa rapidement ses aînées de la Provence et du Languedoc. La porte de Saint-Trophime d'Arles, malgré ses mérites au point de vue de la composition, des proportions et de la belle entente des détails, est évidemment un monument tout voisin de la décadence; tandis que la porte de la Vierge du portail occidental de la cathédrale de Paris, qui ne lui est postérieure que de quelques années, est un monument empreint d'une verdeur juvénile, d'un style neuf, puissant, et qui promet une longue suite d'ouvrages du premier ordre. C'est que la porte de Saint-Trophime n'est qu'une oeuvre provenant de sources diverses, qu'une habile imitation, tandis que la porte de la Vierge de Notre-Dame de Paris, tout en respectant des principes admis, est une oeuvre originale qui n'emprunte aux arts antérieurs qu'une forme générale consacrée.

Parmi tant de jugements aventurés qui ont été pendant trop longtemps prononcés sur l'art de l'école laïque française du XIIe siècle, ou, si on l'aime mieux, sur l'art gothique, le plus étrange est certainement celui qui prétendait faire dériver cette architecture gothique des croisades. Les croisades ont eu sur l'art du moyen âge, au commencement du XIIe siècle, une influence incontestable, rapide, parfaitement appréciable, lorsque l'on compare les monuments gréco-romains de Syrie avec ceux élevés en France dans les provinces du Midi, du Centre et de l'Ouest. Mais l'architecture gothique, celle que l'école laïque du Nord élève vers la fin du XIIe siècle, est au contraire la réaction la plus manifeste contre cette influence venue d'Orient. Soit qu'on envisage l'architecture gothique au point de vue de la structure, du système des proportions ou des ordonnances, de l'emploi des matériaux, du tracé des profils, de la disposition des plans, de l'ornementation et de la statuaire, elle se sépare entièrement des principes rapportés d'Orient par les derniers architectes romans. Mais il est si facile d'admettre des jugements tout faits et de les accepter sans contrôle, que nous entendrons répéter longtemps encore que l'architecture gothique a été rapportée en France par les croisés qui ont suivi Louis le Jeune en Palestine, bien qu'il soit démontré aujourd'hui que les restes d'architecture rappelant les formes gothiques, et existant en Palestine, sont dus précisément aux croisés devenus maîtres de Jérusalem. Le petit nombre de Français qui revinrent en Occident après l'expédition de Louis le Jeune avaient certes bien autre chose à penser qu'à rapporter des formules architectoniques. Pour qu'un art, à de si grandes distances, passe d'un peuple chez un autre, il faut que des établissements permanents aient pu se constituer, que des relations se forment, que le commerce prenne un cours régulier. Ce ne sont pas des soldats qui rapportent un art dans leur bagage, surtout s'ils ont tout perdu en chemin. La principauté d'Antioche, fortement établie dès la fin du XIe siècle en Syrie, au milieu d'une contrée couverte littéralement d'édifices encore intacts aujourd'hui, a pu servir de centre d'études pour les artistes occidentaux; mais il est en vérité assez puéril de croire que les croisés des XIIe et XIIIe siècles, qui n'ont pu s'établir nulle part, et n'ont tenté que des expéditions malheureuses, aient rapporté en France un art aussi complet et aussi profondément logique que l'est l'architecture dite gothique.

Il nous reste à étudier les portes d'églises dues incontestablement à l'art français du commencement du XIIIe siècle, en dehors de toute influence étrangère. Déjà celles que nous avons données dans cet article, provenant des églises de Nesles, de Montréal, de Saint-Père, sont franchement gothiques, bien qu'elles se rattachent par quelques points aux traditions romanes, ou qu'elles présentent des singularités. Maintenant nous entrons dans le domaine royal, nous ouvrons le XIIIe siècle, et la marche de l'architecture est suivie sans déviations, aussi bien dans l'exécution de ces vastes portails de nos églises que dans les autres parties de ces édifices. Nous prendrons d'abord la porte de la façade occidentale de Notre-Dame de Paris, percée sur le collatéral nord, et qui est connue sous le nom de porte de la Vierge. La porte opposée à celle-ci, s'ouvrant sur le collatéral sud, est composée en grande partie avec des fragments provenant d'une porte du XIIe siècle, ainsi que nous l'avons expliqué plus haut. La porte centrale, élevée en même temps que celle de la Vierge, fut remaniée peu après, nous ne savons pour quelle raison, car nous avons découvert dans les fouilles des fragments d'un tympan primitif provenant du Christ et des figures qui l'entouraient. En effet, cette porte centrale paraît, par son style, être postérieure de quelques années à la porte de gauche. Celle-ci, dite de la Vierge, appartient aux premières constructions de la grande façade, et fut élevée par conséquent de 1205 à 1210. C'est une des plus belles conceptions de l'art du moyen âge, soit comme architecture, soit comme ornementation, soit comme statuaire. Elle est construite entièrement en matériaux de choix, liais-cliquart de la butte Saint-Jacques.

Si l'on jette les yeux sur le plan de la cathédrale de Paris (voy. CATHÉDRALE, fig. 1), on observera que cette porte de gauche s'ouvre sous la tour, comme celle de droite, dans une salle voûtée au moyen d'arcs ogives croisés d'arcs-doubleaux, de sorte que l'un de ces arcs-doubleaux repose sur le trumeau de la baie double, et que les deux vantaux étant ouverts, ces deux baies donnent en face des deux bas côtés.

Le plan de la porte de la Vierge, (fig. 67) présente donc une disposition particulière, très-largement conçue. En A, ce plan donne la section horizontale au niveau des soubassements décorés d'une arcature. En B, au niveau des statues qui surmontent ce soubassement et qui reposent sur une large saillie, l'ordonnance des colonnettes qui séparent les statues est telle, que ces colonnettes a sont plantées sur l'axe b des arcs du soubassement, et qu'alors les statues reposent sur les colonnettes inférieures c. C'est sur la grosse colonne D que porte l'arc-doubleau d recoupant les arcs ogives. Dans l'origine, l'espace DE était vide; mais des écrasements s'étant produits dans la colonne D, cet espace fut rempli en pierres de taille, peu après la construction, ainsi que l'indiquent les lignes ponctuées g, de façon à réunir cette colonne au trumeau.

La figure 68 présente l'élévation de cette porte, qui est tout un poëme de pierre. Sur le socle du trumeau central est placée la statue de la Vierge tenant l'enfant; sous ses pieds elle foule le dragon à tête de femme, dont la queue s'enroule au tronc de l'arbre de la science. Adam et Ève, des deux côtés de l'arbre, sont tentés par le serpent. Sur la face gauche du socle, est sculptée la création d'Ève, et sur celle de droite, l'ange chassant nos premiers parents du paradis. Un dais très-riche, soutenu par deux anges thuriféraires, surmonte la tête de la Vierge et se termine par un charmant édicule recouvrant l'arche d'alliance. On voudra bien se rappeler que les litanies donnent à la Vierge le titre d'Arche d'alliance. Ainsi, sur ce trumeau, la glorification de la mère du Christ est complète. Elle tient dans ses bras le Rédempteur; suivant la parole de l'Écriture, elle écrase la tête du serpent, et sa divine fonction est symbolisée par l'arche d'alliance. Sur le linteau de la porte, divisé en deux parties par l'édicule couronnant le dais, sont sculptés, à la droite de la Vierge, trois prophètes assis, la tête couverte d'un voile, tenant un seul phylactère dans une attitude méditative; à la gauche, trois rois couronnés dans la même pose. Ces six figures sont des plus belles entre toutes celles de cette époque. La présence des prophètes est expliquée par l'annonce de la venue du Messie; quant aux rois, ils assistent à la scène comme ancêtres de la Vierge. Les têtes de ces personnages sont particulièrement remarquables par l'expression d'intelligence méditative qui semble leur donner la vie.

Le second linteau représente l'ensevelissement de la Vierge. Deux anges tiennent le suaire et descendent le corps dans un riche sarcophage. Derrière le cercueil est le Christ bénissant le corps de sa mère; autour de lui les douze apôtres, dont les physionomies expriment la douleur. Dans le tympan supérieur, la Vierge est assise à la droite de son fils, qui lui pose sur la tête une couronne apportée par un ange. Deux autres anges agenouillés des deux côtés du trône portent des flambeaux. Dans les quatre rangées de claveaux qui entourent ces bas-reliefs, sont sculptés des anges, les patriarches, les rois aïeux de la Vierge, et les prophètes. Un cordon couvert de magnifiques ornements termine les voussures. Mais comme pour donner plus d'ampleur à la courbe finale, une large moulure l'encadre en forme de gâble renfoncé. Cet encadrement repose sur deux colonnettes.

Huit statues garnissent les ébrasements, ainsi que l'indique notre plan (fig. 61). Voici comment se disposent ces figures. En commençant par le jambage à la droite de la Vierge, est placé saint Denis portant sa tête et accompagné de deux anges, puis Constantin. Contre l'ébrasement opposé, en face de Constantin, est le pape saint Sylvestre; à la suite, sainte Geneviève, saint Étienne et saint Jean-Baptiste. Les statues étant posées sur les colonnettes de l'arcature inférieure, les tympans réservés entre les arcs qui surmontent ces colonnettes sont par conséquent sous les pieds des figures. Chacun de ces tympans porte une sculpture qui se rapporte au personnage supérieur. Sous Constantin, deux animaux, un chien et un oiseau, pour signifier le triomphe du christianisme sur le démon; sous saint Denis, le bourreau tenant la hache; sous les deux anges, un lion et un oiseau monstrueux, symboles des puissances que les anges foulent aux pieds; sous saint Sylvestre, la ville de Byzance; sous sainte Geneviève, un démon; sous saint Étienne, un juif tenant une pierre; sous saint Jean-Baptiste, le roi Hérode. Dans le fond de l'arcature, sous les petites ogives, sont sculptées en relief très-plat des scènes se rapportant également aux statues supérieures. Ainsi, sous Constantin, on voit un roi agenouillé, tenant une banderole, aux pieds d'une femme assise voilée, couronnée, nimbée, et tenant un sceptre. Cette femme, c'est l'Église; à laquelle l'empereur rend hommage. Sous les anges, on voit les combats de ces esprits supérieurs contre les esprits rebelles. Sous saint Denis, son martyre; sous saint Sylvestre, un pape conversant avec un personnage couronné; sous sainte Geneviève, une femme bénie par une main sortant d'une nuée, et recevant l'assistance d'un ange; sous saint Étienne, la représentation de son martyre; sous saint Jean-Baptiste, le bourreau donnant la tête du précurseur à la fille d'Hérodiade. À la même hauteur, sur les jambages, sont sculptés, en e (voy. le plan), la Terre, représentée par une femme tenant des plantes entre ses mains; en f, la Mer, figurée de même par une femme assise sur un poisson et tenant une barque. Les pieds-droits extérieurs de la porte, en h, sont couverts de végétaux sculptés avec une rare délicatesse; les arbres et arbustes sont évidemment symboliques: on reconnaît parfaitement un chêne, un hêtre, un poirier, un châtaignier, un églantier.

Trente-sept bas-reliefs, sculptés sur les deux faces de chacun des pieds-droits de la porte en m, composent un almanach de pierre au-dessus des bas-reliefs de la Mer et de la Terre. Ce sont les figures du zodiaque et les divers travaux et occupations de l'année 311.

L'ensemble de cette composition, dont notre gravure ne peut rendre la grandeur et le caractère, forme ainsi un tout complet. D'abord la Vierge, dans son rôle de femme, élue pour détruire le règne du démon. Sa généalogie, les prophètes qui ont annoncé sa naissance; sa mort, son couronnement dans le ciel. Puis les personnages qui ont inauguré l'ère chrétienne, saint Jean-Baptiste, saint Étienne, premier martyr, le pape saint Sylvestre et l'empereur Constantin; et comme pour rattacher ce résumé au diocèse de Paris, saint Denis et sainte Geneviève. La Terre, la Mer, la révolution annuelle, assistent à cette épopée divine, et paraissent lui rendre un éternel hommage.

C'est ainsi que les artistes du commencement du XIIIe siècle savaient composer une porte de cathédrale. Et cependant que croyait-on voir dans tout cela il y a deux siècles? Un symbole du grand oeuvre, des figures cachant la découverte de la pierre philosophale? Des ouvrages entiers ont été sérieusement écrits sur ces rêveries.

L'exécution répond en tout à la grandeur de la conception, et la statuaire de cette porte peut être mise au rang des plus belles oeuvres dues aux artistes de l'Occident (voy. STATUAIRE).

La porte de la Vierge de la façade occidentale de Notre-Dame de Paris est certainement une des premières compositions en ce genre. Supérieure aux oeuvres analogues du XIIIe siècle, elle atteint du premier coup l'apogée de l'art. Si l'on étudie cette porte en dehors des influences qui prétendent classer tous les ouvrages du moyen âge au-dessous de ceux de l'antiquité, on reconnaît bientôt que jamais l'alliance de l'architecture et de la statuaire n'a été plus intime. L'échelle des figures est observée avec une délicatesse rare: qualité qui manque presque toujours aux oeuvres postérieures, et trop souvent à celles de l'antiquité. S'il y a des différences entre les dimensions de ces figures, elles ne sont pas assez sensibles pour que leur réunion ne forme pas un ensemble complet. Les statues qui garnissent les voussures sont en effet à mi-corps, afin de leur donner une échelle en rapport avec celles qui garnissent les tympans.

Autrefois cet ensemble était couvert de peintures et de dorures, dont les traces sont encore visibles.

La porte centrale de la même église, bien que très-belle, le cède à la porte de la Vierge, soit comme composition, soit comme perfection d'exécution.

Ce grand parti est suivi dans toutes nos cathédrales du XIIIe siècle. Cependant, parfois, les tympans des portes furent percés de claires-voies, de véritables fenêtres vitrées. Telles sont disposées, par exemple, les trois portes de la façade occidentale de la cathédrale de Reims. C'est là une particularité qui semble appartenir à l'école champenoise, à dater du milieu du XIIIe siècle, mais qui demeure à l'état d'exception. Les tympans sculptés donnaient aux imagiers de trop belles pages à remplir pour que ceux-ci n'en profitassent pas; et de fait, on n'a jamais su trouver de meilleures places pour développer des scènes sculptées. Aux deux portes de la façade occidentale de Notre-Dame de Paris, celle centrale et celle de la Vierge, les figures qui décorent la partie supérieure des tympans sont des statues rapportées sur un fond, comme le sont les statues qui garnissaient les deux tympans des frontons du Parthénon, tandis que les linteaux sont des bas-reliefs en ronde bosse. Quant aux figures des voussures, elles sont sculptées, chacune, dans un claveau et avant la pose. On a lieu de s'étonner que cette époque ait pu fournir un nombre d'imagiers assez considérable pour permettre d'élever des portes aussi richement décorées en très-peu de temps, d'autant que les différences de faire sont peu sensibles, que toutes ces figures sont sculptées dans de la pierre dure comme du marbre, et toutes d'un style et d'une exécution remarquables. La porte de la Vierge contient neuf grandes statues; vingt-huit figures, dont quelques-unes sont plus fortes que nature dans les linteaux et le tympan; soixante-deux figures, dans les voussures, en pied ou à mi-corps, presque de grandeur naturelle; de plus, vingt-neuf bas-reliefs, sans compter l'ornementation. La porte centrale, celle du Jugement dernier, contient treize statues de plus de deux mètres; cinq figures colossales dans le tympan, cinquante figures petite nature dans les linteaux, cent vingt-six figures ou sujets petite nature dans les voussures, et quarante-deux bas-reliefs. Cela donne bien un peu à réfléchir sur la puissance de cette école de statuaire du commencement du XIIIe siècle; toutes ces figures ayant dû être sculptées avant la pose, c'est-à-dire assez rapidement pour ne pas ralentir le travail du constructeur. Si l'on ajoute à ce nombre les sculptures de la porte Sainte-Anne, les vingt-huit statues colossales des rois de Juda, les quatre statues également colossales qui décorent les contre-forts, et que l'on se rappelle que ce portail, jusqu'à la hauteur de la galerie de la Vierge, dut être élevé en cinq années au plus, on peut bien se demander s'il serait possible aujourd'hui d'obtenir un pareil résultat. Et cette fécondité, cependant, n'est pas obtenue au détriment de l'exécution ou de l'unité dans le style; on peut, certes, constater le travail de mains différentes, sans qu'il en résulte un défaut d'harmonie dans l'ensemble. Si les grandes portes du XIIIe siècle, appartenant aux cathédrales de Chartres, de Reims, d'Amiens, de Bourges, présentent des exemples admirables, on ne saurait cependant les considérer comme pouvant rivaliser avec les deux portes que nous venons de citer, et notamment avec celle de la Vierge de Notre-Dame de Paris. Cependant, à la base du transsept méridional de cette église, il existe une porte fort belle, datée de 1257, et qui peut être classée parmi les meilleures compositions en ce genre. Le tympan représente la légende de saint Étienne, et les voussures, des martyrs, des docteurs et des anges. Sur le trumeau est dressée la statue du saint, et dans les ébrasements sont placés des apôtres. Il est à croire que cette porte passa, au moment où elle fut bâtie, pour un chef-d'oeuvre, car on la retrouve exactement copiée, sauf quelques détails, à la base du pignon méridional de la cathédrale de Meaux, mais par des mains moins habiles.

Il nous faut citer encore, parmi les portes du milieu du XIIIe siècle, remarquables par leur exécution et leur composition, celles de la sainte Chapelle de Paris, celle méridionale du transsept de l'église abbatiale de Saint-Denis, découverte depuis peu, et qui fut malheureusement mutilée pendant le dernier siècle pour construire un couloir entre l'église et la maison des religieux. Cette porte est, comme sculpture, une oeuvre incomparable, et jamais la pierre ne fut traitée avec plus d'habileté.

La fin du XIIIe siècle et le XIVe siècle nous fournissent des exemples de portes bien composées et d'une exécution excellente; mais, cependant, ces ouvrages sont tous empreints d'une maigreur de style qui fait regretter les conceptions incomparables du commencement du XIIIe siècle. Les détails d'ornements ne sont plus à l'échelle, les figures sont petites et les sujets confus. Les formes géométriques l'emportent sur la statuaire, l'enveloppent et la réduisent à un rôle infime. Les profils se multiplient, et à force de rechercher la variété, les artistes tombent dans la monotonie. Cependant nous serions injustes si nous ne constations les qualités qui distinguent quelques-unes de ces compositions. Bien des fois, dans cet ouvrage, nous avons l'occasion de citer l'église de Saint-Urbain de Troyes, monument des dernières années du XIIIe siècle, et dont la structure comme les détails ont une grande valeur. Cette église possède une porte centrale à l'occident, dont la composition est originale et gracieuse. La porte principale de l'église de Saint-Urbain s'ouvrait sous un porche qui ne fut pas achevé.

Elle est dépourvue de voussures, le formeret de la voûte du porche lui en tenant lieu. Sur le trumeau central (voyez figure 69), s'élevait, croyons-nous, la statue de saint Urbain, pape 312. Dans une riche colonnade surmontée de dais, à droite et à gauche, sous le porche, ne formant pas ébrasements, devaient être posées diverses statues, comme sous le porche de l'église Saint-Nicaise de Reims. Deux de ces statues, près des pieds-droits, se détachaient plus particulièrement des groupes posés sous la colonnade, et portaient sur deux piédestaux saillants (voyez le plan A). Le linteau, très-chargé d'ornements feuillus et de moulures, retrace, sur une frise étroite, la résurrection. Les morts sortent de leurs cercueils. Dans les compartiments inférieurs du tympan, à la droite du Christ, on voit Abraham recevant les élus dans les plis de son manteau; à la suite, deux anges séparent les âmes. Celles qui sont élues sont couronnées. Dans le compartiment suivant, sont les damnés enchaînés et tirés par des démons; parmi ces âmes, on remarque un évêque et un roi reconnaissables à la mitre et à la couronne, car ces petites figures sont nues d'ailleurs. Le dernier compartiment représente l'entrée de l'enfer sous la forme d'une gueule monstrueuse dans laquelle les démons précipitent les damnés. Au-dessus, dans deux quatre-lobes, la Vierge et saint Jean, agenouillés, implorent le Christ pour les pécheurs; entre-deux est sculpté un ange, les ailes éployées et tenant un phylactère. Cet ange remplace le pèsement des âmes représenté d'une façon si dramatique sur les monuments antérieurs. Dans le quatre-lobes supérieur apparaît le Christ demi-nu, accompagné de deux anges tenant le soleil et la lune, et ayant sous ses pieds les douze apôtres assis. Dans les deux triangles latéraux, deux anges sonnent de la trompette. Il y a loin de ce petit paradis géométrique, où la statuaire ne remplit qu'un rôle très-secondaire, aux glorieux tympans de Notre-Dame de Paris, de Chartres, d'Amiens, et de la cathédrale de Bordeaux. Cette façon sommaire de représenter la scène du jugement indique assez que la grande école de statuaire tendait, à la fin du XIIIe siècle déjà, à laisser de côté les belles traditions religieuses qu'avaient si bien interprétées les artistes de 1160 à 1250.

En B, nous avons tracé le plan du trumeau.

C'est cependant sur ces compositions gracieusement agencées, mais qui manquent de style et de grandeur, que l'on juge habituellement l'art dit gothique. C'est comme si l'on prétendait apprécier l'art grec sur les compositions maigres et souvent maniérées du temps d'Adrien, au lieu de le juger sur les monuments du temps de Périclès.

On ne saurait nier toutefois qu'il y ait dans cette oeuvre de la fin du XIIIe siècle, sinon beaucoup d'imagination, au moins une conception très-gracieuse, une étude fine des proportions et une perfection prodigieuse dans l'exécution des détails; mais l'architecture l'emporte sur la statuaire, réduite à la fonction d'une simple ornementation. L'imagier n'est plus un artiste, c'est un ouvrier habile.

Ce qu'on ne saurait trop étudier dans les compositions du commencement du XIIIe siècle, c'est l'ampleur, les belles dispositions de la statuaire. Celle-ci, quoique soumise aux formes architectoniques, prend ses aises, se développe largement. On peut constater la vérité de cette observation, en examinant notre figure 68. Dans cette page, la statuaire remplit évidemment le rôle important, mais sans qu'il en résulte un dérangement dans les lignes de l'architecture. En comparant cette oeuvre (la porte de la Vierge de la façade de Notre-Dame de Paris) avec les meilleures productions de l'antiquité, chacun peut constater qu'ici la statuaire est conçue d'après des données singulièrement favorables à son complet épanouissement. La pensée de former autour du tympan un encadrement de figures, une assemblée de personnages assistant à la scène principale, est certainement très-heureuse et neuve. Rien de pareil ni dans les monuments de la Grèce, ni dans les monuments de la Rome antique.

En appréciant les choses d'art avec les yeux d'un critique impartial, et en ne tenant pas compte des admirations toutes faites ou imposées par un esprit exclusif, il faudra bien reconnaître que dans la plupart des conceptions de l'école laïque du commencement du XIIIe siècle, la statuaire est répartie d'après des données plus vraies qu'elle ne l'a été dans les monuments de l'antiquité. Si nous prenons le chef-d'oeuvre de l'art grec, le Parthénon, par exemple, nous voyons que la statuaire est placée dans le tympan du fronton, dans des métopes et sur des frises toujours plongées dans l'ombre, sous un portique dont le peu de largeur ne donnait pas une reculée suffisante pour apprécier la valeur de la sculpture. Les sujets posés entre les triglyphes, sous le larmier de la corniche, étaient, pendant une partie du jour, coupés par l'ombre de ce larmier. Ils sont trop petits d'échelle pour la place qu'ils occupent, surtout si on les compare aux statues des tympans.

Éloignée de l'oeil, cette admirable statuaire de Phidias, qui, dans un musée, peut être étudiée et appréciée, perdait naturellement beaucoup. Mérite d'exécution à part, il n'est pas nécessaire de raisonner longuement pour prouver que la statuaire des portails de nos grandes cathédrales est plus favorablement disposée, et que, par conséquent, l'effet d'ensemble qu'elle produit sur le spectateur est plus complet et plus saisissant. Placer autour des portes, c'est-à-dire autour des parties d'un monument dont on peut le plus souvent et le plus aisément apprécier la richesse, ces myriades de figures qui participent à un sujet, c'est là certainement une idée féconde pour les artistes appelés à décorer ces vastes portails. Alors la statuaire peut être appréciée dans son ensemble comme composition, dans ses détails comme exécution. Elle n'est pas trop distante du spectateur pour que celui-ci ne puisse l'examiner à l'aise. Les rapports d'échelle, entre les figures, sont établis de façon à ne point présenter de ces contrastes qui choquent dans les monuments de l'antiquité. On ne trouve pas, ainsi que cela se voit trop souvent dans les édifices de la Rome impériale, par exemple, des figures en ronde bosse à côté de figures en bas-relief, sur une même échelle. À la porte de la Vierge de Notre-Dame, les sujets traités en bas-relief sont très-rapprochés de l'oeil et d'une échelle très-réduite. Ils ne forment plus, pour ainsi dire, qu'une ornementation de tapisserie qui ne peut lutter avec la statuaire ronde bosse.

Il y a donc, dans ces compositions du moyen âge, de l'art, beaucoup d'art, et si, comme à Notre-Dame de Paris, ces compositions sont soutenues par une exécution et un style remarquables, nous ne comprenons guère comment et pourquoi ces oeuvres ont été longtemps dédaignées, sinon dénoncées comme barbares. Convenons-en, les barbares sont ceux qui ne veulent pas voir ces ouvrages placés sous leurs yeux, et qui, sur la foi d'un enseignement étroit, vont étudier au loin des monuments d'un ordre très-inférieur à ceux-ci sous tous les rapports.

Les trois portes de la façade de la cathédrale de Paris, comme la plupart de celles élevées à cette époque (de 1200 à 1220), ont cela de particulier, qu'elles présentent une masse très-riche au milieu de surfaces unies, simples. Cette disposition contribue encore à donner plus d'éclat et d'importance à ces entrées. Elles ne sont reliées que par les niches décorant la face des contre-forts qui les séparent, niches qui abritent les quatre statues colossales de saint Étienne, de l'Église, de la Synagogue et de saint Marcel. Mais bientôt ce parti architectonique, d'un effet toujours sûr, parut trop pauvre. Les portes furent reliées à tout un ensemble d'architecture de plus en plus orné; elles ne formèrent plus une partie distincte dans les façades, mais furent reliées, soit par des portails avancés, comme à Amiens, soit par un système décoratif général, comme à Reims, à Bourges, à Notre-Dame de Paris même, aux extrémités du transsept; comme aux portails des Libraires et de la Calende à la cathédrale de Rouen. Cependant elles conservèrent leurs profondes voussures, leurs tympans, leurs trumeaux; mais les archivoltes de ces voussures furent surmontées de gâbles presque pleins d'abord, comme aux portails nord et sud de Notre-Dame de Paris, comme à la porte principale de la cathédrale de Bourges, puis ajourées entièrement, comme à la cathédrale de Rouen et dans tant d'autres églises du XIVe siècle 313. Ainsi que nous le disions tout à l'heure, à propos de la porte principale de Saint-Urbain de Troyes, la statuaire perdit l'ampleur que les artistes du commencement du XIIIe siècle avaient su lui donner; les sujets des tympans se divisèrent en zones de plus en plus nombreuses; les figures des voussures, en buste parfois, pour leur conserver une échelle en rapport avec celles des tympans, furent sculptées assises, ou même en pied, réduites de dimension par conséquent; les dais séparant les statuettes des voussures prirent plus d'importance, ainsi que les moulures des archivoltes; les statues des ébrasements entrèrent dans des niches séparées et ne posèrent plus sur une saillie prononcée, comme celles de la porte de la Vierge de Notre-Dame de Paris: des colonnettes s'interposèrent entre elles. Ces statues se perdent ainsi dans l'ensemble. À la fin du XIVe siècle, les formes de l'architecture et l'ornementation paraissent étouffer la statuaire. La grande école s'égare au milieu d'une profusion de détails trop petits d'échelle; les formes s'allongent et les lignes horizontales tendent à disparaître presque entièrement. L'exécution cependant est parfaite; l'appareil, le tracé des profils sont combinés avec une étude et un soin merveilleux.

On a pu remarquer dans les exemples de portes de la fin du XIIe siècle et du commencement du XIIIe précédemment donné, que les statues qui garnissent les ébrasements sont le plus souvent accolées à des colonnes portant un chapiteau surmonté d'un dais. Chaque statue faisait ainsi partie de l'architecture; elle était comme une sorte de caryatide qu'il fallait poser en construisant l'édifice; mais alors le mouvement, l'échelle de ces figures étaient ainsi associés intimement à l'ensemble. Plus tard, vers le milieu du XIIIe siècle, on laissa, dans les ébrasements des portes, des rentrants qui permettaient de poser les statues après coup et lorsque la bâtisse était élevée. Cette méthode était certes plus commode pour les statuaires, en ce qu'elle ne les obligeait pas à hâter leur travail et à suivre celui des constructeurs, mais l'art s'en ressentit. Les figures, dorénavant faites à l'atelier, peut-être à intervalles assez longs, n'eurent plus l'unité monumentale si remarquable dans les édifices de la première période gothique. La statuaire, sujette de l'architecture pour les bas-reliefs et pour toutes les parties qu'il fallait poser en bâtissant, s'amoindrissant même pour mieux laisser dominer les formes architectoniques, s'émancipait lorsqu'il s'agissait de faire de grandes figures posées après coup. L'artiste perdait de vue l'oeuvre commune, et tout entier à son travail isolé, comme cela n'a que trop souvent lieu aujourd'hui, il apportait de son atelier des figures qui sentaient le travail individuel et ne formaient plus, réunies, cet ensemble complet qui seul peut produire une vive impression sur le spectateur.

La finesse d'exécution, l'observation très-délicate d'ailleurs de la nature, la recherche dans les détails, une certaine coquetterie dans le faire, remplacent le style grandiose et sévère des artistes tailleurs d'images du XIIe siècle et du commencement du XIIIe. Il suffit d'examiner les portails du XIVe siècle pour être convaincu de la vérité de cette observation.

Parmi les grandes portes d'églises élevées vers le commencement du XIVe siècle, il faut noter entre les plus belles celles de la cathédrale de Rouen, les deux portes de la Calende et des Libraires, ou plutôt de la Librairie 314. Malgré la profusion des détails, la ténuité des moulures et de l'ornementation, ces portes conservent cependant encore de masses bien accusées, et leurs proportions sont étudiées par un artiste consommé.

Bien que le format de cet ouvrage ne se prête guère à rendre par la gravure des oeuvres aussi remplies de détails, cependant nous donnons ici l'une de ces deux portes de la cathédrale de Rouen, celle de la Calende. Cette porte (fig. 70) comprend de grandes lignes principales fortement accentuées; elle se détache avec art entre les gros contre-forts qui l'épaulent.

Sur le trumeau était placée la statue du Christ, détruite aujourd'hui. Dans les ébrasements, dix apôtres, trois de chaque côté; quatre statues se voient sur la même ligne, sur la face des gros contre-forts et sur les deux retours d'équerre. Les deux linteaux et le tympan représentent la Passion. Dans les voussures, sont sculptés des martyrs. Dans le lobe inférieur du grand gâble, le pèsement des âmes 315.

Malgré la belle entente des lignes et le choix heureux des proportions, on observera combien, dans cette porte, la statuaire est réduite, comme elle est devenue sujette des lignes géométriques. Dans les piédestaux qui supportent les statues sont sculptés des myriades de petits bas-reliefs représentant des scènes de l'Ancien Testament et des prophéties. Tout cela est d'ailleurs exécuté avec une rare perfection, et les statues, qui ne dépassent pas la dimension humaine, sont de véritables chefs-d'oeuvre pleins de grâce et d'élégance.

Le gâble qui surmonte cette porte, plein dans sa partie inférieure jusqu'au niveau A de la corniche de la galerie, est complétement ajouré au-dessus de celle-ci, et laisse voir la claire-voie vitrée supportant la rose.

En B, est tracé le plan des ébrasements avec les contre-forts, et en C, le plan de ces contre-forts au niveau D. Examinons un instant le tracé des ébrasements et voussures, indiqué en E à une échelle plus grande. Les colonnettes a montent de fond, reposent sur un glacis avec socle inférieur, et forment les boudins principaux des voussures. Entre elles sont tracés les piédestaux portant les statues, et l'angle saillant sort de la ligne du socle en b. La projection horizontale des dais surmontant les grandes figures est un demi-hexagone c d e f; le fond de la niche est la portion d'arc cd.

Au-dessus des dais couvrant les grandes figures viennent les voussoirs des archivoltes avec leurs dais i, l, m, n, donnant aussi l'épannelage des figurines. L'extrados de ces voussoirs est en p. On remarquera avec quelle méthode géométrique sont tracés, et les plans horizontaux, et les élévations de cette porte. La section inférieure B procède par pénétrations à 45º, formant toujours des angles droits, par conséquent un appareil facile, malgré la complication apparente des formes.

Mais, à l'article TRAIT, nous entrons dans de plus amples détails sur les procédés des maîtres du moyen âge, et notamment du commencement du XIVe siècle, lorsqu'il s'agit d'établir des plans superposés procédant tous d'un principe générateur admis dès la base de l'édifice.

On voit, par cet exemple, que les portes principales des églises ne sont plus des oeuvres pouvant être isolées, qu'elles forment un tout avec le monument et entrent dans le système général de décoration. Plus on pénètre dans le XIVe siècle, plus ce principe est suivi avec rigueur. Il devient dès lors difficile de présenter ces portes sans les accompagner des façades elles-mêmes au milieu desquelles on les a percées. Déjà la porte de la Calende de Notre-Dame de Rouen se lie si étroitement avec les contre-forts du transsept et avec la rose, que nous avons été obligé, pour en faire comprendre la composition, d'indiquer ces parties du monument.

Cette observation ne saurait d'ailleurs s'appliquer aux portes seulement. L'architecture religieuse des XIVe et XVe siècles ne présente plus des membres séparés, c'est un tout combiné géométriquement, une sorte d'organisme savant; et ces prismes, ces enchevêtrements de courbes, ces plans superposés qui paraissent à l'oeil former un ensemble si compliqué, sont tracés suivant des lois très-rigoureuses et une méthode parfaitement logique. Nous faisons aujourd'hui intervenir si rarement le raisonnement géométrique et l'art du trait dans nos compositions architectoniques, que nous sommes facilement rebutés lorsqu'il s'agit d'étudier à fond les oeuvres des maîtres des XIVe et XVe siècles, et que nous trouvons plus simple de les condamner comme des conceptions surchargées de détails sans motifs. Mais si l'on pénètre dans les intentions de ces artistes, et si l'on prend le temps d'analyser soigneusement leurs ouvrages, on est bien vite émerveillé de la simplicité et de l'ordre qui règnent dans les méthodes, de la rigoureuse logique des lois admises, et de la science avec laquelle ces artistes ont su employer la matière en présentant les apparences les plus légères, tout en élevant des constructions éminemment solides. Car il ne faut pas conclure de ce que, dans ces monuments, les parties purement décoratives se dégradent plus ou moins rapidement, que l'oeuvre n'est pas durable. La parure est combinée de telle façon qu'elle peut être facilement remplacée sans entamer en rien la bâtisse. Celle-ci, au contraire, indépendante, sagement conçue, est à l'abri des dégradations. Il faut bien qu'il en soit ainsi pour que ces monuments, d'un aspect si léger, aient pu résister aux mutilations et aux injures du temps, et qu'à l'aide de quelques réparations de surfaces, on puisse leur rendre tout leur premier lustre 316.

Les grandes portes de nos églises du XIVe siècle présentent un système de structure et d'ornementation analogue à celui que développe si bien la porte de la Calende. Pendant les deux premiers tiers du XVe siècle, on construisit en France peu d'édifices religieux. Les malheurs du temps, l'épuisement des ressources, ne le permirent pas, et ce ne fut que sous le règne de Louis XI que l'on commença quelques travaux. Toutefois les données générales admises pour les grandes portes des églises ne furent pas changées, et ce n'est que par les détails et le style que ces derniers ouvrages diffèrent de ceux du XIVe siècle. Les gâbles prirent encore plus d'importance, les moulures des pieds-droits et des voussures se multiplièrent; la statuaire fut de plus en plus étouffée sous la profusion des lignes de l'architecture et de l'ornementation; les tympans disparurent souvent pour faire place à des claires-voies vitrées; les linteaux se courbèrent en arcs surbaissés; les profils prismatiques prirent de l'ampleur et de fortes saillies. Au commencement du XVIe siècle, rien n'était encore changé aux données principales de ces grandes baies, ainsi qu'on peut le reconnaître en examinant les portes des églises de Saint-Wulfrand d'Abbeville et de Saint Riquier (Somme); mais dans ces deux derniers monuments on peut constater que les portes des façades sont tellement liées à celles-ci, soit comme lignes d'architecture, soit comme ornementation et système iconographique, qu'il est impossible de les en distraire.

La porte principale de l'église abbatiale de Saint-Riquier présente dans son tympan un arbre de Jessé formant claire-voie vitrée. L'idée est ingénieuse, mais rendue avec une recherche exagérée de détails et un pauvre style.

Parmi les portes de la fin du XVe siècle et du commencement du XVIe, nous mentionnerons celles des cathédrales de Tours, de Beauvais, de Troyes, de Sens (transsept côté nord), de Senlis (idem), ces deux dernières fort remarquables.

Les portes nord et sud de l'église Saint-Eustache de Paris datent également du commencement du XVIe siècle, et s'affranchissent quelque peu de la donnée gothique 317. Il faut citer aussi, comme appartenant à la première période de la renaissance, les portes principales des églises de Saint-Michel de Dijon, de Vétheuil près Mantes 318, de Saint-Nizier à Lyon, de Belloy (Seine-et-Oise), de Villeneuve-sur-Yonne. Ces portes conservent presque entièrement la donnée gothique dans leurs dispositions générales: ébrasements, voussures, trumeau, tympan; l'élément nouveau n'apparaît guère que dans l'exécution des détails de la sculpture et dans les profils.

PORTES DE SECOND ORDRE, dépendant d'églises.--Outre les grandes portes percées au centre des façades principales et de transsept, les églises en possèdent d'un ordre inférieur, s'ouvrant, soit sur les collatéraux, soit sur des dépendances, telles que cloîtres, sacristies, salles capitulaires, etc. Ces portes, de petite dimension, sont quelquefois assez richement décorées, ou étant très-simples, sont cependant empreintes d'un caractère monumental remarquable. Elles sont fermées par un vantail ou par deux vantaux, mais sont dépourvues de trumeau central.

Nous placerons en première ligne ici l'une des portes des bas côtés de la nef de l'église abbatiale de Vézelay, comme appartenant à cette belle architecture romane de l'ordre de Cluny, à la fin du XIe siècle et au commencement du XIIe.

Cette porte (fig. 71) se compose de deux pieds-droits, avec pilastres cannelés, portant deux archivoltes surhaussées, décorées d'ornements très-refouillés et grands d'échelle. Les bas-reliefs qui décorent le linteau et le tympan représentent l'annonciation, la visitation; la naissance du Sauveur; l'ange réveillant les bergers et leur montrant l'étoile; au-dessous, l'adoration des rois mages. Sur les deux chapiteaux des pieds-droits, sont sculptés deux anges les bras étendus: l'un d'eux sonne de l'olifant; et sur ceux des pilastres, un archer; et en regard, un serpent à tête de femme dans des feuillages. Les anges annoncent la venue du Messie, et l'archer visant la sirène, la chute du démon.

La hauteur des chapiteaux, la largeur inusitée des ornements, donnent à cette porte un aspect grandiose et d'une sévérité sauvage, qui produit un grand effet. La sculpture est d'ailleurs d'un très-beau caractère. En A, est donné le plan de la porte; en B, la coupe de l'archivolte; en C, la section de l'un des pilastres cannelés. Cette porte ne possède qu'un seul vantail.

Antérieurement à cette époque, c'est-à-dire pendant le XIe siècle, les portes latérales ou secondaires des églises sont d'une extrême simplicité. Le plus souvent elles se composent, particulièrement dans les provinces du Centre, de deux jambages sans moulures, avec linteau renforcé au milieu et arc de décharge au-dessus (fig. 72).

En Auvergne, dans le Nivernais, une partie du Berry, de la haute Champagne et du Lyonnais, il existe quelques baies de ce genre à un seul vantail, qui remontent aux dernières années du XIe siècle.

La figure 72 bis donne la coupe de ces portes, dont l'arc de décharge forme berceau à l'intérieur, au-dessus du tympan. En Bourgogne, le linteau formant tympan circulaire sous l'arc de décharge est toujours employé, et cet arc est décoré; car l'école bourguignonne est prodigue de sculpture. Sur le flanc sud de la nef de l'église de Beaune, on voit encore une fort jolie porte de ce genre parfaitement conservée. Les pieds-droits sont accompagnés de deux colonnettes, et l'archivolte est ornée d'un gros boudin sculpté (fig. 73). Cette porte date de 1140 environ. En A, nous en donnons le plan, et en B, la coupe. Cette porte possédait deux vantaux.

Les exemples que nous venons de tracer indiquent déjà que les architectes du moyen âge changeaient les dispositions des portes quand ils en changeaient l'échelle. Ainsi ces portes romanes, indépendamment de leur dimension, ont un tout autre caractère que les portes principales. Les portes secondaires ne sont pas un diminutif de celles-ci, et, en admettant que leur dimension ne fût pas indiquée, on ne saurait les confondre avec les larges issues pratiquées sur les façades des grandes églises. Il y a là un enseignement qui n'est pas à dédaigner; car la qualité principale que doit posséder tout membre d'architecture, est de paraître remplir la fonction à laquelle il est destiné. Nous ne trouvons pas cependant cette apparence en conformité parfaite avec la fonction dans les monuments modernes. Beaucoup de portes secondaires de nos édifices ne sont que des copies réduites des grandes portes, possédant les mêmes membres, les mêmes proportions, les mêmes ornements diminués d'échelle. À coup sûr, cela n'est point un progrès, puisque ce n'est pas conforme à la raison. On peut constater également que dans certains monuments de la Rome impériale, il y a inobservance de ces règles du bon sens et du bon goût, lorsqu'il s'agit de portes, et que des baies de second ordre sont composées comme les baies majeures, sans qu'on ait tenu compte de la réduction de l'échelle.

Les trois premiers exemples de portes romanes que nous venons de donner, appartiennent aux écoles bourguignonne et du centre. Celles de Vézelay et de Beaune (Côte-d'Or) se distinguent par la force des profils et la largeur de l'ornementation, parce que ces baies dépendent d'édifices où ces membres de l'architecture ont une puissance que l'on ne trouve point dans les monuments des autres provinces. Mais si nous pénétrons dans l'Île-de-France, dans le Valois et le Beauvaisis, nous voyons au contraire que les portes d'un ordre secondaire, à dater de la seconde moitié du XIIe siècle, se distinguent par la finesse des profils, un goût très-délicat et une absence d'exagération dans les proportions.

Voici (fig. 74) une porte s'ouvrant latéralement sur la nef de l'église de Saint-Rémi l'Abbaye (Oise), qui ne se distingue que par la belle ordonnance de l'appareil. Une seule moulure, très-délicate et décorée d'intailles (voy. le détail A), entoure l'archivolte qui soulage le linteau renforcé au milieu de sa portée. Il y a dans cet exemple la trace d'un art fin et sobre à la fois, qui appartient à cette province au déclin du roman. Cela rappelle les constructions antiques des meilleurs temps.

Si l'on veut saisir d'un coup d'oeil les variétés des écoles françaises à la fin de la première moitié du XIIe siècle, lorsqu'il s'agit des portes d'un ordre inférieur, il suffira d'examiner la figure 75, qui donne en A une porte latérale de l'ancienne église d'Alet (Aude), détruite aujourd'hui en grande partie, et en B une porte latérale de la nef de l'église de Cinqueux (diocèse de Beauvais). La porte A semble copiée sur un édifice romano-grec de la Syrie septentrionale; celle de Cinqueux s'affranchit déjà des données antiques. Le principe de structure est identique pour ces deux exemples, les caractères sont différents. Ce parallèle fait assez connaître que notre architecture du XIIe siècle doit être étudiée par provinces, comme les dialectes qui ont concouru à former notre langue; que cette étude demande une analyse délicate et la réunion d'un grand nombre de matériaux, si l'on prétend apprécier les diverses sources auxquelles notre art du moyen âge a été puiser avant d'arriver au développement de l'école laïque française.

Nous pourrions accumuler les exemples propres à faire ressortir les variétés des écoles romanes de l'ancienne Gaule dans l'expression d'un même principe, mais nous craindrions de fatiguer nos lecteurs et d'étendre démesurément cet article déjà bien long. Les provinces diverses de ce territoire qu'on appelle aujourd'hui la France s'appuient, dans la formation de leur architecture comme du langage, pendant les XIe et XIIe siècles, sur les mêmes éléments. La basse latinité est le point de départ, mais ces provinces possèdent chacune un caractère particulier; elles subissent des influences, soit locales, soit étrangères; puis il arrive un moment où le domaine royal, en politique, en littérature, comme dans l'art de l'architecture, acquiert une prépondérance marquée. Les arts des provinces passent, pour ainsi dire, alors, à l'état de patois, et l'art qui se développe au sein du domaine royal devient le seul officiellement reconnu, celui que chacun s'empresse d'imiter avec plus ou moins d'adresse et d'aptitudes, et qui finit par étouffer tous les autres. C'est ce fait considérable dans notre histoire, que des esprits distingués cependant ont prétendu n'envisager que comme une bizarrerie, une étrangeté, une lacune. Mais, pourquoi nous étonner de l'existence de ce préjugé, quand nous pouvons constater qu'avant les travaux de M. Littré sur la langue française, on ne voyait dans nos poésies du moyen âge que les échos d'un langage grossier et barbare, et qu'il a fallu toute la délicatesse d'analyse du savant académicien pour démontrer à ceux qui prennent la peine de le lire, que ce langage du XIIe siècle est complet, éminemment logique et souvent rempli de beautés du premier ordre. Ce sont là aujourd'hui des faits acquis, et il paraîtrait équitable de donner l'épithète de barbares à ceux qui les ignorent chez nous, quand l'Europe entière s'associe à nos travaux, et considère notre littérature, nos arts du moyen âge, comme le réveil de l'intelligence au sein des bouleversements qui ont suivi la chute de l'empire romain.

Revenons aux portes. Les deux exemples de la figure 75, qui appartiennent à la même époque, affectent des caractères tranchés, dérivés d'écoles différentes; en voici un troisième (fig. 76) qui se distingue des deux premiers. Cette porte s'ouvre sur la chapelle funéraire de Sainte-Claire, au Puy en Velay, joli monument bâti vers le milieu du XIIe siècle, sur plan octogonal, avec absidiole semi-circulaire. Son archivolte est composée de claveaux noirs et blancs, et son tympan présente une mosaïque bicolore. Le linteau est décoré d'une croix nimbée et de quatre patères sur un champ légèrement creusé. On trouve ici l'expression la plus délicate de l'art roman d'Auvergne arrivé à son apogée; il est difficile de produire plus d'effet à moins de frais 319. Cet art de l'Auvergne était arrivé alors à un degré très-élevé, soit comme structure, soit comme entente des proportions, soit comme, tracé des profils, et cependant il dut s'effacer bientôt sous l'influence de l'architecture du domaine royal.

En 1212, on posait la première pierre de la cathédrale de Reims. L'oeuvre fut commencée par le choeur et les deux bras de croix; et en effet, à la base des pignons qui ferment ceux-ci, on signale la présence de fenêtres plein cintre qui rappellent encore les dispositions des églises romanes. Du côté nord, s'ouvre sur le transsept, à la droite de la porte principale, une baie secondaire qui autrefois donnait sur le cloître, et qui aujourd'hui est murée.

Cette porte (fig. 77) appartient certainement, par le caractère de sa sculpture, comme par sa composition, aux reconstructions de la cathédrale de 1212, et on la croirait plutôt de la fin du XIIe siècle que des premières années du XIIIe.

Un porche d'une époque un peu plus récente, couvert en berceau, protége cette porte, qui a conservé toutes ses peintures. Sa décoration consiste en une statue de la sainte Vierge assise dans le tympan, sous un dais très-riche et garni de courtines. L'archivolte plein cintre est ornée de statuettes d'anges. À la clef, la Vierge, sous la figure d'un petit personnage nu, est enlevée dans un voile par deux anges. Deux autres anges de plus grande dimension remplissent les écoinçons: l'un tient une croix bourdonnée, l'autre semble bénir. L'extrémité du tympan ogival est couvert par une peinture représentant le Christ dans sa gloire, accompagné de deux anges adorateurs. Les petits pieds-droits représentent, de face, des rinceaux très-délicats, et latéralement, des clercs occupés à des fonctions religieuses. La sculpture est entièrement couverte d'une coloration brillante, mais les sujets qui couvraient le tympan, derrière la Vierge, ont disparu. Deux fortes consoles portent le linteau (voy. la coupe A).

En examinant cette figure, on reconnaît que les architectes champenois du commencement du XIIIe siècle cherchaient des dispositions neuves, ou du moins qu'ils savaient profiter des traditions romanes pour les appliquer d'une façon originale 320. La sculpture de figures et d'ornements de cette porte est très-bonne et encore empreinte du style du XIIe siècle, comme si elle eût été confiée à quelque vieux maître. Ce fait se présente parfois au commencement du XIIIe siècle. Il y avait alors évidemment une jeune école, tendant vers le naturalisme, et une école archaïque à son déclin; mais nous avons l'occasion de constater l'influence et l'antagonisme de ces deux écoles à l'article STATUAIRE.

La cathédrale d'Amiens était commencée en 1220, quelques années après celle de Reims. Les constructions premières comprirent la nef et les deux bras de croix, et il est probable que Robert de Luzarches, l'architecte de ce beau monument, ne put voir élever que les soubassements de son projet. On peut reconnaître facilement les parties de l'édifice à la construction desquelles il présida. Ce sont: les contre-forts et piliers de la nef jusqu'à la hauteur des chapiteaux des bas côtés, les parties inférieures de la grande porte occidentale, et la base du pignon sud du transsept. Dans le plan primitif, la nef ne comportait pas de chapelles; de belles fenêtres éclairaient directement les collatéraux 321; mais sous la première fenêtre de la nef, au sud, proche la façade occidentale, s'ouvrait une porte secondaire qui donnait dans le cloître établi de ce côté. Cette porte, aujourd'hui masquée par un porche du XIVe siècle, ne rappelle en aucune façon, par son style, la porte latérale de la cathédrale de Reims que nous avons donnée (fig. 77). C'est qu'en effet, entre l'architecture de la Champagne et celle de Picardie, les différences sont notables au commencement du XIIIe siècle, et cependant les architectes de ces monuments étaient tous deux sortis du domaine royal; mais il est évident (et cela est à leur louange) que ces maîtres savaient plier leur talent aux traditions locales, à la qualité des matériaux mis à leur disposition et au génie des populations qui les appelaient. La porte latérale de la nef de Notre-Dame d'Amiens est encore, dans les détails de la sculpture, quelque peu empreinte du style du XIIe siècle, mais la composition est entièrement nouvelle. D'abord elle est accompagnée de deux arcades aveugles comprises entre les contre-forts; les trois arcs (celui central étant presque plein cintre) sont surmontés de gâbles figurés par un simple bizeau; son ensemble est large et trapu; la statuaire en est exclue. En effet, autant l'architecture gothique champenoise, à son origine, est prodigue de statuaire, autant celle de Picardie en est avare.

Mais, en revanche, la sculpture d'ornement est riche et largement développée; les chapiteaux de cette porte (fig. 78) sont beaux; les tailloirs et même les astragales sont décorés; le tympan est couvert d'une tapisserie de rosaces d'un grand caractère. Déjà les arcs sont accompagnés de redents et les profils sont fins et multipliés. On retrouve dans cette composition secondaire l'ampleur, qui est une des plus belles qualités de la cathédrale d'Amiens. Ce ne sont plus les proportions massives et allongées de Notre-Dame de Reims; les supports sont grêles et les ouvertures larges. C'est ainsi que ces artistes savaient mettre de l'unité dans leurs oeuvres et adopter un parti, suivi fidèlement dans les détails aussi bien que dans les ensembles de leurs compositions. En A, est tracé le plan de la porte latérale de la cathédrale d'Amiens; en B, au vingtième de l'exécution, la section d'un pied-droit avec sa colonnette monolithe, les tailloirs des chapiteaux et la trace des archivoltes sur ces tailloirs, les profils a et b formant les redents; le nu du tympan étant en c. En C, est donné, également au vingtième, un fragment de la tapisserie qui décore le linteau-tympan.

Vers la même époque, on reconstruisait la cathédrale de Chartres sur des fondations antérieures. Au pied des deux contre-forts occidentaux des deux bras de croix, l'architecte du commencement du XIIIe siècle ménageait deux portes destinées à donner entrée à la crypte. Ces portes sont d'une extrême simplicité et ne se recommandent que par la beauté de leur structure. Nous donnons (fig. 79) l'une d'elles. Un large bizeau ébrase les jambages et l'archivolte extérieurement; le linteau-tympan, soutenu par deux corbeaux, est percé d'un oeil destiné à éclairer la descente à la crypte. En A, est tracée la coupe de cette porte. Ici encore on peut saisir l'harmonie répandue dans ces édifices du commencement du XIIIe siècle. Par son caractère seul, ce membre d'architecture se distingue des portes appartenant à des monuments religieux d'un aspect moins robuste. Le principe de la structure est toujours le même; mais la rudesse des formes de Notre-Dame de Chartres se fait sentir dans ce détail. Percée aux flancs de Notre-Dame de Paris ou de Notre-Dame de Reims, cette porte ferait tache, tandis qu'elle est ici à sa place, et ne contraste pas avec tout ce qui l'entoure. À voir isolément une de ces portes, on peut donc dire, non-seulement à quelle époque, mais aussi à quel monument elle appartient. Pourrait-on classer d'une manière aussi certaine les divers membres de nos monuments? Cette unité, si nécessaire dans toute oeuvre d'art, est-elle une règle observée de nos jours?

Si nous abandonnons cet art gothique primitif, et si nous pénétrons dans ses dérivés, vers la seconde moitié du XIIIe siècle, nous pourrons trouver encore bien des exemples de portes à recueillir.

Nous avons vu que certaines provinces, comme le Poitou, la Saintonge, le Limousin, avaient, à l'époque romane, admis les portes sans linteaux ni tympans; cette tradition est conservée pendant la période gothique dans les mêmes provinces et dans les contrées qui subissent l'influence de ces écoles. C'est ainsi que nous voyons, à l'abbaye de Beaulieu (Tarn-et-Garonne), une église de la seconde moitié du XIIIe siècle, dont les portes sont encore dépourvues de linteaux et de tympans, comme l'est celle de la Souterraine que nous avons tracée (fig. 61). L'une des portes secondaires de l'église de Beaulieu se fait remarquer en outre par la belle et large ordonnance de son archivolte et la pureté de ses proportions (fig. 80).

La coupe A de cette porte fait voir que l'archivolte à grands claveaux est bandée sur le tableau seulement, et que les vantaux s'ouvrent sous une arrière-voussure a, formée d'un arc surbaissé. La moulure b de l'archivolte est destinée à relier les claveaux de face à la construction. Cette moulure n'est donc pas seulement un ornement, c'est une nécessité de construction dont l'architecte a su tirer parti. En effet, il faut considérer ces moulures saillantes qui circonscrivent parfois les claveaux des archivoltes des portes pendant les XIIe et XIIIe le siècles, comme un moyen d'éviter les déliaisonnements. Les arcs n'ayant souvent, ainsi que les parements qui les surmontent, qu'une assez faible épaisseur, il était utile de relier ces placages de pierre à la bâtisse; la moulure saillante d'archivolte remplissait cet office, comme les assises de tailloirs le faisaient pour les chapiteaux. Ce parti était d'autant plus nécessaire ici, que les vantaux, devant s'ouvrir jusqu'au sommet du tiers-point, se développaient sous une arrière-voussure qui ne pouvait être concentrique à l'arc de face. Les constructeurs n'auraient jamais évidé cette arrière-voussure dans les claveaux de tête, car ils évitaient soigneusement les appareils défectueux. Ils faisaient donc deux arcs juxtaposés: celui de tête fermant la baie au droit des tableaux, et celui d'ébrasement intérieur formant arrière-voussure; alors la moulure externe reliait ces deux arcs en les rendant solidaires. Dans la structure des portes percées, comme celles des églises, sous des murs épais et haut, les architectes ont grand soin d'éviter les ruptures en extradossant les arcs et en ne les liant pas aux parements. Pour que ces arcs ne tendent pas, sous une pression considérable, à s'écarter de leur plan, ils les sertissent souvent par un rang de claveaux peu épais, mais ayant une forte queue.

C'est en analysant ainsi les membres de cette architecture qui semblent purement décoratifs, qu'on reconnaît le sens droit et pratique des architectes du moyen âge. Il n'est pas une forme dont on ne puisse rendre compte, pas un détail qui ne soit justifié par une nécessité de la structure. Ces architectes peuvent donc nous apprendre quelque chose, ne fût-ce qu'à raisonner un peu lorsque nous bâtissons. Comment dès lors serions-nous surpris si certaines écoles modernes, que l'habitude de raisonner gênerait dans l'emploi de formes injustifiables qu'elles préconisent, prétendent que cet art du moyen âge est barbare, et que son étude n'est bonne qu'à corrompre le goût, qu'à étouffer ce qu'elles veulent considérer comme les saines doctrines?

Pour ces écoles, l'art de l'architecture semble n'être qu'une affaire de foi, et elles diraient volontiers comme saint Augustin: «Je crois parce que je ne comprends pas.» Nous dirions plus volontiers, s'il s'agit d'architecture: «Ne croyez que si vous comprenez.» Mais, pour comprendre, il faut analyser, raisonner, recueillir et comparer: c'est un travail long et pénible parfois; plutôt que de s'y livrer, on préfère, en certains cas, condamner sans voir, juger sans connaître, et continuer à empiler des matériaux avec excès, sans économie comme sans raison.

Si dans les plus grandes portes, comme dans celles d'une dimension médiocre, que nous avons présentées à nos lecteurs dans le cours de cet article, on suppute le cube des matériaux employés pour résister à des charges énormes, on constatera que ce cube est très-réduit relalivement aux pressions qu'il subit: cela est à considérer.

Il se présentait des conditions telles parfois, que les architectes pouvaient éviter les arcs de décharge plein cintre ou en tiers-point constituant le couronnement de la baie, mais n'osaient pas se fier à un simple linteau, lorsque, par exemple, les portes s'ouvraient dans un mur peu épais et d'une élévation médiocre; alors ils se contentaient d'un arc de cercle pour fermer le tableau, où ils composaient une courbe surbaissée.

Il existe une jolie porte établie dans ces conditions et s'ouvrant dans le mur de l'ancienne sacristie de la cathédrale de Clermont (Puy-de-Dôme) 322.

Cette porte date des dernières années du XIIIe siècle; son arc donne une ogive surbaissée (fig. 81), dont les centres sont placés en a et b. Son profil, tracé en A au dixième, est décoré de deux cordons sculptés avec beaucoup de délicatesse dans de la lave de Volvic. L'embase des pieds-droits détaillée en B est très-heureusement composée. Cette porte est intérieure (il ne faut pas l'oublier); elle s'ouvre sur le bas côté du choeur, et elle affecte, en effet, des formes d'ensemble et de détails qui conviennent à cette place. On signale rarement en France ce genre d'arcs en ogive surbaissée. Cet exemple, toutefois, tend à démontrer combien les artistes de ce temps conservaient une indépendance complète dans l'emploi des formes qu'ils croyaient devoir adopter, combien peu ils se soumettaient à la routine.

En parlant des portes principales des églises, nous avons dit que, dans la province de Champagne particulièrement, on signalait un assez grand nombre de portes dont les tympans sont à claire-voie. Telles sont composées les portes occidentales de la cathédrale de Reims. On voit également, dans cette province, des portes secondaires d'églises dont le linteau est surmonté d'une véritable fenêtre formant un ensemble avec la baie inférieure. L'église de Saint-Urbain de Troyes nous fournit encore un exemple de ces sortes de baies ouvertes sur les deux collatéraux 323.

Ces portes étaient précédées d'un porche qui ne fut pas achevé. La figure 82 donne l'une d'elles; une grande fenêtre vitrée surmonte le linteau; l'arc en tiers-point de cette fenêtre sert de formeret à la voûte du porche, dont les arêtes reposent sur les deux colonnettes A (voy. la coupe B). Les pieds-droits de la porte, les linteaux, les meneaux et arcs de la fenêtre, sont élevés en liais de Tonnerre, tandis que les parements sont construits en assises basses de pierre de Bassancourt, assez grossière d'aspect, mais résistante. En C, nous donnons la section du pied-droit, faite sur ab.

Dans la composition de ces portes d'églises surmontées de claires-voies, les architectes champenois semblent avoir voulu non-seulement percer des jours partout où cela était praticable, mais surtout décorer intérieurement les tympans de portes dont la nudité, au revers des bas-reliefs, contraste avec la richesse extérieure. C'était, s'il ne s'agissait que de portes secondaires, un moyen d'éclairer les voûtes des collatéraux sous les tours des façades, d'obtenir un effet analogue à celui que produisent les grandes claires-voies avec roses, percées au-dessus des portes principales des hautes nefs.

À la cathédrale de Chartres, par exemple, les portes du transsept, au nord et au midi, sont merveilleusement sculptées à l'extérieur; leurs tympans, leurs voussures, leurs pieds-droits, sont couverts de statues, de bas-reliefs et d'ornements; mais à l'intérieur elles ne présentent à la base des pignons que des surfaces unies, à peine rehaussées de cordons indiquant les arcs: ce ne sont que des revers qui semblent attendre une décoration. Peut-être les architectes de ces grands édifices devaient-ils orner ces revers par des tambours de menuiserie et par des peintures, mais il ne reste pas trace aujourd'hui de ces dispositions. Ce qui nous porterait à supposer que des tambours devaient être adossés à ces revers de portes, c'est que souvent les pieds-droits ou les trumeaux présentent des saillies, comme des pilastres en attente. En Champagne, des tambours devaient certainement fermer les ébrasements intérieurs des grandes et moyennes portes d'églises. L'épaisseur de ces ébrasements, calculée pour permettre de développer les vantaux sans affleurer le parement intérieur, suffirait pour le démontrer, si le plan de l'église Saint-Nicaise de Reims ne prouvait pas de la manière la plus positive que les portes de la façade et du transsept étaient garnies de tambours 324.

Alors les claires-voies vitrées au-dessus des portes (comme à la cathédrale de Reims) éclairaient le vaisseau au-dessus de ces tambours et contribuaient à la décoration générale. L'architecte de la façade occidentale de cette cathédrale fit plus encore, il occupa tous les parements intérieurs latéraux et supérieurs des portes par des statues disposées dans des arcatures superposées.

Les tambours devant affleurer le parement, on conçoit dès lors que le revers de la façade était, à l'intérieur, digne de l'extérieur. Dans l'Île-de-France, en Picardie, et en général dans toutes les églises du moyen âge de la période dite gothique, on doit signaler les tâtonnements, ou tout au moins le défaut d'achèvement dans la composition de ces revers des portes principales et moyennes. Nous disons défaut d'achèvement, parce qu'en effet, outre les traces d'attentes qui subsistent fréquemment, on voit quelques portes secondaires dont les revers sont très-habilement composés. Sur le flanc septentrional du choeur de Notre-Dame de Paris, il existe une petite porte qui autrefois s'ouvrait sur le cloître. Cette issue, connue sous le nom de la porte Rouge, est un chef-d'oeuvre de la seconde moitié du XIIIe siècle 325. Sa sculpture, ses profils, sont d'un goût irréprochable. Or, à l'intérieur, cette porte présente une décoration sobre, bien entendue, et combinée évidemment pour recevoir un tambour de menuiserie. S'ouvrant au fond d'une chapelle, elle est surmontée d'une fenêtre que son gâble voile en partie.

À la cathédrale de Meaux, les architectes des XIIIe et XIVe siècles ont aussi décoré très-richement les revers des portes du transsept, au moyen de tout un système de pilettes, d'arcatures et de gâbles en placages. À la cathédrale de Paris même, le revers de la porte méridionale est occupé par des arcatures avec gâbles, et par deux niches ornées de dais et destinées à recevoir des statues. Mais ce pignon tout entier date de 1257. Il semblerait qu'avant cette époque, les architectes évitaient au contraire de composer des décorations de pierre au revers des grandes portes. Déjà, cependant, au commencement du XIIIe siècle, comme à la cathédrale de Chartes par exemple, les pignons au-dessus des grandes portes étaient percés de roses et de galeries à jour garnies de brillants vitraux; il ne paraît guère probable qu'au-dessous d'une décoration aussi importante et aussi riche, on eût voulu laisser apparaître des murs nus et des revers de vantaux de bois. Remarquons que dans ces grandes églises, par suite du système d'architecture adopté, il ne restait nulle part un parement de mur, tout étant occupé par des verrières, des piles et des arcs; par conséquent, aucune surface pour développer des sujets peints. Or, il y a tout lieu de croire que ces larges espaces sous les roses et les galeries, au-dessus et à côté des portes, à l'intérieur, étaient destinés à recevoir des peintures; nulle place n'était plus favorable, et l'on imagine alors quel effet auraient produit ces pages énormes, toutes resplendissantes de vitraux dans leur partie supérieure, remplies de peintures dans leur partie inférieure. Que l'on suppose encore au-dessous de ces peintures, derrière les vantaux des portes, de beaux tambours de menuiserie, et l'on complétera par la pensée le système décoratif de ces immenses surfaces, dont la nudité aujourd'hui paraît inexplicable. Mais vers la seconde moitié du XIIIe siècle, il semble qu'on ait renoncé à placer des sujets peints autre part que dans les verrières; alors les architectes décorent les revers des portes sous les pignons, comme à Reims, comme à Meaux, comme à Paris même, du côté méridional.

Le XIVe siècle ne fournit pas, dans la construction de ses monuments religieux, des données nouvelles en fait de portes du second ordre; les errements de la fin du XIIIe siècle sont suivis, et les exemples que nous pourrions présenter ne différeraient que par quelques détails de ceux déjà donnés. Quant au XVe siècle, il ne commence à construire des églises que vers les dernières années; et si les portes d'édifices civils de cette époque ont un caractère original bien tranché, celles qui appartiennent à des monuments religieux ne se font remarquer que par l'habileté des traceurs et la délicatesse de la sculpture. Comme disposition générale, elles rentrent dans les derniers exemples donnés ici (voy. TRUMEAU, TYMPAN).

Note 292: (retour) Voyez PORCHE, fig. 4.
Note 293: (retour) Cet agneau a été gratté à la fin du dernier siècle.
Note 294: (retour) Les têtes de ces figures ont été cassées, mais elles paraissent avoir été tournées du côté des personnages qui garnissent le linteau.
Note 295: (retour) On voudra bien se rappeler que dans beaucoup de sculptures et de peintures des XIIe et XIIIe siècle, l'orgueil est personnifié par un homme tombant de cheval.
Note 296: (retour) Les têtes de ces deux figures sont brisées.
Note 297: (retour) Voyez, dans les Archives des monuments historiques publiées sous les auspices de Son Exc. le Ministre de la maison de l'Empereur, la description des sculptures de Vézelay donnée par M. Mérimée.
Note 298: (retour) Voyez à l'article ARCHITECTURE RELIGIEUSE, fig. 21, l'aspect intérieur de cette porte.
Note 299: (retour) Cette ornementation a été estampée et est bien connue des artistes. C'est un des plus beaux exemples de la sculpture du moyen âge, et qui peut rivaliser avec les oeuvres de l'antiquité grecque.
Note 300: (retour) Cette porte, enclavée aujourd'hui dans une propriété particulière, a perdu son tympan, dont il existait, en 1845, des fragments dans un jardin voisin.
Note 301: (retour) Sauf une seule, ces statuettes ont été mutilées.
Note 302: (retour) M. Massenot, architecte à Amiens, a relevé pour nous cette porte avec le plus grand soin. Les fenêtres romanes de cette église sont empreintes du même caractère plein cintre, et ornées de cette volute terminale à la base des archivoltes si fréquente dans les monuments romano-grecs recueillis par M. le comte de Vogué et par M. Duthoit, en Syrie.
Note 303: (retour) Cette église a été habilement restaurée depuis peu par M. Abadie.
Note 304: (retour) Voyez Les églises de la Terre-Sainte, par M. le comte de Vogué, 1860.
Note 305: (retour) Le couronnement tracé sur notre figure est une restauration.
Note 306: (retour) Voyez l'article STATUAIRE.
Note 307: (retour) L'église de la Souterraine, d'un très-beau style, de la fin du XIIe siècle, a été restaurée depuis peu par M. Abadie.
Note 308: (retour) Le linteau et le trumeau de la porte de l'église de Nesles ont été enlevés et ne sont restitués ici que sur des fragments. Nous ne savons si le tympan contenait un bas-relief; nous en doutons, considérant l'extrême sobriété de la sculpture de ce petit monument, élevé à l'aide de ressources très-minimes.
Note 309: (retour) Voyez PIGNON, fig. 8.
Note 310: (retour) Ces statues d'anges, le dais et le nimbe crucifère du Christ existent encore.
Note 311: (retour) Voyez, pour de plus amples renseignements, la Description de Notre-Dame, cathédrale de Paris, par MM. de Guilhermy et Viollet-le-Duc, 1856. Les huit statues des ébrasements et celle de la Vierge, détruites à la fin du dernier siècle, ont été rétablies depuis peu.
Note 312: (retour) Cette statue n'a pas été posée, l'église n'ayant pu être achevée. Le pape Urbain IV, qui était de Troyes et avait fait les fonds nécessaires à la construction de l'église, étant mort en 1264, les travaux durent être suspendus, faute de ressources suffisantes, vers les dernières années du XIIIe siècle. Il y a tout lieu de croire que la statue du trumeau devait représenter saint Urbain. Sur beaucoup d'autres portes, à dater du milieu du XIIIe siècle, on voit un personnage saint et non le Christ, bien que le linteau et le tympan représentent le jugement dernier. C'est ainsi qu'à la belle porte méridionale de l'église abbatiale de Saint-Denis en France, que nous avons citée plus haut, on voyait la statue du saint évêque de Paris sur le trumeau, tandis que le linteau représentait le jugement dernier.
Note 313: (retour) Voyez GÂBLE.
Note 314: (retour) Cette porte était ainsi désignée parce qu'elle donnait du côté du cloître où se trouvait installée, pendant le moyen âge, la bibliothèque du chapitre.
Note 315: (retour) Voyez GÂBLE, fig. 5.
Note 316: (retour) Les deux portes de la Calende et des Libraires ont pu ainsi, sans trop de peine et de dépense, être restaurées par les deux architectes diocésains de Rouen, MM. Desmarets et Barthélemy.
Note 317: (retour) Voyez l'ouvrage de M. Caillat, Monographie de l'église Saint-Eustache.
Note 318: (retour) Voyez les Archives des monuments historiques publiées sous les auspices de Son Exc. le Ministre de la Maison de l'Empereur et des Beaux-Arts.
Note 319: (retour) Voyez l'ensemble de la chapelle de Sainte-Claire du Puy, dans l'Architecture et les arts qui en dépendent, par M. J. Gailhabaud, tome I.
Note 320: (retour) Voyez les détails de cette porte dans l'Architecture et les arts qui en dépendent, par M. Gailhabaud, tome II.
Note 321: (retour) Voyez CATHÉDRALE, fig. 19 et 20.
Note 322: (retour) Cette sacristie est ménagée dans les chapelles carrées du choeur de cette église, côté septentrional (voy. CATHÉDRALE, fig. 46).
Note 323: (retour) Voyez le plan de l'église de Saint-Urbain à l'article CONSTRUCTION, fig. 102.
Note 324: (retour) Voyez PORCHE, fig. 29.
Note 325: (retour) Cette porte, par son style, appartient évidemment aux reconstructions de 1257; bien que la plupart des Guides, nous ne savons d'après quelles autorités, la signalent comme appartenant au XVe siècle. Le XVe siècle n'a pas posé une seule pierre dans la cathédrale de Paris.


PORTES D'ÉDIFICES CIVILS EXTÉRIEURS ET INTÉRIEURS.--Dans les villes du moyen âge, les châteaux et les palais possédaient seuls des portes charretières, et ces portes étaient habituellement fortifiées. Quant aux portes des maisons proprement dites, ces habitations, fussent-elles pourvues de cours, n'étaient toujours que ce que nous appelons des portes d'allée, c'est-à-dire disposées seulement pour des piétons, d'une largeur de 1 mètre à lm,50, et d'une hauteur de 2m,50 à 3 mètres au plus.

Nous ne connaissons pas de portes d'édifices civils appartenant au XIe siècle en France, qui présentent un caractère particulier. Les baies d'entrée, très-rares d'ailleurs, de cette époque, ne consistent qu'en deux jambages avec un arc plein cintre en petit appareil, et ne diffèrent pas des petites portes d'églises que l'on voit encore ouvertes sur les flancs de quelques monuments religieux du Beauvaisis, du Berry, de la Touraine et du Poitou.

Ce n'est guère qu'au commencement du XIIe siècle qu'on peut assigner aux portes de maisons un caractère civil, et c'est encore dans la ville de Vézelay, au sein de cette ancienne commune, que nous trouverons des exemples de ces entrées d'habitations bourgeoises. Parmi ces maisons, quelques-unes possédaient un premier étage au-dessus du rez-de-chaussée, et quelquefois une tour carrée. La façade extérieure était percée de fenêtres rares et assez étroites, les jours des appartements étant pris sur un petit jardin intérieur. De la rue au jardin ou à la cour, on pénétrait par un vestibule assez spacieux et par une porte plein cintre, relativement large.

La figure 83 donne l'élévation extérieure d'une de ces portes en A, et sa coupe en B. En C, nous avons tracé, au cinquième, les profils des deux archivoltes. On observera que cette baie (qui d'ailleurs se répète plusieurs fois sur la façade des maisons du XIIe siècle, à Vézelay, avec quelques modifications dans les détails) ne rappelle en rien le style de l'architecture religieuse de l'abbaye. Cette porte a un caractère civil, se rapprochant plutôt de ces édifices romano-grecs de Syrie dont nous avons déjà parlé. À l'intérieur est une arrière-voussure D relevé, qui permet le développement des vantaux. Ces portes d'habitations du XIIe siècle sont parfois accompagnées latéralement d'une petite fenêtre carrée, sorte de guichet percé à hauteur d'homme à l'intérieur, et qui permettait de reconnaître les gens qui frappaient; ou encore d'un jour au-dessus de l'archivolte, qui éclairait le vestibule 326. On abandonne bientôt cependant les portes plein cintre pour l'entrée des habitations, ou du moins des linteaux de pierre avec tympan viennent se loger sous ces cintres, qui demeurent comme arcs de décharge. C'est ainsi que sont conçues les portes des maisons des villes de Cluny, de Provins, bâties vers la fin du XIIe siècle et le commencement du XIIIe. Souvent même l'arc de décharge disparaît complétement à l'extérieur et ne forme qu'arrière-voussure à l'intérieur. Les vantaux de bois s'accommodent assez mal de la forme plein cintre; il était plus simple de donner à ces vantaux la forme rectangulaire, surtout lorsqu'ils se composaient d'un seul battant. Le cintre fut donc abandonné pour les portes, et remplacé par l'ouverture rectangulaire. L'archivolte, si elle subsistait, ne faisait que soulager le linteau, afin d'éviter qu'il ne se brisât sous la charge. Alors, mais rarement, dans l'architecture civile, le tympan est décoré de sculptures. On voit encore, dans les bâtiments dépendant autrefois de l'abbaye de Saint-Vane, aujourd'hui englobés dans la citadelle de Verdun, une porte de ce genre, dont la composition est originale, et qui date des premières années du XIIIe siècle.

Cette porte (fig. 84), se compose d'une archivolte à doubles claveaux, reposant sur des jambages décorés, de chaque côté, de deux colonnettes monostyles, ainsi que l'indique en A la section horizontale de l'un de ces jambages. L'archivolte forme arc de décharge et voussure intérieure en B (voy. la coupe). Des consoles soulagent le linteau-tympan, orné de feuillages. Mais parfois ces portes extérieures d'habitations étaient munies d'auvents à demeure, soit de pierre, soit de bois, afin de permettre aux personnes qui frappaient à l'huis d'attendre à l'abri qu'on vînt leur ouvrir. Il existait encore une porte du XIIIe siècle ainsi composée, sur la façade d'une petite maison de la Châtre (Indre), il y a quelques années.

Cette entrée (fig. 85), d'une largeur inusitée pour une porte d'allée, était flanquée de deux pieds-droits saillants, comme des jouées, portant deux corbeaux, sur lesquels reposait un gâble de pierre, formant une forte avancée sur la voie. Une archivolte B, au nu du mur (voy. la coupe A), servait d'arc de décharge au-dessus du tympan, percé d'une petite fenêtre destinée à éclairer le vestibule lorsque les vantaux étaient clos 327. Le gâble-abri se composait de simples dalles incrustées dans le parement du mur. À cause de la largeur de la baie, le linteau était remplacé par un arc surbaissé, avec feuillure intérieure pour recevoir les deux vantaux. En C, nous donnons, au double, la section de l'un des pieds-droits. Il semblerait que ces sortes d'entrées étaient assez habituellement employées dans cette province, car l'église du Blanc (Indre) possède encore une porte construite suivant la même donnée, mais sans linteau.

Le corbeau, le sommier de l'arc surbaissé, et la pénétration de l'archivolte, étaient pris dans la même pierre. Le sommier de cette archivolte faisait corps également avec l'assise G en encorbellement. Mais les matériaux dont on pouvait disposer ne permettaient pas toujours de pratiquer des saillies de pierre de nature à résister aux intempéries. Sans changer le programme, les architectes du moyen-âge établissaient parfois des auvents de bois au-dessus des portes des habitations.

La figure 86 nous fournit un exemple de ces entrées de maisons. D'un côté, nous avons supposé l'auvent enlevé, afin de faire comprendre comment il se plaçait 328. En B, nous avons tracé la coupe de cette porte avec le chevronnage de l'auvent, et en C, la section d'un des jambages au double. Cette porte date de la seconde moitié du XIIIe siècle; elle était fermée par un seul vantail.

S'il y a une grande variété dans la forme des portes d'églises à cette époque, c'est-à-dire pendant le XIIIe siècle, l'architecture civile ne présente pas un moins grand nombre de dispositions originales, et cependant nous ne possédons plus en France que peu de maisons bâties de 1180 à 1300.

Pendant cette période, d'ailleurs, il était d'un usage assez fréquent, surtout dans les provinces situées au sud de la Loire, de bâtir les maisons avec portiques. Sur la voie publique alors, les portes n'étaient qu'une simple arcade, ou une baie rectangulaire formée de deux jambages et d'un linteau. Fréquemment aussi les rez-de-chaussée des habitations urbaines étaient occupés par des boutiques dont les devantures s'ouvraient sous des arcs 329; l'une de ces arcades servait d'entrée à l'escalier communiquant aux étages supérieurs. La fermeture consistait en une huisserie avec vantaux. Les portes des maisons, pendant le XIVe siècle, sont généralement simples, très rarement ornées de sculptures; elles ne consistent qu'en une archivolte en tiers-point au nu du mur, avec linteau au-dessous, ou en une ouverture quadrangulaire, avec chanfreins abattus sur les arêtes. Déjà, cependant, vers la fin de ce siècle, apparaît l'accolade creusée dans le linteau. En revanche, les portes de palais bâtis pendant cette période sont d'une grande richesse. Celles du Palais, à Paris, dont il reste quelques débris et des dessins, étaient fort belles (voy. PERRON). Celles de l'escalier du Louvre, bâti par Charles V, étaient également très-ornées.

Le XVe siècle, pendant lequel on bâtit peu d'églises, vit élever une quantité de châteaux, de palais et maisons, dont les portes extérieures étaient décorées de sculptures, de figures et d'armoiries. Parmi ces portes de palais du XVe siècle, nous devons placer en première ligne celle de l'hôtel de Jacques Coeur à Bourges, presque intacte encore aujourd'hui. Ce fut en 1443 que le célèbre trésorier de Charles VII commença la construction de cette belle résidence. Arrêté en 1451 à Taillebourg, sur l'ordre du roi, par Olivier Coetivi, Jacques Coeur put à peine jouir de l'hôtel qu'il avait fait construire dans sa ville natale.

Le portail de cet hôtel (fig. 87), est percé sous un pavillon rectangulaire qui occupe à peu près le milieu de la façade sur la rue. Il consiste en une porte charretière avec poterne au côté gauche. Les vantaux de bois sculpté de la grande baie sont percés en outre d'un guichet très-étroit, surmonté d'un heurtoir, et s'ouvraient carrément en dedans de l'arc en tiers-point, sous un portail voûté en berceau surbaissé. Au-dessus de la porte, une niche est pratiquée, partie aux dépens de l'épaisseur du mur, partie en encorbellement; cette niche est surmontée d'un dais très-ouvragé, soutenu par deux pilettes délicates: elle contenait une statue équestre du roi Charles VII 330. Une large fenêtre à meneaux s'ouvre au-dessus de cette niche, et éclaire la chapelle située au premier étage. Des deux côtés de la niche sont simulées deux fenêtres garnies, celle de droite, donnant du côté de l'entrée des cuisines, d'une figure de femme, et celle de gauche, donnant du côté de la ville, d'une figure d'homme. Ces deux statues, visibles seulement en buste par-dessus la balustrade, semblent regarder au dehors et s'enquérir de ce qui se passe sur la voie publique. Ainsi, comme le dit M. Vallet de Viriville, dans la curieuse notice qu'il vient de publier sur Jacques Coeur 331: «Ces deux personnages semblent représenter la Vigilance... Dès le frontispice éclatait l'hommage public et respectueux rendu à l'autorité souveraine par l'officier du roi; mais en même temps et sous cette égide, la personnalité, l'individualité de Jacques Coeur se déployait avec une assurance et une liberté remarquables.» En effet, sur ce portail comme sur toutes les autres parties de l'édifice, apparaissent les coeurs, les coquilles de pèlerin, et la devise: À vaillans coeurs rien impossible.

On remarquera que l'idée de symétrie n'est entrée pour rien dans la composition de ce portail, et cependant que les vides et les pleins, les parties lisses et les parties ornées, se pondèrent d'une façon tout à fait heureuse, sans que l'oeil soit préoccupe de ces démanchements d'axes. Il fallait une porte charretière et une poterne, l'architecte les a percées entre les deux murs de refend qui forment le pavillon. Il a pris l'axe de celui-ci pour ouvrir la fenêtre éclairant la chapelle, et a réuni la niche à cette fenêtre de manière à former une grande ordonnance supérieure, indiquant un étage élevé et voûté. Les fenêtres remplies par les deux figures tombent sous les angles du pavillon; mais ces fenêtres sont pleines, et l'architecte a eu le soin de supposer un entrebâillement du vantail dans chacune d'elles qui renforce leurs pieds-droits sous l'angle du pavillon.

Nous citerons les portes d'entrée des hôtels de Sens et de Cluny à Paris, qui existent encore, et qui sont postérieures de quelques années à celles-ci 332. À l'article MAISON, nous avons présenté quelques portes des XIV et XVe siècles 333, qui nous dispenseront d'entrer dans plus de détails sur cette partie importante des habitations du moyen âge. Cependant nous dirons quelques mots des portes extérieures d'escaliers, qui sentent une disposition particulière. Nous indiquons ailleurs 334 comment les escaliers des habitations pendant le moyen âge étaient presque toujours construits en vis. Ce parti pris nécessitait l'ouverture de portes assez basses, puisqu'il fallait que le linteau de ces portes masquât la première révolution du degré. Mais alors ce linteau était considéré souvent comme une imposte surmontée d'une fenêtre éclairant la deuxième révolution. Nous trouvons encore dans l'hôtel de Jacques Coeur, à Bourges, un exemple, complet de ces sortes de portes (fig. 88).

Le linteau, formant imposte, présente une sculpture intéressante. Trois arbres se détachent sur un fond. Celui du milieu représente un oranger, celui de droite un dattier, et celui de gauche une sorte de mimosa. Entre ces arbres croissent des plantes exotiques, parmi lesquelles est un oeillet. On sait que Jacques Coeur fit plusieurs voyages en Orient, et qu'il entretenait avec ces contrées un commerce étendu. Ces plantes semblent être des emblèmes de ces relations, et peut-être est-ce à l'illustre argentier que nous devons l'introduction en France de quelques-unes de nos plantes médicinales et de jardin. Autour de ce bas-relief, on lit la devise, plusieurs fois répétée dans l'hôtel: Oïr,--dire,--faire,--taire, dont les lettres sont séparées par des branches de plantes.

La première révolution de l'escalier passe derrière ce linteau et est éclairée par la fenêtre d'imposte 335.

Les portes intérieures des palais et maisons, c'est-à-dire celles qui s'ouvrent d'une pièce sur une autre, sont habituellement très-simples, basses et étroites avant la fin du XVe siècle. Ce ne sont que des ouvertures permettant à une seule personne de passer à la fois. Ces portes étaient en outre garnies de portières. Dans aucune habitation du moyen âge, fût-elle princière, on ne trouverait de ces portes d'appartements ayant 3 ou 4 mètres de hauteur, comme dans nos hôtels modernes, par cette raison bien naturelle, que si nobles qu'elles fussent, les personnes passant par ces portes n'avaient pas une taille qui atteignit six pieds. Si ces portes parfois sont larges, pour permettre une circulation facile, elles ne dépassent pas 2m,50 sous linteau.

C'est sous le règne de Louis XIV qu'on a commencé seulement à percer des portes d'appartements ayant une plus grande élévation: on considérait cela comme plus noble alors, sinon plus sensé.

Les portes intérieures des habitations du moyen âge sont très-simples, parce qu'elles s'ouvraient derrière des tapisseries, et qu'on n'en apercevait qu'à peine les jambages et les linteaux. Leurs vantaux seuls étaient travaillés avec recherche. Les linteaux sont, ou rectilignes, ou en portion d'arc de cercle, ou en cintre surbaissé. On voit déjà, dans des bâtiments du commencement du XIVe siècle, apparaître ces linteaux tracés au moyen de trois centres; mais c'est surtout vers la fin du XVe siècle que leur emploi est fréquent. Pendant les XIIIe et XIVe siècles, très-souvent ces linteaux sont soulagés par des corbeaux ménagés dans l'épaisseur du tableau.

Alors (fig. 89) un chanfrein ou un profil pourtournent la baie du côté opposé à la feuillure du vantail, car il est très-rare que ces portes soient à deux vantaux.

Vers la fin du XIVe siècle, les corbeaux soulageant les linteaux ne sont plus employés pour les portes d'appartements. Celles-ci sont quadrangulaires et ornées parfois d'un boudin formant colonnette, avec chapiteau et base (fig. 90).

Telles sont construites les portes d'appartements du château de Pierrefonds. Au-dessus du linteau est ménagée une clef en décharge, et du côté de l'ébrasement est pratiqué un arc; ou si les portes sont étroites, un plafond d'un seul morceau de pierre. Le boudin qui orne le tableau, le chapiteau et la base, sont d'ailleurs pris dans l'épannelage rectangulaire des pieds-droits, et ne forment pas saillie sur le nu du mur.

Dans les habitations décorées avec luxe, les linteaux étaient surmontés de dessus de porte en menuiserie; car nous avons souvent constaté la présence de scellements sur ces linteaux et sur les parements qui les recouvrent. Si nos hôtels modernes étaient un jour abandonnés, pillés et ruinés, on serait bien embarrassé de dire en quoi consistait la décoration de nos portes d'appartements, car elles ne sont, après tout, qu'une ouverture quadrangulaire dans un mur, ouverture que l'on revêt de boiseries, de stucs et de peintures. Sans donner un rôle aussi important à la décoration d'emprunt, les architectes du moyen âge ne se préoccupaient cependant que de l'encadrement du tableau qui restait apparent; les lambris, les dessus de portes et les tapisseries faisaient le reste; la pierre n'apparaissait absolument que dans le tableau et sur cette moulure d'encadrement. Cette simplicité des baies de portes intérieures était cachée sous la richesse des boiseries et tentures qui concouraient à la décoration des pièces, car il ne faudrait pas croire que nos aïeux habitaient entre des murailles nues 336, comme celles que nous laissent voir les ruines des châteaux. Beaucoup de ces portes d'appartements étaient d'ailleurs garnies de tambours ou de clotets, qui, ne s'élevant qu'à une hauteur de 6 à 7 pieds, empêchaient l'air extérieur de pénétrer dans la pièce lorsqu'on ouvrait un vantail. On ne possédait pas alors de calorifères, et si l'on ouvrait une porte, on introduisait un cube d'air froid, dans les pièces chauffées, fort désagréable. Ces tambours et ces portières étaient destinés à éviter cet inconvénient. On sait comme on gelait dans les appartements de Versailles, grâce à ces portes nobles qui, chaque fois qu'on les ouvrait, faisaient entrer une vingtaine de mètres d'air glacial dans les pièces à feu; et comme Mme de Maintenon, qui craignait les coups d'air, n'avait trouvé d'autre remède contre ce soufflet perpétuel que d'établir son fauteuil dans ce que le duc de Saint-Simon appelle un tonneau.

Les portes des appartements du moyen âge, et jusqu'au règne de Louis XIV, sont donc basses et peu larges, et ne sont, si l'on peut ainsi parler, que des soupapes bien munies de clapets, pour éviter les courants d'air. Il faut en prendre son parti. Ces portes ne s'élargissent qu'autant qu'elles servent de communication entre de grandes salles destinées à offrir une série de pièces propres à donner des fêtes ou à recevoir un grand concours de monde, mais elles conservent toujours une hauteur variant entre 2 mètres et 2m,50 au plus.

Peut-être voudra-t-on prendre une idée de la manière dont ces portes d'appartements étaient décorées, dans des châteaux ou palais. C'est pour rendre intelligible ce que nous venons de dire à ce sujet, que nous avons réuni dans la figure 91 les renseignements recueillis, soit dans des édifices civils de la fin du XIVe siècle ou du commencement du XVe, soit dans des vignettes de manuscrits, des peintures et des bas-reliefs. On voit ici que la porte proprement dite, la baie de pierre, est à peine visible; les jambages et le bord inférieur de son linteau sont seuls apparents. Au-dessus est scellé un grand ouvrage de menuiserie peint, et qui se raccorde avec les porte-tapisseries moulurés. Ces tapisseries s'arrêtent sur un lambris inférieur qui garnissait généralement le bas des murs. La partie du mur laissée nue entre le plafond et les tapisseries était décorée de peintures, et une portière était suspendue à la boiserie formant dessus de porte.

Il arrivait que certaines portes d'appartements étaient complétement masquées sous la tapisserie, laquelle était fendue seulement pour laisser passer les habitants. C'étaient là de véritables portes sous tenture.

Les exemples de portes d'appartements de la fin du XVe siècle ne manquent pas, et l'on peut les trouver partout; elles sont généralement terminées par un arc surbaissé, et quelquefois cet arc est couronné par une accolade. On voit encore de jolies portes de ce genre au palais des Ducs de Bourgogne à Dijon, à l'hôtel de Cluny à Paris, à l'évêché d'Évreux, au palais de justice de Rouen, et dans beaucoup de châteaux de cette époque, tels que ceux d'Amboise, de Blois, etc.

L'époque de la renaissance éleva de très-belles portes extérieures et intérieures dans les habitations seigneuriales ou dans les maisons; mais l'étendue de cet article ne nous permet pas de dépasser la limite de l'ère gothique. Si nous voulions choisir parmi les beaux exemples des portes du commencement de la renaissance, nous serions entraîné beaucoup trop loin. D'ailleurs ces exemples sont reproduits dans un grand nombre d'ouvrages mis entre les mains de tous les artistes.

Note 326: (retour) Voyez MAISON, et l'ouvrage sur l'Architecture civile, de MM. Verdier et Cattois.
Note 327: (retour) Cette maison a été détruite depuis; nous n'avons pu en retrouver que la place lors d'un dernier voyage dans le département de l'Indre.
Note 328: (retour) Cette porte provient d'une maison de Château-Vilain (Haute-Marne).
Note 329: (retour) Voyez MAISON, et l'ouvrage déjà cité de MM. Verdier et Cattois.
Note 330: (retour) On retrouve cette même disposition à l'entrée du château de Blois et au-dessus de la porte de l'hôtel de ville de Compiègne.
Note 331: (retour) Voyez Jacques Coeur, par M. Vallet de Viriville. Paris, 1864.
Note 332: (retour) Voyez MAISON, fig. 39.
Note 333: (retour) Voyez fig. 21, 24, 25, 27, 28, 29, 37. Voyez aussi l'article SALLE.
Note 334: (retour) Voyez CHÂTEAU, ESCALIER, MAISON.
Note 335: (retour) Voyez Notices sur les monuments du Berry, par M. Hazé, 1834.
Note 336: (retour) Voyez le Dictionnaire du mobilier.


PORTIQUE, s. m. Ce n'est qu'à dater du XVIe siècle que ce mot fut introduit dans le langage des architectes. Mais si le mot n'existait pas pendant le moyen âge, en français, on possédait l'ordonnance. On disait porche, si le portique avait peu d'étendue et se présentait devant l'entrée d'un édifice; cloistre, s'il entourait une cour; piliers, s'il se développait devant des façades de maisons ou de palais sur la voie publique ou sur un préau. Grégoire de Tours parle de portiques de bois peints de couleurs éclatantes qui entouraient les cours des palais mérovingiens. Eginhard 337 rapporte que l'empereur Louis le Débonnaire passant sur un portique de bois le jeudi de la semaine sainte, en revenant de l'église, cette construction vermoulue s'écroula et l'entraîna dans sa chute avec sa suite. Les vignettes des manuscrits des IXe et Xe siècles montrent assez fréquemment des portiques composés de colonnes avec arcades que l'on fermait au moyen de draperies: on en voit de figurées dans la tapisserie de Bayeux. Toutefois il ne paraît pas que pendant le moyen âge on ait élevé, comme pendant l'antiquité grecque et romaine, des portiques uniquement destinés à servir de promenoirs et d'abri aux habitants d'une cité. Ils faisaient toujours partie d'un édifice, se développaient sous des maisons, sur la voie publique 338, ou s'ouvraient sur les cours des établissements monastiques et des palais 339. Ce qui distingue le portique du cloître proprement dit, c'est que le premier est une galerie couverte présentant une seule face, tandis que le cloître entoure complétement une cour au moyen de quatre galeries desservant des bâtiments plantés d'équerre. Quant aux dispositions de détail de ces portiques, elles rappellent celles adoptées pour les cloîtres. Ce sont de simples piliers portant un appentis ou des poitrails, et soutenant alors des étages supérieurs, ou bien des arcades reposant sur des colonnes; des pieds-droits; et donnant un couvert lambrissé ou voûté. Le palais épiscopal de Laon présente ainsi, du côté de la cathédrale, un beau portique du commencement du XIIIe siècle, composé de piliers cylindriques supportant des arcs en tiers-point avec plafond lambrissé 340. Les arcades de ce portique ont été malheureusement remaniées au XIVe siècle; il en reste une seule intacte, formant l'extrémité de la galerie du côté de l'ouest: c'est celle que nous présentons ici (fig. 1).

Il existait au Palais de Paris de beaux portiques voûtés donnant autrefois sur trois côtés d'un préau, et formant ainsi une sorte de cloître 341. Avant la construction de l'Hôtel de ville actuel de Paris, les bourgeois de la Cité se réunissaient dans des maisons situées sur la place de Grève, et désignées sous le nom de maisons aux piliers, parce qu'elles laissaient à rez-de-chaussée, sur la voie publique, un portique composé de piles de pierre supportant des poitrails avec étages supérieurs. On disait aussi les piliers des halles de Paris, pour désigner les portiques pratiqués dans les maisons entourant la place du marché et qui servaient d'abri aux acheteurs. Beaucoup de villes du moyen âge avaient leurs maisons bâties sur des portiques 342; mais ceux-ci ne présentaient jamais une architecture uniforme, chacun disposait son portique comme bon lui semblait: ce qui donnait à ces allées couvertes un aspect des plus pittoresques. On voyait encore à Luxeuil, il y a peu d'années, une rue entièrement percée d'après ce système, d'un aspect original, plaisant par la variété.

Les hôtels, pendant le moyen âge, possédaient souvent des portiques intérieurs qui servaient d'abri aux personnes attendant d'être introduites dans les appartements, sous lesquels se tenaient les valets, et où parfois on attachait les chevaux pendant les visites des maîtres. Ces portiques n'étaient qu'une galerie devant un mur; car, dans notre climat, on n'établissait pas des portiques entièrement ouverts, comme cela s'est pratiqué en Italie. On devait éviter les courants d'air. Ces portiques de nos vieux hôtels sont profonds, relativement à leur hauteur, et fermés à leurs extrémités.

L'hôtel de la Trémoille à Paris (hôtel dont il ne reste plus que des débris déposés à l'École des Beaux-Arts) contenait un charmant portique adossé à la façade donnant sur la rue des Bourdonnais. Ce portique était voûté et construit avec une hardiesse extraordinaire 343. Exposé au sud-ouest, il était fermé par les bouts et surmonté d'une galerie. De la porte charretière, donnant sur la rue, on ne pouvait pénétrer directement sous le portique; il fallait d'abord entrer dans la cour. Cette disposition, que nous voyons adoptée quelques années plus tôt dans l'hôtel de Jacques Coeur, était bonne en ce qu'elle permettait aux personnes se promenant sous les portiques de n'être pas interrompues par les arrivants ou sortants, et de ne point être incommodées par les courants d'air si fréquents dans nos portiques prétendus classiques. Les seigneurs et bourgeois du moyen âge ne pensaient pas qu'un rhume valût une ordonnance monumentale imitée des Grecs ou des Romains. Pour eux, un portique était une galerie ouverte sur une seule face, profonde, relativement peu élevée, fermée au moins à l'une de ses extrémités, se retournant parfois pour profiter d'une orientation favorable. C'est ainsi qu'au château de Pierrefonds, le long de la grande salle, il existait un portique bas, entresolé, fermé aux extrémités, orienté à l'est, et donnant ainsi, en toute saison, un promenoir couvert bien abrité contre les mauvais vents, parfaitement sec et sain, vitré à l'entresol, et fournissant, dans toute la longueur de la grande salle du rez-de-chaussée, un balcon fermé s'ouvrant sur cette salle. C'est ainsi que dans les résidences de l'époque de la renaissance, nous voyons encore des portiques fermés aux extrémités et parfaitement orientés. Tels étaient les portiques du château de Madrid, au bois de Boulogne 344; tels sont encore debout les portiques des châteaux de Blois et de Chambord, de quelques habitations d'Orléans 345. Ceci tend il prouver que nos aïeux craignaient les rhumes, et pensaient qu'un promenoir couvert doit être fait pour abriter les promeneurs.

Note 337: (retour) Louis le Débonnaire, 817.
Note 338: (retour) Voyez MAISON.
Note 339: (retour) Voyez CLOÎTRE.
Note 340: (retour) Voyez, pour l'ensemble de ce portique, l'Architecture civile et domestique de MM. Verdier et Cattois, t. II, p. 198.
Note 341: (retour) Voyez PALAIS, fig. 2. Il ne subsiste que quelques parties de ce portique.
Note 342: (retour) Voyez MAISON.
Note 343: (retour) Voyez l'Architecture civile et domestique de MM. Verdier et Cattois, t. II.
Note 344: (retour) Voyez le plan et l'élévation du château de Madrid, dans le premier volume des Entretiens sur l'architecture.
Note 345: (retour) Entres autres, celle dite d'Agnès Sorel.


POT, s. m. Les architectes du moyen âge ont placé parfois à l'intérieur des édifices religieux, dans les parements des murs, des pots acoustiques de terre cuite, probablement pour augmenter la sonorité des vaisseaux. Nous avons fréquemment constaté la présence de ces pots dans les choeurs des églises des XIIe et XIIIe siècles. Plusieurs archéologues ont fait les mêmes observations. Ces poteries sont généralement engagées dans la maçonnerie, ne laissant voir à l'intérieur que leur orifice au nu du mur. Elles sont placées à différentes hauteurs et parfois en quinconce, mais particulièrement près des angles. Il en existe dans l'abside carrée de l'église de Montréale (Yonne), dans l'église de Saint-Laurent en Caux, à l'abbaye de Montivilliers, dans les églises de Contremoulins près Fécamp, de Perruel près Périers-sur-Andelle (arrondissement des Andelys). La Normandie est peut-être la province où ces poteries acoustiques ont été le plus fréquemment employées pour donner de la sonorité aux choeurs, mais on en trouve aussi dans des monuments de Provence, et notamment dans l'église de Saint-Blaise, à Arles. Dans une Notice sur le couvent des Célestins de Metz, M. Bouteiller, membre de l'Académie impériale de Metz, cite un passage très-curieux d'une chronique de ce monastère, écrite vers la fin du XVe siècle, et dans laquelle il est question de ces poteries acoustiques. À l'année 1432, page 133 du manuscrit, on lit:

«En cest année dessus dit, au mois d'aoust le vigile de l'Assumption Nostre-Dame, aprez ceu que frere Ode le Roy, priour de seans, fuit retournez du chapitre gral dessus dit, il fit et ordonnoit de mettre les pots au cuer de l'eglise de seans, portant qu'il avoit vu altepart en aucune eglise et pensant qu'il y fesoit meilleur chanter et que il ly rèsonneroit plus fort. Et y furent mis tuis en ung jour on point tant douvrier quil souffisoit. Mais ie ne scay si on chante miex que on ne fesoit. Et cest une chose à croire que les murs en furet grandement crolley et deshochiet et becop de gens qui viennent seans sont bien merveillez que y soie fait. Et dixent aucune foix qui valeoit mieux quil furet apresent dehors, portant que bon pensoyt-il seroit là mis pour en prendre et jouyr à plaisir aux foux 346

Efficace ou non, il est certain que ce mode de sonorité était admis pendant le moyen âge. Parfois aussi, et notamment dans l'église de Montréale citée plus haut, des poteries acoustiques ont été noyées dans les reins des voûtes, l'orifice des pots étant tourné vers l'intérieur.

M. Mandelgren, archéologue suédois, qui a publié un très-curieux ouvrage sur les monuments scandinaves du moyen âge, a constaté dans la plupart des églises relevées par lui, un grand nombre de ces poteries incrustées dans les murs et les voûtes, soit en Suède, soit en Danemark. Est-ce là une tradition antique ou scandinave, puisqu'en Normandie on trouve quantité de ces poteries? Nous nous garderons de décider la question. En Russie, beaucoup d'églises dans le style pseudo-byzantin possèdent également des pots acoustiques. Cet usage aurait-il été transmis à la Russie par les grecs byzantins?

Note 346: (retour) Voyez, dans les Annales archéologiques, t. XXII, p, 294, l'article de M. Didron sur les poteries aconstiques.


POTEAU, s. m. (estaque). Pièce de bois posée verticalement et portant des poitrails, des sablières, et parfois des façades ou des planchers.

Les constructions de bois, si fréquemment employées pendant le moyen âge, exigeaient l'emploi de poteaux pour soutenir des pans de bois, des planchers, des appentis, etc. Ces poteaux restaient apparents, car les architectes du moyen âge avaient le bon esprit de ne jamais revêtir les bois de charpente d'enduits, de stucs qui les détruisent rapidement. Les laissant apparents, ils les façonnaient avec soin, les chanfreinant sur les arêtes, s'ils étaient à portée de la main, pour ne pas offenser les allants et venants et pour éviter la dégradation de ces arêtes. Beaucoup de nos maisons, de nos halles du XVe siècle, possèdent encore des poteaux isolés, travaillés avec soin et parfois même décorés de sculptures. Mais on peut citer comme un type de ces morceaux de charpente, les poteaux qui soutiennent le plancher et les combles de la douane de Constance; aussi nous n'hésitons pas à les donner ici comme un résumé de ce que la charpente a su faire en ce genre de plus complet et de mieux entendu. La douane de Constance fut construite en 1388. Elle se compose d'un rez-de-chaussée et d'un premier étage couvert par un comble énorme. Le plancher et le comble sont portés à l'intérieur par deux rangées de poteaux ainsi disposés (fig. 1).

Sur une assise de grès A s'élève le poteau inférieur de bois d'orme, qui n'a pas moins de 0m,96 d'équarrissage à la base et au chapiteau, si bien que, comme l'indique la section B, chacun de ces poteaux a dû être pris dans un arbre de 1m,50 de diamètre, franc d'aubier. La tête du poteau est entaillée en fourchette, reçoit un premier chapeau C et deux poitrails superposés, sur lesquels s'appuient les solives. Sur la tête du poteau inférieur repose une seconde assise de grès D servant de dez au second poteau E, qui porte la charpente et un deuxième plancher sous comble. Le poteau supérieur est plus léger que celui du bas, mais est de même entaillé à fourchette et reçoit un chapeau et deux poitrails superposés.

La figure 2 donne en coupe transversale, en A, le poteau supérieur avec son chapeau et ses poitrails en B, ceux-ci étant supposés enlevés en C et la fourchette de la tête du poteau étant alors visible. En D, est un tracé perspectif de cet assemblage de charpente; en E, le chapeau désassemblé, avec son embrévement F entrant dans la fourchette de tête. En G, est tracé le congé inférieur du chanfrein, avec le profil, en I, des renforts demi-circulaires de la base et du chapiteau. Ces poteaux supérieurs, ainsi que tous les chapeaux, poitrails et solives, sont de sapin et taillés avec le plus grand soin. Mais ce qui a lieu de surprendre dans cet ouvrage, c'est la belle qualité des bois et leur parfaite conservation. Ces poteaux, non plus que les poitrails, ne présentent de gerçures, ils semblent taillés dans une matière homogène. Pour que des bois d'un aussi fort équarrissage pussent subir, sans se gercer, les variations de la température, il fallait qu'ils fussent purgés de leur séve par un moyen quelconque, et approvisionnés très-longtemps avant leur emploi. Cette même observation peut s'appliquer aux poteaux de nos maisons et halles datant de quatre cents ans. Il est bien rare que dans ces pièces de bois on signale une gerçure 347.

On entend par poteau cornier, une pièce de bois verticale qui fait l'angle de deux pans de bois se retournant d'équerre, et dans laquelle viennent s'assembler les sablières. Les poteaux corniers doivent être pris, autant que faire se peut, dans un seul brin, afin de présenter une parfaite rigidité.

La pièce A, fig. 3, est un poteau cornier. Des repos, outre les mortaises, reçoivent les extrémités des sablières des planchers. Ces poteaux corniers sont habituellement façonnés avec soin, ornés de sculptures, de profils, de statuettes, choisis dans les plus beaux brins et les plus sains. Nous avons montré plusieurs de ces pièces de charpente dans les articles MAISON et PAN DE BOIS; il paraît donc inutile de nous étendre plus longtemps sur leur fonction et leur forme. On voit encore des poteaux corniers bien travaillés dans quelques maisons de Rouen, de Chartres, de Beauvais, de Reims, d'Angers, d'Orléans, de Sens. Il en existe un encore, représentant un arbre de Jessé, à l'angle d'une maison de la rue Saint-Denis, à Paris, qui date du commencement du XVIe siècle. Quelquefois, dans les châteaux des XIIIe et XIVe siècles notamment, les solives des planchers ne portaient pas dans les murs, mais sur des lambourdes épaisses soutenues de distance en distance par des poteaux adossés au parement intérieur de ces murs. C'était un moyen d'éviter la pourriture, qui trop souvent se manifeste dans les portées des solives pénétrant la maçonnerie, et de permettre d'élever les murs sans se préoccuper d'y sceller les solivages. Ainsi couvrait-on le bâtiment et posait-on les planchers sans craindre de les laisser mouiller; ce qui est un point capital si l'on veut éviter la détérioration des bois et les gerçures. Les poteaux adossés aux murs avaient encore cet avantage de permettre d'attacher les lambris de menuiserie et les tapisseries en laissant un isolement très-favorable à leur parfaite conservation. D'ailleurs si l'on eût voulu n'habiter ces châteaux, dont les murs ont souvent plus de deux mètres d'épaisseur, que quand les maçonneries eussent été sèches, il eût fallu attendre plusieurs années. L'isolement laissé entre les murs et les boiseries ou tentures permettait de s'installer dans ces demeures sans avoir à redouter les funestes effets produits par les maçonneries fraîches sur la santé. Il y avait donc plusieurs bonnes raisons pour poser des planchers sur des poteaux adossés, et nous recommandons cette méthode aux architectes qui bâtissent des habitations de campagne, où la place n'est point à épargner comme dans les grandes villes. C'est l'emploi de ces poteaux adossés qui fait que dans beaucoup de nos châteaux, on n'aperçoit pas la trace des planchers séparant les étages, bien que ceux-ci soient marqués par des portes et des fenêtres.

Les poitrails adossés portent souvent des liens ou des esseliers, afin de soulager les poutrelles. On revêtait ces supports en écharpe de lambris, et ceux-ci devinrent ainsi l'origine des voussures de plafonds que nous voyons persister jusque pendant le dernier siècle.

Note 347: (retour) Voyez CHARPENTE, MAISON, PAN DE BOIS.


POTELET, s. m. Petit poteau. On donne habituellement le nom de potelets aux petites pièces verticales qui soutiennent les appuis des fenêtres, dans les pans de bois, au-dessus des sablières basses. Souvent ces potelets, pendant les XVe et XVIe siècles, ont été ouvragés (voy. MAISON).



POUTRE, s. f. Pièce de bois posée horizontalement, d'un fort équarrissage, et qui sert à soulager la portée des solives des planchers. Depuis plus de deux cents ans, pour ne pas perdre de la place en hauteur, dans les habitations de Paris, on n'emploie plus les poutres, et l'on combine les planchers au moyen de solives d'enchevêtrures, de chevêtres et de solives, toutes les pièces posées sur un seul plan, afin de pouvoir latter et plafonner en plâtre; mais autrefois, et encore dans la plupart des provinces françaises, on posait et l'on pose les solives sur des poutres soulagées à leurs extrémités par des corbeaux (voy. PLAFOND).



PRISON, s. f. (chartre). Les châteaux, les abbayes, les palais épiscopaux, les beffrois des villes, les chapitres, possédaient des prisons dans leurs murs, pendant le moyen âge; ces prisons n'étaient que des cellules plus ou moins bien disposées, des cachots ou même des culs de basse-fosse. Le moyen âge n'avait pas à élever des établissements spéciaux destinés aux prisonniers; établissements qui ne peuvent subsister qu'au milieu d'un État dans lequel l'exercice de la justice est centralisé. Il va sans dire que les prisons que contiennent nos vieux édifices ne se font pas remarquer par ces mesures prévoyantes, ces dispositions saines et ce système de surveillance bien entendu, qui placent aujourd'hui ces établissements au rang des édifices complets et sagement entendus. Toutefois on a beaucoup exagéré et le nombre et l'horreur de ces lieux de réclusion pendant le moyen âge. Il existe encore au château de Loches des prisons bien authentiques, qui ne sont autre chose que des chambres grillées, saines d'ailleurs et suffisamment claires. On en voit également à l'abbaye du mont Saint-Michel en mer, encore au donjon de Vincennes, et dans la plupart de nos vieilles forteresses, qui ne diffèrent des chambres réservées aux habitants que par la rareté des issues et la nudité des murs. Il n'est pas besoin d'être fort versé dans l'histoire de ces temps, pour reconnaître que les prisons étaient nécessaires dans tout domaine féodal, mais nous devons constater que bien peu de ces terribles vade in pace paraissent avoir été occupés, tandis que les cellules, qui n'étaient que des chambres bien fermées, ont été souvent remplies. Il semble que ce qui était plus à craindre pour les prisonniers du roi ou des seigneurs, c'étaient les exactions des geôliers, et nous en prenons pour preuve ce passage de l'Apparicion de maistre Jehan de Meun:

«N'ose dire des geoliers

Comment gouvernent prisonniers,

Mais on m'a dist, par le chemin,

Qu'ilz en ont le vaissel et le vin.

Ne or, n'argent, n'emportera

Le prisonnier quant partira.

Quant on lui dist qu'il faist péchié,

Et il respont, tost de rechié,

Que la geole lui vent-on chier

Et qu'il n'y perdra jà denier.

Si le Roy savoit qu'on y fait,

Jamais ne souffriroit tel fait 348

Et plus loin:

«Ly Sarrazins dit des geoliers

Qu'ils despouillent les prisonniers,

Mais cecy est chose certaine

Que les vendre est du demaine,

Et sy n'est pas petite rente

Que les geoles soient en vente 349

Si les geôles étaient affermées, il est clair que les prisonniers avaient tout à redouter de leurs geôliers; mais ceci sort de notre sujet. Les prisons qui sont groupées dans le voisinage d'une salle de justice sont celles qui présentent évidemment le plus d'intérêt et dont la destination ne peut être mise en doute. Or, il existe encore dans l'officialité de Sens une prison complète à côté de la salle où l'on jugeait les accusés. Cette salle est située à rez-de-chaussée sous la grand'salle synodale; elle est voûtée sur une rangée de colonnes formant épine. Les prisons occupent un quart environ de l'espace, et sont prises à l'extrémité d'une des deux nefs.

Nous en donnons (fig. 1) le plan. L'entrée du palais archiépiscopal est en A, la cour en B. L'escalier C conduit à la grand'salle au premier étage. Par le guichet D, on pénètre dans l'officialité E. Le guichet G donne entrée dans une prison H voûtée en berceau. En I est une dalle percée d'un orifice communiquant à une fosse d'aisances; scellée au mur est une barre de fer, à 0m,60 de hauteur environ, destinée à passer la chaîne qui retenait le prisonnier assis. Une hotte de pierre K empêche le patient de voir le ciel par la fenêtre L, très-relevée au-dessus du sol, et ne lui laisse qu'un jour reflété. Mais cette prison présente une particularité curieuse: au-dessus du guichet G, fort bas, est un petit escalier qui conduit à une cellule placée au-dessus du cabinet M, et qui est mise, par une fenêtre, en communication avec la prison H. Ainsi pouvait-on placer là, soit un surveillant, soit une personne recueillant les moindres paroles du prisonnier. De la place occupée par celui-ci, il était impossible de voir la fenêtre de la cellule, à cause de la hotte qui abat le jour extérieur.

Un second guichet N donne entrée dans trois cellules O, P, Q; cette dernière assez spacieuse et munie d'un siége d'aisances. La cellule O ne paraît pas avoir été destinée à enfermer un prisonnier; elle ne reçoit pas de jour de l'extérieur, mais son pavé est percé d'une trappe R donnant dans un vade in pace, ou un paradis, comme on disait alors. En M, est un cabinet d'aisances qui donnait directement dans la salle de l'officialité par une porte S.

Si nous soulevons la trappe R, nous descendons, au moyen d'une échelle ou d'une corde, dans le cachot A (fig. 2), prenant de l'air, sinon du jour, par une sorte de cheminée B. La fosse d'aisances des prisons étant en C, au niveau du cachot, le prisonnier avait un siége d'aisances relevé de plusieurs marches en D. Nous avons encore trouvé dans ce paradis un lambris de bois placé dans l'angle près de la cheminée de ventilation B, pour préserver le prisonnier de l'humidité des murs. Dans la crainte que le malheureux jeté dans ce cul de basse-fosse ne cherchât à s'évader en perçant les murs de la fosse, le plus épais, celui qui donne le long de l'escalier descendant aux caves de l'officialité, est bardé extérieurement de larges bandes de fer posées en écharpe et retenant ainsi unies toutes les pierres.

Si ce cachot ne présente que peu de traces du séjour des humains, il n'en est pas ainsi pour les cellules du rez-de-chaussée, qui sont, surtout celle H, littéralement couvertes de gravures et de sculptures grossières datant des XIIIe, XIVe et XVe siècles. On y voit un crucifiement, un tournoi, des inscriptions, des noms, gravés sur l'enduit de plâtre; car ces divisions et murs intérieurs sont en moellons enduits d'une épaisse couche de plâtre.

Nous n'avons trouvé nulle part un ensemble aussi complet de cachots et prisons n'ayant subi aucune modification depuis l'époque de leur établissement.

Ces prisons ont été bâties en même temps que l'officialité de Sens, et datent par conséquent du milieu du XIIIe siècle. Toutes les voûtes, celle du vade in pace comprise, sont en berceau et construites en moellons. Seule la voûte de la fosse d'aisances est composée d'arcs de pierre parallèles, avec intervalles en moellons posés sur les extrados de ces arcs.

Les prisons des châteaux ne sont pas habituellement groupées, mais au contraire séparées les unes des autres. Beaucoup de tours de châteaux possèdent des prisons; mais nous n'en connaissons pas qui en présentent un aussi grand nombre et d'aussi belles (si cette épithète peut s'appliquer à des prisons) que le château de Pierrefonds. Dans cette résidence, le luxe s'est étendu jusque dans ces demeures. Sur huit tours, quatre possèdent deux étages de cachots: l'un éclairé et aéré, l'autre absolument dépourvu de lumière.

La figure 3 donne le plan d'une de ces tours (celle nord-est) au niveau de la prison supérieure située au-dessous du sol de la cour, mais beaucoup au-dessus du chemin de ronde extérieur. On descend à cette prison par l'escalier à vis A. Elle est circulaire, et son diamètre est de 4 mètres. Deux portes ferment le couloir B. Elle reçoit du jour et de l'air par deux meurtrières C, et est munie d'un cabinet d'aisances D. Au centre de cette salle circulaire, est ménagée une trappe qui donne au centre d'une voûte couvrant un cachot absolument fermé, mais muni également d'un siége d'aisances.

La figure 4 donne la coupe qe ces deux salles 350. On voit, dans cette figure, que la prison supérieure est spacieuse, largement éclairée, aérée et parfaitement saine. La voûte, composée de six arcs ogives, a 1m,20 d'épaisseur, pour éviter toute tentative de communication avec les prisonniers; la salle A était au niveau de la cour et destinée à l'habitation. Cette coupe fait voir le cachot inférieur dont le sol est au niveau du chemin de ronde extérieur O. On ne peut descendre dans cette chartre que par l'orifice percé dans la voûte, lequel était fermé par un tampon de pierre et une barre cadenassée. Les malheureux enfermés dans cette sorte de cloche de pierre n'avaient pas à craindre l'humidité, car les murs sont parfaitement secs, mais ne recevaient ni air ni jour de l'extérieur. L'épaisseur prodigieuse des murs et leur admirable construction ne pouvaient laisser aucune chance d'évasion. On remarquera que la voûte de cette chartre est bâtie par assises horizontales réglées, comme toutes celles du château, et non en claveaux. Dans l'un de ces cachots (celui de la tour nord-est) est gravé grossièrement un crucifiement sur la paroi intérieure, ouvrage de quelque prisonnier qui n'a pu exécuter ce travail qu'à tâtons, puis deux noms et quelques linéaments informes. Dans le cachot de la tour du milieu (ouest), nous avons découvert un squelette de femme accroupi dans la niche formant siége d'aisances. La construction de ces étages inférieurs est exécutée avec autant de soins que celle des parties du château destinées à l'habitation. Les parements sont admirablement dressés, et les lits d'une régularité irréprochable. La tour sud-ouest contient, au milieu du cachot inférieur, une oubliette (voy. OUBLIETTE).

Nous avons découvert encore des prisons basses dans des tours de la cité de Carcassonne. Un de ces cachots, dépendant de l'ancien évêché, possède un pilier dans le milieu et une chaîne avec entraves attachée à ce pilier, de telle sorte que le prisonnier ne pouvait atteindre les parois intérieures de la muraille. Des ossements humains tenaient encore à cette chaîne. Toutefois nous devons constater que beaucoup de cachots intérieurs ne paraissent pas avoir été habités. Il en est qui ne présentent aucune trace d'être humain et semblent sortir des mains du maçon. Ajoutons que l'on donne souvent, dans les résidences des seigneurs du moyen âge, le nom de cachot à des caves destinées à recevoir des approvisionnements. Il n'est pas nécessaire d'exagérer l'emploi de ces moyens de répression, et en tenant compte des moeurs du temps, on peut même considérer ces prisons et cachots comme établis relativement dans des conditions de salubrité qui n'ont pas toujours été observées pendant les derniers siècles.

Note 348: (retour) L'Apparicion de Jehan de Meun, publiée par la Société des bibliophiles français, p. 35 (XIVe siècle).
Note 349: (retour) Ibid., p. 54.
Note 350: (retour) Dans cette coupe nous avons fait les sections sur l'escalier, le passage et l'une des meurtrières, ainsi que sur le siége d'aisances et la fosse inférieurs.


PROFIL, s. m. S'entend, en architecture, comme section faite sur une moulure. Le profil d'une corniche, c'est la section perpendiculaire à la face de cette corniche; le profil d'une base de colonne, c'est la section normale à la courbe de sa circonférence. Pour faire tailler une moulure, une corniche, un bandeau, une archivolte, on en donne le profil au tailleur de pierre. On ne pourrait donner le nom de profil à la section horizontale d'un pilier, d'un pied-droit; ce sont là des sections horizontales, des plans, non des profils, car le profil indique toujours une section verticale ou normale à la courbe d'un arc.

Les profils ont une importance majeure dans l'architecture; ils sont, pour ainsi dire, une des expressions du style, et une des expressions les plus vives. Les architectures considérées comme des arts types ont possédé chacune des profils dont le tracé dérive d'un principe essentiellement logique, et l'on peut même dire que seules les architectures qui s'élèvent à la hauteur d'un art supérieur possèdent des profils. En effet, toutes les architectures ne peuvent être considérées comme constituant un art. Les unes ne sont qu'une structure, d'autres qu'un amas de formes dépourvues d'un sens logique. Nous ne saurions, sans sortir des limites de cet ouvrage, développer toutes les considérations qui tendent à établir cette distinction entre les architectures atteignant à l'art et celles qui ne sont qu'une expression confuse de ce besoin naturel à l'homme d'orner ses demeures ou ses monuments. Il nous suffira de dire que les profils n'ont une signification définie que chez les peuples appuyant toute expression de la pensée sur la logique. Les Grecs de l'antiquité ont été les premiers qui aient su donner aux profils de l'architecture un tracé dérivé d'un raisonnement appliqué à l'objet. Avant eux, l'architecture, chez les Égyptiens, par exemple, ne possédait pas, à proprement parler, de profils tracés en raison de l'objet et de la matière. Chez les Égyptiens, les profils, très-rares d'ailleurs, ne sont qu'une forme hiératique; ils s'appuient sur une tradition, non sur un raisonnement. Chez les Ioniens déjà, le profil est une expression. Chez les Doriens, il est tracé pour satisfaire à une nécessité matérielle et en vue de produire un effet harmonieux; il a ses lois propres et n'est plus le résultat d'un caprice. Aussi, à dater du développement complet de l'architecture grecque, les profils appartenant à l'architecture des peuples occidentaux ont leurs périodes qui permettent de les classer suivant un ordre méthodique. Un profil de la brillante époque grecque se reconnaît à première vue, sans qu'il soit nécessaire de savoir à quel monument il appartient. Il en est de même du profil romain de l'empire, du profil byzantin, du profil roman de l'Occident, du profil gothique. Certains profils appartenant à des architectures très-différentes peuvent avoir et ont en effet des analogies singulières: ainsi on établit des rapports entre ie tracé des profils grecs et celui des profils employés au XIIe siècle en Occident. Des styles d'architectures très-voisins au contraire présentent des profils tracés sur des données absolument étrangères l'une à l'autre. Il n'y a nulle analogie entre les profils des écoles romanes qui s'éteignent au XIIe siècle et les profils de celle qui naît dans l'Île-de-France vers 1160. Le profil romain de l'empire diffère essentiellement du profil grec. L'étude des profils est donc nécessaire: 1º pour reconnaître les principes qui ont régi les styles divers d'architecture; 2º pour classer ces styles et constater la date des monuments. Dès l'instant que l'on a étudié ces monuments avec quelque soin, il est facile de reconnaître, par exemple, que tel profil n'est qu'un dérivé de tel autre, et que par conséquent il lui est postérieur; que telle moulure appartient à un art qui s'essaye ou qui touche à son déclin.

Dans tout profil, il y a deux éléments, l'utilité et le sentiment plus ou moins vrai de la forme et de l'effet que doit produire cette forme. Le sentiment ici n'est autre chose que le moyen de traduire un besoin sous une forme d'art; mais ce sentiment est soumis lui-même à certaines lois dont on ne saurait s'écarter et dont on pourra tout à l'heure apprécier l'importance.

Ce qui caractérise les profils des belles époques de l'architecture, c'est l'expression vraie du besoin auquel ils doivent satisfaire et une distinction, dirons-nous, dans leur tracé, qui les signale aux regards et les grave dans le souvenir. Cette distinction dérive d'une sobriété de moyens, d'un choix dans le galbe et d'une observation fine des effets produits par la lumière. Il est tel profil dans le tracé duquel on peut reconnaître la main d'un artiste consommé, d'un esprit délicat, d'un constructeur réfléchi et savant. Aucune partie de l'architecture n'est moins soumise au caprice ou à la fantaisie que celle-là, et l'on peut dire du profil ce qu'on dit du style: «Le profil, c'est l'architecture.»

Les Romains, peu délicats en fait d'art, ne paraissent pas avoir attaché d'importance au tracé des profils, et si, dans quelques-uns de leurs monuments du commencement de l'empire, on signale l'intervention d'un certain goût dans ces détails d'architecture, il faut en savoir gré aux artistes grecs qui travaillaient pour eux. Déjà même on constate que les profils ne reproduisent que des galbes consacrés, des poncifs exécutés avec plus ou moins de soin, mais qui ne sont qu'une sorte d'exagération des types admis chez les populations grecques et étrusques, types dont évidemment on a dès lors perdu l'origine et la raison d'être. À la fin de l'empire, l'exécution fait défaut, et les profils, amollis, chargés, paraissant tracés au hasard ou abandonnés à des ouvriers affaiblissant chaque jour les types primitifs, manquent absolument de caractère; ils ne sont reconnaissables que par la négligence même de leur tracé et de leur facture. Nous ne parlerons pas des profils, rares d'ailleurs, que l'on peut observer dans les monuments de l'époque romane primitive, dernier reflet affaibli encore de l'art de la décadence romaine. Ce n'est que vers la fin du XIe siècle, alors que l'architecture tend à s'affranchir de traditions abâtardies et à chercher de nouvelles voies, que l'on peut constater, dans la façon de tracer les profils, certaines méthodes empruntées au seul art auquel on pouvait alors recourir, l'art byzantin. Ces emprunts toutefois ne sont pas faits de la même manière sur la surface de la France actuelle. Déjà des écoles apparaissent, et chacune d'elles procède différemment quant à la manière d'interpréter les profils de l'architecture byzantine ou quant à la façon de continuer les traditions romaines locales. Ainsi, par exemple, si les gens de Périgueux bâtissent, dès la fin du Xe siècle, leur église byzantine par le plan et la donnée générale, ils conservent dans cet édifice les profils de la décadence romaine; le sol de Vésonne étant couvert encore à cette époque d'édifices gallo-romains. Si les architectes du Berry et du haut Poitou, au commencement du XIIe siècle, conservent dans la disposition des plans et les données générales de leurs édifices, les traditions romaines de l'empire, leurs profils sont évidemment empruntés à l'architecture gréco-romaine de Syrie. En Provence, sur les bords du Rhône, de Lyon à Arles, les profils de la période romane paraissent calqués sur ceux des byzantins. En Auvergne, il s'établit dans l'architecture une sorte de compromis entre les profils des monuments gallo-romains et ceux rapportés d'Orient. En Bourgogne, les édifices, bâtis généralement de pierres dures et d'un fort échantillon, ont pendant le XIIe siècle une ampleur et une puissance que l'on ne retrouve pas dans l'Île-de-France et la Normandie, où alors on bâtissait avec de petits matériaux tendres; et cependant, malgré ces différences marquées entre les écoles, on reconnaît, à première vue, un profil du XIIe siècle parmi ceux qui sont antérieurs ou postérieurs à cette époque. Les caractères tenant au temps sont encore plus tranchés, s'il est possible, pendant les XIIIe, XIVe et XVe siècles, bien que certaines écoles persistent. Ces faits peuvent ainsi s'expliquer: pour les profils, il y a le principe qui régit leur tracé par périodes, indépendamment des écoles; puis il y a le goût, le sentiment dépendant de l'école.

Il est une loi générale qui régit tout d'abord le tracé des profils de l'architecture du moyen âge. Cette loi est très-sage: elle exige que tout profil soit pris dans une hauteur d'assise. Forcé de s'y soumettre, l'architecte trace ses profils à l'échelle de la construction, et non point suivant une échelle conventionnelle, un module. Il en résulte, par exemple, que si deux édifices sont bâtis avec des matériaux d'une dimension donnée, entre lits, l'un ayant 10 mètres de hauteur et l'autre 30, la corniche du premier sera, à très-peu près, de la même dimension que la corniche du second, c'est-à-dire que ces deux corniches seront prises dans une assise de même hauteur. C'est en cela que les profils de l'architecture du moyen âge diffèrent, dès le principe, des profils des architectures grecque et romaine. Pendant le moyen âge, le profil est à l'échelle de la structure comme l'architecture elle-même. Par suite de l'emploi des ordres et du module, les architectes de l'antiquité grecque et romaine devaient nécessairement tracer leurs profils suivant un rapport de proportions avec un ordre, sans tenir compte des dimensions des matériaux; aussi voyons-nous que, dans la même contrée, s'ils peuvent profiler une corniche d'un petit ordre corinthien dans une seule assise, passant à un grand ordre corinthien, ils profileront sa corniche dans deux ou trois assises. Partant d'un principe différent, l'architecte du moyen âge donnera de la grandeur à un profil, non point au moyen du grandissement d'un tracé, mais par l'adoption d'un tracé différent. Ainsi, par exemple, ayant à placer deux bandeaux sur les parements d'un grand et d'un petit édifice, il donnera, si les matériaux l'exigent, la même hauteur à ces deux bandeaux, mais il tracera le bandeau du grand monument suivant le profil A (fig. 1), et celui du petit monument suivant le profil B.

Le profil A paraîtra plus ferme, plus accentué et plus grand d'échelle que le profil B. Il y avait donc, dans l'adoption de ce nouveau principe, ample matière aux observations de l'artiste, le sujet d'une étude très-délicate des effets; et si un architecte du Bas-Empire pouvait, ayant donné les dimensions principales d'un ordre, ne plus avoir à s'inquiéter des profils de cet ordre, il n'était pas loisible à l'architecte du moyen âge de laisser aux ouvriers le soin de tracer les profils de son monument, puisque c'était par ce tracé qu'il pouvait donner l'échelle de l'ensemble. Ceci étant, on comprend comment des architectes habitués à ne considérer les profils que comme un tracé élastique qui diminue ou augmente en raison des dimensions données à l'ensemble, ont pu affirmer que les tracés des profils appartenant aux monuments occidentaux du moyen âge étaient dus au hasard. Or, c'est un langage qu'il faut connaître, langage qui a ses lois parfaitement définies.

Les profils ont deux raisons d'exister: la première répond simplement à une nécessité de la structure; la seconde dérive de l'art pur. Il est clair qu'un profil extérieur de corniche est destiné à éloigner les eaux pluviales du parement qu'il recouvre; qu'un profil de soubassement n'est autre chose qu'un empattement donnant de l'assiette à la partie inférieure d'un mur ou d'une pile. Mais il ne suffit pas que ces fonctions soient remplies, il faut encore que l'oeil trouve dans le galbe de ces profils une expression saisissante de leur utilité.

Le profil d'un chapiteau dorique grec est admirablement tracé pour exprimer un support; et si un architecte du moyen âge avait eu quelque chose à lui reprocher, c'est de ne pas porter une charge qui soit en rapport avec son galbe robuste, puisque, sur deux de ses faces en encorbellement, ce chapiteau ne porte rien. C'est à l'expression rigoureuse du besoin que les architectes du moyen âge se sont d'abord appliqués dans le tracé de leurs profils; le besoin satisfait, ils ont cherché à en rendre l'expression sensible aux yeux les moins exercés, et il faut reconnaître qu'ils y ont réussi beaucoup mieux que ne l'ont fait les artistes de l'antiquité, les Grecs compris. Une erreur trop répandue est de croire qu'un profil est beau par lui-même, et cette erreur semble avoir été partagée par les architectes grecs et romains depuis l'empire. Un profil n'a qu'une valeur relative, et celui qui produit un effet satisfaisant ici sera fâcheux ailleurs. Jamais, par exemple, les architectes des XIIe et XIIIe siècles n'ont donné à des profils intérieurs et extérieurs d'un même édifice le même galbe, par la raison: 1º que les besoins auxquels ils avaient à satisfaire extérieurement et intérieurement diffèrent; 2º que l'effet produit par la lumière directe ne peut être le même que celui produit par la lumière diffuse. Un profil éclairé de haut en bas par le soleil ou de bas en haut par reflet, se modifie aux yeux: c'est alors que l'art, appuyé sur une observation fine, intervient.

Les profils les plus anciens que nous observons dans les édifices primitifs du moyen âge en France, et particulièrement dans l'Île-de-France, dans le Valois, une partie de la Champagne, de la Bourgogne, du Nivernais et de l'Auvergne, s'ils s'adaptent à des bandeaux, des corniches, des cordons et des tailloirs de chapiteaux, consistent en un simple épannelage, un biseau (fig. 2) partant du nu du mur ou reposant sur des corbelets. Mais on reconnut bientôt: 1º que ces profils ne garantissaient pas les parements des eaux pluviales; 2º qu'ils produisaient peu d'effet: car si le rayon solaire est au-dessus de la ligne ab, toute la partie biseautée cb est plongée dans l'ombre; si le rayon solaire est suivant la ligne ab, la partie cb est dans un jour frisant pâle et sans relief; si le rayon solaire est au-dessous de la ligne ab, le biseau cb est dans la lumière et se confond presque avec le listel dc. Dès le commencement du XIe siècle on chercha à obtenir plus de relief ou plus d'effet en creusant au-dessus du grand biseau un grain d'orge e (fig. 3).

Ainsi, lorsque le rayon solaire était dans le prolongement du biseau ou même au-dessus, on obtenait un filet lumineux entre le listel et ce biseau; puis, pour éviter la bavure des eaux pluviales, on creusa sous le biseau une mouchette g. Le biseau se trouvait compris ainsi entre deux grains d'orge plus ou moins profonds, qui faisaient ressortir la demi-teinte habituellement répandue sur ce plan incliné et donnaient du relief au profil. De là à creuser légèrement le biseau en forme de cavet, il n'y a qu'un faible effort, mais le résultat obtenu est relativement considérable.

En effet (fig. 4), en supposant le rayon solaire suivant la direction des lignes ponctuées, sous le listel supérieur on obtient d'abord une ombre vive, puis une lumière a; sous cette ligne lumineuse, une ombre reflétée, douce par conséquent, b; puis une ligne lumineuse c légèrement voilée par une demi-teinte; puis l'ombre portée d. Si haut que soit le soleil, la ligne lumineuse a paraît toujours, et le grand cavet est au moins modelé par un reflet, s'il ne reçoit pas de lumière sur sa partie inférieure. Si bas que soit le soleil, il y a toujours un filet d'ombre au-dessus de a et une demi-teinte en b. Par ce procédé, avec une saillie moindre, le traceur produisait un effet de relief plus grand que dans l'exemple précédent.

Bientôt ces grands cavets parurent mous; on divisa l'épannelage en plusieurs membres, ainsi qu'on le voit dans la figure 5, donnant le profil des tailloirs des chapiteaux du porche de l'église de Créteil près Paris (deuxième moitié du XIe siècle). En accrochant les membres moulurés dans l'épannelage du biseau, la lumière produit une succession d'ombres, de demi-teintes et de clairs qui donnent à ce profil si plat une beaucoup plus grande valeur qu'il n'en a réellement.

Les architectes du XIIe siècle, par suite de leur système de construction et la nature des matériaux qu'ils mettaient en oeuvre, voulant éviter les gros blocs, ne donnèrent qu'une assez faible saillie à leurs profils extérieurs, mais ils cherchèrent par le tracé à suppléer à ce défaut de relief, et ils obtinrent ainsi des résultats remarquables. Quand on relève des monuments de cette époque, on ne peut croire que des effets aussi nets, aussi vifs et tranchés, aient pu être obtenus à l'aide de profils d'un très-faible relief. Les profils du clocher vieux de la cathédrale de Chartres, par exemple, bien que dépendant d'un monument colossal, ont des saillies à peine senties, sont visibles de loin cependant, et remplissent leur objet d'une manière absolument satisfaisante. Mais les profils extérieurs de cette époque sont rarement tracés en vue de rejeter les eaux pluviales; les artistes qui en ont donné le galbe paraissent surtout s'être préoccupés de l'effet architectonique, de la répartition des clairs et des ombres. Ils ont observé que sur une surface, une succession d'ombres vient lui donner de l'importance en contraignant l'oeil à s'y arrêter. C'est une façon d'insister sur une forme.

Les architectes du milieu du XIIe siècle ont été certainement les plus habiles traceurs de profils en raison des faibles saillies en oeuvre. Ils ont adopté, si l'on peut s'exprimer ainsi, une accentuation. Dans les mots de la langue, l'accent porte sur une syllabe. Si le mot se compose de deux syllabes en français, il est, sauf de rares exceptions, sur la première; s'il se compose de trois syllabes, il est sur la première ou la seconde; de quatre, sur la pénultième ou l'antépénultième. Dans le vieux français, qu'il s'agisse de la langue d'oc ou de la langue d'oil, l'accentuation est parfaitement réglée; c'est l'accentuation qui même indique invariablement les étymologies. Eh bien, dans le tracé des profils de la dernière période romane, à l'époque où l'architecture comme la langue étaient faites, l'accentuation est toujours marquée. Un profil devient ainsi comme un mot: au lieu d'être composé de syllabes, il est composé de membres distincts et son accentuation est réglée. Mais le commencement d'un profil est en raison de sa position: si le profil est une base ou un socle, son commencement est à la partie supérieure qui porte d'abord; si le profil est un bandeau ou une corniche, son commencement, son premier membre, est à la partie inférieure, qui naît du nu d'un parement.

Ainsi (fig. 6), voici en A et B deux profils de base 351 qui se composent chacun de trois membres; l'accent est sur le second membre, et cet accent est marqué par l'ombre vive qui se projette sur la scotie en a marquera même que pour accentuer davantage ce deuxième membre, dans le profil A, la scotie a été cannelée.

En C et en D sont tracés deux profils de bandeaux et tailloirs 352; le premier membre est à la partie inférieure, et l'accent dans ces deux profils composés, l'un de trois membres, l'autre de deux, est sur ce premier membre, accent indiqué par l'ombre vive projetée en b. Dans l'exemple figure 5, le profil (nous allions dire le mot) n'est pas encore formé, et l'accentuation est vague. Dans la formation des mots, le français a procédé habituellement par contraction, en maintenant toujours la syllabe sur laquelle porte l'accent. De dominus il a fait dom, de vice-dominus, vidam, de dominiarium, donger, dangier et danger; de vasseletus, vaslet, varlet; de consobrinus, cousin; de palus, peu, puis pieu; du verbe cogitare, cuider; de flebilis, fieble, aujourd'hui faible: d'augurium, heur, d'où malheur; d'araneoe tela, arentele, vieux mot perdu et qui valait bien toile d'araignée; de soror, suer (prononcez soeur) au sujet; de sororem, seror au régime, comme infans donne enfe au sujet, et infantem, enfant, au régime 353, comme abbas a donné abbe au sujet, et abbatem, abbé, au régime, etc. Or, il est assez intéressant d'observer que dans la composition des profils de l'architecture, les maîtres du moyen âge ont procédé de même par contraction en conservant toujours le membre accentué et faisant tomber la plupart des autres. Revenons aux exemples donnés dans la figure 6. Nous voyons que les profils de base ont conservé le tore supérieur de la base romaine, qu'ils ont accentué plus vivement la scotie, et qu'ils ont affaibli le tore inférieur en lui ôtant son relief. L'accentuation du profil romain était bien aussi sur la scotie.

Si, en regard du profil D, nous plaçons un profil analogue romain, un profil E de bandeau ou d'imposte, nous voyons que dans le profil romain le membre accentué est bien celui e; le maître du moyen âge, dans le bandeau D, a supprimé le membre f, a appuyé sur l'accent du membre e, mais a singulièrement réduit le membre g.

Mais pendant le XIIe siècle il se produit dans l'art, comme dans la langue, un travail de transformation. Des influences diverses agissent: d'abord et au premier rang, l'influence latine; puis celles venues d'Orient, qui d'ailleurs sont elles-mêmes en grande partie latines: les profils se contractent, l'accentuation prend plus d'importance. Bientôt vient se mêler à ce travail de transformation un élément nouveau, l'élément logique; les tâtonnements, les incertitudes disparaissent, et les maîtres laïques inaugurent un système entièrement neuf dans le tracé des profils. Cependant, si brusque ou si profonde que soit une transformation, on peut toujours, à l'aide de l'analyse, retrouver les éléments qui ont servi à la reproduire. Procédons en effet par l'analyse, et voyons comment d'un profil romain les maîtres du XIIIe siècle arrivent à tracer un profil qui ne semble plus rien garder de son origine.

Il est nécessaire, dans tout travail d'analyse, de connaître les éléments primitifs. Les architectes du moyen âge n'avaient pu, à l'époque dite romane, s'emparer que des éléments qu'ils avaient sous la main. Ces éléments étaient les restes des édifices gallo-romains, ceux venus d'Orient, mélanges, des arts grec et romain. Or, ne parlant que des profils, ces éléments, n'étant plus, pour la plupart, constitués logiquement, ne pouvaient donner des imitations ou fournir à des interprétations logiques. Il ne restait guère, dans le tracé des profils des monuments gréco-romains de Syrie, qu'un sentiment délicat des effets, une accentuation marquée, très-supérieure du reste à tout ce que laissait la décadence romaine en Italie et sur le sol de la Gaule. Le caractère saillant du profil grec des beaux temps, c'est l'alternance des surfaces planes et des surfaces moulurées, les premières ayant une importance relative considérable. Soit que l'on considère le profil d'un entablement comme dérivé d'une structure de bois ou d'une structure de pierre, l'apparence du bois équarri ou du bloc de pierre domine, et les moulures ne semblent être que des couvre-joints, des transitions entre les surfaces planes verticales et horizontales. Cela était, comme nous le disions en commençant cet article, très-logique; mais les Romains, pour lesquels l'art ne s'exprimait guère que par le luxe, la profusion de la richesse, devaient nécessairement prendre cette sobriété délicate pour de la pauvreté; les entablements, comme tous les membres de l'architecture, se couvrirent donc de moulures plus développées, relativement aux surfaces planes, plus nombreuses et décorées souvent d'ornements. Il suffit de comparer les profils des ordres grecs, dorique, ionique, corinthien, avec ceux des mêmes ordres romains depuis Auguste jusqu'à Trajan, pour constater que ces derniers ajoutent des membres moulurés ou tout au moins leur donnent une plus grande importance relative. Peu à peu les surfaces planes sont étouffées sous le développement croissant des moulures; si bien qu'à la fin de l'empire, ces surfaces planes ont presque complétement disparu et que les frises mêmes sont tracées suivant des lignes courbes. Mais cependant, le Romain, qui, en fait de formes d'art, ne raisonne point, conserve tous les membres de l'entablement, bien que cet entablement n'ait plus de raison d'être, entre le chapiteau d'une colonne, par exemple, et un arc ou une voûte.

Lorsque le génie du Grec se trouve en possession de l'architecture et n'a plus à se soumettre au régime romain, il ne repousse pas les éléments de structure admis par ses anciens maîtres; il s'en sert au contraire, il conserve l'arc et la voûte, mais son esprit logique le porte à modifier l'entablement de l'ordre, en raison des nouvelles fonctions auxquelles il doit satisfaire. Bien mieux, s'il adopte l'arc sur la colonne, il supprime totalement l'entablement, et comme dans les édifices romano-grecs de Syrie, le Grec renonce souvent à poser la plate-bande sur la colonne, il sépare dorénavant ces deux membres unis jusqu'alors; les séparant, il fait de l'entablement nouveau une contraction de l'entablement antique. Personne n'ignore que l'entablement grec, et par suite l'entablement romain, posé sur un ordre, se compose de l'architrave, autrement dit du linteau, portant d'une colonne à l'autre, de la frise qui gagne l'épaisseur destinée à recevoir le plafond intérieur, et de la corniche saillante qui abrite le tout. À cette règle il n'y a guère d'exceptions jusqu'à la fin de l'empire, en tant que l'entablement est une partie de l'ordre. Les Romains, mauvais logiciens en fait d'art, posaient des entablements complets au couronnement d'un édifice, quand même il n'y avait pas au-dessous une ordonnance de colonnes ou de pilastres. Cependant si ces trois membres étaient parfaitement justifiés lorsqu'il s'agissait de franchir un entre-colonnement, ils n'avaient nulle raison d'être, la colonne étant absente; alors la corniche seule devait suffire. Les Grecs de Syrie raisonnèrent ainsi. Au sommet de leurs monuments, dans lesquels désormais la colonne n'a plus guère pour fonctions que de porter des arcs ou des linteaux de galeries, l'entablement antique se contracte.

La frise 354 (fig. 7) n'est plus indiquée que par le gros tore a, elle se confond avec l'architrave A, et la corniche B seule persiste entière. L'architrave elle-même perd presque entièrement ses plans verticaux. Ainsi une nouvelle méthode de profiler un entablement se manifeste. N'étant plus associé à l'ordre, il tend à se soustraira aux règles imposées par la structure de l'ordre. Dans des monuments de petite dimension, comme des tombeaux, l'entablement abandonne toute tradition, il est tracé suivant une méthode nouvelle et rationnelle (fig. 8).

Le larmier, indépendant des moulures inférieures, est taillé en biseau; c'est un abri, l'égout d'un comble, et la moulure qui le porte n'est qu'un encorbellement destiné à maintenir la bascule de l'assise saillante. Ces profils, qui proviennent des monuments du Ve siècle, relevés par M. le comte de Vogué et M. Duthoit, entre Antioche et Alep, vont nous fournir des points de départ pour nos profils romans du XIIe siècle.

En effet (fig. 9), plaçant en parallèle quelques-uns de ces profils de l'architecture romano-grecque de Syrie avec ceux de France, nous reconnaîtrons parfaitement que les derniers sont inspirés des premiers, mais que les artistes français ont, suivant leur méthode, procédé par contraction. Les profils A proviennent de bases, ceux B de socles, ceux D de linteaux et de bandeaux appartenant à des monuments de la Syrie septentrionale. Or, les profils A' proviennent de bases, ceux B' de socles, et ceux D' de bandeaux appartenant à la nef de l'église de Vézelay, qui date des premières années du XIIe siècle. L'analogie entre les méthodes de tracé de ces profils est frappante; mais les profils clunisiens de Vézelay sont tous plus ou moins contractés, bien que l'accentuation dans chacun d'eux soit sensible. Ainsi, dans les profils des bases, l'accentuation est invariablement sur la scotie a, comme dans les profils de socles elle est sur le premier membre b et dans les bandeaux sur le premier membre inférieur e.

Si, dans les profils romano-grecs, les surfaces planes ont presque totalement disparu entre les membres moulurés, elles n'existent plus dans les profils de Vézelay, ou se réduisent à des filets de quelques millièmes de largeur. C'est qu'en effet, dans une transformation procédant par contraction, les surfaces g, par exemple, devaient être les premières à disparaître; mais aussi, par cela même que le profil se contracte, l'accentuation prend plus d'importance, et, de fait, les profils français paraissent plus accentués que ceux dont ils sont dérivés. Si l'on trouve des exceptions à cette règle de l'accentuation, c'est au moment où l'architecture romane tend à se transformer de nouveau et à laisser la place au style dit gothique. Alors parfois, comme dans l'exemple C, provenant d'une base des colonnes du sanctuaire de l'église de Vézelay (fin du XIIe siècle), il y a tâtonnement, incertitude. Cet état transitoire ne dure qu'un instant, car dans les constructions de ce sanctuaire, sauf ces bases qui naturellement ont dû être taillées et posées les premières, tous les autres profils accusent un art très-franc et un tracé de profils établi sur des données nouvelles.

Cette transformation par contraction ne cesse de se produire dans le tracé des profils du XIIe siècle à la fin du XIIIe. Ainsi, pour n'en donner ici qu'un exemple bien sensible, voici (fig. 10) le tracé d'un bandeau A très-fréquemment employé dans les édifices du milieu du XIIe siècle, comme l'église de Saint-Denis, la cathédrale de Noyon, l'église Saint-Martin de Laon, etc. Le profil A, pris dans un épannelage abc, se compose d'une pente ae, d'un grain d'orge f, d'un large cavet g, d'un tore et d'un élégissement h. C'est le tore avec son cavet qui est le membre accentué. Observant que ce profil n'est pas de nature à rejeter les eaux de e en c, l'architecte du commencement du XIIIe siècle, tout en maintenant les mêmes saillies données par l'épannelage, trace le profil B. Il augmente sensiblement la pente supérieure, la retourne d'équerre, creuse en l une mouchette prononcée pour rejeter les eaux pluviales, et contracte le profil inférieur. Un peu plus tard, l'architecte augmente encore la pente, conserve la mouchette (voy. le tracé D), et contracte davantage la moulure inférieure en ne lui laissant plus que son accentuation, le tore m. Vers la fin du XIIIe siècle, le traceur augmentera encore la pente (voy. le tracé E) et ne conservera qu'une mouchette qui se confondra avec l'ancien cavet g. Du tore m il ne subsistera que le listel o. Ainsi, du profil roman dérivé d'un art étranger, l'architecte gothique, par une suite de déductions logiques, aura obtenu une section très-différente de celle qui avait servi de point de départ. En augmentant peu à peu la pente du membre supérieur de ce profil, en terminant cette pente par un larmier bien autrement accusé que ne l'est le larmier antique, en contractant, jusqu'à la supprimer presque complétement, la moulure inférieure, le traceur de l'école du XIIIe siècle a fait d'un bandeau qui n'avait qu'une signification décorative, un membre utile, un moyen d'éloigner des parements les eaux pluviales, sans avoir à craindre même l'effet de leur rejaillissement sur une surface horizontale ou même sur une pente peu prononcée.

S'il s'agit cependant de couronner un édifice important, il faut une saillie prononcée. Une seule assise ne saurait suffire; l'architecte de l'école laïque naissante procède toujours par contraction. Du profil de corniche romano-grec devenu profil roman, il ne prend que des rudiments. Dans l'exemple figure 7, nous avons vu que les membres de l'architecture antique sont à peu près complets. Les deux faces b, d, quoique bien amoindries, subsistent encore; par compensation, le profil supérieur c s'est développé aux dépens de ces faces. La frise a n'est plus qu'un tore écrasé entre la corniche et l'architrave.

Le traceur de la fin du XIIe siècle (fig. 11) 355, supprime la frise dont on soupçonne encore l'existence dans quelques monuments d'architecture romane; de l'architrave, il ne conserve que le membre développé, en abandonnant les autres, et de la corniche il ne fait qu'un larmier, comme dans l'exemple précédent.

Cependant les architectes romans, pendant le XIe siècle et le commencement du XIIe, composaient habituellement les corniches au moyen d'une suite de corbeaux portant une tablette 356. Ce mode, simple comme structure, permettait de donner à peu de frais, à ce membre de l'architecture, une apparence très-riche. Si nombreuses et bien tracées que fussent les moulures horizontales, elles ne pouvaient produire ce jeu brillant d'ombres et de lumière d'une corniche à corbeaux. Dans le tracé de leurs corniches de couronnement, les architectes du commencement du XIIIe siècle, renonçant aux corbeaux, qui ne pouvaient convenir pour de grands monuments, reconnaissant l'effet insuffisant des moulures, même saillantes et multipliées sous le larmier, firent de la première assise une grande gorge qu'ils décorèrent de larges feuilles ou de crochets 357, et de la deuxième assise un larmier. Mais alors des méthodes de tracé s'établissent. Jusqu'alors les architectes semblent avoir suivi leur sentiment dans le tracé des profils, ce que leur indiquaient le besoin, l'effet ou le goût; ils cherchaient, par des moyens empiriques, dirons-nous, à profiter de la lumière pour donner une expression à leurs profils. Si nombreux que soient les exemples de profils romans que nous avons pu recueillir et comparer, on ne peut les soumettre qu'à certains principes généraux dont nous avons fait ressortir la valeur, mais qui ne dérivent pas de procédés purement géométriques. Il en est tout autrement lorsqu'on aborde l'architecture de l'école laïque du XIIIe siècle. Alors la géométrie s'établit en maîtresse, et les profils sont dorénavant tracés d'après des lois fixes dérivées des angles et des cercles.

Il nous faudrait ici fournir une quantité d'exemples pour démontrer l'universalité de ces méthodes géométriques. Nous devons nous borner et choisir ceux qui sont les plus sensibles.

Prenons ces larmiers qui, extérieurement, remplacent la corniche antique, et qui couronnent toutes les ordonnances de nos édifices du commencement du XIIIe siècle. Ces larmiers, dont la figure 11 donne un des premiers types, sont tracés suivant certains angles.

S'ils sont très-inclinés, l'angle de pente a 60º (fig. 12, en A), qui est l'inclinaison d'un côté d'un triangle équilatéral (n'oublions pas ce point). Le carré de la mouchette a, se retournant à angle droit, donne un angle de 30º avec l'horizon. La face cd de la mouchette étant déterminée en raison de la résistance de la pierre et de l'effet qu'on veut obtenir. Ces faces étant d'autant plus larges que le larmier est placé plus haut, on a pris les deux tiers de cette face, lesquels, répartis sur la ligne cd prolongée en b, donnent le rayon fd: la mouchette est ainsi tracée. Du point f élevant une verticale, du point d traçant une horizontale, du point f une ligne à 45º avec l'horizon, on a obtenu le point e, centre d'un cercle dont le rayon est eg. Du point e, traçant une ligne eh, suivant un angle de 60º, on obtient sur la ligne db le centre h d'un cercle dont hi est le rayon. Du point h, traçant une ligne horizontale, et du point k, arête inférieure du profil, élevant une ligne à 30º au-dessus de l'horizon, on obtient le point l, centre d'un cercle dont lm est le rayon. Ainsi le profil du larmier est-il tracé, inscrit dans l'épannelage cok.

Si le larmier doit être moins incliné, sa pente est donnée par une ligne suivant un angle de 45º (voy. le tracé B); la face cd de la mouchette est par conséquent inclinée à 45º. Prenant les deux tiers de cette face comme précédemment, et reportant cette longueur sur le prolongement de la ligne cd, on obtient le point f. De ce point, élevant une ligne à 45º, une verticale fp; de la rencontre de cette verticale avec l'arc de cercle mouchette dp, tirant une ligne ps à 45º, on obtient le point s, centre du cercle dont le rayon est st. De ce point t abaissant une ligne à 45º et du centre s une ligne à 60º, on obtient le point de rencontre v, centre d'un cercle dont vq est le rayon. Du centre v, tirant une ligne horizontale, abaissant une verticale jusqu'à la ligne cd prolongée, on obtient x. De ce point x, traçant une ligne à 30º au-dessus de l'horizon, on obtient par la rencontre de cette ligne avec l'horizontale le point y, centre d'un cercle dont le rayon est yn, le congé z est un quart de cercle dont le centre est en u.

Si le larmier doit encore être moins incliné, sa pente est donnée par une ligne suivant un angle de 30º (voy. le tracé D). La face cd de la mouchette est par conséquent inclinée suivant un angle de 60º. Du point d, tirant une horizontale, prenant sur le prolongement de la ligne cd le tiers de la face de la mouchette, on obtient le point f. De ce point, élevant une ligne à 30º, perpendiculaire par conséquent à la ligne cf, la rencontre de cette ligne avec l'horizontale donne le point g, centre d'un cercle dont gh est le rayon. Du centre g, abaissant une ligne à 60º, et du point tangent o une verticale, on obtient le point de rencontre p, centre d'un cercle dont pq est le rayon. Du centre p, tirant une ligne horizontale, on y place le centre s du dernier cercle, dont le diamètre est plus ou moins grand, suivant que l'on veut obtenir le congé extrême plus ou moins prononcé. Dans ces larmiers peu inclinés, la mouchette n'est pas habituellement tracée au moyen d'un arc de cercle, par la raison que ce tracé (tel qu'il est indiqué en C) ne donnerait pas un angle assez prononcé pour assurer l'écoulement brusque de la goutte d'eau.

Dans ces trois exemples on observera que le profil le plus saillant est celui du larmier dont la pente a la plus forte inclinaison: c'est qu'en effet ces larmiers sont ceux qui, placés à la base de grands combles, doivent porter un large chéneau et même parfois une balustrade. La pente prononcée du larmier prend ainsi peu de place. Dans le second exemple, la corniche est faite pour ne laisser au-dessus d'elle qu'un passage étroit; aussi la pente du larmier prend de la place et le profil est moins saillant. Dans le troisième, la pente du larmier va rejoindre un nu supérieur, et se rapproche de l'horizontale pour ne pas donner une pente trop longue. Tels sont tracés, par exemple, les larmiers des corniches de l'ordonnance inférieure de l'abside de Notre-Dame de Reims, qui vont se marier au nu des contre-forts supérieurs.

Mais ces trois larmiers surmontent une frise feuillue, comme autour du choeur et de la grande nef de Notre-Dame de Paris. Si les larmiers ne forment que de simples bandeaux entre deux nus, s'ils ne remplissent pas la fonction de couronnements, s'ils ne surmontent pas une frise, ils portent moins de saillie et sont généralement très-inclinés, variant entre 50º et 70º (voy. même fig. 12). Celui donné en G est tracé par la méthode suivante: les centres des cercles sont posés sur les lignes horizontales tirées de l'arête a et de celle b, et obtenus au moyen de lignes parallèles à la pente et verticales. Si le bandeau-larmier a moins de saillie encore, comme celui H, sa mouchette n'est qu'un demi-cercle dont le centre est posé sur le prolongement de la face inférieure du larmier. Parfois aussi, comme dans l'exemple donné en P, le profil du larmier se compose d'un cavet et d'un tore. Ou le cavet se marie avec le tore, ou le centre de ce cavet est reculé en a, de façon à donner un ressaut en g qui détache le tore. Alors, comme on le voit en i, une portion de cercle marie les deux courbes.

Les exemples qui précèdent suffisent à démontrer: 1º que les profils du commencement du XIIIe siècle sont tracés au moyen de portions de cercle; 2º que les centres de ces cercles sont donnés par des méthodes géométriques consistant principalement en des intersections de lignes horizontales, verticales et inclinées à 30º, 45º et 60º. Il ne s'ensuit pas que tous les profils des monuments de cette époque soient identiques, mais ils procèdent toujours des mêmes méthodes. Ainsi, prenant la grande corniche de couronnement de la nef de la cathédrale d'Amiens, dans les parties où elle n'a pas été remaniée, notamment sur la façade (partie primitive datant de 1225 environ), nous trouvons le tracé ci-contre (fig. 13, en A).

Les pentes du larmier sont à 45º. Ici le centre du cercle supérieur est obtenu en reportant la largeur de la face de la mouchette ab de b en c sur la ligne ab prolongée. Le point c est le centre de l'arc de la mouchette dont le rayon est cb. Du point c, élevant une verticale et une perpendiculaire sur la ligne ac (laquelle perpendiculaire donne un angle de 45º avec l'horizon), la rencontre de cette perpendiculaire avec l'arc de la mouchette donne le point d, centre du cercle dont de est le rayon. La ligne à 45º d f rencontre l'arête inférieure f du profil. Sur cette ligne est pris le centre g du dernier membre circulaire. Le centre h du cavet de jonction est pris également sur une ligne à 45º tangente au cercle supérieur; quant à la frise à crochets et à feuilles que recouvre ce larmier, elle consiste en un listel supérieur, une large gorge et un boudin inférieur. Le centre de ce boudin est posé sur une ligne à 45º partant de l'arête m inférieure du profil. La largeur du listel p étant connue, le point o est réuni au centre du boudin par une ligne; la longueur os est divisée en deux par une perpendiculaire kl, sur laquelle est pris le centre de la grande gorge. Ici le centre de cette gorge est pris sur la rencontre de cette perpendiculaire avec la ligne verticale d'épannelage de la sculpture en n. Si la gorge doit être moins concave, on recule le centre; si plus, on le rapproche; mais jamais le point v ne dépasse le nu du mur inférieur. Ce profil étant donné au dixième de l'exécution, on remarquera que la frise a 0m,60 de hauteur, le larmier 0m,30, et que la saillie de ce larmier, sur le listel, est de 0m,33 (un pied). À la fin du XIIIe siècle, plusieurs parties de ces larmiers furent refaites, et le profil fut modifié comme l'indique le tracé B. Nos lecteurs sont assez familiers maintenant avec ces méthodes pour qu'il ne soit pas nécessaire d'expliquer celle employée pour le dessin de ce profil. On observera cependant que le système de contraction est toujours adopté, et que dans ce dernier profil le membre circulaire inférieur est remplacé par un simple biseau.

Est-il besoin de faire ressortir le sens logique de ces traces? Ne voit-on pas au premier coup d'oeil qu'ils sont conçus autant pour satisfaire à des besoins bien marqués qu'en vue de la solidité et de l'effet? Ces profils, placés à de grandes hauteurs, présentent leurs moulures aux yeux du spectateur; aucune ne perd de son importance par l'effet de la perspective, aucune n'est diminuée ni masquée par un membre voisin. Comme solidité (le premier résultat obtenu, celui qui consiste à se débarrasser promptement des eaux pluviales), l'architecte a tout de suite voulu rendre à la pierre de la résistance par l'adoption de ce membre circulaire supérieur. Aussi a-t-il pu creuser dans le larmier un chéneau. Au droit de l'angle interne de la cuvette il n'y a pas de démaigrissement. Puis, pour obtenir un jeu d'ombres, vient le cavet intermédiaire, et le boudin inférieur plus grêle, mais qui suffit pour arrêter l'ensemble du profil. Au-dessous s'épanouissent ces grandes feuilles, ces crochets, dans une gorge large qui conquit l'oeil de la forte saillie du larmier, par une transition, au nu vertical du mur. La saillie de ces feuilles et crochets arrête des rayons lumineux sous l'ombre large et modelée du larmier.

Cette composition de corniche ne rappelle en aucune façon les formes de l'antiquité grecque ou romaine, mais elle est belle, produit un grand effet, couronne admirablement un édifice, est sagement raisonnée. Que peut-on lui reprocher? Son originalité?

Il serait à souhaiter que ce même reproche pût être adressé à nos profils modernes.

Vers le commencement du XIVe siècle, l'architecture tend à s'amaigrir, le système de contraction continue à dominer, les corniches extérieures ne présentent plus que rarement deux assises, la frise disparaît et se confond avec le larmier. Ainsi, dans le même édifice, à Notre-Dame d'Amiens, la tour nord, qui ne fut terminée que vers 1325, possède une corniche d'une seule assise (fig. 14, en A).

La sculpture a quitté la frise du XIIIe siècle pour se réfugier dans la gorge B du larmier; mais comme la mouchette de ce larmier aurait laissé baver l'eau pluviale sur les sculptures, le traceur a ajouté le contre-larmier a, composé d'un boudin terminant une pente. Du larmier primitif il reste la face b, qui peu à peu s'amoindrit pour disparaître entièrement vers la fin du XIVe siècle; mais alors, pour mieux écouler les eaux, le boudin s'arme d'un coupe-larme c. Dans l'exemple A, le boudin inférieur est réduit d'épaisseur, et il est surmonté d'un listel pour arrêter nettement la sculpture. Nous trouvons d'autres profils de larmiers de la même époque sans sculpture, dont la méthode de tracé se simplifie, comme par exemple pour le larmier D. On cherche les procédés rapides, on diminue les membres secondaires. Ainsi le grand coupe-larme G, si souvent usité pendant le XIIIe siècle, est remplacé par le maigre cavet H, s'il s'agit de bandeaux destinés à bien abriter les murs.

Laissons les profils extérieurs pour nous occuper des tracés et des transformations des profils intérieurs pendant les XIIe et XIIIe siècles. Revenons en arrière, et analysons les profils des arcs des voûtes, au moment ou le système de la structure dite gothique est adopté, vers 1140, dans l'Île-de-France. S'il est aujourd'hui un fait incontesté, c'est que l'église abbatiale de Saint-Denis ouvre, du temps de Suger, la période de la transformation de l'architecture romane en architecture réellement française. C'est au XIIe siècle que se forme définitivement la langue française, en abandonnant les débris de la basse latinité, pour composer un langage ayant désormais sa grammaire et sa syntaxe propres. C'est aussi au XIIe siècle que l'abâtardissement de plus en plus complet des traditions gallo-romaines en architecture fait place à un art nouveau. La transformation est palpable dans les constructions dues à l'abbé Suger à Saint-Denis, de 1140 à 1145. Le système des voûtes romanes fait place à un principe entièrement neuf, qui n'a d'analogues ni dans l'antiquité, ni dans l'Italie et l'Allemagne du moyen âge. Nous avons fait ressortir l'importance de cette transformation à l'article CONSTRUCTION. Désormais les voûtes en berceau ou d'arête romaines sont remplacées par des voûtes en arcs d'ogive, possédant des nerfs principaux, des arcs-doubleaux, des formerets et des arcs ogives. Ces arcs sont déjà profilés à Saint-Denis, et présentent les sections A pour les arcs formerets, B pour les arcs ogives (fig. 15). Quant aux arcs-doubleaux, ils prennent le même profil que les formerets, avec un listel inférieur large (la ligne ponctuée ab étant le milieu du profil de ces arcs-doubleaux).

Ces exemples sont fournis par les voûtes des chapelles du choeur. Dans la tour nord de cette église, qui date de la même époque, les arcs ogives présentent déjà une arête à l'intrados, ainsi que l'indique le profil C. Il n'y a plus rien dans ces profils qui rappelle les moulures décorant parfois les arcs-doubleaux des monuments de la période romane. Le traceur prétend évidemment obtenir des élégissements, diminuer à l'oeil la force de ces arcs, tout en accusant leur courbure et leur nerf par un certain nombre de cavets. C'est qu'en effet un arc prend d'autant plus de résistance aux yeux, paraît d'autant mieux remplir sa fonction de cintre, que des traits concentriques plus nombreux accusent sa courbure.

Vers la même époque, l'école clunisienne de Bourgogne cherchait de son côté à obtenir le même résultat, mais n'osait pas aussi complétement s'affranchir des traditions romanes. Dans les salles capitulaires de Vézelay, dont la construction remonte à 1140 environ, les arcs-doubleaux donnent la section E (le milieu de l'arc étant la ligne cd), les arcs ogives la section F, et les formerets la section G, fig. 15; ou encore les arcs-doubleaux la section H (le milieu de l'arc étant la ligne gh), les arcs ogives la section I, et les formerets la section K. Ces derniers exemples accusent des réminiscences des profils romans; ces profils sont beaux, produisent un bel effet, mais n'ont pas la franchise du parti pris qui frappe déjà dans les profils de l'église abbatiale de Saint-Denis. Il y a des tentatives, mais non un système arrêté.

À Saint-Denis, l'architecte considère l'arc ogive comme un nerf, une baguette, il trace un gros tore; pour lui, le formeret n'est qu'un arc-doubleau engagé, aussi prend-il la section de cet arc-doubleau. À Vézelay, l'architecte cherche, tâtonne. Il veut élégir les arcs ogives, il leur donne des membres fins; l'arc-doubleau et le formeret prennent chacun leurs profils distincts.

La méthode n'existe pas, elle ne peut être suivie d'après une donnée logique. C'est une affaire de sentiment, non de raisonnement; la preuve, c'est qu'en prenant dix édifices bourguignons de la même époque, nous trouverions dans chacun d'eux des profils d'arcs très-adroitement tracés, très-beaux même, mais qui n'ouvrent pas une voie nouvelle, qui n'accusent pas l'intervention d'un principe rigoureux, fertile en déductions. Au contraire, les trois ou quatre profils d'arcs de voûtes de l'église de Saint-Denis, si simples qu'ils soient, et précisément parce qu'ils sont très-simples, sont bien le commencement d'un système dont on ne se départira plus jusqu'au XVe siècle, en l'étendant aux dernières conséquences.

Comme il arrive toujours lorsque dès l'abord s'impose une méthode, bientôt on tend à simplifier les moyens. L'architecte de Saint-Denis, encore voisin des formes romanes, donne à l'arc ogive un autre profil qu'à l'arc-doubleau et qu'au formeret; cependant il adopte le boudin, le tore cylindrique pour les tracer tous deux (le profil de l'arc-doubleau étant le même que celui du formeret). Mais il reconnaît bientôt que l'arc qui doit paraître le plus léger à l'oeil, l'arc ogive, composé d'un gros boudin, est lourd, et semble offrir plus de résistance que l'arc-doubleau possédant deux boudins d'un diamètre inférieur pris dans les deux arêtes d'intrados. Quelques années plus tard, vers 1165, l'architecte de la cathédrale de Paris adopte franchement les conséquences de la méthode admise. La section des arcs-doubleaux, arcs ogives et formerets étant donnée, il soumet ces trois arcs à un même système de profils, faisant dériver leur apparence plus ou moins légère des différences données par les sections.

Ainsi (fig. 16), A étant l'arc-doubleau, B l'arc ogive, C le formeret, le mode de tracé des profils est le même pour tous trois. Dans l'épannelage de l'intrados, il dégage de chaque arête un boudin de 0m,10 à 0m,12 de diamètre (4 pouces à 4 pouces-1/2); abaissant du centre a une perpendiculaire sur l'intrados, il obtient le point b, centre de l'arc de cercle dont bc est le rayon de 0m,08 (3 pouces). Du point d, rencontre de la ligne à 45º gd avec le cercle, il mène la ligne à 45º de. Il élève du centre la perpendiculaire af, pour éviter l'amaigrissement, comme il a tracé la ligne horizontale ai du même centre pour couper l'angle aigu formé par la rencontre des deux sections de cercle. Le même tracé est adopté pour les trois arcs, comme l'indique notre figure 16. Outre l'avantage de la simplicité, ce procédé avait encore un mérite: les membres de moulures, étant les mêmes pour les trois arcs d'une voûte, donnaient l'échelle, c'est-à-dire faisaient paraître les différents arcs dans les rapports de force qu'ils avaient réellement entre eux. Aucun architecte, tant soit peu familier avec la pratique, n'ignore qu'il est facile de donner à un membre d'architecture une apparence plus ou moins robuste par les profils dont on le décore. Les arcs ayant chacun leur dimension vraie, nécessaire, adoptant pour tous une même moulure, ces arcs présentaient aux yeux l'apparence de leur force réelle; et cette force étant dans des rapports exacts en raison de la fonction de ces arcs, il en résultait que l'oeil était satisfait, autant que la solidité y trouvait son compte. Alors, le système des voûtes gothiques admis, les arcs formerets n'avaient pas la volée des arcs-doubleaux, puisque les voûtes étaient croisées, et que les formerets ne franchissaient que la moitié de l'espace au plus franchi par les arcs-doubleaux: d'ailleurs les formerets n'étaient qu'un tracé de la voûte le long du mur et n'avaient pas à porter une charge; il était naturel de ne leur donner que la section d'un demi-arc ogive.

Voyons comme au même moment, dans une province où le système de la structure dite gothique arrivait à l'état d'importation, procédaient les architectes. Le choeur de l'église abbatiale de Vézelay est bâti peu après celui de Notre-Dame de Paris, c'est-à-dire vers 1190: là, dans le tracé des arcs des voûtes, les tâtonnements sont encore sensibles; les méthodes ne sont pas franches et sûres comme à Paris.

Il suffit, pour s'en convaincre, de jeter les yeux sur la figure 17, qui donne en A deux arcs doubleaux des chapelles du choeur, et en B un arc ogive de ces mêmes chapelles 358.

Ces tracés indiquent un sentiment fin de l'effet (et ces arcs en produisent beaucoup); mais la méthode est absente. Les deux arcs ogives et doubleaux provenant des voûtes hautes du choeur (car, ainsi que dans beaucoup de grandes voûtes de la fin du XIIe siècle, les arcs ogives et doubleaux donnent la même section), tracés en D, accusent une étude plus complète de l'architecture de l'Île-de-France, et reproduisent à peu près les profils des voûtes de Notre-Dame de Paris. Mais ces voûtes étaient élevées en effet quelques années après celles des chapelles, et les tâtonnements ont à peu près disparu. Il se manifeste dans ces derniers profils une tendance qui appartient à l'école bourguignonne gothique: c'est la prédominance des courbes sur les lignes droites dans le tracé des moulures. La nature des matériaux employés était bien pour quelque chose dans cette prédominance des courbes, mais aussi le goût de cette école pour la largeur des formes. Pendant que les architectes romans de l'Île-de-France, du Berry, du Poitou, de la Saintonge et de la Provence taillaient des profils fins et détaillés jusqu'à l'excès, ceux de Bourgogne traçaient déjà des profils d'une ampleur et d'une hardiesse de galbe extraordinaires. En adoptant le système de la structure gothique, les architectes de l'école bourguignonne conservèrent cette qualité de terroir; nous aurons tout à l'heure l'occasion de le reconnaître.

Nous ne saurions trop le répéter, on ne peut pas plus étudier l'architecture française en s'en tenant à une seule province, qu'on ne saurait étudier la langue, si l'on ne tenait compte des diverses formes du langage qui sont devenues des patois de nos jours, mais qui étaient bien réellement, au XIIe siècle, des dialectes ayant des grammaires, des syntaxes et des tournures variées. Aucune partie de l'architecture n'est plus propre à faire saisir ces différences d'écoles que les profils, qui sont l'expression la plus sensible du génie appartenant à chacune de ces écoles, si bien que certains monuments bâtis dans une province par un architecte étranger, tout en adoptant les méthodes de bâtir et les dispositions générales admises dans la localité, manifestent clairement l'origine de l'artiste par les profils, qui sont en réalité le langage usuel de l'architecte. On peut faire l'observation contraire. Il est, par exemple, des monuments gothiques bâtis en Auvergne (province dans laquelle l'architecture gothique n'a jamais pu être qu'à l'état d'importation), dont les profils sont auvergnats. L'architecte a voulu parler un langage qu'il ne comprenait pas. Il est d'autres édifices, comme la salle synodale de Sens, bâtie dans une province subissant l'influence champenoise, où la disposition générale, le système de structure est local, et où les profils appartiennent, la plupart, à l'Île-de-France. Comme le choeur de l'église Saint-Nazaire de Carcassonne, où le plan, les données, les formes des piliers, l'apparence extérieure, sont tout méridionaux, et où les profils dénotent la présence d'un artiste du domaine royal. Cet artiste a exprimé les idées admises dans la localité au moyen de son langage à lui. Cette partie de notre architecture nationale mérite donc une étude attentive, délicate, car elle donne le moyen, non-seulement de fixer des dates positives, mais aussi d'indiquer les écoles. Cette étude doit être faite dans chaque province, car tel profil que l'on voit adopter en 1200, à Paris, n'apparaîtra en Poitou qu'en 1230, avec quelques modifications apportées par le génie provincial. Nous pourrions citer des monuments de Champagne de 1250, qui, dans l'Île-de-France, seraient classés à l'aide des profils, par des yeux peu exercés, au commencement du XIVe siècle. Aussi doit-on étudier les profils dans les seuls édifices vraiment originaux et dus à des artistes du premier ordre, et ne pas tenir plus de compte de certaines bizarreries ou exceptions qu'on ne tient compte, pour avoir la connaissance parfaite d'un dialecte, de manuscrits mal copiés ou d'oeuvres grossières. Toutes les époques, même la nôtre, ont produit des oeuvres barbares; ce n'est pas sur celles-là qu'il faut juger un art, ni à plus forte raison l'étudier. Cette étude, faite avec les yeux du critique, nous démontre encore que dans cet art, si longtemps et injustement dédaigné, il existe des lois aussi bien établies que dans les arts de l'architecture grecque et romaine; que ces lois s'appuient sur des principes non moins impérieux: car, s'il en était autrement, comment expliquer certaines similitudes; ou des dissemblances ne s'écartant jamais du principe dominant?

Voici maintenant des profils d'arcs des voûtes du tour du choeur de la cathédrale d'Amiens, qui date de 1240 environ (fig. 18). A est le profil des arcs-doubleaux, B celui des arcs ogives, au dixième de l'exécution. À dater de cette époque, les méthodes employées pour tracer les profils sont de plus en plus soumises à des lois géométriques et à des mesures régulières. Ainsi, dans le profil A d'arc-doubleau, le boudin inférieur a 0m,215 de diamètre (8 pouces). Du centre de ce boudin, tirant une ligne à 45º ab, la rencontre de cette ligne avec la verticale cb donne en b l'arête du cavet supérieur. Le boudin est engagé au douzième de son diamètre par l'horizontale ef. La ligne gh à 45º, tangente au boudin inférieur, est également tangente au boudin supérieur l, dont le diamètre a 0m,108 (4 pouces). Ce boudin est également tangent à la verticale cb prolongée. Le rayon du cavet supérieur est égal au rayon du boudin l, son centre étant en i. Le centre m du cavet inférieur est placé à la rencontre de la ligne ef avec une verticale tangente au boudin supérieur, et le rayon de ce cavet est de 2 pouces-1/2. Le listel bc a 0m,162 (6 pouces). Le filet saillant p se marie avec le gros boudin au moyen de deux contre-courbes dont les centres sont placés en r. On conçoit combien ces méthodes de tracés facilitaient l'épannelage. La verticale co a un pied juste. Cette base prise et la ligne og étant tirée à 45º, on inscrivait ainsi tous les membre du profil dans un épannelage très-simple. Quant au profil B de l'arc ogive, sa largeur est d'un pied. La face st a 10 pouces, et la ligne w est tirée à 45º. Le diamètre du boudin inférieur de ce profil a 5 pouces-1/2. Du point x, élevant une ligne xy à 60º, on obtient le point y, arête du cavet supérieur. Le boudin supérieur a 2 pouces-1/2 de diamètre. Il est facile de reconnaître que ces tracés sont faits en vue de donner aux profils l'aspect léger qui convient à des arcs de voûtes, en laissant à la pierre le plus de résistance possible. L'arête inférieure ménagée dans l'axe, sous les gros boudins, dessine nettement la courbe, ce que ne pouvait faire un cylindre, car les architectes, dès le commencement du XIIIe siècle, ainsi que nous l'avons vu dans les exemples précédents, avaient senti la nécessité, lorsqu'ils terminaient l'arc par un boudin, d'arrêter la lumière (diffuse dans un intérieur) sur ce boudin par un nerf saillant, d'abord composé de deux lignes droites, puis bientôt de courbes avec filet plat. En effet, pour qui a observé les effets de la lumière sur des cylindres courbés, sans nerfs, il se fait un passage de demi-teintes, de clairs et d'ombres formant une spirale très-allongée, détruisant la forme cylindrique et laissant des surfaces indécises; de sorte que les moulures secondaires, avec leurs cavets, prenaient plus d'importance à l'oeil que le membre principal. Il fallait nerver celui-ci pour lui donner toute sa valeur et le faire paraître résistant, saillant et léger en même temps. Ainsi pouvait-on dorénavant renoncer aux profils d'arcs avec boudins latéraux et large listel plat entre eux, comme ceux donnés figure 16, qui avaient l'inconvénient de laisser au milieu même du profil un membre en apparence faible, parce qu'il restait dans la demi-teinte et n'accrochait jamais vivement la lumière. C'était donc une étude profonde des effets qui conduisait ainsi peu à peu à modifier les profils si importants des arcs de voûtes, non point une mode ou un désir capricieux de changement.

Les architectes de l'Île-de-France, toutefois, semblent avoir répugné à adopter les nerfs saillants sous les boudins principaux des arcs des voûtes, jusque vers le milieu du XIIIe siècle. Ils essayèrent de donner à ces arcs une apparence de fermeté par d'autres moyens.

Les parties de l'église abbatiale de Saint-Denis, qui datent de 1240 environ, nous fournissent un exemple de ces tentatives (fig. 19). En A est tracé le profil des archivoltes des bas côtés; en B, celui des arcs-doubleaux; en C et D, ceux des arcs ogives. Les profils d'archivoltes A, dont nous ne donnons ici qu'une moitié, participent encore, à cause de leur épaisseur, des tracés antérieurs, avec boudins sur les arêtes et méplat intermédiaire. En a, nous indiquons une variante, c'est-à-dire le cavet dont le centre est en c avec une partie droite, et le cavet dont le centre est en b. Le profil d'arc-doubleau B présente un tracé très-étudié; la ligne ab est inclinée à 60º. Ainsi que le montre notre figure, c'est sur cette ligne que sont posés les centres du boudin supérieur c et du cavet intermédiaire e. Du centre c une ligne à 45º ayant été tirée, c'est sur cette ligne que se trouvent placés les centres du boudin inférieur g et des baguettes h et i. De plus, le boudin g est tangent à la ligne inclinée à 60º ab. Or, ce gros boudin a 4 pouces de diamètre et le boudin C 3 pouces.

Le tracé est devenu plus méthodique que dans l'exemple précédent, et le traceur a donné au boudin inférieur de la fermeté en le flanquant des deux baguettes qui le redessinent vivement au moyen des noirs k. Le centre du cavet supérieur est en l, c'est-à-dire au point de rencontre de la verticale bl avec l'horizontale tirée du centre c. Pour les profils des arcs ogives C et D, le système de tracé n'est pas moins géométrique. Ici la ligne ab inclinée à 60º donne le centre b du boudin inférieur, dont le diamètre est égal à celui des arcs-doubleaux. De ce centre b, la ligne be tangente au boudin supérieur reçoit le centre de la baguette f et celui g du cavet. Bien que les membres soient de diamètres différents dans les deux exemples C et D, on voit que la méthode de tracé est la même. Sur les détails E et F des boudins principaux, nous avons donné deux des méthodes employées dès cette époque pour nerver ces cylindres. Dans l'exemple E, le tracé donne l'arête vive obtenue au moyen de tangentes à 30º (cette arête étant parfois dégagée, pour plus de netteté, au moyen d'une ligne concave dont le centre est en h sur une perpendiculaire abaissée de la ligne à 30º) 359. Dans l'exemple F, les centres des arcs ik sont pris sur les angles d'un triangle équilatéral, dont le côté est deux fois le rayon du boudin.

Suivant qu'on a voulu obtenir un filet plus ou moins large, on a fait la section o plus haut ou plus bas, sur les arcs de cercle. Les tâtonnements arrivent ici à des formules. Désormais les angles à 30º, 60º et 45º, vont nous servir pour les tracés de ces profils, en employant des méthodes de plus en plus simples. Les architectes bourguignons, qui, ainsi que nous l'avons dit, sont si bons traceurs de profils, nous démontreront comment la méthode peut s'allier avec la liberté de l'artiste, et devient pour lui, s'il sait l'appliquer, non point une gêne, mais au contraire un moyen d'éviter les pertes de temps, les tâtonnements sans fin. Nous arrivons au moment où l'art de l'architecture, désormais affranchi des traditions romanes, livré aux mains laïques, n'en est plus réduit à copier avec plus ou moins de bonheur des formes consacrées, mais s'appuie sur le raisonnement, cherche et trouve des méthodes qui, n'étant point une entrave pour l'artiste de génie, empêchent l'artiste vulgaire de s'égarer.

Les profils, comme le système de construction, de proportion et d'ornementation, procèdent suivant une marche logique favorisant le progrès, la recherche du mieux. C'est qu'en effet, les architectures dignes d'être considérées comme un art, chez les Égyptiens, chez les Grecs, comme chez nous pendant le moyen âge, ont procédé de la même façon: cherchant de sentiment ou d'instinct, si l'on veut, les formes qui semblent le mieux s'approprier aux nécessités; arrivant, par une suite d'expériences, à donner à ces formes une certaine fixité, puis établissant peu à peu des méthodes, et enfin des formules, des lois fondées sur ce sentiment vrai et cette expérience. Alors l'architecte, en prenant son crayon, son compas et ses équerres, ne travaille plus dans le vide à la recherche de formes que sa fantaisie lui suggérera; il part d'un système établi, procède méthodiquement.

Nous savons tout ce qu'on peut dire contre l'adoption des formules; mais nous devons constater qu'il n'y a pas eu d'architecture digne de ce nom qui n'ait fatalement abouti à un formulaire. Plus qu'aucun autre peuple, les Grecs ont eu des méthodes conduisant aux formules, et si quelqu'un en doutait, nous l'engagerions à consulter les travaux si remarquables de M. Aurès sur ce sujet 360. Mais le formulaire architectonique des Grecs ne s'appuie que sur un système harmonique des proportions, développé sous l'influence du sentiment délicat de ce peuple. Ce formulaire, qui commence par une simple méthode empirique, établie par l'expérience, n'est pas une déduction logique d'un raisonnement, c'est un canon, c'est le beau chiffré; aussi ne peut-il se maintenir plus longtemps que ne se maintiendrait une loi établie sous l'empire d'un sentiment; il est renversé, ce formulaire, à chaque génération d'artistes. Il n'en est pas de même, en France, sous l'empire des écoles laïques: la méthode, dès l'abord, s'appuie moins sur un sentiment de la forme que sur le raisonnement; étant logique dans sa marche, elle n'aboutit à une formule que la veille du jour où l'art se perd définitivement. Car, du moment que la méthode atteignait à la formule, toute déduction devenait impossible; dès lors, au sein d'un art dont l'élément était le progrès incessant, la formule était la mort.

Les exemples de profils déjà présentés à nos lecteurs indiquent une tendance, vague d'abord, puis plus accentuée, vers une méthode géométrique, pour le tracé des divers membres qui les composent.

Le sentiment, mais un sentiment raisonné, a évidemment fait trouver les profils donnés dans les figures 15, 16 et 17. Il s'agissait d'allégir, pour l'oeil, des arcs supportant des voûtes élevées, en leur laissant cependant la plus grande résistance possible. Dans les deux figures 16 et 17, il est évident que ces boudins ménagés, comme autant de nerfs, entre des cavets, et ménagés dans les angles saillants, tendent à laisser à la pierre toute résistance en la faisant paraître légère comme le serait un faisceau de baguettes. Le raisonnement est donc intervenu pour beaucoup dans le tracé de ces profils. D'ailleurs, il est non moins évident que l'architecte a soumis son raisonnement à un certain sentiment de la forme, des rapports entre les pleins et les vides, des effets; mais la méthode géométrique pour tracer ces profils est encore incertaine. Dans l'exemple (fig. 18), déjà cette méthode géométrique se développe. On voit que dans cette figure, le tracé A établit la ligne à 45 °, et le tracé B la ligne à 60°, comme limites de la partie résistante de la pierre; les boudins n'étant plus alors qu'un supplément de résistance en même temps qu'une apparence d'allégissement.

Dans la figure 19, la méthode géométrique du tracé se complète, se perfectionne; les lignes à 45° et à 60° reçoivent, sans exception, tous les centres des boudins, et le principe de résistance de l'arc-doubleau comme des arcs ogives est le même cependant que celui admis dans l'exemple (fig. 18). Les évidements, trop prononcés peut-être pour ne pas altérer la force de la pierre dans l'exemple (fig. 18), sont, dans la figure 19, remplis par des baguettes qui, tout en produisant à l'oeil un effet très-vif, laissent à la pierre tout son nerf.

Voyons maintenant comment, vers 1230, les architectes bourguignons procédaient dans le tracé de profils d'arcs de voûtes remplissant le même objet que les précédents; comment la différence de qualité des matériaux employés, le sentiment propre à cette province, faisaient interpréter les méthodes déjà admises dans l'Ile-de-France. Voici (fig. 20), en A, un arc-doubleau de bas côté; en B, une archivolte; en C, un arc-doubleau de grande voûte; en DD', des arcs ogives, et en E, un formeret de l'église de Semur en Auxois 361.

Pour l'arc-doubleau A, la ligne ab est à 45°, la ligne cd à 30°. Tous les centres sont posés sur ces lignes. La ligne de base du profil ef ayant été divisée en cinq parties, une de ces parties a donné le diamètre du cavet inférieur et du boudin inférieur a. Ici, les courbes sont larges, les évidements prononcés, les matériaux très-résistants (pierre de Pouillenay), se prêtant à des tailles profondes et puissantes. Dans l'archivolte B, les centres des cavets et boudins sont posés sur des lignes à 60°. Dans l'arc-doubleau C et les arcs ogives DD', les centres sont posés sur des lignes à 45°. Dans le formeret E, sur une ligne à 60°. La largeur de ces profils contraste avec la délicatesse et la recherche de ceux adoptés dans l'église de Saint-Denis, bien que l'église de Semur en Auxois soit d'une dimension petite, relativement à celle de l'abbaye du domaine royal. La méthode des tracés est encore incertaine quant aux détails, et procède beaucoup du sentiment, quoique, pour la donnée générale, elle se conforme aux éléments établis dans l'Île-de-France; mais dans l'architecture de Bourgogne, soit qu'il s'agisse de la structure, de la composition des masses, des profils ou de l'ornementation, on remarque toujours une certaine liberté, une hardiesse et une part considérable laissée au sentiment, qui donnaient à cette école un caractère particulier.

Les architectes bourguignons reconnaissent les règles et les méthodes de l'école laïque de l'Île-de-France, mais ils les soumettent à leur caractère local. Ils admettent la grammaire et la syntaxe, mais ils conservent des tournures et une prononciation qui leur sont propres.

La grande école clunisienne et la nature des matériaux calcaires du pays laissaient une trace ineffaçable de leur influence sur les formes de l'architecture bourguignonne du XIIIe siècle. Il en est tout autrement en Champagne: dans cette province, les matériaux sont d'une faible résistance, rares sur une grande partie du territoire, et ne pouvant permettre des hardiesses de tracés. Aussi les profils de l'architecture de Champagne, dès l'époque romane et à dater du commencement du XIIIe siècle, sont bas, petits d'échelle, timides, si l'on peut ainsi parler, s'encombrent de membres secondaires et redoutent les évidements. Il est intéressant d'observer comme, dans une partie de cette province qui est située sur les lisières de la Bourgogne et de la Champagne, à Sens, l'architecte de la salle synodale a cherché à concilier les tracés de l'Île-de-France avec ceux de la Champagne. La salle synodale, bâtie vers 1245, par un architecte du domaine royal, emprunte à la Champagne certaines dispositions de structure propres à cette province, à la Bourgogne certaines partie de l'ornementation, à l'Île-de-France les profils, mais en les modifiant cependant quelque peu d'après les données champenoises. Cette tendance vers une fusion le fait hésiter; il prétend continuer les profils français en leur donnant plus de plénitude, suivant la méthode champenoise.

Ainsi (fig. 21) il trace les arcs-doubleaux et les arcs ogives des voûtes de la grande salle du premier étage A, en renforçant le boudin inférieur 362. Ce boudin inférieur est tracé, comme le montre notre figure, au moyen de deux centres aa'. Pour dissimuler la rencontre obtuse des deux cercles, il fait saillir le filet b. Du point a', élevant une ligne a'c à 45º, il pose sur cette ligne le centre c du second boudin. Du centre c, tirant une ligne cd à 30º, et du point e fixé, abaissant une ligne ed à 60º, il obtient le point d, centre du cavet supérieur. Du même centre c, abaissant une ligne cf à 60º, il obtient le filet g, et sur cette ligne le centre f du cavet inférieur, dont la courbe vient mordre celle du gros boudin. Il rachète l'angle h par un arc de cercle dont le centre est posé en i. Ce profil prend un galbe trapu qui n'appartient pas à l'architecture de l'Île-de-France, mais il est d'ailleurs étudié avec soin, et prend, en exécution, un aspect résistant et ferme. Grâce au filet b qui détruit la jonction des deux cercles aa', ces deux courbes ne paraissent être qu'une portion de cercle; mais pour ne pas trop développer à l'oeil ce membre important, le cavet inférieur l'entame et lui enlève sa lourdeur. Le traceur a ainsi obtenu plus de force, sans donner à son profil un aspect moins léger.

Mais tous les traceurs ne procèdent pas avec cette finesse. En Normandie et dans le Maine, les profils, tout en étant tracés suivant les méthodes que nous venons d'indiquer, accusent une tendance vers l'exagération des effets et un défaut dans les rapports de proportion. Un artiste du Maine tracerait ce profil d'arc ainsi qu'il est indiqué en B. Il accuserait l'intersection k; il donnerait une courbe au filet l; il exagérerait la saillie du filet inférieur m, ou bien, comme l'indique le profil C, il flanquerait le gros boudin inférieur d'une baguette n, ou même d'un filet latéral o, et retrouverait des arrêts, des listels et des angles en pq, en diminuant le rayon du second boudin. Cette tendance à l'exagération des cavets, à la multiplicité des membres anguleux, se développe surtout en Angleterre dès le milieu du XIIIe siècle. Les profils de cette contrée et de cette époque se chargent d'une quantité de tores, de listels, d'évidements profonds; mais les méthodes de tracés ne varient guère: ce qui prouve qu'une méthode en architecture est un moyen qui permet à chacun, d'ailleurs, de suivre son goût et son sentiment. Supprimez la méthode dans le tracé des profils de l'architecture dite gothique, et l'on tombe dans un chaos d'incertitudes et de tâtonnements. La fantaisie est maîtresse, et la fantaisie dans un art qui doit tant emprunter à la géométrie ne peut produire que des formes sans nom. N'est-ce pas la méthode qui donne aux profils de l'architecture, à dater du XIIe siècle, en France, une physionomie si saisissante, un style si particulier, qu'on ne saurait prendre un tracé de 1200 pour un tracé de 1220, qu'on ne pourrait confondre une moulure bourguignonne avec une moulure champenoise? Supposons qu'une méthode géométrique n'existe pas, comment tracer un de ces profils, à quel point s'attacher, où commencer, où finir? Comment donner à tous ces membres un rapport, une harmonie? Comment les souder entre eux? et que de temps perdu à tâter le mieux dans le vague! Nous avons vu souvent de nos confrères chercher des tracés de profils à l'aide du sentiment seul, sans, au préalable, s'enquérir d'une méthode; s'ils étaient soigneux, combien ne revenaient-ils pas sur un trait, sans jamais être assuré d'avoir rencontré le bon?

Voyons maintenant comment, en Champagne, les architectes, toujours en suivant la méthode des angles à 45º, à 60º ou 30º, pour le tracé des profils d'arcs, arrivent à donner à ces profils un caractère qui appartient à leur génie et qui s'accorde avec la nature des matériaux employés.

À Troyes, la pierre mise en oeuvre dans l'église de Saint-Urbain, qui date de la fin du XIIIe siècle, est du calcaire de Tonnerre, fin, compacte, résistant, mais fier, comme disent les tailleurs de pierre, c'est-à-dire qui se brise facilement, soit en le travaillant, soit lorsqu'il est posé avec des évidements profonds. L'habile architecte de l'église de Saint-Urbain, si souvent mentionnée dans le Dictionnaire, connaît bien la nature des matériaux qu'il emploie. Il sait qu'il ne faut point trop les évider, s'ils ont une charge à porter; que pour les boudins des arcs, par exemple, il ne faut pas les détacher par des cavets trop creux; cependant il prétend élever un édifice d'un aspect léger, remarquable par la délicatesse de ses membres.

Voici donc comme il tracera en A (fig. 22), les archivoltes de la nef 363. Comme dans l'exemple précédent, il donnera au boudin inférieur deux centres a et a', un nerf b dont les contre-courbes auront leurs centres posés sur les lignes ac, a'c', tracées à 60º; le rayon cb étant égal au rayon ab. De l'un des centres a, il élèvera une ligne ad à 45º. Sur cette ligne, il posera le centre e du deuxième boudin. Mais observons que l'architecte doit bander ces archivoltes au moyen de deux rangs de claveaux, plus un formeret pour la voûte du collatéral. Le deuxième boudin, de 0m,108 de diamètre (4 pouces), est tangent aux lignes d'épannelage du second claveau; sa position est donc fixée. Du centre e, tirant deux lignes à 30º et 60º, la rencontre de ces deux lignes avec celles d'épannelage lui donne les centres des contre-courbes du filet f. L'horizontale tirée de ce centre, et rencontrant la ligne verticale d'épannelage, lui donne en g le centre du cavet h. La verticale fg prolongée lui donne le filet surmontant ce cavet. Il trace alors le cavet supérieur i, dont le centre est sur la verticale dj. Ce centre est au niveau de celui de la baguette k. Sur le claveau inférieur de 0m,31 de largeur, pour obtenir le listel l assez fort pour résister à la pression, il élève du centre a' une ligne à 45º ao. Du point de rencontre de cette ligne avec le cercle du boudin, tirant une horizontale, il pose le centre de la baguette p sur cette horizontale, en prenant la ligne à 45º comme tangente. Cette baguette remplit l'évidement qui serait trop prononcé en q, et même, dans la crainte que l'évidement restant s ne soit trop aigre, il trace la deuxième baguette s, dont le centre est posé sur la ligne à 45º. C'est la même crainte des évidements qui lui fait tracer, sur le deuxième claveau, la baguette t. Les baguettes k, t, p, ont de diamètre 0m,04 (1 pouce 1/2); celle s, 1 pouce. Le tracé du formeret s'explique de lui-même. À l'aide de ces baguettes, le traçeur a supprimé les évidements dangereux, et il a cependant obtenu l'effet désirable en ce que les membres principaux, les boudins, nervés d'ailleurs par les filets saillants, prennent leur saillie et leur importance par la proximité des membres grêles et des lignes noires qui les cernent. Placer une moulure très-fine, une baguette d'un faible diamètre à côté d'un tore ou d'un boudin, c'est donner à celui-ci une valeur qu'il n'aurait pas s'il était isolé. Les Grecs, dans le tracé de leurs profils, avaient bien compris cette règle et l'avaient appliquée. C'est par les contrastes qu'ils donnaient de la valeur aux moulures, bien plus que par leur dimension réelle.

Le tracé des arcs ogives de l'église de Saint-Urbain, donné en B et en C, n'est pas moins remarquable. Celui B devait être résistant, les évidements sont remplacés par des baguettes; celui C, ne recevant aucune charge, pouvait être plus évidé. On voit comme la méthode de tracé de ces deux profils est simple, obtenue entièrement par l'intersection des lignes à 30º, 60º et 45º. Dans l'exemple C, les deux lignes à 60º donnent exactement la résistance de la pierre, les membres laissés tous en dehors. Dans la même église et dans d'autres édifices de la même époque, en Champagne, on voit apparaître le tracé D pour les boudins inférieurs des arcs. Le triangle abc étant équilatéral, et par conséquent les lignes ba, ca, à 60º.

Dans le profil de l'archivolte A, non-seulement le boudin inférieur est nervé, mais les boudins latéraux le sont également. En multipliant les membres, en remplaçant les évidements par des baguettes, on sentait la nécessité de donner plus d'énergie aux membres principaux, et les filets formant nerfs, en arrêtant vivement la lumière, permettent d'obtenir ce résultat.

Les architectes de l'Île-de-France ne se décident pas volontiers à recourir à ces nerfs saillants; s'ils les emploient pour les boudins inférieurs, dès la fin du XIIe siècle, anguleux d'abord, puis à contre-courbes et à filets plus tard, ils ne les adoptent pour les boudins latéraux des arcs que fort rarement avant le milieu du XIVe siècle. Ces architectes semblent prendre à tâche de simplifier les méthodes géométriques qu'ils ont les premiers appliquées. L'église de Saint-Nazaire de Carcassonne nous fournit un exemple bien frappant de ce fait. Cette église, dont la construction est élevée entre les années 1320 et 1325, donne des tracés d'arcs-doubleaux et d'arcs ogives, procédant toujours du système développé plus haut, mais avec des simplifications notables.

Dans le profil A d'arc-doubleau (fig. 23), le boudin inférieur (5 pouces-1/2 de diamètre) étant tracé, de son centre a, la ligne à 45º ab a été élevée jusqu'à sa rencontre avec la verticale cb, limite du profil. L'angle cba a été divisé en deux parties par la ligne be. Tenant compte de la saillie du nerf, sur cette ligne a été posé le centre f du boudin (4 pouces de diamètre); le rayon du cavet est égal à celui du boudin et est placé en g. Le centre h du grand cavet est posé sur la ligne à 45º. Pour tracer les nerfs à contre-courbes, on a tracé les triangles équilatéraux aij; flm. La même méthode, avec des différences sensibles que la figure fait assez comprendre, a été employée pour le tracé des arcs ogives et des arcs-doubleaux B, C, E, F. N'oublions pas que cette église fut construite après que la ville de Carcassonne fut comprise dans le domaine royal, et par un architecte de la province de l'Île-de-France très-certainement, ainsi que tous les détails de l'architecture le prouvent. Ici les nerfs saillants apparaissent sur les boudins latéraux, mais seulement dans les deux exemples A et F.

Toute architecture établie sur des principes logiques et sur des méthodes dérivées de ces principes, ne saurait s'arrêter en chemin; il faut nécessairement qu'elle procède par une suite de déductions. Ce phénomène s'observe chez les Grecs, comme chez nous pendant le moyen âge.

Toute découverte découlant de l'application méthodique d'un principe est le point de départ de nouvelles formes.

Il semble que l'art de l'architecture, qui est une création du second ordre, procède comme la nature elle-même, qui, sans se départir jamais du principe primitif, développe les conséquences en conservant toujours une trace de son point de départ. Si nous avons été saisis d'un profond sentiment de curiosité et d'intérêt philosophique en étudiant peu à peu l'architecture du moyen âge en France, c'est que nous avons reconnu, dans les développements de cet art, un système créateur qui nous reporte à ces tâtonnements logiques de la nature en travail de ses oeuvres. Cet art, si étrangement méconnu, et dont le premier tort est de s'être développé chez nous, le second d'exiger, pour être compris, une tension de l'esprit, ne procède point, comme de nos jours, par une succession de modes; mais par une filiation non interrompue dans l'application des principes admis. Si bien qu'en décomposant un édifice du XVe siècle, on peut y retrouver le développement de ce que ceux du XIIe siècle donnent en germe, et que, en présentant une suite d'exemples choisis entre ces deux époques extrêmes, on ne saurait, en aucun point, marquer une interruption. De même, dans l'ordre de la création, l'anatomie comparée présente, dans la succession des êtres organisés, une échelle dont les degrés sont à peine sensibles, et qui nous conduit, sans soubresauts, du reptile à l'homme. C'est pour cela que nous donnons réellement à cette architecture, comme à celle de la Grèce, le nom d'art, c'est-à-dire que nous la considérons comme une véritable création, non comme un accident.

Ne perdons pas de vue les exemples précédents. Dans ces exemples, la même méthode de tracé est adoptée; l'expérience, le besoin auquel il faut satisfaire, le sentiment d'un mieux, d'une perfection absolue, guident évidemment l'artiste. Il s'agit de soumettre la matière à une forme appropriée à l'objet, en la dégageant de tout le superflu, en lui donnant l'apparence qui indique le mieux sa fonction. Les architectes ne se contentent pas encore des résultats obtenus, car l'hiératisme est l'opposé de cet art, toujours en quête de nouvelles applications, toujours cherchant, mais sans abandonner le principe créateur. Dans ces derniers exemples, la matière a été réduite déjà à son minimum de force; amoindrir encore les résistances, c'était se soumettre aux éventualités les plus désastreuses. Mais le minimum de force obtenu, il s'agit de donner à ces membres une apparence plus légère, sans inquiéter le regard. Les architectes ont observé que les nerfs saillants ajoutés aux boudins, donnent à ceux-ci une apparence de fermeté, de résistance qui, loin de détruire l'effet de légèreté, l'augmente encore. Ils observent que les corps soumis à une pression, comme les arcs de pierre, résistent en raison, non de leur surface réelle, mais de la figure donnée à cette surface. Le principe que nos ingénieurs modernes ont appliqué avec l'exacte connaissance des lois de résistance des corps, à la fonte de fer, par exemple, les architectes du moyen âge cherchent à l'appliquer à la pierre, mais en tenant compte des qualités propres à cette matière, qui est loin d'avoir la force de cohésion du métal.

En effet, si une colonne de fonte dont la section horizontale (fig. 24) est A résiste à une pression beaucoup plus considérable que celle dont la section est B (ces deux sections ayant d'ailleurs la même surface), il est évident qu'on ne peut donner à une colonne de pierre la section A, parce qu'il y aurait rupture sous la charge en a. Mais si une pile de pierre, au lieu d'être taillée suivant la section horizontale C, est taillée sur le panneau D (à surfaces égales d'ailleurs), la pile D devra résister à une pression plus forte que celle C, les évidements n'étant pas assez prononcés pour qu'on ait à redouter des ruptures en b. À l'oeil, la pile D paraîtra et plus légère et plus résistante que celle C. Ajoutons encore que la pierre à bâtir, étant extraite en parallélipipèdes, à surfaces égales de lits, le morceau D est plus voisin, taillé, de l'équarrissement du bloc que le morceau C. Le panneau D profite mieux de la forme naturelle de la pierre que le panneau C. Mais pourquoi la pile D résistera-t-elle mieux à une charge, à une pression, que la pile C, puisque, après tout, le développement de la paroi externe ne donne pas pour les pierres, comme pour le métal, une croûte d'autant plus résistante qu'elle est plus étendue, les sections étant égales? C'est que la section D, présentant plus d'assiette, est moins sujette à subir une déviation, et, par suite, un surcroît de charge sur un point. De même, dans le tracé des arcs, la résistance à la pression étant exactement résolue par la section def (voy. en E), nous augmenterons, non pas tant cette force de résistance par les appendices ghi, que nous empêcherons la déviation des claveaux de l'arc, déviation qui, en portant un surcroît de pression sur un point, pourrait causer une rupture.

Nous avons fait assez ressortir ailleurs 364 comment les architectes de l'école laïque avaient adopté un principe de structure basé sur l'équilibre, et, par suite, comment ils avaient admis l'élasticité des bâtisses comme un moyen de stabilité. Admettant l'élasticité dans la structure, il fallait nécessairement en admettre les conséquences dans les détails; c'est-à-dire, dans le tracé des arcs, un système d'étrésillonnements, de butées latérales. Les boudins des arcs n'ont pas d'autre fonction. Nous avons vu (fig. 19) comment, lorsque ces architectes se défiaient de la qualité des pierres, lorsqu'ils les trouvaient fières, les évidements étaient engraissés et même remplacés par des baguettes formant, par la multiplicité des noirs et des membres grêles, une opposition avec les boudins, afin de laisser à ceux-ci toute leur valeur. Mais ces boudins, souvent très-détachés, comme dans les exemples (fig. 20 et 23), si les matériaux n'avaient pas une force de cohésion et de résistance considérable 365, se fêlaient dans la gorge par l'effet d'une pression inégale. Les architectes, vers la fin du XIVe siècle, ayant eu l'occasion de remarquer ces ruptures, prétendirent y remédier, sans toutefois diminuer l'apparence légère des profils d'arcs, et même en appuyant sur cette apparence de légèreté.

Aussi les voyons-nous (fig. 25) adopter des profils d'arcs dans lesquels les membres, moins détachés de la masse, acquièrent cependant une apparence d'extrême délicatesse. La méthode pour tracer ces arcs est la même que celle admise dans les exemples derniers. La surface aa', bc (voy. le profil d'arc-doubleau A) est la surface de résistance minimum, les deux lignes ac, a'b étant à 60º. Aucun évidement ne vient entamer cette surface, mais les membres supplémentaires, les boudins nervés, donnent du roide au claveau et s'opposent à sa déviation. Bien que larges, les cavets laissent de fortes attaches aux boudins, et ceux-ci prennent une apparence à la fois plus légère et plus ferme par l'adjonction des nerfs saillants très-prononcés. Le tracé A, après toutes nos définitions précédentes, n'a pas besoin d'être décrit.

C'est toujours par des sections de lignes à 60º, 45º et 30º que les centres sont obtenus. On voudra bien jeter les yeux sur le tracé B d'un boudin inférieur et sur la manière de trouver les centres des contre-courbes du nerf, les lignes ef étant à 60º. Mais les boudins inférieurs, d'un diamètre plus fort que les autres, présentent latéralement des surfaces molles en regard des autres boudins nervés d'un diamètre plus faible. Alors on prétend aussi nerver latéralement ces gros boudins inférieurs (voy. en C); on leur donne ainsi plus de résistance, et on les fait paraître plus détachés et plus légers; cependant la courbe originaire se voit encore en ij, comme pour ne pas laisser périr le principe de tracé. Ces nerfs latéraux donnent une apparence trop prismatique à ces boudins inférieurs: on y renonce promptement, et on relève le nerf latéral sur un axe à 30º (voy. l'exemple D en k). Alors la forme génératrice du boudin inférieur reparaît moins altérée, et c'est à ce parti que les architectes s'arrêtent au commencement du XVe siècle.

Les constructeurs avaient reconnu encore que la force de résistance des claveaux réside en contre-bas de l'extrados, c'est-à-dire en m (voy. le profil D). D'autre part, si nous nous enquérons du moyen de construire les triangles de remplissage des voûtes gothiques, nous voyons que ces triangles sont construits non point à l'aide de couchis et de formes, mais. au moyen de courbes mobiles de bois (voy. CONSTRUCTION, fig. 57, 58, 59 et 60); que ces courbes de bois étaient calées sur l'extrados des arcs-doubleaux, des arcs ogives et des formerets, et qu'il était nécessaire dès lors, soit de pratiquer des entailles biaises sur l'arête des extrados de ces arcs, soit de laisser un petit intervalle entre ces extrados et les remplissages. Les architectes du XVe siècle prennent cette nécessité de construction comme prétexte pour modifier le profil des arcs à leur point de contact avec les remplissages des voûtes; ils pratiquent l'évidement indiqué en o (voy. le profil D) pour recevoir l'about des courbes de bois et cela contribue à donner encore une apparence de légèreté extrême à leurs arcs en les détachant des remplissages et en donnant plus d'importance aux membres latéraux nervés p.

Nous atteignons les dernières expressions de la méthode adoptée pour le tracé des profils d'arcs, pendant la première moitié du XVe siècle. Soit (fig. 26 366) en A un arc-doubleau, composé de deux claveaux superposés. Le boudin inférieur a est tracé d'abord au moyen de deux cercles; abc étant un triangle équilatéral, c'est-à-dire les lignes ab, ac, étant à 60º; le rayon de la contre-courbe du filet eb étant égal au diamètre ae. En f, est posé le centre de la courbe du nerf latéral, plus ou moins éloigné suivant que l'on veut avoir ce nerf plus ou moins accentué. Du centre g est élevée la ligne gh à 30º; de ce même centre g, la ligne gi à 60º. Sur cette ligne gh est placé le centre h du grand cavet, de telle sorte que son arc soit tangent à la ligne gi, pour ne pas affamer le triangle de résistance. Du point h est élevée la verticale hk. La demi-largeur du claveau lm étant fixée, le second boudin aura pour diamètre l'intervalle entre les deux verticales kh, ln.

Le nerf de ce boudin sera sur l'axe op à 60º; de telle sorte que la saillie du nerf ne déborde pas l'épannelage donné par la ligne ln prolongée. Du centre p une ligne pq est élevée à 60º. Sur cette ligne est posé le centre r du petit cavet dont le rayon est égal à celui du boudin p. La verticale ln donne le filet supérieur. Le centre du boudin du deuxième claveau est posé sur la ligne pq à 60º; le nerf de ce boudin sur un axe à 60º partant de ce centre; le centre du cavet inférieur sur une ligne à 30º, et le centre du congé supérieur sur la ligne pq, le chanfrein s restant pour poser les courbes de bois. Le mode de tracé se simplifie; on renonce décidément à laisser voir la courbe originaire du gros boudin inférieur (voy. le tracé B); on ne laisse plus voir de la courbe originaire des boudins secondaires que celle externe. On pose les nerfs de ces boudins sur des axes verticaux, et on les trace comme l'indique le détail C, en n'employant pour placer les centres que les lignes à 30º et 60º. Notre figure s'explique d'ailleurs d'elle-même. Il faut remarquer que si, dans ce dernier exemple, le triangle de résistance a été affamé en t par la courbe du grand cavet dont le centre est en v, on a augmenté la résistance du boudin inférieur devenu un prisme concave. Ainsi a-t-on donné du champ à la résistance. L'effet de légèreté et de fermeté en même temps est accusé par les boudins à nerfs verticaux et par les cavets qui suppriment la partie interne de la courbe des boudins. La taille est moins compliquée et la forme plus compréhensible.

Ainsi sommes-nous arrivés, par une suite de transitions presque insensibles et toutes dérivées d'une méthode uniforme, des exemples donnés figures 18 et 19 à celui-ci; et cependant, si l'on ne tenait compte des intermédiaires, il serait difficile d'admettre que le dernier de ces profils n'est qu'une déduction des premiers.

Peut-être pensera-t-on que nous nous sommes trop étendu sur ces détails de l'architecture du moyen âge; mais nous trouvions là une occasion de faire ressortir l'esprit de méthode, le sens logique qui guident les architectes de l'école laïque naissant au XIIe siècle.

Le travail d'analyse auquel nous nous sommes livrés à propos des profils d'arcs pourrait être fait sur toutes les parties qui constituent l'architecture de ces temps; on suivrait ainsi pas à pas, par province, les tâtonnements, l'établissement des méthodes et les perfectionnements incessants de cette architecture française, qu'il est permis de ne point admirer (c'est là une affaire de goût), mais à laquelle on ne saurait refuser l'unité, la science, la profondeur logique, des principes arrêtés et bien définis, la souplesse et des éléments de perfectibilité.

En fait d'architecture, les fantaisistes de notre temps n'ont pas toujours été heureux dans leurs essais, nos monuments récents trahissent leurs efforts; ce qui tendrait à prouver que l'art de l'architecture ne peut se passer d'une méthode jointe aux qualités que nous venons d'énumérer; et qu'au lieu de repousser l'étude de l'art du moyen âge, il y aurait de fortes raisons de la cultiver, ne serait-ce que pour connaître par quels moyens les maîtres de ces temps sont arrivés à produire de si grands effets, et aussi pour ne pas rester au-dessous de leurs oeuvres. Cela, nous en convenons, exigerait du travail, beaucoup de travail; et il est si facile de nier l'utilité d'une chose qu'on ne veut pas se donner la peine d'apprendre!

Certaines personnes ne pouvant parvenir à faire une équation, prétendent bien que l'algèbre n'est qu'un grimoire! Pourquoi serions-nous surpris d'entendre nier le sens logique, la cohésion et l'utilité pratique de cet art que nous avons laissé perdre et dont nous ne savons comprendre ni utiliser les ressources!

Les méthodes suivies pour le tracé des profils d'arcs sont invariables, parce qu'un arc est toujours vu suivant tous les angles possibles. Quelle que soit la hauteur à laquelle il est placé, sa courbure présente à l'oeil, ses côtés, son intrados sous tous les aspects; mais il n'en est pas ainsi d'un bandeau, d'une base, d'un tailloir, d'un profil horizontal en un mot, dont la position peut, par l'effet de la perspective, masquer, ou tout au moins diminuer une partie des membres. Les Grecs avaient évidemment tenu compte de la place dans le tracé des profils; mais leurs édifices étant relativement de petite dimension, les déformations perspectives ne pouvaient avoir une grande importance. Les Romains ne paraissent pas s'être préoccupés de l'influence de la perspective sur les profils. Ceux-ci sont tracés d'une manière absolue, suivant un mode admis, sans tenir compte de la position qu'ils occupent au-dessus de l'oeil. Il ne paraît pas que pendant la période romane on ait modifié le tracé des profils en raison de leur place; mais à dater du commencement du XIIIe siècle, l'étude des effets de la perspective sur les profils apparaît clairement. Nous en trouvons un exemple remarquable dans la cathédrale d'Amiens élevée de 1225 à 1230. Les bandeaux intérieurs, les bases et tailloirs du triforium sont tracés en raison du point de vue pris du pavé de l'église (voy. TRIFORIUM).

Voici comment a procédé l'architecte de la nef de Notre-Dame d'Amiens pour le tracé des tailloirs et des bases des colonnettes de la galerie (fig. 27). L'angle visuel le plus fermé, perpendiculaire à la nef, permettant d'apercevoir les tailloirs, est de 60º. Le profil a été tracé suivant la méthode indiquée en A, méthode qui n'a pas besoin d'être décrite après les démonstrations précédentes.

D'après cet angle visuel, le tailloir se trouve réduit, par la perspective, au profil A'. En s'éloignant dans le sens longitudinal, c'est-à-dire en regardant les chapiteaux des travées au delà de celle en face de laquelle on se trouve, il est évident que l'on voit le profil se développer sans qu'il prenne jamais cependant l'importance en hauteur, par rapport aux saillies, que lui donne le géométral. Pour les bases, le profil est celui indiqué en B. Les regardant suivant l'angle de 60º qui a servi à les tracer, on ne peut voir que les membres indiqués en B'; mais en prenant un peu plus de champ, de manière à les voir suivant un angle de 45º, le profil donné par la perspective est celui B", qui est satisfaisant et en rapport de proportions avec les colonnettes.

En général, dans les édifices gothiques, l'inclinaison de l'angle visuel influe sur le tracé des profils; il est donc important, lorsqu'on relève ceux-ci, de mentionner leur place. Nous ne saurions trop insister sur les différences de tracé des profils intérieurs et des profils extérieurs dans l'architecture gothique. Sur la façade de la cathédrale de Paris, les profils se développent en hauteur par rapport à leur saillie, en raison de l'élévation à laquelle ils sont placés; si bien que les tailloirs des chapiteaux de la grande galerie à jour sont pris dans une assise égale à celle du chapiteau. De la place du parvis, cependant, ces tailloirs ne paraissent pas avoir plus du quart de la hauteur du chapiteau.

Dans les intérieurs, les profils horizontaux, afin de ne pas perdre de leur importance, et de ne point interrompre les lignes verticales qui dominent, n'ont qu'une faible saillie. Mais à l'extérieur, force était autant pour abriter les parements que pour obtenir de grands effets d'ombres de donner aux profils une saillie prononcée; on observera dans ce cas qu'ils sont toujours amortis à leur partie supérieure par le glacis, plus ou moins incliné au-dessus de 45º, qui les relie aux nus supérieurs, en évitant ainsi l'effet toujours fâcheux des saillies horizontales qui masquent une portion des élévations et diminuent d'autant la hauteur des édifices. Il est clair, par exemple, que si l'on décore une façade de profils tels que ceux indiqués en A (fig. 28), les rayons visuels étant suivant les lignes ab, les parties verticales cd sont entièrement perdues pour l'oeil, qui ne peut les deviner; le monument paraît s'abaisser d'autant.

Mais si les profils sont tracés suivant le dessin B, les rayons visuels suivant et découvrant les glacis, ceux-ci ne masquent aucune portion des parements, qui conservent leur élévation réelle, et par conséquent leurs rapports de proportions.

Cela est élémentaire, et il semblerait qu'il fût inutile de le démontrer; cependant on ne semble pas se préoccuper dans notre architecture moderne de ces lois si simples, et chaque jour nous voyons les artistes eux-mêmes être fort surpris qu'une élévation bien mise en proportion en géométral, ne produise plus, à l'exécution, l'effet auquel on s'attendait.

Dans le cours de cet ouvrage, nous avons eu maintes occasions de présenter des tracés de profils, nous ne croyons donc pas nécessaire de nous étendre plus longtemps sur cet objet. Ce que nous tenions à démontrer ici, c'est que le hasard ou la fantaisie n'ont été pour rien dans le tracé des profils de l'architecture du moyen âge, que ceux-ci sont soumis à des lois établies par les nécessités de la structure et sur une entente judicieuse des effets.

Note 351: (retour) Le profil A provient du portail de Notre-Dame de Chartres, XIIe siècle; le profil B, du vieux clocher de la même église.
Note 352: (retour) Du clocher vieux de la cathédrale de Chartres.
Note 353: (retour) Le langage jusqu'au XIIIe siècle, en français, conserve deux cas: le sujet et le régime (voyez l'Histoire de langue française par M. Littré). De ces deux cas, le français moderne n'a conservé que le régime.
Note 354: (retour) Du grand tombeau de Kebet-Hass.
Note 355: (retour) Du transsept nord de la cathédrale de Noyon, 1170 environ.
Note 356: (retour) Voyez CORNICHE, fig. 1 à 12.
Note 357: (retour) Voyez CORNICHE.
Note 358: (retour) Tous ces profils sont tracés au dixième de l'exécution.
Note 359: (retour) Pour les boudins inférieurs des arcs-doubleaux de la sainte Chapelle de Paris, par exemple.
Note 360: (retour) Théorie du module, par M. Aurès, ingénieur en chef des ponts et chaussées.--Études des dimensions de la colonne Trajane, par le même; etc.
Note 361: (retour) Ces profils sont, comme les précédents, tracés au dixième de l'exécution.
Note 362: (retour) Ce tracé est au cinquième de l'exécution.
Note 363: (retour) Au dixième de l'exécution.
Note 364: (retour) Voyez l'article CONSTRUCTION.
Note 365: (retour) Observons que les arcs tracés dans la figure 23 sont taillés dans un grès très-compacte, de même que ceux tracés dans la figure 20 sont en pierre de Pouillenay, qui est presque aussi résistante que du granit.
Note 366: (retour) Du choeur de l'église d'Eu.


PROPORTION, s. f. Les Grecs avaient un mot pour désigner ce que nous entendons par proportion: [Grec: summetria], d'où nous avons fait symétrie, qui ne veut nullement dire proportion; car un édifice peut être symétrique et n'être point établi suivant des proportions convenables ou heureuses. Rien n'indique mieux la confusion des idées que la fausse acception des mots; aussi ne s'est-on pas fait faute de confondre dans l'art de l'architecture, depuis le XVIe siècle, la symétrie, ou ce qu'on entend par la symétrie, avec les rapports de proportions; ou plutôt a-t-on pensé souvent satisfaire aux lois des proportions en ne se contentant que des règles de la symétrie.

L'artiste le plus vulgaire peut adopter facilement un mode symétrique; il lui suffit pour cela de répéter à gauche ce qu'il a fait à droite, tandis qu'il faut une étude très-délicate pour établir un système de proportions dans un édifice, quel qu'il soit. On doit entendre par proportions, les rapports entre le tout et les parties, rapports logiques, nécessaires, et tels qu'ils satisfassent en même temps la raison et les yeux. À plus forte raison, doit-on établir une distinction entre les proportions et les dimensions. Les dimensions indiquent simplement des hauteurs, largeurs et surfaces, tandis que les proportions sont les rapports relatifs entre ces parties suivant une loi. «L'idée de proportion, dit M. Quatremère de Quincy dans son Dictionnaire d'Architecture, renferme celle de rapports fixes, nécessaires, et constamment les mêmes, et réciproques entre des parties qui ont une fin déterminée.» Le célèbre académicien nous paraît ne pas saisir ici complétement la valeur du mot proportion. Les proportions, en architecture, n'impliquent nullement des rapports fixes, constamment les mêmes entre des parties qui auraient une fin déterminée, mais au contraire des rapports variables, en vue d'obtenir une échelle harmonique. M. Quatremère de Quincy nous semble encore émettre une idée erronée, s'il s'agit des proportions, lorsqu'il ajoute:

«Ainsi il est sensible que toutes les créations de la nature ont leurs dimensions, mais toutes n'ont pas des proportions. Une multitude de plantes nous montrent de telles disparates de mesures, de si nombreuses et de si évidentes, qu'il serait, par exemple, impossible de déterminer avec précision la mesure réciproque de la branche de tel arbre avec l'arbre lui même.» L'auteur du Dictionnaire confond ainsi les dimensions avec les proportions; et s'il eût consulté un botaniste, celui-ci lui aurait démontré facilement qu'il existe au contraire, dans tous les végétaux, des rapports de proportions établis d'après une loi constante entre le tout et les parties. M. Quatremère de Quincy méconnaît encore la loi véritable des proportions en architecture, lorsqu'il dit: «C'est qu'un vrai système de proportions repose, non pas seulement sur des mesures de rapports générales, comme seraient ceux, par exemple, de la hauteur du corps avec sa grosseur, de la longueur de la main avec celle du bras, mais sur une liaison réciproque et immuable des parties principales, des parties subordonnées et des moindres parties entre elles. Or, cette liaison est telle que chacune, consultée en particulier, soit propre à enseigner, par sa seule mesure, quelle est la mesure, non-seulement de chacune des autres parties, mais encore du tout, et que ce tout puisse réciproquement, par sa mesure, faire connaître quelle est celle de chaque partie.» Si nous comprenons bien ce passage, il résulterait de l'application d'un système de proportions en architecture, qu'il suffirait d'admettre une sorte de canon, de module, pour mettre sûrement un monument en proportion, et qu'alors les proportions se réduiraient à une formule invariable, d'une application banale. «Voilà, ajoute encore M. Quatremère de Quincy, ce qui n'existe point et ne saurait se montrer dans l'art de bâtir des Égyptiens, ni dans celui des gothiques; plus inutilement, encore le chercherait-on dans quelque autre architecture. Et voilà quelle est la prérogative incontestable du système de l'architecture grecque.» Il faut convenir que ce serait bien malheureux pour l'art grec s'il en était ainsi, et que si cet art se réduisait, lorsqu'il s'agit de proportions, à l'application rigoureuse d'un canon, le mérite des artistes grecs se bornerait à bien peu de choses, et les lois des proportions à une formule.

Les proportions en architecture dérivent de lois plus étendues, plus délicates et qui s'exercent sur un champ bien autrement libre. Que les architectes grecs aient admis un système de proportions, une échelle harmonique, cela n'est pas contesté ni contestable; mais de ce que les Grecs ont établi un système harmonique qui leur appartient, il ne s'en suit pas que les Égyptiens et les gothiques n'en aient pas aussi adopté un chacun de leur côté. Autant vaudrait dire que les Grecs, ayant possédé un système harmonique musical, on ne saurait trouver dans les opéras de Rossini et dans les symphonies de Beethowen que désordre et confusion, parce que ces auteurs ont procédé tout autrement que les Grecs. Quoi qu'en ait dit M. Quatremère de Quincy, les proportions en architecture ne sont pas un canon immuable, mais une échelle harmonique, une corrélation de rapports variables, suivant le mode admis. Les Grecs eux-mêmes n'ont pas procédé comme le suppose l'auteur du Dictionnaire, et cela est à leur louange, car il existe dans leurs ordres mêmes des écarts notables de proportions; les proportions sont chez eux relatives à l'objet ou au monument, et non pas seulement aux ordres employés. Nous avons expliqué ailleurs 367 comment certaines lois dérivées de la géométrie avaient été admises par les Égyptiens, par les Grecs, les Romains, les architectes byzantins et gothiques, lorsqu'il s'agissait d'établir un système de proportions applicable à des monuments très-divers; comment ces lois n'étaient point un obstacle à l'introduction de formes nouvelles; comment, étant supérieures à ces formes, elles ont pu en gouverner les rapports de manière à présenter un tout harmonique à Thèbes aussi bien qu'à Athènes, à Rome aussi bien qu'à Amiens ou à Paris; comment les proportions dérivent, non point d'une méthode aveugle, d'une formule inexpliquée et inexplicable, mais de rapports entre les pleins et les vides, les hauteurs et les largeurs, les surfaces et les élévations, rapports dont la géométrie rend compte, dont l'étude demande une grande attention, variable d'ailleurs, suivant la place et l'objet; comment, enfin, l'architecture n'est pas l'esclave d'un système hiératique de proportions, mais au contraire peut se modifier sans cesse et trouver des applications toujours nouvelles, des rapports proportionnels, aussi bien qu'elle trouve des applications variées à l'infini, des lois de la géométrie; et c'est qu'en effet les proportions sont filles de la géométrie aussi bien en architecture que dans l'ordre de la nature inorganique et organique.

Les proportions en architecture s'établissent d'abord sur les lois de la stabilité, et les lois de la stabilité dérivent de la géométrie. Un triangle est une figure entièrement satisfaisante, parfaite, en ce qu'elle donne l'idée la plus exacte de la stabilité. Les Égyptiens, les Grecs, sont partis de là, et plus tard les architectes du moyen âge n'ont pas fait autre chose. C'est au moyen des triangles qu'ils ont d'abord établi leurs règles de proportions, parce qu'ainsi ces proportions étaient soumises aux lois de la stabilité. Ce premier principe admis, les effets de la perspective ont été appréciés et sont venus modifier les rapports des proportions géométrales; puis ont été établis les rapports de saillies, des pleins et des vides, qui, pendant le moyen âge du moins, sont dérivés des triangles. Nous avons indiqué même comment dans les menus détails de l'architecture les lignes inclinées à 45º à 60º et à 30º ont été admises comme génératrices des tracés de profils. Les triangles acceptés par les architectes du moyen âge comme générateurs de proportions sont: 1º le triangle isocèle rectangle; 2º le triangle que nous appelons isocèle égyptien. c'est-à-dire dont la base se divise en quatres parties et la verticale tirée du milieu de la base au sommet en deux parties et demie 368; 3º le triangle équilatéral.

Il est évident (fig. 1) que tout édifice inscrit dans l'un de ces trois triangles accusera tout d'abord une stabilité parfaite; que toutes les fois que l'on pourra rappeler, par des points sensibles à l'oeil, l'inclinaison des lignes de ces triangles, on soumettra le tracé d'un édifice aux conditions apparentes de stabilité. Si des portions de cercle inscrivent ces triangles, les courbes données auront également une apparence de stabilité. Ansi le triangle isocèle rectangle A donnera un demi-cercle; le triangle isocèle B et le triangle équilatéral C donneront des arcs brisés, improprement appelés ogives: courbes qui rappelleront les proportions générales des édifices engendrés par chacun de ces triangles. Ce sont là des principes très-généraux, bien entendu, et qui s'étendent à l'application, ainsi que nous allons le voir.

Mais, d'abord, il convient d'indiquer sommairement les découvertes récemment faites par un savant ingénieur des ponts et chaussées, M. Aurès, relatives aux proportions admises chez les Grecs. M. Aurès a démontré dans plusieurs mémoires 369, que pour rendre compte du système de proportions admis par les Grecs, il fallait partir des mesures qu'ils possédaient, c'est-à-dire du pied grec et du pied italique, et en ce qui concerne les ordres, chercher les rapports de mesures, non pas au pied de la colonne, mais à son milieu, entre le soubassement et le chapiteau; c'est-à-dire par une section prise au milieu de la hauteur du fût. Les fûts des colonnes des ordres grecs étant coniques, il est clair que les rapports entre le diamètre de ces colonnes, leur hauteur et leurs entre-colonnements, différeront sensiblement si l'on mesure l'ordre à la base de la colonne au milieu du fût. Or, prenant les mesures au milieu du fût, et comptant en pieds grecs, si l'on est en Grèce, en pieds italiques, si l'on est dans la Grande Grèce, on trouve des rapports de mesure tels, par exemple, que 5 pieds pour les colonnes, 10 pieds pour les entre-colonnements, c'est-à-dire des rapports exacts et conformes aux proportions indiquées par Vitruve. Ce n'est point ici l'occasion d'insister sur ces rapports, il nous suffit de les indiquer, afin qu'il soit établi que les architectes de l'antiquité ont suivi les formules arithmétiques dans la composition de leurs ordres, des rapports de nombres, tandis que les architectes du moyen âge se sont servis des triangles pour obtenir des rapports harmoniques.

Il existait en France, dans une province très-éclairée et florissante, dès le XIe siècle, à Toulouse, un monument d'une grande importance, mais qui n'était guère apprécié, il y a quelques années, que par les artistes: c'est l'église de Saint-Saturnin, vulgairement dite Saint-Sernin. Cet édifice restauré, ou plutôt débarrasé des superfétations qui en dénaturaient les formes générales, a tout à coup pris aux yeux du public une valeur considérable. Ce n'est ni par le soin apporté dans l'exécution, ni par la richesse de la sculpture ou des moulures, ni par les détails, que cette énorme bâtisse a frappé les yeux de la foule, mais seulement par le rapport de ses proportions. L'église de Saint-Sernin a été conçue certainement par un architecte savant, très-versé dans la connaissance de son art, possédant des principes très-développés sur le rapport des proportions, mais exécutée par des ouvriers grossiers et à l'aide de matériaux médiocres, dénaturée au XVIe siècle par des adjonctions qui en détruisaient l'harmonie, et rangée par suite au nombre de ces essais des temps barbares.

Aujourd'hui, grâce, disons-nous, à l'enlèvement de quelques pans de mur, au replacement des couvertures d'après leur ancienne forme, voilà un édifice qui, tout massif qu'il est, présente un ensemble d'une élégance robuste qui charme les yeux les moins exercés, et fournit un spécimen des plus intéressants de ce que peut obtenir l'architecte par une judicieuse pondération des masses, par le rapport étudié des parties, sans le secours d'aucun ornement. Grand enseignement pour nous, qui, en appelant à notre aide toutes les ressources d'une exécution délicate, de la sculpture et des ordres superposés, des profils compliqués, ne parvenons pas toujours à arrêter le regard du passant, et qui dépensons des millions pour faire dire parfois: «Que nous veulent ces colonnes, ces corniches et ces bas-reliefs?»

L'intérieur de l'église de Saint-Sernin, bien que très-défiguré par des renforcements de piliers, par un sanctuaire ridiculement surchargé d'ornements de mauvais goût, et par un crépi grossier, d'une couleur déplaisante, avait seul conservé la renommée qu'il mérite. Cet intérieur, en effet, produit un effet saisissant et grandiose, bien qu'au total l'édifice ne soit pas d'une dimension extraordinaire. Cependant, sauf quelques chapiteaux, l'intérieur de l'église de Saint-Sernin laisse voir à peine quelques profils; ses piliers à sections rectangulaires sont nus, comme les parements et les arcs de voûtes; on ne voit dans tout cela qu'une structure, et l'effet qu'elle produit est dû à l'harmonie parfaite des proportions. Comment cette harmonie a-t-elle été trouvée?

Constatons d'abord un fait majeur: c'est que dans l'architecture du moyen âge le système harmonique des proportions procède du dedans au dehors. Les Grecs ne procédaient pas toujours de cette manière, mais bien les Romains dans leurs édifices voûtés et dans la construction de leurs basiliques. Cet énoncé demande quelques éclaircissements. Si nous considérons le Parthénon, ou le temple de Thésée, ou même les temples de la Grande Grèce, à l'extérieur, il nous est impossible de préjuger les proportions intérieures admises dans ces édifices. Nous voyons un ordre extérieur conçu d'après une harmonie de proportions admirable, mais nous ne pouvons en déduire l'échelle harmonique de l'intérieur. L'ordre extérieur et le mur de la cella nous masquent un ou deux ordres intérieurs superposés, des dispositions d'étages qui ne sont point visibles à l'extérieur, un ciel ouvert ou un couvert fermé, des escaliers que le dehors ne saurait faire deviner. Si bien qu'aujourd'hui encore, on peut se demander si les intérieurs de ces monuments étaient totalement clos ou présentaient une sorte de cour. Si les ordres placés à l'intérieur sont établis dans un rapport harmonique de proportions avec l'ordre extérieur, c'est là une question de pure convention, mais qui ne peut être appréciée par l'oeil, puisque ces ordres extérieurs et intérieurs ne sauraient être vus simultanément. C'est une satisfaction théorique que l'architecte s'est donnée. Supposons que les dispositions intérieures du Parthénon ne nous soient pas connues (et elles le sont à peine), sur dix architectes qui examineront cet extérieur seulement, nous n'aurons probablement pas deux restitutions pareilles de l'intérieur. Si, au contraire, dix architectes examinent seulement à l'extérieur des thermes romains, ou l'édifice connu sous le nom de basilique de Constantin, à Rome, ou encore l'église de Sainte-Sophie de Constantinople, et qu'ils essayent d'en présenter les dispositions intérieures, il est évident qu'ils ne différeront dans cette restitution que sur quelques détails d'une importance secondaire. C'est que, dans ces édifices, l'aspect extérieur n'est autre chose que l'enveloppe exacte de la structure intérieure; par conséquent, si nous ne parlons que des proportions, c'est le système harmonique admis pour l'intérieur qui a commandé les proportions visibles à l'extérieur. En cela donc, les Romains ont procédé autrement que les Grecs. Mais, il faut le reconnaître, les Romains n'étaient guère sensibles à cet ordre de beautés simples qui ne s'expriment que par l'harmonie des proportions. Ils préféraient la richesse, le luxe ou la rareté des matières à un ensemble dont le seul mérite eût été d'être harmonieux; aussi la plupart de leurs édifices ne se recommandent-ils pas par ce juste emploi des proportions qui nous frappe et que l'on ne se lasse pas d'admirer dans les oeuvres de la Grèce. Le Romain confond les dimensions avec les proportions, et, pour lui, la grandeur ne réside pas dans un accord des formes, mais dans leur étendue. Pour lui, ce qui est grand, c'est ce qui est vaste.

Mieux doués heureusement du véritable sentiment de l'art que les Romains, les populations occidentales, dès l'époque romane, donnèrent à l'étude des proportions une attention singulière. Soit que ce sentiment eût été provoqué ou réveillé par la vue des édifices romano-grecs de la Syrie, soit qu'il fût instinctif, nous voyons déjà, au commencement du XIIe siècle, qu'un système harmonique de proportions est adopté dans les provinces d'en deçà et d'au delà de la Loire. Mais le système harmonique s'établit sur le principe de structure romaine, c'est-à-dire qu'il procède de l'intérieur à l'extérieur, que l'ossature apparente extérieurement n'est que l'enveloppe de la conception intérieure. Pour être plus clair, l'architecte proportionne son monument intérieurement, et ce parti pris fournit le système des proportions de l'extérieur. C'était il faut bien en convenir, une idée juste; car, qu'est-ce qu'un édifice, sinon une nécessité enveloppée? N'est-ce pas le contenu qui donne la forme de l'étui? N'est-ce pas le pied qui impose la forme à la chaussure? Et si aujourd'hui nous faisons des chaussures dans lesquelles on pourrait loger la main ou la tête, aussi bien et aussi incommodément que le pied, est-ce raisonner juste?

Les édifices grecs, si beaux qu'ils soient (du moins ceux qui nous restent), ressemblent un peu à ces meubles qu'à l'époque de la Renaissance on appelait des cabinets. Meubles charmants parfois, admirablement décorés, précieux objets d'amateurs et de musées, mais qui sont, de fait un prétexte plutôt que l'expression d'un besoin réel. Il n'était donc pas surprenant que les Grecs, amateurs passionnés de la forme extérieure, songeassent avant tout à cette forme, qu'ils aient inventé des ordres d'une si heureuse proportion, quitte à placer derrière eux des services qui n'avaient point toujours une intime corrélation avec ce système harmonique. Le sens pratique des Romains, toutes les fois qu'ils cessaient d'imiter les monuments grecs pour rester vraiment romains, leur avait prescrit une tout autre méthode de procéder, comme nous l'avons indiqué ci-dessus; mais il leur manquait, comme nous l'avons dit aussi, le sentiment délicat des proportions, et les Grecs étaient en droit de regarder leurs gros monuments concrets, moulant, pour ainsi dire, la nécessité intérieure, comme nous considérons une ruche d'abeilles ou des cabanes de castors, et de trouver là plutôt l'expression brutale d'un besoin qu'une oeuvre d'art. Cependant les Grecs étaient des gens de trop d'esprit pour ne pas saisir tout le parti que l'on pouvait tirer du principe romain en lui appliquant de nouvelles lois harmoniques: c'est ce qu'ils firent en Asie. Ils eurent la sagesse d'abandonner définitivement les méthodes de proportions des ordres de l'antiquité, pour soumettre la structure matérielle romaine à tout un système de proportions procédant du dedans au dehors.

C'était là un trait de génie, ou plutôt une de ces ressources que le génie sait toujours trouver, lorsque changent les conditions dans lesquelles il se meut. C'est donc raisonner en dehors de la connaissance des faits et des circonstances, raisonner dans le vide, que de vouloir rapporter toute harmonie des proportions aux ordres grecs seuls. Les Grecs ont adopté un système harmonique propre aux ordres, lorsque les ordres formaient, pour ainsi dire, toute leur architecture; ils en ont admis un autre lorsque l'architecture romaine est venue s'imposer au monde, et découvrir des moyens neufs, utiles, nécessaires. Au point de vue de la structure, l'architecture romaine était en progrès sur l'architecture grecque; les Grecs se sont bien gardés de s'attacher à des traditions qui devaient cependant leur être chères, ils ont franchement admis le progrès matériel accompli et l'ont soumis à leur sentiment d'artistes, à leur esprit philosophique. Ils nous ont ainsi transmis des méthodes qui se sont bien vite développées au milieu de notre Occident, après les premières croisades.

L'église de Saint-Sernin de Toulouse, est un des monuments de nos provinces méridionales qui donne la plus complète et la plus vive empreinte de ces influences romano-grecques et des principes de proportions qui avaient été appliqués à la structure romaine par les Grecs du Bas-Empire. En effet, le système de proportions admis à Saint-Sernin procède du dedans au dehors.

Ce système de proportions est dérivé des triangles équilatéraux et isocèles rectangles. Nous donnons d'abord la moitié de la coupe transversale de l'édifice (fig. 2). Le sol, AB, a été divisé en vingt parties de 0m,813 chacune (2 pieds et demi). Cinq parties ont été prises pour la demi-largeur de la haute nef; deux parties pour l'épaisseur du pilier, dont le plan est donné en C; quatre parties pour la largeur du premier collatéral; deux parties pour l'épaisseur du second pilier, dont le plan est donné en D; quatre parties pour le second collatéral, compris l'épaisseur de la pile engagée; deux parties pour l'épaisseur du mur à la base; une partie pour la saillie du contre-fort à la base.

La hauteur des bases intérieures ayant été fixée au niveau E, c'est de ce niveau que l'on a opéré pour établir le système des proportions, car on observera que c'est toujours le niveau des bases qui est considéré comme la ligne horizontale servant de base aux triangles employés pour établir ies proportions intérieures d'un édifice pendant le moyen âge. Aussi ces bases sont-elles placées à un mètre environ au-dessus du sol dans les édifices de la période gothique, et à 65 centimètres (2 pieds) au plus dans les monuments de la période romane. La saillie des piliers engagés ayant été fixée à 16 parties et demie. De ce point a, a été élevé le triangle équilatéral ab, qui donne la hauteur totale de l'édifice, le niveau des impostes c, le niveau des impostes d et la hauteur des chapiteaux supérieurs e. Du même point a le triangle isocèle rectangle af ayant été élevé, il a donné le niveau des clefs des arcs g et le niveau des chapiteaux du triforium f. Du point h (douzième partie et axe de la seconde pile) a été élevé le triangle équilatéral hi, qui a donné, à son sommet, le point de centre des voûtes en berceau et arcs-doubleaux de la haute nef. Les autres lignes à 45º ou à 60º, que nous avons tracées, indiquent suffisamment les opérations secondaires, sans qu'il soit besoin de les décrire une à une. Ce qui ressort de ce système, c'est que l'architecte a prétendu soumettre les proportions de son édifice au tracé des deux triangles isocèle rectangle et équilatéral; car on observera que tous les niveaux principaux, les points qui arrêtent le regard, sont placés sur les lignes à 45º et à 60º. La silhouette extérieure de l'édifice ne sort sur aucun point de ces lignes inclinées, elle est comme enveloppée par ces lignes, et reproduit ainsi les formes et les proportions intérieures.

Si nous examinons (fig. 3) deux travées intérieures et extérieures de l'église de Saint-Sernin, nous voyons également que tous les niveaux, tous les points marquants de l'architecture, ont été obtenus au moyen des deux mêmes triangles, c'est-à-dire à l'aide de lignes à 45º et à 60º, rencontrant les verticales. De ce mode, il résulte un rapport géométrique entre les parties et le tout; une sorte de principe de cristallisation, dirons-nous, d'une grande puissance harmonique. La preuve, c'est l'effet que produit cet édifice 370. Mais l'architecte de Saint-Sernin, bien qu'employant un procédé géométrique pour établir les proportions de l'édifice, n'a pas moins tenu compte des effets de la perspective.

Ainsi, par exemple, si nous jetons les yeux sur les travées extérieures en A (fig. 3), nous voyons que le grand triangle équilatéral ab, qui, à l'intérieur B, donne le rapport de la hauteur des chapiteaux avec l'écartement des colonnes des travées, par l'effet de la perspective, extérieurement, le comble c disparaissant à l'oeil; le point d vient tomber sur le point e, et ainsi le triangle équilatéral dfg complète les lignes inclinées à 60º ae. La clef de l'archivolte f, quand on se place dans l'axe d'une travée, est dans un rapport d'harmonie avec l'écartement des contre-forts des deux autres travées à droite et à gauche, bien qu'à l'extérieur, à cause de la saillie du comble du second collatéral, l'architecte ait dû procéder autrement qu'à l'intérieur, où la travée se présente sur un seul plan vertical, et reprendre une opération nouvelle au-dessus de ce comble; cependant on voit, par cet exemple, qu'il a pu établir un rapport entre les deux opérations, celle du collatéral inférieur et celle du triforium. Tout cela dénote évidemment un art très-savant, une étude approfondie des effets, des connaissances supérieures, une expérience consommée.

Ailleurs 371 nous avons expliqué comment les proportions des cathédrales de Paris et d'Amiens avaient été établies à l'aide des triangles égyptien et équilatéral. En effet, le triangle isocèle rectangle est rarement admis comme principe de proportions dans les édifices de la période gothique; le triangle dont la base contient quatre parties, et la verticale élevée du milieu de cette base au sommet, deux parties et demie (triangle égyptien), et le triangle équilatéral, deviennent dorénavant les générateurs des proportions.

Nous en trouvons un exemple frappant dans un édifice remarquable par l'harmonie parfaite de ses parties, la sainte Chapelle du Palais, à Paris. Ce monument religieux, considéré de tout temps, avec raison, comme un chef-d'oeuvre, procède, quant à ses proportions, de triangles équilatéraux.

La sainte Chapelle de Paris se compose de deux étages: la chapelle basse et la chapelle haute 372. Voici (fig. 4) comment Pierre de Montereau, l'architecte de ce monument, a procédé pour établir ses plans et coupes:

En A, est tracée une travée du plan du rez-de-chaussée; en B, une travée du plan du premier étage. Au premier étage, la projection horizontale des voûtes est obtenue au moyen du triangle équilatéral abc, le sommet c donnant le centre de la clef de la voûte; les nervures des arcs ogives sont projetées suivant les lignes bc, ac, la base ab étant le nu intérieur. Le niveau d du banc intérieur (voy. la coupe transversale) est la base de l'opération. Le nu intérieur étant la verticale e (c'est l'axe des colonnettes de l'arcature), le triangle équilatéral efg a été élevé sur la base, dont eh est la moitié. Les côtés de ce triangle équilatéral ont été prolongés indéfiniment. La ligne horizontale ik étant donnée comme le niveau de l'appui des grandes fenêtres, sur la base ik égale à he a été élevé le second triangle équilatéral, dont l est le sommet. Ce sommet a donné la hauteur des naissances de la voûte. Le côté gf prolongé a donné en m les clefs des arcs des fenêtres. Pour la chapelle basse, les axes des colonnes isolées se trouvent élevés aux deux extrémités de la base du triangle équilatéral dont no est un des côtés. Du niveau p (naissance des voûtes basses) et de l'axe des colonnes, la rencontre de la ligne pq avec le prolongement du côté fe a donné la clef des fenêtres de la chapelle basse. Les côtés fm prolongés ont servi à poser les pinacles supérieurs. La pente rs du comble est également tracée suivant un angle de 60º. Ainsi, pour la coupe transversale comme pour le plan du premier étage, les triangles équilatéraux ont été les générateurs des proportions.

La même méthode de tracé a été observée pour le dehors. Si nous prenons deux travées de la sainte Chapelle de Paris, nous voyons (fig. 5) que les axes des contre-forts étant donnés en a, b, c, ac étant pris comme base, on a élevé le triangle équilatéral ace, qui a donné le niveau du bandeau d'appui des fenêtres. Les côtés prolongés de ce triangle, établi sur chaque travée ont donné une suite de losanges à 60º et toutes les hauteurs; celles des naissances et clefs des arcs des fenêtres, celle de la corniche g supérieure, celle h des pinacles. Quant aux gâbles des fenêtres, tracés suivant des triangles dont les côtés sont au-dessous de 60º, le triangle équilatéral a encore été rappelé par le niveau de la bague i des fleurons supérieurs. Dans cet édifice, l'unité des proportions est donc obtenue au moyen de l'emploi des triangles équilatéraux. Des rapports constants s'établissent ainsi entre les parties et le tout, puisque l'oeil trouve tous les points principaux posés sur les sommets de triangles semblables.

Ces méthodes permettaient un tracé rapide, et toujours établi d'après un même principe pour chaque édifice. C'est qu'en effet les architectes qui tentent aujourd'hui d'élever des constructions suivant le mode dit gothique, s'ils veulent (comme cela se pratique habituellement) suivre leur sentiment, composer sans l'aide d'une méthode géométrique, se trouvent bientôt acculés à des difficultés innombrables. Ne sachant sur quelles bases opérer, ils procèdent par une suite de tâtonnements, sans jamais rencontrer, soit des proportions heureuses, soit des conditions de stabilité rassurantes. Il est certain que si les maîtres du moyen âge avaient composé ainsi dans le vague, sans méthodes fixes, non-seulement ils n'auraient jamais pu trouver le temps de construire un aussi grand nombre de monuments, mais encore ils n'auraient point obtenu cette parfaite unité d'aspect qui nous charme et nous surprend encore aujourd'hui. Au contraire, partant de ce principe de la mise en place et en proportion par le moyen des triangles, ils pouvaient très-rapidement établir les grandes lignes générales avec la certitude que les proportions se déduisaient d'elles-mêmes, et que les lois de la stabilité étaient satisfaites. Ce n'est pas à dire, cependant, que le sentiment de l'artiste ne dût intervenir, car on pouvait appliquer ces méthodes suivant des combinaisons variées à l'infini. La sainte Chapelle de Paris, la cathédrale d'Amiens, sont évidemment tracées par des artistes d'une valeur peu commune; mais, à côté de ces monuments, il en est d'autres d'où le principe de l'emploi des triangles, bien qu'admis, ne l'a été qu'imparfaitement, et où, par suite, les proportions obtenues sont vicieuses. Nous en avons un exemple frappant dans le tracé de la cathédrale de Bourges. Ce grand monument, qui présente de si belles parties, un plan si largement conçu, donne en coupe, et par conséquent à l'intérieur, des proportions disgracieuses par l'oubli d'une des conditions de son tracé même.

Contrairement à la méthode admise au XIIIe siècle, tout le système des proportions de la cathédrale de Bourges dérive du triangle isocèle rectangle, et non point du triangle équilatéral. C'était là un reste des traditions romanes, très-puissantes encore dans cette province.

Le plan de la nef, dont nous présentons quelques travées (fig. 6), est dérivé d'une suite de triangles isocèles rectangles. La nef principale donne des carrés de deux en deux travées. Quant aux nefs latérales doubles, elles ont de même été engendrées par la prolongation des côtes de ces triangles; mais, dans la crainte d'exercer des poussées trop actives sur les piliers de la nef centrale, l'architecte a avancé le second rang des piles A en dedans des axes a afin de diminuer, la largeur du premier collatéral. Les centres des clefs des voûtes du premier collatéral se trouvent donc ainsi déportés en b, et les centres des clefs de voûtes du second collatéral en c.

Prenant la ligne ef comme moitié de base, l'architecte (fig. 7) a élevé le demi-grand triangle isocèle rectangle efg, dont les côtés, par leur rencontre avec les piliers, ont donné les niveaux h du bandeau du triforium du grand bas côté et des tailloirs des chapiteaux i du premier collatéral. Du sommet g, tirant une ligne horizontale, la rencontre de cette ligne avec l'axe vertical des piles de la seconde nef en k a donné la base d'un second triangle isocèle rectangle, dont la moitié est gkl. Le point l a fixé le sommet de l'arc-doubleau, et par conséquent la hauteur de la nef. Pour être logique, le point l aurait dû donner le niveau de la base d'un troisième triangle isocèle rectangle opq, dont le sommet q aurait été la clef de l'arc-doubleau de la haute nef. Ainsi l'écartement des axes extrêmes aurait donné la base du premier triangle, l'écartement des axes intermédiaires la base du second, et l'écartement des axes intérieurs la base du troisième. On obtenait ainsi une proportion parfaitement harmonique; tandis que le sommet du second triangle ayant donné le sommet des arcs-doubleaux, il en résulte un écrasement dans la partie supérieure de l'édifice, qui détruit toute harmonie. Les fenêtres hautes paraissent trop courtes de moitié, et le grand collatéral beaucoup trop élevé en proportion de la hauteur de la grande nef. Nous serions très-disposés à penser que ce dernier parti ne fut adopté que comme moyen de terminer promptement l'édifice, les ressources alors venant à manquer, et que le projet primitif donnait les proportions indiquées sur notre figure, lesquelles sont la déduction naturelle du système employé. Un fait vient appuyer notre opinion: les arcs-boutants supérieurs tracés en m (arcs-boutants existants et qui sont les seuls datant de la construction primitive de la nef) paraissent bien plutôt avoir été disposés pour buter les voûtes C que les voûtes D. Quoi qu'il en soit, qu'il y ait eu changement ou réduction du projet primitif, l'intérieur de la cathédrale de Bourges est d'une proportion fâcheuse, et cela parce que la méthode admise n'a pas été rigoureusement suivie dans ses conséquences. On n'en peut dire autant de l'intérieur du choeur de Beauvais, qui, avant les changements que le XIVe siècle apporta aux dispositions premières, était un chef-d'oeuvre. Toutes les parties, dans ce vaste édifice, dérivent du triangle équilatéral, depuis le plan jusqu'aux ensembles et détails des coupes et des élévations. Malheureusement la cathédrale de Beauvais fut élevée avec des ressources trop médiocres et des matériaux faibles, soit comme qualité, soit comme hauteur; des désordres, provenant de la mauvaise exécution, nécessitèrent des travaux de reprises et de consolidation, des doublures de piles, qui détruisirent en grande partie l'effet vraiment prodigieux que produisait cet immense vaisseau, si bien conçu théoriquement et tracé par un homme de génie. Malgré ses belles proportions, l'église de Notre-Dame d'Amiens est inférieure à ce qui nous reste de la cathédrale de Beauvais, et celle de Cologne, bâtie quelques années plus tard sur un plan et des coupes semblables, est bien loin de présenter des dispositions aussi heureuses. Là, à Cologne, l'architecte a suivi rigoureusement les données géométriques; sa composition est une formule qui ne tient compte ni des effets de la perspective, ni des déformations que subissent les courbes en apparence, à cause de la hauteur où elles sont placées. Aussi le choeur de Cologne surprend plus qu'il ne charme; le géomètre a supprimé l'artiste. Il n'en est pas de même à Beauvais, ni dans aucun des bons édifices de la période gothique française: l'artiste est toujours présent à côté du géomètre, et sait, au besoin, faire fléchir les formules. M. Boisserée, dans sa monographie de la cathédrale de Cologne, a parfaitement fait ressortir l'emploi du triangle équilatéral dans la construction de cet édifice. Mais la savant archéologue ne nous semble pas avoir étudié à fond nos monuments de la période antérieure. M. Félix de Verneilh a relevé quelques erreurs de M. Boisserée relatives à nos cathédrales, notamment en ce qui concerne les mesures de Notre-Dame d'Amiens 373; mais, d'autre part, M. Félix Verneilh n'attache pas à ces méthodes géométriques l'importance qu'elles méritent. «Dresser un plan d'après le principe du triangle équilatéral, c'est un tour de force comme un autre; mais est-il entré dans la pensée du maître de l'oeuvre? C'est une entrave plutôt qu'une source d'harmonie; le maître de l'oeuvre s'en était-il embarrassé? Nos grands artistes des XIIe et XIIIe siècles, cela est attesté par leurs monuments, se dirigeaient par l'expérience, non par des théories, dans la création du style ogival. Hommes de bon sens avant tout, ils n'avaient qu'une règle, qu'un principe: parvenir, avec le moins de frais possibles, à l'effet le plus grand, en évitant les fautes et en s'appropriant le succès de leurs devanciers. L'architecte de Cologne, qui les suivait immédiatement et qui les imitait de si près, serait-il donc déjà devenu si fort en architecture mystique? Pour notre compte, nous avons beaucoup de peine à nous le figurer; et nous penserions volontiers que cette science, affectée et inutile, est venue bien plus tard au monde, par exemple au XVe siècle, avec la franc-maçonnerie, lorsque les architectes n'avaient plus qu'à tout raffiner et à subtiliser sur toute chose.» Nous avons cité tout ce passage, dû à une plume autorisée, parce qu'il tend à établir une certaine confusion dans l'étude de cet art du moyen âge, et qu'il appuie un préjugé fâcheux, à notre sens. La géométrie et ses applications ne sont point une science inutile pour les architectes, et il n'y a pas de tour de force à se servir d'une figure géométrique pour établir une figure harmonique en architecture. Nous dirons même qu'il est impossible à tout praticien de concevoir et de développer un système harmonique sans avoir recours aux figures géométriques ou à l'arithmétique. Les Égyptiens, les Grecs, n'ont pas procédé autrement, et le bon sens ne saurait indiquer d'autres méthodes de procéder. Il n'est pas douteux que l'architecte de Cologne et ses successeurs, en France et en Allemagne, ont subtilisé sur les systèmes de leurs devanciers, mais ceux-ci en possédaient, nous venons de le démontrer, et il n'était pas possible d'élever de pareils monuments sans en posséder. Un système géométrique ou arithmétique propre à établir des lois de proportions, loin d'être une entrave, est au contraire un auxiliaire indispensable, car il nous faut bien nous servir de la règle, du compas et de l'équerre pour exprimer nos idées. Nous ne pouvons établir un édifice à l'aide d'un empirisme vague, indéfini. Disons-le aussi, jamais les règles, dans les productions de l'esprit humain, n'ont été une entrave que pour les médiocrités ignorantes; elles sont un secours efficace et un stimulant pour les esprits d'élite. Les règles, si sévères, de l'harmonie musicale, n'ont point empêché les grands compositeurs de faire des chefs-d'oeuvre et n'ont point étouffé leur inspiration. Il en est de même pour l'architecture. Le mérite des architectes du moyen âge a été de posséder des règles bien définies, de s'y soumettre et de s'en servir. Un malheur aujourd'hui dans les arts, et particulièrement dans l'architecture, c'est de croire que l'on peut pratiquer cet art sous l'inspiration de la pure fantaisie, et qu'on élève un monument avec cette donnée très-vague qu'on veut appeler le goût, comme on compose une toilette de femme. Nos maîtres du moyen âge étaient plus sérieux, et, quand ils posaient la règle et l'équerre sur leur tablette, ils savaient comment ils allaient procéder; ils marchaient méthodiquement, géométriquement, sans passer leur temps à crayonner au hasard, en attendant cette inspiration vague à laquelle les esprits paresseux s'habituent à rendre un culte.

D'ailleurs, l'emploi de ces méthodes géométriques n'était pas, répétons-le, une formule invariable, c'était un moyen propre à obtenir les combinaisons les plus variées, mais combinaisons dérivant toujours d'un principe qu'on ne pouvait méconnaître sans tomber dans le faux. Examinons donc comment l'architecte du choeur de Beauvais s'y est pris pour établir ses plans et ses élévations.

La figure 8 donne une portion du choeur de la cathédrale de Beauvais, l'axe étant en A. D'abord les axes des piles principales qui portent la haute nef ont été fixés à 14m,95 d'écartement (46 pieds.) Sur un point a pris sur l'un de ces axes, il a été élevé une ligne ab à 60º, laquelle a donné, par sa rencontre avec l'autre axe, le point b, centre d'une pile comme le point a. Tirant du point b une perpendiculaire aux axes, on a obtenu le point de rencontre c, centre d'une troisième pile. Ainsi ont été posés les centres des piles. Procédant toujours de même et prolongeant les lignes à 60º, on a obtenu une suite de triangles équilatéraux qui ont donné à leurs sommets les axes C des piles intermédiaires du double collatéral et le nu extérieur D du mur du bas côté. Les diamètres des noyaux cylindriques des piles de la haute nef ont été fixés à 4 pieds, ceux des piliers intermédiaires à 40 pouces; l'épaisseur du mur D; à 4 pieds. Ainsi ont été établis les axes, les écartements des piles, les largeurs des collatéraux. Jusqu'à présent le géomètre seul est intervenu. Il a toutefois la confiance d'avoir, grâce à sa méthode, établi sur plan horizontal des rapports harmonieux. En effet, une des conditions d'harmonie, en fait d'architecture, c'est d'éviter, en apparence directe, les divisions égales, mais cependant de faire que des rapports s'établissent entre elles. Par le moyen de ce tracé, les écartements entre trois des piles du choeur sont égaux, mais ces écartements sont plus de la moitié de l'ouverture de la nef. Les axes des piles a et c sont éloignés de plus de la moitié de l'entre-axe direct cb, tandis que les axes de ces piles a et c sont écartés de la moitié de la diagonale ab. Il y a donc rapport et dissemblance. De même les axes des piles a et d sont moins espacés que les axes a et c, mais ont entre eux une distance égale à la moitié de l'entre-axe ae. L'écartement df est plus petit que l'écartement ad. De sorte que si, dans le sens longitudinal, les travées sont pareilles, dans le sens transversal elles sont dissemblables, diminuant vers les extrémités. Cela était en outre conforme aux règles de la stabilité, car il était important de réduire successivement les poussées en approchant du vide.

Mais ce choeur s'ouvre sur un transsept égal à la grande nef en largeur. L'architecte, l'artiste, le praticien sent que les grandes archivoltes bandées sur les piles a, c, vont exercer une poussée active sur la première pile g du choeur, qui n'est plus étrésillonnée à la hauteur de ces archivoltes. D'abord il augmente la section de cette pile, puis il diminue l'écartement de la première travée B.

Non-seulement ainsi il soumet son tracé à une loi de stabilité, mais il satisfait l'oeil, en donnant plus de fermeté à sa pile d'angle et moins d'écartement à cette première travée. Il rassure le regard, tout comme les Grecs l'avaient fait, lorsqu'ils diminuaient le dernier entre-colonnement à l'angle d'un portique, et qu'ils augmentaient le diamètre de la colonne angulaire. En G, cet architecte, sur la travée du transsept, compte élever une tour; il renforce les piles h et i, comme nous l'avons tracé. Cette méthode appliquée en plan horizontal donne le moyen de tracer les arcs des voûtes suivant des rapports harmonieux. Ainsi, pour les arcs-doubleaux, l'architecte a divisé la base kf en quatre parties, il a pris trois de ces parties pour la hauteur de la flèche ij; pour l'arc ogive, il a également divisé la base mf en quatre parties, et pour la hauteur de la flèche no il a pris deux parties et demie: il en résulte que la flèche no est égale, à quelques centimètres près, à la flèche if. Deux de ces dernières parties ont servi pour la base fn des formerets dont les centres sont en fn, et qui inscrivent ainsi un triangle équilatéral; car on observera que la base nf est égale au côté fp, projection horizontale du formeret. Sur son plan horizontal, l'architecte établissait ainsi tous les rapports harmoniques des parties, les arcs des voûtes, et n'avait plus qu'à procéder par une méthode analogue, en projection verticale, pour que les rapports de hauteurs et de largeurs fussent établis.

Prenant une travée ca en élévation (fig. 9), et des axes des piles, élevant des triangles équilatéraux formant une suite de losanges, les sommets a ont donné le niveau des naissances des archivoltes des collatéraux; les sommets b des triangles dont la base est prise à la hauteur des astragales c des colonnettes accolées ont donné le niveau du cordon inférieur du triforium; la rencontre des lignes verticales d avec les côtés des triangles, le niveau e du cordon supérieur du triforium; les sommets f le niveau des naissances des grandes voûtes, et les points de rencontre g le niveau des naissances des formerets. Il résulte de ce tracé que la hauteur hp (c'est toujours au-dessus des bases que les opérations sont faites) égale la largeur de la grande nef entre axes des piles (voyez le plan); que la hauteur bk du triforium égale la hauteur pb, que la hauteur bf égale la hauteur hp, ou la largeur de la nef entre axes; que cependant, grâce au démanchement des triangles en c, il y a une différence bo qui empêche de deviner, pour l'oeil, ces rapports exacts qui eussent été choquants: toute harmonie de proportions exigeant, comme nous l'avons dit plus haut, des rapports, mais non des similitudes. On constatera également que la ligne mn est égale à la base du triangle; c'est dire aux entre axes des piles de deux en deux travées, ce qui donne une apparence de stabilité à la pile, étayée, pour ainsi dire, par ces côtés fictifs que l'oeil trace sans s'en rendre compte; que les archivoltes en s sont tangentes au prolongement de ces côtés; que de même, les chapiteaux i qui portent les arcs des grandes voûtes sont étayés par les côtés j, i. Si nous pouvions suivre cette composition dans tous ses détails, nous verrions que ce principe est appliqué dans le tracé du triforium, des meneaux des fenêtres, etc.

Si maintenant nous prenons un édifice ne possédant qu'un seul vaisseau voûté, comme la salle synodale de Sens, bâtie en même temps que le choeur de Beauvais, nous verrons que l'architecte a procédé d'après une méthode semblable à celle que nous venons de décrire.

Un quart de travée de cette salle étant figuré en ABC (fig. 10), la voûte a d'abord été tracée, c'est-à-dire que sur la projection horizontale AC de l'arc ogive, on a tracé le demi-cercle ab qui est le rabattement de la moitié de cet arc; prenant sur le demi-diamètre aC une longueur ad égale à la moitié de la base de l'arc-doubleau, et élevant une perpendiculaire de sur la ligne aC, le point de rencontre e a donné la clef de l'arc-doubleau et ae sa courbe; donc de est la flèche de cet arc-doubleau. Du niveau des bases f, g, des piles, élevant un triangle équilatéral fgh, et sur la verticale abaissée du sommet, prenant une longueur hd' égale à ed, le point d' a donné le niveau des naissances des arcs des voûtes, et la proportion de la salle a été ainsi établie. Pour le tracé du fenêtrage qui clôt l'extrémité de cette salle, on a procédé par le moyen des triangles équilatéraux, ainsi que l'indique le côté iK. Donc, des rapports de proportions ont été établis entre ce fenêtrage et la salle elle-même 374. Sous la grande salle synodale de Sens, il existe un rez-de-chaussée voûté sur une épine de colonnes. Le procédé employé pour établir les proportions de cet intérieur est le même que celui que nous venons d'indiquer, et notre figure 11 nous dispensera d'une nouvelle explication.

Ces exemples suffisent pour démontrer qu'un système harmonique de proportions était adopté par les architectes du moyen âge dans la composition de leurs édifices, système qui procédait de l'intérieur à l'extérieur. Ce système diffère essentiellement de celui des Grecs, qui procédait de l'extérieur à l'intérieur et par le rapport des nombres; mais on ne peut nier qu'il ne soit logique et conforme aux lois de la statique. Il n'y a donc point à comparer ces systèmes et à vouloir appliquer les méthodes de l'un à l'autre; on ne peut que les étudier séparément. Parce que les Grecs ont inventé les ordres et leur ont donné des proportions excellentes, on ne saurait conclure de ce fait qu'il ne puisse exister un autre principe de proportions; et si la colonne, dans l'architecture du moyen âge, n'est pas soumise aux lois proportionnelles qui régissent la colonne grecque, de ce qu'elle n'a plus que des proportions relatives au lieu de posséder des proportions absolues, on n'en pourrait conclure que l'architecture gothique, ainsi que l'a fait M. Quatremère de Quincy, est dénuée de tout principe de proportions. La colonne, dans l'architecture romane et gothique, n'est plus un support destiné à soutenir une plate-bande, c'est un nerf recevant des arcs de voûtes; sa fonction n'étant plus la même, il est assez naturel que ses proportions diffèrent. Au lieu d'être un objet principal dans l'architecture, elle n'est plus qu'un objet accessoire qui se soumet aux lois générales de la structure et aux proportions sur lesquelles celle-ci s'établit. Mais en ce point, comme en beaucoup d'autres, lorsqu'il s'agit de comparer les arts de l'antiquité et ceux du moyen âge, on commence par un malentendu: autant vaudrait dire que la langue française n'est pas une langue, parce qu'elle possède une syntaxe différente de la syntaxe grecque, ou qu'un cheval est un animal difforme parce que son organisation diffère essentiellement de l'organisation d'une hirondelle. C'est, à notre sens, rapetisser le champ des études, et réduire singulièrement les ressources de l'art que de prétendre borner l'esprit humain à une seule donnée, si parfaite qu'elle soit; et si l'on voulait absolument établir une comparaison entre l'art grec et l'art du moyen âge, il faudrait d'abord imposer à un architecte grec le programme qui fut donné à l'architecte de la cathédrale de Beauvais, et voir comment, à l'aide de ces éléments, il pourrait y satisfaire. Or, les programmes donnés de nos jours se rapprochant sensiblement plus de ceux qui étaient imposés aux architectes du moyen âge que de ceux fournis aux architectes grecs, on ne conçoit guère comment, pour les remplir, soit par les moyens matériels, soit par les formes d'art, on doive plutôt recourir à l'architecture grecque qu'il celle admise par les artistes du moyen âge; et pourquoi, pour quelle raison, on supprimerait cet ordre de travaux humains qui peut fournir des éléments applicables à tous les points de vue.

Mais, dans une autre partie de cet ouvrage 375, nous avons fait ressortir des dissemblances non moins grandes entre les architectures antique et du moyen âge; nous avons fait voir que si les architectes de la Grèce et de Rome soumettaient les parties de leurs édifices au module, c'est-à-dire à un système de proportions dépendant de l'art seul, les architectes du moyen âge avaient tenu compte de l'échelle humaine, c'est-à-dire de la dimension de l'homme. C'est là un point capital et qui dut nécessairement établir dans le mode des proportions un élément nouveau. En effet, les bases, les chapiteaux, les diamètres de colonnes, les profils et les bandeaux, les baies, les appuis, devraient nécessairement, d'après la donnée des artistes du moyen âge, tout d'abord, et quelle que fût la dimension de l'édifice, rappeler la taille humaine. C'était un moyen de présenter aux yeux la dimension vraie d'un monument, puisqu'on établissait ainsi dans toutes les parties un rapport exact avec l'homme 376. Nous admirons autant que personne les principes de proportions qui régissent l'architecture grecque, mais nous ne pensons pas que ces principes soient les seuls admissibles; nous sommes bien forcés de reconnaître l'existence d'un nouveau mode de procéder chez les maîtres du moyen âge, et, en l'étudiant, nous ne saurions en méconnaître l'importance. Les Grecs admettaient la puissance des nombres: c'était, pour ainsi dire, chez eux un principe religieux. Les nombres impairs et leurs multiples dominent, 3, 9, 7, 21, 49; mais ils ne tiennent compte de l'échelle humaine; ils établissent une harmonie parfaite à l'aide de ces combinaisons de nombres. Cela est admirable sans contredit, et mériterait même une étude plus attentive de la part de ceux qui prétendent posséder le monopole des connaissances de cet art (bien qu'ils se contentent d'en étudier sans cesse les produits, sans jamais en déduire un système philosophique, dirons-nous); mais, à côté ou à la suite de cette méthode arithmétique si intéressante, il y a la méthode géométrique du moyen âge, et l'intervention de l'échelle humaine, qui sont d'une certaine valeur et qu'on ne saurait dédaigner.

Nous n'avons présenté dans cet article, jusqu'à présent, que des exemples tirés de monuments religieux; cependant il n'en faudrait pas conclure que les architectes du moyen âge ne songeaient pas aux proportions, lorsqu'ils élevaient des édifices civils. Loin de là: nous les voyons suivre leurs principes de proportions par voie géométrique, dans des monuments d'utilité publique, dans des maisons, dans des ouvrages même de défense; car ils ne pensaient pas qu'une tour se défendît plus mal contre des assaillants parce qu'elle était établie sur d'heureuses proportions. Et c'est en cela que nous n'hésitons pas à donner à ces maîtres trop méconnus un brevet d'artiste. Certes il était plus aisé de mettre un monument en proportion par des combinaisons de nombres, indépendamment de l'échelle humaine, que de satisfaire les yeux en observant la loi de l'échelle humaine. Alors les combinaisons de nombres ne pouvaient plus être appliquées, car il fallait toujours partir d'une unité invariable, la taille de l'homme, et cependant trouver des rapports harmonieux: on comprend comment, dans ce dernier cas, la méthode géométrique devait être préférée à la méthode arithmétique.

Prenons encore un exemple, tiré cette fois d'un édifice civil. La façade de l'ancien hôpital de Compiègne date du milieu du XIIIe siècle: c'est un simple pignon fermant une salle à deux travées. Pour mettre cette façade (fig. 12) en proportion, l'architecte s'est servi du triangle égyptien, c'est-à-dire du triangle dont la hase a quatre parties, et la perpendiculaire abaissée du sommet sur la base deux et demie. Non-seulement l'inclinaison de la pointe du pignon est donnée par les côtés du triangle, mais notre figure fait voir que les lignes parallèles à ces côtés donnent les niveaux des chapiteaux a, des bases b, des chapiteaux d, du glacis c; que ces côtés sont répétés en f, au-dessus des fenêtres supérieures, et tracent des gâbles qui n'ont d'autre raison d'être que de rappeler le triangle générateur; que les arcs des fenêtres g sont inscrits dans les côtés des triangles; que l'oeil rencontre des points h, i, m, n, tous posés sur ces côtés. La méthode admise, l'architecte établissait, par exemple, un rapport géométrique entre les fenêtres longues du rez-de-chaussée et les portes, ainsi que l'indique le tracé A. L'oeil rencontrait donc sur toute cette façade des points posés sur les lignes inclinées parallèles aux côtés du triangle générateur. Il en résultait naturellement des rapports, une suite de déductions harmoniques qui constituent un véritable système de proportions. Ajoutons que dans cette façade, comme dans toute l'architecture du moyen âge, l'échelle humaine est le point de départ. Les contre-forts ont 3 pieds de largeur; le socle est profilé à 4 pieds au-dessus du sol; les portes ont une toise de largeur, etc.

Si l'on prend la peine d'appliquer cette méthode de l'emploi des triangles, comme moyen de mettre les édifices en proportion, à tous les monuments du moyen âge ayant quelque valeur, on trouvera toujours qu'on a procédé par des tracés logiques, établissant des rapports harmonieux par des sections de lignes parallèles aux côtés de ces triangles, et marquant, pour l'oeil, des points de repère qui rappellent ces lignes inclinées soit à 45º, soit à 60º, soit à 52º.

Si, au lieu de suivre sans examen, sans analyse, des traditions dont nous ne cherchons même plus à découvrir les principes, nous prenions confiance dans l'emploi des méthodes raisonnées, nous pourrions tirer parti de ces exemples d'architecture du moyen âge, et nous en servir, non pour les imiter platement, mais pour les étendre ou les perfectionner. Nous arriverions peut-être à établir un système harmonique de proportions complet, nous qui n'en possédons aucun, et qui nous en tenons au hasard ou à ce que nous appelons le sentiment, ce qui est tout un. Les Grecs, personne ne le contestera, étaient doués d'une délicatesse supérieure à la nôtre. Sur toute question d'art, si ces hommes, placés dans un milieu excellent, croyaient nécessaire de recourir à des lois arithmétiques lorsqu'ils voulaient mettre un édifice en proportion, et ne se fiaient pas à cette inspiration fantasque et variable que nous décorons du nom de sentiment, comment nous qui, relativement, ne sommes pourvus que de sens grossiers, aurions-nous cette prétention de ne reconnaître aucune loi et de procéder au hasard, ou de croire que nous suivons les lois établies par les Grecs, quand nous ne savons plus en interpréter le sens, nous bornant seulement à en reproduire la lettre? Mesurant cent fois le Parthénon avec des différences de quelques millimètres, à quoi nous servira cette compilation de documents, si nous n'en savons déduire le principe générateur des proportions. Autant vaudrait copier cent fois un texte dont le sens demeurerait inconnu, en se bornant à imiter avec plus ou moins d'exactitude matérielle la forme des caractères, l'accentuation et les interlignes. Abandonnés à eux-mêmes, éloignés des exemples laissés par l'antiquité, les artistes du moyen âge ont été plus loin que nous, en cherchant et trouvant un principe logique de proportions et en sachant l'appliquer. Ce n'est donc pas un progrès que d'ignorer ces principes; ce pourrait en être un de les connaître et d'en trouver d'autres plus parfaits. Mais jamais nous ne pourrons admettre comme un progrès l'ignorance d'un fait antérieur. Le progrès, au contraire, ne résulte que de la connaissance des faits antérieurs avec une plus juste appréciation de leur valeur et une meilleure application. Que le bon sens se révolte à l'idée d'employer aujourd'hui en architecture des formes adoptées par les civilisations de l'antiquité ou du moyen âge, cela est naturel; mais quel esprit sensé oserait prétendre qu'il faut ignorer, laisser en oubli les résultats obtenus avant nous, pour produire une oeuvre supérieure à ces résultats?

Si le système harmonique des proportions admis par les Grecs diffère de celui admis par les architectes occidentaux du moyen âge, un lien les réunit. Chez les Grecs, le système harmonique dérive de l'arithmétique; chez les Occidentaux du moyen âge, de la géométrie; mais l'arithmétique et la géométrie sont soeurs. Dans ces deux systèmes, on retrouve un même élément: rapports de nombres, rapports d'angles et de dimensions donnés par des triangles semblables. Mais copier les monuments grecs, sans connaître les rapports de nombres à l'aide desquels ils ont été mis en proportion, la raison logique de ces rapports, et mettre à néant la méthode géométrique trouvée par les gens du moyen âge, ce ne peut être le moyen d'obtenir ces progrès dont on nous parle beaucoup, sans que nous les voyons se développer.

Il serait plus sincère de reconnaître qu'en fait de principes d'architecture, aujourd'hui, nous avons tout à apprendre de nos devanciers, depuis l'art de construire jusqu'à ces grandes méthodes harmoniques de l'antiquité ou du moyen âge. À de savantes conceptions, profondément raisonnées, nous avons substitué une sorte d'empirisme grossier, qui consiste, soit à imiter, sans les comprendre, des formes antérieures, soit à les mélanger sans ordre ni raison, produisant ainsi de véritables monstres qui, le premier étonnement passé, n'inspirent que le dégoût et l'ennui. Qu'on nous présente ces chimères comme un progrès, l'avenir en fera justice, et ne verra dans ces produits bâtards, amoncelés à l'aide de moyens puissants et de dépenses énormes, que confusion et ignorance.

Nous croyons fermement au progrès, nous le constatons avec joie au sein de notre société moderne; nous ne sommes point de ces sceptiques qui admettent que le bien et le mal, en ce monde, sont toujours répartis à doses égales. Mais il est de ces moments, même au sein d'une civilisation avancée, où la raison éprouve des échecs: or, en ce qui touche à notre art, nous sommes dans une de ces périodes. Est-ce à croire que tout est perdu? Non, certes; notre art se relèvera à l'aide de ces études historiques, assez mal vues de quelques-uns, mais qui se poursuivent malgré tout, se poursuivront, et produiront des résultats féconds. Apprenons à mieux connaître les arts des temps anciens: les analysant patiemment, nous aurons établi les fondements des arts de notre siècle; nous reconnaîtrons qu'à côté des faits matériels, qui diffèrent sans cesse, il y a les principes, qui sont invariables, et que, si l'histoire éveille la curiosité, elle dévoile aussi, pour qui sait la fouiller, des trésors de savoir et d'expérience que l'homme intelligent doit employer.

Note 367: (retour) Voyez le neuvième entretien sur l'architecture.
Note 368: (retour) Voyez ce que nous disons à propos de l'emploi de ce triangle à l'article OGIVE, et dans le neuvième entretien sur l'architecture.
Note 369: (retour) Voyez Théorie du module déduite du texte de Vitruve. Nîmes, 1862.--Étude des dimensions de la Maison carrée de Nîmes, 1864--Étude des dimensions de la colonne Trajane, 1863.--Mémoire à propos des scamilli impares de Vitruve.--Mémoire sur le Parthénon.--Étude des dimensions du monument choragique de Lysicrate.
Note 370: (retour) Nous avons fait ce travail après avoir, non-seulement relevé l'église de Saint-Sernin, mais après que nous avons pu la débarrasser de lourdes adjonctions qui modifiaient ses couronnements, et lorsque nous avons ainsi été à même de retrouver la place des anciennes corniches et des pentes des couvertures. Ce n'est qu'après avoir constaté la place de chaque partie de la manière la plus certaine, que nous nous sommes livré au travail de recherche qui nous a dévoilé le système de proportions adopté par les architectes primitifs. Étant frappé des heureuses proportions que nous montraient les travaux de déblaiement, et de l'effet singulièrement harmonieux de l'ensemble, nous en avons cherché la cause; car on se fait illusion, si l'on suppose que le hasard ou le sentiment seul peut produire de pareils résultats sur un édifice aussi étendu et composé de tant de parties.
Note 371: (retour) Voyez le neuvième entretien sur l'architecture, fig. 9 et 10.
Note 372: (retour) Voyez CHAPELLE, fig. 1, 2 et 3.
Note 373: (retour) Voyez la Cathédrale de Cologne, par M. Félix de Verneilh. (Annales archéologiques, 1848).
Note 374: (retour) Voyez SALLE.
Note 375: (retour) Voyez ÉCHELLE.
Note 376: (retour) L'exposé de ce principe si vrai et si simple a paru, aux yeux de quelques critiques, établir une véritable hérésie; nous avouons ne pas comprendre pourquoi. Que ce principe diffère de celui admis chez les Grecs, ce n'est pas douteux; mais en quoi serait-il contraire aux conditions de l'art de l'architecture? C'est ce qu'on n'a pas pris la peine de discuter.


PUIE, s. f. Vieux mot équivalent au mot moderne balcon.

«La contesse est à sa puie

Où o sez pucèles s'apuie 377

Il est très-rare de trouver des balcons, dans les palais ou maisons du moyen âge, disposés comme le sont les nôtres. Les saillies sur les façades, permettant de plonger sur la voie publique ou sur l'aire d'une cour, sont habituellement couvertes: ce sont alors des bretèches ou des loges (voy. ces mots.)

Note 377: (retour) Gilles de Chin, roman de Gautier de Tournay, XIVe siècle, v. 477 et suiv.


PUITS, s. m. Trou cylindrique percé dans le sol, atteignant une nappe d'eau. Les puits sont, ou creusés dans le roc, ou sont revêtus intérieurement d'une maçonnerie pour maintenir les terres. Ils sont couronnés, au niveau du sol, par une margelle de pierre de taille, servant de garde-fou, et terminés à leur partie inférieure par un rouet de charpente qui a servi à leur construction, et qui reste à demeure sous le niveau de la nappe d'eau.

Les constructeurs du moyen âge ne procédaient pas autrement que nous pour percer des puits. Creusant un trou cylindrique, ils y plaçaient un rouet de bois de chêne, sur lequel on élevait le mur en tour ronde. Déblayant peu à peu sous le rouet, celui-ci descendait avec la portion de maçonnerie qu'il supportait; on complétait, à mesure de l'abaissement du rouet, cette maçonnerie cylindrique dans la partie supérieure.

Il existe encore un grand nombre de puits du moyen âge dans nos vieilles villes, dans les châteaux, les cloîtres, les palais et les maisons. Ils sont revêtus de pierres de taifle; leur diamètre est très-variable. Il est des puits qui n'ont que trois pieds de diamètre dans oeuvre, d'autres qui ont jusqu'à deux et trois toises.

Presque toutes les églises possèdent un puits, soit percé dans une crypte, soit dans un collatéral. Ces puits avaient primitivement été creusés pour les besoins des constructeurs; l'édifice terminé, on posait une margelle à leur orifice, et ils étaient réservés au service du culte. La plupart des cloîtres de monastères étaient pourvus d'un puits, quand la situation des lieux ne permettait pas d'avoir une fontaine à fleur de terre. Les margelles de ces puits sont taillées avec soin, souvent dans un seul morceau de pierre, et ornées de sculptures. L'eau était tirée au moyen d'un seau suspendu à une corde roulant sur une poulie; la suspension de la poulie devenait un motif de décoration, parfois très-heureusement conçu. Le seau d'extraction de l'eau étant fixé à la corde, pour jeter cette eau dans le vase transportable, il était souvent pratiqué autour de la margelle une sorte de caniveau avec gargouille. On voit encore de ces margelles dans nos cloîtres ou nos vieux palais 378.

La figure 1 présente l'une d'elles, appartenant au XIIIe siècle.

Sur les places des villes on creusait de larges puits, si la situation des localités ne permettait pas l'établissement d'une fontaine. Un des plus remarquables ouvrages en ce genre est le puits principal de la cité de Carcassonne. Le forage de ce puits est fait à travers un énorme banc de grès, et remonte vraisemblablement à une assez haute antiquité. Son diamètre intérieur est de 2m,57. La profondeur actuelle est de 30m,20. La nappe d'eau s'élève parfois jusqu'à 6m,30 de hauteur, mais il est souvent à sec et en partie comblé. Une vieille tradition prétendait qu'avant d'abandonner Carcassonne, les Wisigoths avaient jeté dans ce puits une partie de leurs trésors; mais les fouilles faites à diverses reprises, et notamment depuis peu, n'ont fait sortir du gouffre que de la vase et des débris sans valeur. Ce puits est aujourd'hui couronné par une margelle du XIVe siècle, de grès, dont la disposition est curieuse. Le bahut de grès, d'un mètre de hauteur et de 0m,22 d'épaisseur, supporte trois piles monolithes qui étaient reliées à leur sommet par trois poutres (fig. 2).

À chacune de ces poutres était suspendue une poulie. Ainsi, trois personnes en même temps pouvaient puiser de l'eau. En A, est tracé le plan de ce puits; en B, son élévation 379.

Dans la même cité, sur une petite place, il existe un autre puits également creusé dans le roc, mais d'un plus faible diamètre, dont la margelle et la suspension de la poulie méritent d'être signalées.

Nous donnons (fig. 3) en A le plan, et en B l'élévation de ce monument, qui date, comme le précédent, du XIVe siècle. Ici la traverse qui relie les deux piles est de grès et d'un seul morceau. En C, nous avons tracé le détail des bases des piles qui font corps avec le pilastre pénétrant dans la margelle, afin d'éviter les dévers des deux monolithes. La profondeur de ce puits est de 21m,40, et la nappe d'eau de 3m,50.

On ne disposait pas toujours de matériaux assez résistants pour se permettre l'emploi de piles et de traverses de pierre d'une aussi faible épaisseur; alors l'appareil nécessaire à l'attache des poulies était fabriqué en fer et scellé sur une margelle de pierre de taille. Il existe encore dans quelques villes de France des puits ayant conservé leurs armatures de fer des XVe et XVIe siècles (voy. SERRURERIE).

Si les puits placés extérieurement sur la voie publique étaient d'une grande simplicité, ceux qui s'ouvraient dans les églises où les cloîtres étaient souvent très-richement ornés. Leurs margelles, les supports des poulies, devenaient un motif de décoration. Il existait autrefois, dans le bas côté sud de la cathédrale de Strasbourg, un puits très-riche, taillé dans de la pierre de grès. Sa margelle était tracée sur plan hexagonal. Sur trois des faces, s'élevaient trois piles qui supportaient trois linteaux se réunissant au centre de l'hexagone (voy. le plan A, fig. 4), et soutenant, à leur point de jonction, la poulie attachée à un cul-de-lampe. Les trois linteaux étaient ornés d'arcs avec roses et redents. Une corniche couronnait ces linteaux (voy. l'élévation B).

La margelle reposait sur une marche C entourée d'un caniveau saillant D, pour éviter que l'eau échappée des seaux ne se répandît sur le pavé de l'église 380. Ce puits datait du XIVe siècle, et ne fut enlevé que pendant le dernier siècle.

Beaucoup de cryptes possédaient des puits, dont les eaux passaient souvent pour miraculeuses. On en voit un encore fort ancien dans la crypte de l'église de Pierrefonds (prieuré), dont l'eau guérit, dit-on, des fièvres intermittentes.

Il n'est guère besoin de dire que les tours des châteaux, les donjons, étaient munis de puits creusés et revêtus avec le plus grand soin. Le donjon de Coucy possède son puits, très-large et profond (voy. DONJON).

Un grand rouet avec treuil servait à enlever les seaux. Dans l'une des tours de la porte Narbonnaise, à Carcassonne (celle de droite, en entrant dans la ville), il existe un puits très-large au milieu de la salle basse, et peu profond; l'eau n'étant qu'à quelques mètres du sol. La margelle de ce puits, peu élevée au-dessus du pavé, n'est qu'un caniveau circulaire avec déversoir. Plusieurs personnes pouvaient tirer de l'eau et remplir très-rapidement ainsi un tonneau ou un grand vaisseau. Beaucoup d'autres tours de la cité de Carcassonne possèdent des puits. Celle de Saint-Nazaire en renferme un à deux orifices, l'un au niveau des lisses extérieures, l'autre au niveau du premier étage (voy. TOUR). Dans les bâtiments du XIIIe siècle de l'abbaye de Château-Landon (Seine-et-Marne), on voit encore un puits de 1m,05 de diamètre, qui était disposé de manière à desservir plusieurs étages, ainsi que l'indique la coupe C (fig. 5).

Ce puits, dont le plan est tracé en A, est pris dans un contre-fort saillant à l'extérieur du bâtiment. La manoeuvre du montage des seaux se faisait seulement à l'étage B (voy. la coupe C) au moyen d'un treuil à rouet. On voit encore en a, a', les trous carrés faits dans la pierre, ou plutôt ménagés dans une hauteur d'assise, qui servaient à passer l'arbre du treuil roulant dans le milieu d'une pièce de bois bien équarrie et de 25 centimètres de côté. La corde du puits faisant un ou deux tours sur le tambour b de ce treuil (voy. le plan A' et la coupe D), les seaux étaient suspendus à deux poulies obliques e fixées à la partie supérieure, en g; de sorte qu'en appuyant sur le rouet, soit dans un sens, soit dans l'autre, on faisait monter les seaux au niveau de l'un des étages, où ils étaient arrêtés par la personne chargée de recueillir leur contenu. Ce mécanisme fort simple est indiqué par le plan A' et par la coupe D 381.

Dans les cours des maisons et palais du moyen âge, on trouve encore des puits d'une forme assez élégante.

La petite cour de service de l'hôtel de la Trémoille, à Paris, en possédait un dont la margelle était d'un beau galbe. Souvent ces puits étaient adossés aux cuisines, aux écuries, et la poulie alors était suspendue à un corbeau saillant engagé dans la maçonnerie au-dessus de la margelle. Ces corbeaux figuraient des animaux portant entre leurs pattes la poulie, ou bien des demi-arcatures avec redents, rosaces, etc. Le puits des cuisines du palais des ducs de Bourgogne, à Dijon, possède encore son support de poulie, lequel figure un lion issant de la muraille. Les puits sont fréquemment chargés d'armoiries, d'emblèmes, de devises, d'inscriptions.

Voici (fig. 6) un joli puits, encore entier, dans une cour d'une maison, de la petite ville de Montréal (Yonne). La margelle, octogonale à l'extérieur, est circulaire à l'intérieur. Deux piles tenant à deux des côtés de l'octogone (voy. le plan) portent un linteau de pierre auquel la poulie est suspendue. Sur l'une de ces piles on voit un écusson orlé, chargé d'un écureuil (voy. le détail A), et au-dessous, un petit cartouche sur lequel est gravée l'inscription suivante: Jehan de Brie m'a fait faire en l'an 1526. N'était cette inscription, on pourrait assigner à ce puits une date beaucoup plus ancienne, car il a tous les caractères du commencement du XVe siècle (voy. les profils B).

La renaissance creusa des puits dont les margelles sont souvent sculptées avec beaucoup d'art et de finesse: on en voit de très-belles à Troyes, à Orléans, à Sens, à Tours, etc.

À l'article SERRURERIE, nous aurons l'occasion de signaler de belles armatures de puits de fer forgé.

Note 378: (retour) Il en existe une très-belle à Sens, dans les magasins du palais archiépiscopal.
Note 379: (retour) Voyez, dans l'Histoire des comtes de Carcassonne, par Besse (Carcassonne, 1645), les vers en patois sur les merveilles de ce puits célèbre. Suivant le poëte, la profondeur de ce puits n'atteindrait rien moins que le centre de la terre.
Note 380: (retour) Nous possédons un dessin de ce puits, qui, d'ailleurs, est figuré dans une gravure ancienne représentant l'intérieur de la cathédrale de Strasbourg.
Note 381: (retour) C'est à M. de Baudot que nous devons le dessin de ce puits.

FIN DU TOME SEPTIÈME.


TABLE PROVISOIRE
DES MOTS CONTENUS DANS LE TOME SEPTIÈME.



Palais
Palier
Palissade
Pan de bois
Panne
Parpaing
Parvis
Patience
Pavage
Peinture
Pendentif
Pénétration
Penture
Perron
Pierre
Pignon
Pilastre
Pile
Pilier
Pinacle
Piscine
Plafond
Plate-bande
Plâtre
Plomberie
Poinçon
Poitrail
Pont
Porche
Port
Portail
Porte
Portique
Pot
Poteau
Potelet
Poutre
Prison
Profil
Proportion
Puie
Puits

FIN DE LA TABLE PROVISOIRE DU TOME SEPTIÈME.








End of the Project Gutenberg EBook of Dictionnaire raisonné de
l'architecture française du XIe au XVIe siècle (7/9), by Eugène-Emmanuel Viollet-Le-Duc

*** END OF THIS PROJECT GUTENBERG EBOOK DICTIONNAIRE ***

***** This file should be named 30787-h.htm or 30787-h.zip *****
This and all associated files of various formats will be found in:
        http://www.gutenberg.org/3/0/7/8/30787/

Produced by Michel Laglasse, Rénald Lévesque and the Online
Distributed Proofreaders Europe at http://dp.rastko.net.


Updated editions will replace the previous one--the old editions
will be renamed.

Creating the works from public domain print editions means that no
one owns a United States copyright in these works, so the Foundation
(and you!) can copy and distribute it in the United States without
permission and without paying copyright royalties.  Special rules,
set forth in the General Terms of Use part of this license, apply to
copying and distributing Project Gutenberg-tm electronic works to
protect the PROJECT GUTENBERG-tm concept and trademark.  Project
Gutenberg is a registered trademark, and may not be used if you
charge for the eBooks, unless you receive specific permission.  If you
do not charge anything for copies of this eBook, complying with the
rules is very easy.  You may use this eBook for nearly any purpose
such as creation of derivative works, reports, performances and
research.  They may be modified and printed and given away--you may do
practically ANYTHING with public domain eBooks.  Redistribution is
subject to the trademark license, especially commercial
redistribution.



*** START: FULL LICENSE ***

THE FULL PROJECT GUTENBERG LICENSE
PLEASE READ THIS BEFORE YOU DISTRIBUTE OR USE THIS WORK

To protect the Project Gutenberg-tm mission of promoting the free
distribution of electronic works, by using or distributing this work
(or any other work associated in any way with the phrase "Project
Gutenberg"), you agree to comply with all the terms of the Full Project
Gutenberg-tm License (available with this file or online at
http://gutenberg.org/license).


Section 1.  General Terms of Use and Redistributing Project Gutenberg-tm
electronic works

1.A.  By reading or using any part of this Project Gutenberg-tm
electronic work, you indicate that you have read, understand, agree to
and accept all the terms of this license and intellectual property
(trademark/copyright) agreement.  If you do not agree to abide by all
the terms of this agreement, you must cease using and return or destroy
all copies of Project Gutenberg-tm electronic works in your possession.
If you paid a fee for obtaining a copy of or access to a Project
Gutenberg-tm electronic work and you do not agree to be bound by the
terms of this agreement, you may obtain a refund from the person or
entity to whom you paid the fee as set forth in paragraph 1.E.8.

1.B.  "Project Gutenberg" is a registered trademark.  It may only be
used on or associated in any way with an electronic work by people who
agree to be bound by the terms of this agreement.  There are a few
things that you can do with most Project Gutenberg-tm electronic works
even without complying with the full terms of this agreement.  See
paragraph 1.C below.  There are a lot of things you can do with Project
Gutenberg-tm electronic works if you follow the terms of this agreement
and help preserve free future access to Project Gutenberg-tm electronic
works.  See paragraph 1.E below.

1.C.  The Project Gutenberg Literary Archive Foundation ("the Foundation"
or PGLAF), owns a compilation copyright in the collection of Project
Gutenberg-tm electronic works.  Nearly all the individual works in the
collection are in the public domain in the United States.  If an
individual work is in the public domain in the United States and you are
located in the United States, we do not claim a right to prevent you from
copying, distributing, performing, displaying or creating derivative
works based on the work as long as all references to Project Gutenberg
are removed.  Of course, we hope that you will support the Project
Gutenberg-tm mission of promoting free access to electronic works by
freely sharing Project Gutenberg-tm works in compliance with the terms of
this agreement for keeping the Project Gutenberg-tm name associated with
the work.  You can easily comply with the terms of this agreement by
keeping this work in the same format with its attached full Project
Gutenberg-tm License when you share it without charge with others.

1.D.  The copyright laws of the place where you are located also govern
what you can do with this work.  Copyright laws in most countries are in
a constant state of change.  If you are outside the United States, check
the laws of your country in addition to the terms of this agreement
before downloading, copying, displaying, performing, distributing or
creating derivative works based on this work or any other Project
Gutenberg-tm work.  The Foundation makes no representations concerning
the copyright status of any work in any country outside the United
States.

1.E.  Unless you have removed all references to Project Gutenberg:

1.E.1.  The following sentence, with active links to, or other immediate
access to, the full Project Gutenberg-tm License must appear prominently
whenever any copy of a Project Gutenberg-tm work (any work on which the
phrase "Project Gutenberg" appears, or with which the phrase "Project
Gutenberg" is associated) is accessed, displayed, performed, viewed,
copied or distributed:

This eBook is for the use of anyone anywhere at no cost and with
almost no restrictions whatsoever.  You may copy it, give it away or
re-use it under the terms of the Project Gutenberg License included
with this eBook or online at www.gutenberg.org

1.E.2.  If an individual Project Gutenberg-tm electronic work is derived
from the public domain (does not contain a notice indicating that it is
posted with permission of the copyright holder), the work can be copied
and distributed to anyone in the United States without paying any fees
or charges.  If you are redistributing or providing access to a work
with the phrase "Project Gutenberg" associated with or appearing on the
work, you must comply either with the requirements of paragraphs 1.E.1
through 1.E.7 or obtain permission for the use of the work and the
Project Gutenberg-tm trademark as set forth in paragraphs 1.E.8 or
1.E.9.

1.E.3.  If an individual Project Gutenberg-tm electronic work is posted
with the permission of the copyright holder, your use and distribution
must comply with both paragraphs 1.E.1 through 1.E.7 and any additional
terms imposed by the copyright holder.  Additional terms will be linked
to the Project Gutenberg-tm License for all works posted with the
permission of the copyright holder found at the beginning of this work.

1.E.4.  Do not unlink or detach or remove the full Project Gutenberg-tm
License terms from this work, or any files containing a part of this
work or any other work associated with Project Gutenberg-tm.

1.E.5.  Do not copy, display, perform, distribute or redistribute this
electronic work, or any part of this electronic work, without
prominently displaying the sentence set forth in paragraph 1.E.1 with
active links or immediate access to the full terms of the Project
Gutenberg-tm License.

1.E.6.  You may convert to and distribute this work in any binary,
compressed, marked up, nonproprietary or proprietary form, including any
word processing or hypertext form.  However, if you provide access to or
distribute copies of a Project Gutenberg-tm work in a format other than
"Plain Vanilla ASCII" or other format used in the official version
posted on the official Project Gutenberg-tm web site (www.gutenberg.org),
you must, at no additional cost, fee or expense to the user, provide a
copy, a means of exporting a copy, or a means of obtaining a copy upon
request, of the work in its original "Plain Vanilla ASCII" or other
form.  Any alternate format must include the full Project Gutenberg-tm
License as specified in paragraph 1.E.1.

1.E.7.  Do not charge a fee for access to, viewing, displaying,
performing, copying or distributing any Project Gutenberg-tm works
unless you comply with paragraph 1.E.8 or 1.E.9.

1.E.8.  You may charge a reasonable fee for copies of or providing
access to or distributing Project Gutenberg-tm electronic works provided
that

- You pay a royalty fee of 20% of the gross profits you derive from
     the use of Project Gutenberg-tm works calculated using the method
     you already use to calculate your applicable taxes.  The fee is
     owed to the owner of the Project Gutenberg-tm trademark, but he
     has agreed to donate royalties under this paragraph to the
     Project Gutenberg Literary Archive Foundation.  Royalty payments
     must be paid within 60 days following each date on which you
     prepare (or are legally required to prepare) your periodic tax
     returns.  Royalty payments should be clearly marked as such and
     sent to the Project Gutenberg Literary Archive Foundation at the
     address specified in Section 4, "Information about donations to
     the Project Gutenberg Literary Archive Foundation."

- You provide a full refund of any money paid by a user who notifies
     you in writing (or by e-mail) within 30 days of receipt that s/he
     does not agree to the terms of the full Project Gutenberg-tm
     License.  You must require such a user to return or
     destroy all copies of the works possessed in a physical medium
     and discontinue all use of and all access to other copies of
     Project Gutenberg-tm works.

- You provide, in accordance with paragraph 1.F.3, a full refund of any
     money paid for a work or a replacement copy, if a defect in the
     electronic work is discovered and reported to you within 90 days
     of receipt of the work.

- You comply with all other terms of this agreement for free
     distribution of Project Gutenberg-tm works.

1.E.9.  If you wish to charge a fee or distribute a Project Gutenberg-tm
electronic work or group of works on different terms than are set
forth in this agreement, you must obtain permission in writing from
both the Project Gutenberg Literary Archive Foundation and Michael
Hart, the owner of the Project Gutenberg-tm trademark.  Contact the
Foundation as set forth in Section 3 below.

1.F.

1.F.1.  Project Gutenberg volunteers and employees expend considerable
effort to identify, do copyright research on, transcribe and proofread
public domain works in creating the Project Gutenberg-tm
collection.  Despite these efforts, Project Gutenberg-tm electronic
works, and the medium on which they may be stored, may contain
"Defects," such as, but not limited to, incomplete, inaccurate or
corrupt data, transcription errors, a copyright or other intellectual
property infringement, a defective or damaged disk or other medium, a
computer virus, or computer codes that damage or cannot be read by
your equipment.

1.F.2.  LIMITED WARRANTY, DISCLAIMER OF DAMAGES - Except for the "Right
of Replacement or Refund" described in paragraph 1.F.3, the Project
Gutenberg Literary Archive Foundation, the owner of the Project
Gutenberg-tm trademark, and any other party distributing a Project
Gutenberg-tm electronic work under this agreement, disclaim all
liability to you for damages, costs and expenses, including legal
fees.  YOU AGREE THAT YOU HAVE NO REMEDIES FOR NEGLIGENCE, STRICT
LIABILITY, BREACH OF WARRANTY OR BREACH OF CONTRACT EXCEPT THOSE
PROVIDED IN PARAGRAPH F3.  YOU AGREE THAT THE FOUNDATION, THE
TRADEMARK OWNER, AND ANY DISTRIBUTOR UNDER THIS AGREEMENT WILL NOT BE
LIABLE TO YOU FOR ACTUAL, DIRECT, INDIRECT, CONSEQUENTIAL, PUNITIVE OR
INCIDENTAL DAMAGES EVEN IF YOU GIVE NOTICE OF THE POSSIBILITY OF SUCH
DAMAGE.

1.F.3.  LIMITED RIGHT OF REPLACEMENT OR REFUND - If you discover a
defect in this electronic work within 90 days of receiving it, you can
receive a refund of the money (if any) you paid for it by sending a
written explanation to the person you received the work from.  If you
received the work on a physical medium, you must return the medium with
your written explanation.  The person or entity that provided you with
the defective work may elect to provide a replacement copy in lieu of a
refund.  If you received the work electronically, the person or entity
providing it to you may choose to give you a second opportunity to
receive the work electronically in lieu of a refund.  If the second copy
is also defective, you may demand a refund in writing without further
opportunities to fix the problem.

1.F.4.  Except for the limited right of replacement or refund set forth
in paragraph 1.F.3, this work is provided to you 'AS-IS' WITH NO OTHER
WARRANTIES OF ANY KIND, EXPRESS OR IMPLIED, INCLUDING BUT NOT LIMITED TO
WARRANTIES OF MERCHANTIBILITY OR FITNESS FOR ANY PURPOSE.

1.F.5.  Some states do not allow disclaimers of certain implied
warranties or the exclusion or limitation of certain types of damages.
If any disclaimer or limitation set forth in this agreement violates the
law of the state applicable to this agreement, the agreement shall be
interpreted to make the maximum disclaimer or limitation permitted by
the applicable state law.  The invalidity or unenforceability of any
provision of this agreement shall not void the remaining provisions.

1.F.6.  INDEMNITY - You agree to indemnify and hold the Foundation, the
trademark owner, any agent or employee of the Foundation, anyone
providing copies of Project Gutenberg-tm electronic works in accordance
with this agreement, and any volunteers associated with the production,
promotion and distribution of Project Gutenberg-tm electronic works,
harmless from all liability, costs and expenses, including legal fees,
that arise directly or indirectly from any of the following which you do
or cause to occur: (a) distribution of this or any Project Gutenberg-tm
work, (b) alteration, modification, or additions or deletions to any
Project Gutenberg-tm work, and (c) any Defect you cause.


Section  2.  Information about the Mission of Project Gutenberg-tm

Project Gutenberg-tm is synonymous with the free distribution of
electronic works in formats readable by the widest variety of computers
including obsolete, old, middle-aged and new computers.  It exists
because of the efforts of hundreds of volunteers and donations from
people in all walks of life.

Volunteers and financial support to provide volunteers with the
assistance they need, are critical to reaching Project Gutenberg-tm's
goals and ensuring that the Project Gutenberg-tm collection will
remain freely available for generations to come.  In 2001, the Project
Gutenberg Literary Archive Foundation was created to provide a secure
and permanent future for Project Gutenberg-tm and future generations.
To learn more about the Project Gutenberg Literary Archive Foundation
and how your efforts and donations can help, see Sections 3 and 4
and the Foundation web page at http://www.pglaf.org.


Section 3.  Information about the Project Gutenberg Literary Archive
Foundation

The Project Gutenberg Literary Archive Foundation is a non profit
501(c)(3) educational corporation organized under the laws of the
state of Mississippi and granted tax exempt status by the Internal
Revenue Service.  The Foundation's EIN or federal tax identification
number is 64-6221541.  Its 501(c)(3) letter is posted at
http://pglaf.org/fundraising.  Contributions to the Project Gutenberg
Literary Archive Foundation are tax deductible to the full extent
permitted by U.S. federal laws and your state's laws.

The Foundation's principal office is located at 4557 Melan Dr. S.
Fairbanks, AK, 99712., but its volunteers and employees are scattered
throughout numerous locations.  Its business office is located at
809 North 1500 West, Salt Lake City, UT 84116, (801) 596-1887, email
business@pglaf.org.  Email contact links and up to date contact
information can be found at the Foundation's web site and official
page at http://pglaf.org

For additional contact information:
     Dr. Gregory B. Newby
     Chief Executive and Director
     gbnewby@pglaf.org


Section 4.  Information about Donations to the Project Gutenberg
Literary Archive Foundation

Project Gutenberg-tm depends upon and cannot survive without wide
spread public support and donations to carry out its mission of
increasing the number of public domain and licensed works that can be
freely distributed in machine readable form accessible by the widest
array of equipment including outdated equipment.  Many small donations
($1 to $5,000) are particularly important to maintaining tax exempt
status with the IRS.

The Foundation is committed to complying with the laws regulating
charities and charitable donations in all 50 states of the United
States.  Compliance requirements are not uniform and it takes a
considerable effort, much paperwork and many fees to meet and keep up
with these requirements.  We do not solicit donations in locations
where we have not received written confirmation of compliance.  To
SEND DONATIONS or determine the status of compliance for any
particular state visit http://pglaf.org

While we cannot and do not solicit contributions from states where we
have not met the solicitation requirements, we know of no prohibition
against accepting unsolicited donations from donors in such states who
approach us with offers to donate.

International donations are gratefully accepted, but we cannot make
any statements concerning tax treatment of donations received from
outside the United States.  U.S. laws alone swamp our small staff.

Please check the Project Gutenberg Web pages for current donation
methods and addresses.  Donations are accepted in a number of other
ways including checks, online payments and credit card donations.
To donate, please visit: http://pglaf.org/donate


Section 5.  General Information About Project Gutenberg-tm electronic
works.

Professor Michael S. Hart is the originator of the Project Gutenberg-tm
concept of a library of electronic works that could be freely shared
with anyone.  For thirty years, he produced and distributed Project
Gutenberg-tm eBooks with only a loose network of volunteer support.


Project Gutenberg-tm eBooks are often created from several printed
editions, all of which are confirmed as Public Domain in the U.S.
unless a copyright notice is included.  Thus, we do not necessarily
keep eBooks in compliance with any particular paper edition.


Most people start at our Web site which has the main PG search facility:

     http://www.gutenberg.org

This Web site includes information about Project Gutenberg-tm,
including how to make donations to the Project Gutenberg Literary
Archive Foundation, how to help produce our new eBooks, and how to
subscribe to our email newsletter to hear about new eBooks.