Digital equipment corperation
rrd43-aa/bb
|
Device Type |
CD-ROM |
|
Interface |
SCSI |
|
Spin Rate |
2x |
|
Formats Supported |
CD-XA, CD-ROM (Mode 1 & Mode 2) |
|
View |
Top |
|
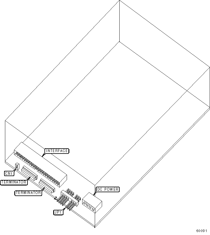
CONNECTIONS | |
|
Function |
Label |
|
Audio line out |
CN1 |
|
USER CONFIGURABLE SETTINGS | |||
|
Setting |
Label |
Position | |
| » |
DEC PC mode |
JP1/4 |
Open |
|
DEC Workstation mode |
JP1/4 |
Closed | |
| » |
Allow insertion and removal of CD’s by command or eject button |
JP1/5 |
Open |
|
Prevent insertion and removal of CD’s |
JP1/5 |
Closed | |
| » |
Normal operation mode |
JP1/6 |
Open |
|
Audio signal reproduction mode |
JP1/6 |
Closed | |
| » |
Shared terminator power disabled |
JP1/7 |
Open |
|
Shared terminator power enabled |
JP1/7 |
Closed | |
|
DRIVE SELECT ID | |||
|
Drive ID |
JP1/1 |
JP1/2 |
JP1/3 |
|
0 |
Open |
Open |
Open |
|
1 |
Closed |
Open |
Open |
|
2 |
Open |
Closed |
Open |
|
3 |
Closed |
Closed |
Open |
|
4 |
Open |
Open |
Closed |
|
5 |
Closed |
Open |
Closed |
|
6 |
Open |
Closed |
Closed |
|
7 |
Closed |
Closed |
Closed |