IOMEGA CORPORATION

TAPE 250 INSIDER

Device Type

Tape Drive

Interface

Floppy

Format

QIC-40 (read)

QIC-80 (read/write)

Sustained Transfer Rate

500KBPS/1MBPS

Size

3.5 in. quarter height

View

Top

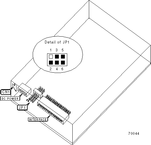
CONNECTIONS

Function

Label

Ground connector

CN1

DRIVE SELECT

Note: Pins 1 & 2 should be closed in all circumstances for factory drive select. Pins 3-6 are not currently supported.

MANUFACTURERS RECOMMENED MEDIA

Tape

Capacity Without Compression

Capacity With Compression

QIC-40 (205/307.5ft.)

40/60MB

Unidentified

QIC-80 (205/307.5ft.)

80/120MB

Unidentified