RACORE COMPUTER PRODUCTS, INC.
M8158
|
Card Type |
Network Interface Card |
|
NIC Type |
Token Ring |
|
Maximum Onboard Memory |
Unidentified |
|
Boot ROM |
Available |
|
Network Transfer Rate |
4/16Mbps |
|
Topology |
Ring |
|
Wiring Type |
Shielded twisted pair Fiber optic cable |
|
Data Bus |
32-bit PCI |
|
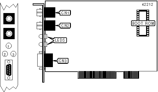
CONNECTIONS | |||
|
Function |
Label |
Function |
Label |
|
Fiber optic - receive |
CN1 |
STP via DB-9 connector |
CN3 |
|
Fiber optic - transmit |
CN2 | ||
|
DIAGNOSTIC LED(S) |
|
Note: Colors and functions of LEDs are unidentified. |